|
|
(21), (22) Заявка: 2005116579/03, 31.05.2005
(24) Дата начала отсчета срока действия патента:
31.05.2005
(43) Дата публикации заявки: 20.11.2006
(46) Опубликовано: 20.12.2007
(56) Список документов, цитированных в отчете о поиске:
RU 2086743 C1, 10.08.1997. RU 94036829 A1, 27.05.1996. RU 2215244 С1, 27.10.2003. БРОДЯНСКИЙ В.М. Вечный двигатель – прежде и теперь, Москва, Энергоатомиздат, 1989, стр.85-87.
Адрес для переписки:
105064, Москва, ул. Казакова, 15, ФГОУ ВПО ГУЗ
|
(72) Автор(ы):
Саркисов Сергей Карпович (RU), Бронская Ирина Ивановна (RU)
(73) Патентообладатель(и):
Федеральное государственное образовательное учреждение высшего профессионального образования Государственный университет по землеустройству (ГУЗ) (RU)
|
(54) ЗДАНИЕ
(57) Реферат:
Изобретение относится к строительству жилых зданий, в частности зданий для местности, где необходимо самообеспечение энергией, особенно в суровых климатических условиях Сибири и Севера. Технический результат: обеспечение экономии энергии, автономного обеспечения здания энергией и продуктами питания. Здание включает покрытое светопрозрачным теплоизолирующим ограждением пространство, в центре которого установлена лестнично-лифтовая шахта, вокруг которой размещены с возможностью вращения жилой корпус и теплица с вегетационными трубами и с перемещаемыми конвейерами растений, уравновешенные при помощи тросов, переброшенных через блоки, установленные поверху лестнично-лифтовой шахты соответственно с резервуарами горячей и холодной воды, являющимися противовесами жилого корпуса и теплицы. Причем здание имеет цилиндрическую форму и снабжено омагниченными кабинами с возможностью их фиксации и расфиксации к зданию в процессе перемещения жилого корпуса. Оно оборудовано механизмом поворота, соединенным через мультипликатор с электрогенератором, а светопрозрачное ограждение выполнено морозоустойчивым, термоизолирующим и трансформирующимся. 2 з.п. ф-лы, 6 ил.
Изобретение относится к строительству жилых зданий, в частности зданий для местности, где необходимо самообеспечение энергией, особенно в суровых климатических условиях Сибири и Севера.
Известно здание, которое с целью равномерной инсоляции устроено с возможностью перемещения как по вертикали, так и вокруг своей оси. Под его светопрозрачным покрытием находятся соединенные попарно жилой корпус и резервуар холодной воды, и теплица с резервуаром горячей воды. Здание находится на автономном обеспечении энергией и продуктами питания (овощами) [1]. Однако в этом предложении не решены некоторые важные вопросы, в частности не обеспечено попадание жильцов в здание в момент его вращения; не показан способ преобразования механической энергии в электрическую; не решены вопросы теплозащиты в условиях использования больших площадей светопрозрачных ограждающих конструкций; не учтено наличие вечномерзлых грунтов.
Сущность предлагаемого здания заключается в том, что с учетом недостатков аналога разработаны специальные омагниченные кабины с возможностью фиксации к зданию во время движения и их последующей расфиксации, устройство по переработке механической энергии в электрическую и предложения по светопрозрачным конструкциям.
Кроме того, предложено кольцо жесткости в основании здания, включающее комплекс реакторов, заполненных водой, выполненных с возможностью за счет периодического замораживания получать дополнительную электроэнергию.
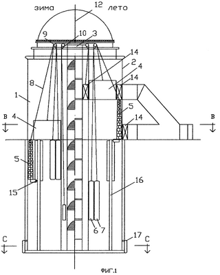
На фиг.1 показан разрез здания по А-А на фиг.2 (слева – в зимний период, справа – в летний); на фиг.2 – план здания на уровне В-В на фиг.1; на фиг.3 – план здания на уровне С-С на фиг.1; на фиг.4 – фрагмент кольца жесткости (разрез по Д-Д) на фиг.3; на фиг.5 – блок, обеспечивающий перемещение элементов здания по вертикали, разрез по А-А на фиг.2; на фиг.6 – схема АСУ (автоматизированная система управления).
На фиг.1 и 2 показано здание 1, включающее цилиндрическое светопрозрачное покрытие 2, лестнично-лифтовую шахту 3, жилой корпус 4, теплицу 5, резервуар с холодной водой 6, резервуар с горячей водой 7, попарно связанные между собой (жилой корпус – с резервуаром горячей воды, теплица – с резервуаром холодной воды) тросами 8, переброшенными через блоки 9, поддерживаемые кронштейнами 10 (фиг.5), прикрепленными к полой цилиндрической обойме 11, надетой на верхнюю часть цилиндрической лестнично-лифтовой шахты 3, с возможностью вращения вокруг вертикальной оси 12, скользя на подшипниках 13. При этом теплица 5, перемещаясь вокруг центральной вертикальной оси 12, благодаря залповым выбросам аэрозоли и газа в вегетационных трубах увлекает за собой жилой корпус 4, связанный с теплицей 5, а резервуары с холодной и горячей водой вокруг оси 12 не перемещаются, т.к. тросы 8, которыми они прикреплены, имеют шариковый оголовок, который прокручивается вдоль круговой прорези, освобождая эти элементы от кругового вращения [1].
Здание снабжено омагниченными кабинами 14 с возможностью их фиксации и расфиксации к зданию в процессе перемещения жилого корпуса 4, оборудовано механизмом поворота 15, соединенным через вертикальную поворотную стойку 16 и мультипликатор с электрогенератором, а светопрозрачное ограждение выполнено морозоустойчивым, термоизолирующим и трансформирующимся. В основании здания (фиг.3, 4) установлено кольцо жесткости 17, расположенное соосно с центральной вертикальной осью здания 12, включающее реакторы 18 цилиндрической формы, объединенные торами 19 и 20, при этом реакторы со стороны центральной вертикальной оси покрыты утеплителем 21, а внутри содержат обогреватель 22 и выполнены с возможностью заполнения водой в нижней части и маслом в верхней части реактора, причем при замерзании воды и создании высокого давления в реакторе масло, попадая в верхний масляный тор 19, где создается высокое давление, по трубе попадает в гидромотор 23, где вырабатывается электроэнергия, при этом отработанное масло попадает в нижний масляный тор 20 с низким давлением, откуда его откачивают насосом 24 в верхнюю часть реактора для пополнения запасов масла, находящегося над разделительным поддоном 25, перемещение которого фиксируется ограничителями 26, при этом размораживание воды в реакторах происходит поочередно по кольцу, обеспечивая непрерывную выработку электрического тока, а реле включения обогревателей связано через редуктор с поворотным механизмом теплицы. Здание снабжено автоматизированной системой управления, включающей оператора 27, вычислительное устройство 28 и терминал 29, связанные через интерфейс 30 с датчиками 31 и приводами 32 блоков управления аккумулятором 33 электроэнергии, подъемным механизмом жилого корпуса 34, поворотным механизмом теплицы 35, регуляторами температуры и наполняемости резервуаров горячей и холодной воды 36, реле включателей обогревателей 22 реакторов, масляного насоса 23 кольца реакторов, омагниченными кабинами 14, кондиционером воздуха 37 с регуляторами поворота жалюзи и створок и устройством вытяжной вентиляции 38 (фиг.6).
Использованная литература:
1. RU 2086743, С1, 1997 г.
Формула изобретения
1. Здание, включающее покрытое светопрозрачным теплоизолирующим ограждением пространство, в центре которого установлена лестнично-лифтовая шахта, вокруг которой размещены с возможностью вращения жилой корпус, теплица с вегетационными трубами и с перемещаемыми конвейерами растений, уравновешенные при помощи тросов, переброшенных через блоки, установленные поверху лестнично-лифтовой шахты соответственно с резервуарами горячей и холодной воды, являющимися противовесами жилого корпуса и теплицы, отличающееся тем, что здание имеет цилиндрическую форму, снабжено омагниченными кабинами с возможностью их фиксации и расфиксации к зданию в процессе перемещения жилого корпуса, оборудовано механизмом поворота, соединенным через мультипликатор с электрогенератором, а светопрозрачное ограждение выполнено морозоустойчивым, термоизолирующим и трансформирующимся.
2. Здание по п.1, отличающееся тем, что в основании здания установлено кольцо жесткости, расположенное соосно с центральной вертикальной осью здания, включающее реакторы цилиндрической формы, объединенные торами, при этом реакторы со стороны центральной вертикальной оси покрыты утеплителем, а внутри содержат обогреватель и выполнены с возможностью заполнения водой в нижней части и маслом в верхней части реактора, причем при замерзании воды и создании высокого давления в реакторе масло, попадая в верхний масляный тор, где создается высокое давление, по трубе попадает в гидромотор, где вырабатывается электроэнергия, при этом отработанное масло попадает в нижний масляный тор с низким давлением, откуда его откачивают насосом в верхнюю часть реактора для пополнения запасов масла, находящегося над разделительным поддоном, перемещение которого фиксируется ограничителями, при этом размораживание воды в реакторах происходит поочередно по кольцу, обеспечивая непрерывную выработку электрического тока, а реле включения обогревателей связано через редуктор с поворотным механизмом теплицы.
3. Здание по п.1, отличающееся тем, что оно снабжено автоматизированной системой управления, включающей вычислительное устройство и терминал, связанные через интерфейс с датчиками и приводами блоков управления аккумулятором электроэнергии, подъемным механизмом жилого корпуса, поворотным механизмом теплицы, регуляторами температуры и наполняемости резервуаров горячей и холодной воды, реле включателей обогревателей реакторов, масляного насоса кольца реакторов, омагниченными кабинами, кондиционером воздуха с регуляторами поворота жалюзи и створок и устройством вытяжной вентиляции.
РИСУНКИ
|
|