|
|
(21), (22) Заявка: 2005121848/15, 11.07.2005
(24) Дата начала отсчета срока действия патента:
11.07.2005
(43) Дата публикации заявки: 20.01.2007
(46) Опубликовано: 20.12.2007
(56) Список документов, цитированных в отчете о поиске:
SU 1489810 A1, 30.06.1989. SU 1018713 A, 23.05.1983. SU 980776 A, 17.12.1982. FR 2680474 A, 26.02.1993.
Адрес для переписки:
152101, Ярославская обл., п. Семибратово, ул. Павлова, 5, ЗАО “Кондор-Эко”, генеральному директору Л.В. Чекалову
|
(72) Автор(ы):
Чекалов Лев Валентинович (RU), Курицын Николай Алексеевич (RU), Санаев Юрий Иванович (RU)
(73) Патентообладатель(и):
ЗАО “Кондор-Эко” (RU)
|
(54) ЭЛЕКТРОФИЛЬТР
(57) Реферат:
Изобретение относится к электрофильтрам и может использоваться для очистки газов. Электрофильтр содержит корпус, осадительные и коронирующие электроды, объединенные в группы. В первых по ходу газа группах очищаемый пылегазовый поток движется горизонтально, а в последних – вертикально. Отношение площади осаждения к количеству очищаемого газа в зоне, где газ движется горизонтально, составляет 115-76, а в зоне, где газ движется вертикально, это соотношение составляет 76-38. Технический результат состоит в повышении эффективности использования активной зоны электрофильтра. 6 з.п. ф-лы, 2 ил.
Изобретение относится к области электрических методов улавливания аэрозолей.
Известен вертикальный электрофильтр, например электрофильтр типа УВ (Л.1, с.217), в котором очищенный газ подается снизу группы коронирующих и осадительных электродов (активной зоны), а выходит сверху уже очищенным.
Недостаток такого электрофильтра – ограниченное время пребывания очищаемого газа между коронирующими и осадительными электродами в активной зоне и, соответственно, недостаточная степень очистки.
Для устранения этого недостатка применяют горизонтальные пластинчатые электрофильтры, например горизонтальные аппараты типа УГ, ЭГА, УГТ (Л.1, с.213), где время пребывания очищаемого газа ограничено только длиной электрофильтра и может быть существенно больше, чем у вертикального фильтра, и, соответственно, степень очистки более высокая.
Чтобы снизить влияние снижения рабочих напряжений, например, по причине зарастания пылью, более интенсивного в начале электрофильтра, коронирующие и осадительные электроды по длине электрофильтра объединяют в группы и под каждой группой электродов в корпусе электрофильтра выполняют бункер. Вверху коронирующие и осадительные электроды в горизонтальном электрофильтре подвешиваются к корпусу, при этом между ними и корпусом возникает промежуток без поля коронного разряда. Образуются неактивные зоны – органический недостаток группы электродов, когда газ проходит горизонтально. Через верх групп электродов и ниже их, через бункер, через неактивные зоны, всегда имеет место проскок частиц. Принимаются различные меры снижения проскока частиц через неактивные зоны, но это приводит к увеличению металлоемкости горизонтального электрофильтра, а устранить полностью явление проскока частиц через неактивные зоны не удается, так как при любой конструкции перегородок при горизонтальном ходе газа всегда должен оставаться промежуток, исключающий электрический пробой частей, находящихся под высоким (до 80 кВ и выше) напряжением на заземленные части корпуса аппарата. Поэтому в горизонтальном электрофильтре получение выходной запыленности ниже 100-50 мг/м3 является проблематичным.
1. Для устранения имеющихся недостатков аналога и прототипа – ограничений длины активной зоны и исключения явлений проскока частиц через неактивные зоны электрофильтра – осадительные и коронирующие электроды объединены в группы, имеющие в первых по ходу газа группах электродов горизонтальное движение газа, а в последней группе – вертикальное, при этом выход газа перенесен на верх последней группы электродов. Кроме того, отношение поверхности осаждения S1 (м2) активной зоны электрофильтра, где газ идет горизонтально, к количеству поступающего в эту зону газа Q1 (м3/с) составляет 115>S1/Q1>76, а отношение поверхности осаждения S2 (м2) активной зоны электрофильтра, где газ идет вертикально, к количеству поступающего в эту зону газа Q2 (м3/с) составляет 76>S2/Q2>38.
2. По п.1 формулы изобретения электрофильтр отличается тем, что последних групп, где газ идет вертикально, несколько. Это позволяет оптимизировать режимы отряхивания электродов и их питание.
3. По п.1 электрофильтр отличается тем, что в каждой группе, где газ идет вертикально, коронирующие и осадительные электроды встряхиваются со стороны выхода очищенного газа. Это позволяет снизить износ механизмов встряхивания, способствует лучшему распределению отряхивающих ускорений.
4. Электрофильтр по п.1 отличается тем, что уловленная на электродах пыль со всех последних групп, где газ идет вертикально, отряхивается в один бункер. Такое расположение последних групп позволяет снизить расход металла.
5. Электрофильтр по п.1 отличается тем, что коронирующие элементы во всех группах электродов расположены поперек хода газа. При таком расположении газ всегда проходит через поле короны, при прохождении газа в самой активной зоне наличие неактивных зон исключается.
6. Электрофильтр по п.1, отличающийся тем, что в последних группах, где очищаемый газ идет вертикально, осадительные электроды и корпус образуют каналы, имеющие общую поверхность для осаждения уловленных частиц, и коронирующие электроды расположены на равном расстоянии от осадительного электрода и внутренней поверхности корпуса электрофильтра так, что создают коронный разряд и в сторону части поверхности канала, образованной корпусом.
7. Электрофильтр по п.6, отличающийся тем, что часть поверхности канала, образованная осадительными электродами и корпусом, имеет форму половины цилиндра с осью, по которой расположены коронирующие участки поверхности коронирующего электрода. Такое расположение коронирующих электродов относительно корпуса полностью исключает возможность существования неактивных зон и, таким образом, исключает проскок частиц пыли.
Сущность изобретения поясняется чертежами (фиг.1, фиг.2).
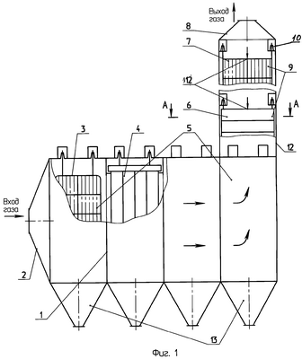
Фиг.1. Общий вид электрофильтра
1 – корпус электрофильтра
2 – устройство входа очищаемого газа
3 – коронирующие электроды с вертикально расположенными элементами, образующие группы, где газ идет горизонтально
4 – осадительные электроды, где газ идет горизонтально
5 – группы, где очищаемый газ идет горизонтально
6 – осадительные электроды, группы, где газ идет вертикально
7 – коронирующие электроды с горизонтально расположенными элементами, образующие группы, где газ идет вертикально
8 – устройство выхода очищенного газа
9 – группы, где очищаемый газ идет вертикально
10 – изоляторная коробка
11 – механизмы встряхивания коронирующих и осадительных электродов
12 – корпус электрофильтра, где газ идет вертикально
13 – бункеры
Фиг.2. Разрез сечения корпуса, где газ идет вертикально
14 – внутренняя плоская часть корпуса, на которой происходит осаждение пыли в поле коронного разряда
15 – часть корпуса, имеющая форму половины цилиндра.
Корпус электрофильтра (1), (9) представляет собой несущие конструкции прямоугольной формы, закрытые металлическими листами. Снизу корпус электрофильтров снабжен бункерами (13) для сбора уловленной пыли. Электрофильтр снабжен устройствами входа и выхода газа (2), (8). Осадительные электроды (4) и коронирующие электроды (3) расположены в каждой группе (5) и образуют активные зоны, где газ проходит горизонтально, а элементы коронирующих электродов расположены вертикально. Осадительные электроды (6) и коронирующие (7) образуют в каждой группе (9) активную зону, где газ проходит вертикально, и элементы коронирующих электродов расположены горизонтально. Стенки корпуса (12) электрофильтра, где газ идет вертикально (фиг.2), выполнены плоскими (14) и в форме полуцилиндра (15). Уловленная в электрофильтре пыль после ее отряхивания поступает в бункеры (13).
Корпус электрофильтра, где газ идет вертикально, может быть расположен над последней группой, где газ идет горизонтально. При реконструкции электрофильтров может также частично располагаться и над конфузором (выходным устройством), где газ идет горизонтально.
Функционирование электрофильтра осуществляется следующим образом: очищаемый газ поступает в корпус (1) электрофильтра, где газ идет горизонтально, через устройство входа газа (2). Далее газ поступает в активную зону, состоящую из коронирующих (3) и осадительных (4) электродов, и проходит горизонтально через группы электродов (5).
Из последней части группы (5) газ поступает в одну или несколько групп (9), где проходит вертикально. Активная зона групп электродов (9) образована осадительными (6) и коронирующими (7) электродами. Очищенный от пыли газ выходит через устройство выхода очищенного газа (8). Электроды группы (9) расположены в корпусе (12), стенки которого (Фиг.2, вид А-А) имеют плоскую форму (14) и форму полуцилиндра (15). Уловленная во всех группах пыль периодически удаляется с помощью механизмов встряхивания с электродов и под действием своего веса падает в бункеры (13), откуда удаляется устройствами для транспортировки пыли. При горизонтальном движении газа через группы электродов он очищается до уровня, когда влияние проскока частиц через неактивные зоны становится существенным. Например, количество частиц, прошедших через активные зоны, на выходе из очередной группы электродов становится равным количеству частиц, прошедших через неактивные зоны. Последняя группа электродов, где газ идет горизонтально, устанавливается у задней стенки корпуса, а верх корпуса над ней открыт, и очищаемый газ поворачивает вверх. Длина электродов этой группы по ходу газов выполняется необходимой для обеспечения времени пребывания частиц в активной зоне этой группы, такой, чтобы суммарное количество частиц (через активные и неактивные зоны), поступившее в эту последнюю группу, снизились до требуемой величины.
В зоне последней группы электродов, которая расположена выше предыдущих, уже нет неактивных зон, так как осадительные электроды и корпус образуют прямоугольные каналы, где вся поверхность используется для осаждения частиц, и коронирующие электроды создают коронный разряд, как в сторону осадительных электродов, так и в сторону поверхности корпуса, смежного с осадительными электродами, чтобы повысить эффективность осаждения частиц в зонах, где осадительные электроды подходят к корпусу. В связи с тем, что при прямоугольной конфигурации межэлектродного промежутка в углах электрическое поле ослаблено, и эффективность осаждения частиц снижена, часть поверхности канала, образованного корпусом между осадительными электродами, выполнена в форме половины цилиндра, по оси которого установлен коронирующий элемент. В этом случае полуактивные зоны исключаются, и все частицы проходят только через активную зону электрофильтра.
Если требуется достичь выходной запыленности менее 50 мг/м3, а частицы в электрофильтре улавливаются достаточно трудно, и длина активной зоны (высота) той части электрофильтра, где газ идет вертикально, требуется 12-15 метров, последнюю группу разделяют на электрически изолированные части по длине.
Этим достигается лучшее отряхивание пыли и снижение проскоков пыли через активные зоны при встряхивании. Уловленные частицы при встряхивании электродов электрофильтра, где газ идет вертикально, проходят через активные зоны в один общий бункер, другая часть их осаждается, но ниже, и при следующем встряхивании электродов попадает в этот бункер.
Коронирующие электроды в каналах группы (9), образованных осадительными электродами и корпусом электрофильтра (12), расположены поперек хода газа, т.е. горизонтально, чтобы уменьшить влияние полуактивных зон, которые имеют место между коронирующими электродами. Если коронирующие электроды расположить вертикально, то полуактивные зоны тоже будут расположены вертикально, и через них, как через каналы, будут проскакивать частицы. Когда коронирующие электроды расположены поперек хода газа, активные и полуактивные зоны чередуются, и на пути частиц всегда есть зоны с максимальным осаждающим воздействием в поле коронного разряда.
Для удобства обслуживания и снижения запыления изоляторов механизмов встряхивания электродов в группе, где очищаемый газ идет вертикально, производятся со стороны выхода очищенного газа. Это повышает надежность электрофильтра.
Для реализации предлагаемого изобретения не требуется новых технологий. Изготовление узлов и монтаж электрофильтра могут быть осуществлены с помощью известных средств.
ЛИТЕРАТУРА.
1. Справочник по пыле- и золоулавливанию. Под редакцией А.А.Русанова, 2-е изд. М., Энергоатомиздат, 1983.
Формула изобретения
1. Электрофильтр, имеющий корпус, устройства входа очищаемого и выхода очищенного газа, бункеры, осадительные и коронирующие электроды, объединенные в группы, отличающийся тем, что в первых по ходу газа группах очищаемый газ идет горизонтально, а в последних группах вертикально и выход газа направлен вверх, причем отношение поверхности осаждения S1 (м2) активной зоны электрофильтра, где газ идет горизонтально, к количеству поступающего в эту зону газа Q1 (м3/с) составляет 115>S1/Q1>76, а отношение поверхности осаждения S2 (м2) активной зоны электрофильтра, где газ идет вертикально, к количеству поступающего в эту зону газа Q2 (м3/с) составляет 76>S2/Q2>38.
2. Электрофильтр по п.1, отличающийся тем, что последних групп, где газ идет вертикально, несколько.
3. Электрофильтр по п.1, отличающийся тем, что в последней группе, где газ идет вертикально, коронирующие и осадительные электроды встряхиваются со стороны выхода очищенного газа.
4. Электрофильтр по п.1, отличающийся тем, что уловленная пыль со всех последних групп, где очищаемый газ идет вертикально, отряхивается в один бункер.
5. Электрофильтр по п.1, отличающийся тем, что коронирующие элементы во всех группах электродов расположены поперек хода газа.
6. Электрофильтр по п.1, отличающийся тем, что в последних группах, где очищаемый газ идет вертикально, осадительные электроды и корпус образуют каналы, имеющие общую поверхность для осаждения уловленных частиц, а коронирующие электроды расположены на равном расстоянии от осадительного электрода и внутренней поверхности корпуса электрофильтра так, что имеют возможность создавать коронный разряд и в сторону части поверхности канала, образованной корпусом.
7. Электрофильтр по п.6, отличающийся тем, что часть поверхности канала, образованная осадительными электродами и корпусом, имеет форму половины цилиндра с осью, по которой расположены коронирующие участки поверхности коронирующего электрода.
РИСУНКИ
|
|