|
(21), (22) Заявка: 2006117671/06, 22.05.2006
(24) Дата начала отсчета срока действия патента:
22.05.2006
(46) Опубликовано: 10.12.2007
(56) Список документов, цитированных в отчете о поиске:
RU 2217650 С2, 27.11.2003. RU 2079761 С1, 20.05.1997. SU 1714275 A1, 23.02.1992. SU 1645719 А1, 30.04.1991. ЕР 0048307 А1, 31.11.1982. RU 2005132208 С1, 27.03.2007.
Адрес для переписки:
440026, г.Пенза, ул. Красная, 40, Пензенский Государственный Университет
|
(72) Автор(ы):
Кирин Евгений Михайлович (RU), Краснов Михаил Николаевич (RU), Ежов Алексей Владимирович (RU)
(73) Патентообладатель(и):
Пензенский Государственный Университет (ПГУ) (RU)
|
(54) УСТРОЙСТВО ДЛЯ ФИКСАЦИИ МАГИСТРАЛЬНОГО ТРУБОПРОВОДА
(57) Реферат:
Изобретение относится к области строительства трубопроводного транспорта и может быть использовано при проведении ремонтных работ с заменой дефектного участка магистрального трубопровода ремонтной “катушкой”. Устройство состоит из основания, вертикальных стоек и закрепленных на них упоров, которые выполнены в виде четырех попарно расположенных пластин со скосами, расширяющимися книзу. Упоры дополнительно снабжены U-образными вантами, закрепленными на поперечных полках упомянутых упоров, а основание смонтировано на откосах ремонтного котлована с возможностью вертикальных перемещений относительно оси трубопровода. Расширяет арсенал технических средств. 3 ил.
Изобретение относится к области строительства и ремонта магистральных трубопроводов для транспортировки жидких и газообразных продуктов. Оно может быть использовано при производстве ремонта трубопроводов с заменой дефектного участка ремонтной “катушкой”.
Известно по крайней мере три способа ремонта трубопроводов с заменой дефектного участка ремонтной “катушкой” – без центрирования труб, с центрированием труб после вырезки дефектного участка и способ с предварительным фиксированием трубопровода перед вырезкой дефектного участка. Последний способ позволяет устранить смещение труб после вырезки дефектного участка и тем самым значительно упростить разметку и подгонку ремонтной “катушки”, что значительно сокращает сроки ремонта и повышает его качество.
Известно устройство для центрирования труб /1/, обеспечивающее фиксацию труб перед вырезкой дефектного участка и центрирование труб и ремонтной “катушки” при проведении разметочных и сварочных работ. Оно состоит из двух хомутов, снабженных шарнирами и болтовым креплением для замыкания на трубопроводе, и приливов для размещения силовых стрингеров. Силовые стрингеры продеты через отверстия приливов хомутов и крепятся к ним гайками. На стрингерах, кроме того, смонтированы подвижные регулируемые упоры для поддержания ремонтной “катушки”. После сборки устройства на трубопроводе достигается фиксация и центрирование труб, остающихся после вырезки дефектного участка.
Известное устройство имеет следующие недостатки: сложность конструкции, большая трудоемкость монтажа устройства на трубопроводе, невысокая точность центрирования труб, обусловленная смещением трубопровода под действием собственного веса из-за отсутствия опоры. Кроме того, наличие четырех стрингеров и нескольких упоров затрудняет доступ к трубопроводу при проведении разметочных и сварочных работ, что снижает их производительность.
Наиболее близким по технической сущности к заявляемому изобретению является устройство-опора для поддержания магистрального трубопровода /2/, содержащее основание, вертикальные стойки, балансирные рычаги с упорами, выполненными в виде втулок, размещенных на стойках подвижно. На балансирных рычагах шарнирно закреплена подвеска с роликами, поддерживающими трубопровод.
Недостатками изобретения-прототипа являются сложность конструкции, значительная металлоемкость, большая трудоемкость монтажа при сборке устройства на трубопроводе, что снижает производительность ремонтных работ.
Предлагаемое изобретение направлено на упрощение конструкции устройства для фиксации магистрального трубопровода, снижение трудоемкости его монтажа на трубопроводе и повышение производительности ремонтных работ.
Задача решена тем, что в устройстве для фиксации магистрального трубопровода при ремонтных работах с заменой дефектного участка ремонтной “катушкой”, состоящем из основания, вертикальных стоек и закрепленных на них упоров, упоры выполнены в виде четырех попарно расположенных пластин со скосами, расширяющимися книзу, при этом упоры дополнительно снабжены U-образными вантами, закрепленными на поперечных полках упомянутых упоров, а основание смонтировано на откосах ремонтного котлована с возможностью вертикальных перемещений относительно оси трубопровода.
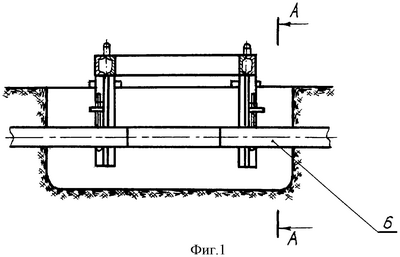
Устройство для фиксации магистрального трубопровода иллюстрируется фиг.1-3, где оно представлено в двух проекциях с продольным и поперечным разрезами.
Устройство для фиксации магистрального трубопровода состоит из основания 1, смонтированного на откосах ремонтного котлована 2, четырех вертикальных стоек 3 и двух U-образных вантов 4.
Основание 1 имеет коробчатую конструкцию из швеллеров. В углах конструкции смонтированы резьбовые опоры 5, с помощью которых основание вместе со смонтированными на нем стойками 3 имеет возможность вертикальных перемещений относительно оси трубопровода 6. На вертикальных стойках 3 смонтированы четыре упора 7, которые выполнены в виде попарно расположенных пластин со скосами, расширяющимися книзу.
Скосы упоров 7 необходимы для охватывания трубопровода сверху, при этом контакт упоров с поверхностью трубопровода происходит в двух точках. Наличие расширяющихся книзу скосов в упорах позволяет применять устройство для фиксации трубопроводов различного диаметра.
На боковой наружной поверхности упоров 7 смонтированы полки 8, служащие для крепления на них U-образных вантов 4, которые охватывают трубопровод снизу и фиксируют его.
Вертикальные стойки 3 и попарно расположенные упоры 7 смонтированы по краям основания 1 так, чтобы фиксация трубопровода производилась по концам дефектного участка на расстоянии 200-500 мм от места стыков труб и ремонтной “катушки”.
Предлагаемое устройство для фиксации магистрального трубопровода работает следующим образом. При проведении ремонтных работ сначала вскрывают грунт и роют ремонтный котлован. Далее определяют дефектный участок и очерчивают его границы. Затем на откосы котлована 2 устанавливают основание 1 устройства и регулируют его положение относительно трубопровода 6 так, чтобы упоры 7 вошли в контакт с поверхностью трубопровода по двум точкам. Регулировка положения основания относительно трубопровода производится смещением основания в горизонтальной и вертикальной плоскостях. Перемещение основания в вертикальной плоскости обеспечивается резьбовыми опорами 5.
Далее с нижней стороны трубопровода устанавливаются ванты 4, которые закрепляются на поперечных полках 8 упоров 7 с помощью гаек.
В результате описанных операций трубопровод надежно и жестко фиксируется в двух местах по границам дефектного участка. После фиксации трубопровода приступают к вырезке дефектного участка и проведению разметочных и сварочных работ по замене дефектного участка ремонтной “катушкой”.
Выполнение упоров в виде пластин со скосами, расширяющимися книзу, обеспечивает схватывание трубопровода в верхней его части и позволяет устранить возможное его смещение вверх в вертикальной плоскости и влево-вправо в горизонтальной плоскости. Наличие U-образных вантов, закрепляемых на упорах, позволяет устранить возможное смещение трубопровода вниз. В целом, упоры и ванты обеспечивают надежную фиксацию трубопровода до и после вырезки дефектного участка.
То обстоятельство, что основание устройства монтируется не на дне котлована, а на его откосах, позволяет значительно снизить трудоемкость монтажа устройства на трубопроводе. Этому же способствует наличие резьбовых опор в углах основания, что позволяет регулировать положение основания, а следовательно, и упоров относительно трубопровода.
По сравнению с изобретением-прототипом предлагаемое устройство для фиксации магистрального трубопровода обладает следующими технико-экономическими преимуществами:
а) Предлагаемое устройство значительно проще по конструкции, не содержит специальных деталей (балансиров, роликов, литых деталей и т.д.) и полностью изготовлено из прокатных материалов, что значительно снижает стоимость его изготовления (в 1,5-2 раза);
б) Предлагаемое устройство обеспечивает жесткую и надежную фиксацию трубопровода до и после вырезки дефектного участка в отличие от изобретения-прототипа, которое лишь поддерживает трубопровод без его фиксации в горизонтальной и вертикальной плоскостях;
в) Трудоемкость монтажа предлагаемого устройства в связи со значительным уменьшением числа различных деталей, входящих в его состав, в 2-3 раза меньше чем у изобретения-прототипа, что позволяет ускорить ремонтные работы;
г) Жесткая и надежная фиксация трубопровода, достигаемая при использовании предлагаемого устройства, способствует более точному центрированию труб и, соответственно, повышению точности разметки ремонтной “катушки” и производительности разметочных работ;
д) В целом предлагаемое устройство способствует увеличению производительности ремонтных работ и улучшению их качества.
Предлагаемое устройство найдет применение при производстве ремонтных работ на магистральных трубопроводах.
Источники информации
1. Патент №2217650, М.кл. F16L. Устройство для центрирования труб.
2. Патент №2079761, М.кл. F16L. Устройство-опора для поддержания трубопровода.
Формула изобретения
Устройство для фиксации магистрального трубопровода при ремонтных работах с заменой дефектного участка ремонтной “катушкой”, состоящее из основания, вертикальных стоек и закрепленных на них упоров, отличающееся тем, что упоры выполнены в виде четырех попарно расположенных пластин со скосами, расширяющимися книзу, при этом упоры дополнительно снабжены U-образными вантами, закрепленными на поперечных полках упомянутых упоров, а основание смонтировано на откосах ремонтного котлована с возможностью вертикальных перемещений относительно оси трубопровода.
РИСУНКИ
MM4A – Досрочное прекращение действия патента СССР или патента Российской Федерации на изобретение из-за неуплаты в установленный срок пошлины за поддержание патента в силе
Дата прекращения действия патента: 23.05.2008
Извещение опубликовано: 20.10.2009 БИ: 29/2009
|