|
|
(21), (22) Заявка: 2005111317/06, 19.04.2005
(24) Дата начала отсчета срока действия патента:
19.04.2005
(43) Дата публикации заявки: 27.10.2006
(46) Опубликовано: 10.12.2007
(56) Список документов, цитированных в отчете о поиске:
SU 1771407 A3, 23.10.1992. SU 1445639 A1, 23.12.1988. SU 225652 А, 29.08.1968. US 2649842 A, 25.08.1953. US 4230024 A, 28.10.1980.
Адрес для переписки:
140483, Московская обл., Коломенский р-н, пос. Радужный, 38, ФГНУ ВНИИ “Радуга”
|
(72) Автор(ы):
Асцатрян Сережа Андраникович (RU), Батин Геннадий Леонидович (RU), Бриллиантов Василий Константинович (RU), Городничев Валерий Иванович (RU), Мишуров Евгений Евгеньевич (RU), Новоселов Анатолий Серафимович (RU), Ольгаренко Геннадий Владимирович (RU), Терпигорев Анатолий Анатольевич (RU)
(73) Патентообладатель(и):
Федеральное государственное научное учреждение Всероссийский научно-исследовательский институт систем орошения и сельхозводоснабжения “Радуга” (ФГНУ ВНИИ “Радуга”) (RU), ЗАО Экологический промышленно-финансовый концерн “Мойдодыр” (RU)
|
(54) ГИДРОДВИГАТЕЛЬ
(57) Реферат:
Гидродвигатель предназначен для гидросистем возвратно-поступательного движения. Гидродвигатель включает цилиндр с основанием, входным и выходным патрубками, крышку, поршень со штоком, дроссельный канал, сообщающий штоковую и подпоршневую полости и взаимодействующий с поршнем клапан со штоком, при этом шток клапана выполнен полым и снабжен радиальными выходными отверстиями и ограничительной шайбой, причем клапан имеет возможность контактирования с поршнем и основанием цилиндра, а ограничительная шайба – с выходным патрубком. Кроме того, выходной патрубок снабжен втулкой с возможностью осевого перемещения, а дроссельный канал выполнен регулируемым и размещен снаружи цилиндра. Взаимодействие клапана и поршня выполнено свободно. Технический результат – упрощение конструкции, повышение надежности. 2 з.п. ф-лы, 1 ил., 1 табл.
Изобретение относится к устройствам гидроавтоматики, работающим за счет энергии потока воды и может применяться в гидросистемах как в виде гидродвигателя, так и пульсирующего двигателя (создателя импульса давления). Известен пульсирующий двигатель, включающий сегнерово колесо, корпус с реактивным соплом и полую втулку. Полая втулка закреплена в корпусе реактивного сопла с возможностью вращения и сообщает сегнерово колесо с источником напора (полостью ствола) SU 1445639 А1, (ВНПО МО «РАДУГА»), 23.12.1988.
Недостатками этого пульсирующего двигателя являются узкий диапазон применимости, нерегулируемое изменение частоты импульсов при изменении давления в сети и непроизводительный слив воды из сегнерова колеса.
Наиболее близким техническим решением (прототипом) является гидродвигатель, включающий цилиндр, крышку с седлом и реактивным соплом (выходом), поршень со штоком и клапан, растянутый от поршня посредством пружины и штока с буртом. Поршень установлен в цилиндре и образует штоковую и подпоршневую полости, сообщенные между собой дроссельным каналом SU 1771407 A3, (ВНПО МО «РАДУГА»), 23.10.1992.
Недостатками этого двигателя являются сложность конструкции и невысокая надежность его работы из-за узкого диапазона изменения рабочего давления в сети, необходимость применения в его конструкции пружины с определенными характеристиками и изменения этих параметров в результате старения (усталости) пружины, неустойчивости работы при малых частотах импульсов и невозможность плавного регулирования хода штока поршня и частоты возвратно-поступательного движения.
Задачей предлагаемого изобретения является упрощение конструкции гидродвигателя и повышение его надежности. Поставленная задача достигается за счет того, что в гидродвигателе, включающем цилиндр с основанием, входной и выходной патрубок, крышку, поршень со штоком, дроссельный канал, сообщающий штоковую и подпоршневую полости и взаимодействующий с поршнем клапан со штоком, согласно изобретению шток клапана выполнен полым и снабжен радиальными выходными отверстиями и ограничительной шайбой, причем клапан имеет возможность контактирования с поршнем и основанием цилиндра, а ограничительная шайба – с выходным патрубком. Кроме того, выходной патрубок снабжен втулкой с возможностью осевого перемещения, а дроссельный канал выполнен регулируемым и размещен снаружи цилиндра. Взаимодействие клапана и поршня выполнено свободно.
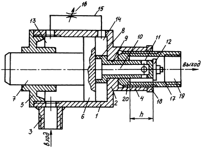
Сущность предлагаемого изобретения приведено на чертеже, где показан общий вид конструктивной схемы гидродвигателя.
Гидродвигатель состоит из цилиндра 1 с основанием 2, входного 3 и выходного 4 патрубков, крышки 5, поршня 6 со штоком 7 и клапана 8 с полым штоком 9 и полостью 10, радиальными выходными отверстиями 11 и ограничительной шайбы 12. Поршень 6, установленный в цилиндре 1 и ограниченный крышкой 5, образует штоковую 13 и подпоршневую 14 полости, сообщенные между собой через канал связи 15 и регулируемый дроссель 16. Выходной патрубок 4 снабжен, с возможностью осевого перемещения, втулкой 17 с фиксатором положения 18, выходной полостью 19 и основанием 20. Клапан 8 установлен соосно с поршнем 6 цилиндра 1 и втулки 17 с возможностью скользящего осевого перемещения и обеспечивает возможность периодического сообщения полостей 14 и 19 между собой.
Для нормальной работы гидродвигателя необходимо соблюдать следующие условия (без учета силы трения между деталями ввиду ее незначительной величины):






где
dпор – диаметр поршня 6
dшт – диаметр штока 7
dкл. – диаметр клапана 8
dшт.кл. – диаметр полого штока 9
Sшт – площадь штока 7
Sшт. кл. – площадь полого штока 9
Sкл. – площадь клапана 8
Sпор – площадь поршня 6,
p1 – давление в полости 13 при движении поршня 6 с левого на правое положение,
p2 – давление в полости 14 при движении поршня 6 с левого на правое положение,
р3 – давление в полости 14 при движении поршня 6 с правого на левое положение,
F1 – усилие прижатия клапана 8 к поршню 6.
F2 – усилие, необходимое для движения поршня 6 и клапана 8 в направлении справа налево.
F3 – усилие, необходимое для движения клапана 8 с крайнего левого положения в правое.
Работает гидродвигатель следующим образом.
Вода под давлением из водоисточника через входной патрубок 3 поступает в штоковую полость 13, образованную цилиндром 1, крышкой 5 и поршнем 6 со штоком 7 и благодаря разнице площадей поршня 6 и штока 7 и перепада давления на регулируемом дросселе 16 и канале связи 15 (условие 2) поршень 6 с любого исходного положения перемещается в крайнее правое положение, прижимая клапан 8 к основанию 2 цилиндра 1. Далее, благодаря силе F1 (начало цикла гидродвигателя) клапан 8 остается прижатым к поршню 6 и благодаря силе F2 и условию (1) начинает движение влево совместно с поршнем 6 со штоком 7 до закрытия выходных радиальных отверстий 11 основанием втулки 17 и прикосновения ограничительной шайбы 12 к основанию 20. При этом клапан 8 резко останавливается, а поршень 6 продолжает движение влево и благодаря условию (5) отрывается клапан 8. Вода из подпоршневой полости 14 под давлением попадает в полость 10 полого штока 9, сведя к нулю F1 и создавая F3. Клапан 8 со штоком 9 резко перемещается в крайнее правое положение и упирается к основанию 2. При этом подпоршневая полость 14 сообщается с полостью 19 через полость 10 и выходные отверстия 11, и поршень 6 (благодаря условию 2) резко перемещается в крайнее правое положение, выжимая воду из полости 14 в полость 19 и далее потребителю, прижимается к клапану 8 (конец цикла). В дальнейшем цикл повторяется, шток 7 совершает возвратно-поступательное движение, образуя импульсы (пульсацию) давления на выходе.
Частота циклов регулируется как с помощью регулируемого дросселя 16, так и изменением хода h клапана 8 посредством втулки 17 и фиксатора 18, перемещая ее по оси выходного патрубка 4.
Таким образом, путем исключения из конструкции пружины, размещения регулируемого дросселя 16 снаружи цилиндра 1 и выполнения хода клапана регулируемым достигнуто упрощение конструкции и повышение надежности, обеспечена работоспособность в большом диапазоне изменения давления в сети и плавная регулировка частоты возвратно-поступательного движения штока 7 в большом диапазоне.
Экспериментальные образцы гидродвигателей по прототипу и предлагаемому изобретению изготовлены в производственных условиях мастерских ВНИИ «Радуга» и проведены сравнительные испытания в лабораторных условиях. Результаты испытаний приведены в таблице.
| п/п |
Наименование показателя |
Предлагаемое |
Прототип |
| |
|
изобретение |
|
| 1 |
Диаметр поршня, мм |
60 |
60 |
| 2 |
Диаметр штока поршня, мм |
30 |
30 |
| 3 |
Диаметр клапана, мм |
26 |
26 |
| 4 |
Ход поршня, мм |
регулируемый, |
нерегулируемый, 35 |
| |
|
10…35 |
|
| 5 |
Допустимый диапазон |
2.5…11.5 |
4…6 |
| |
изменения давления в |
|
|
| |
подводящей сети, атм |
|
|
| 6 |
Диапазон выходного |
0.06…0.5 |
0.2…0.3 |
| |
расхода воды из |
|
|
| |
гидродвигателя, л/с |
|
|
| 7 |
Частота циклов возвратно- |
25…240 |
48…72 |
| |
поступательного движения |
|
|
| |
поршня, цкл/мин |
|
|
Применение предлагаемого изобретения в народном хозяйстве значительно повысит надежность и эффективность гидроуправляемых систем.
Формула изобретения
1. Гидродвигатель, включающий цилиндр с основанием, входной и выходной патрубки, крышку, поршень со штоком, дроссельный канал, сообщающий штоковую и подпоршневую полости и взаимодействующий с поршнем клапан со штоком, отличающийся тем, что шток клапана выполнен полым, снабжен радиальными выходными отверстиями и ограничительной шайбой, причем клапан имеет возможность контактирования с поршнем и основанием цилиндра, а ограничительная шайба – с выходным патрубком.
2. Гидродвигатель по п.1, отличающийся тем, что выходной патрубок снабжен втулкой с возможностью осевого перемещения, а дроссельный канал выполнен регулируемым и размещен снаружи цилиндра.
3. Гидродвигатель по п.1, отличающийся тем, что взаимодействие клапана и поршня выполнено свободно.
РИСУНКИ
MM4A – Досрочное прекращение действия патента СССР или патента Российской Федерации на изобретение из-за неуплаты в установленный срок пошлины за поддержание патента в силе
Дата прекращения действия патента: 20.04.2008
Извещение опубликовано: 20.06.2010 БИ: 17/2010
|
|