|
|
(21), (22) Заявка: 2006106834/03, 09.03.2006
(24) Дата начала отсчета срока действия патента:
09.03.2006
(46) Опубликовано: 10.12.2007
(56) Список документов, цитированных в отчете о поиске:
МАКОВСКИЙ Л.В. Городские подземные транспортные сооружения. – М.: Стройиздат, 1985, с.287-293, рис.VIII.11., VIII.12. RU 2114251 C1, 27.06.1998. SU 1836567 A3, 23.08.1993. SU 1086279 A1, 15.04.1984. GB 2358417 A, 25.07.2001. US 6450734 В1, 17.09.2002. САМОЙЛОВ Б.В. и др. Сооружение подводных трубопроводов. – М.: Недра, 1995, с.235-237, рис.6.2.
Адрес для переписки:
192289, Санкт-Петербург, а/я 155, пат.пов. Е.В.Савиковской, рег. № 123
|
(72) Автор(ы):
Козлович Аркадий Викторович (RU)
(73) Патентообладатель(и):
Козлович Аркадий Викторович (RU)
|
(54) СПОСОБ ПРОКЛАДКИ ПОДЗЕМНЫХ ПЕРЕХОДОВ И ТОННЕЛЕЙ И СЕКЦИЯ ПОДЗЕМНОГО ПЕРЕХОДА ИЛИ ТОННЕЛЯ
(57) Реферат:
Изобретение относится к строительству и может быть использовано при сооружении подземных переходов и тоннелей большой протяженности (подводных, подземных и т.д.). Способ прокладки подземных переходов и тоннелей включает укладку секций тоннеля при помощи монтажных свай на дно предварительно вырытого котлована. В качестве монтажных свай используют винтовые сваи с шарнирно-гидравлической насадкой, которые устанавливают по краям секций и закрепляют на них секции. После укладки и совмещения соседних секций устанавливают крепежные винтовые сваи, а монтажные сваи выкручивают. В качестве монтажных свай используют винтовые сваи, которые перед укладкой секций в местах соединения двух соседних секций устанавливают по две с двух сторон у входа одной из двух соединяемых секций. На каждой паре винтовых свай размещают регулируемую по высоте балку для укладки секций. После укладки секций по их краям с двух сторон устанавливают крепежные винтовые сваи и закрепляют на них секции. Секция подземного перехода или тоннеля, содержит кожух. Секция снабжена продольными и поперечными ребрами жесткости с образованием ячеек шириной не более 3 метров. Высота продольных ребер жесткости преимущественно больше высоты поперечных. Высота крепежных ребер в местах крепления со сваей преимущественно превышает высоту поперечных ребер в секции. Технический результат состоит в упрощении строительства тоннеля, сокращении сроков строительства, повышении надежности тоннеля, повышении безопасности его эксплуатации. 2 н. и 4 з.п. ф-лы, 8 ил.
Изобретение относится к строительству и может быть использовано при сооружении подземных переходов и тоннелей большой протяженности (подводных, подземных и т.д.).
Известен близкий по технической сущности и достигаемому результату к предложенному способу прокладки подземных переходов и тоннелей и секции тоннеля способ прокладки тоннеля, включающий установку секций. Секция подземного перехода или тоннеля содержит кожух (RU, патент №2239025, Кл. Е02Д 29/09, 2003 г.).
В известном способе на заданном расстоянии друг от друга устанавливают опорные элементы и на них размещают основание секций.
Недостатками известного способа прокладки подземных переходов и тоннелей и секции подземного перехода или тоннеля являются сложность строительства перехода или тоннеля, большие сроки строительства и недостаточная надежность конструкции перехода или тоннеля, а также невозможность его демонтажа при возникшей необходимости.
Известен способ прокладки подземных переходов и тоннелей, включающий установку секций тоннеля, при этом перед установкой секций роют котлован, на дно которого при помощи монтажных свай укладывают секции тоннеля (см. Маковский Л.В. Городские подземные транспортные сооружения. М.: Стройиздат, 1985, с.287-293, рис.VIII.11., VIII.12), который является наиболее близким аналогом.
Технический результат, на достижение которого направлено настоящее изобретение, заключается в упрощении строительства тоннеля, сокращении сроков строительства, повышении надежности тоннеля, повышении безопасности его эксплуатации.
Указанный технический результат достигается тем, что в способе прокладки подземных переходов и тоннелей, включающем установку секций тоннеля, согласно изобретению перед установкой секций роют котлован, на дно котлована при помощи монтажных свай укладывают секции тоннеля, после укладки и совмещения соседних секций последние скрепляют между собой, а по краям секций устанавливают крепежные винтовые сваи и закрепляют на них секции.
В качестве монтажных свай могут быть использованы винтовые сваи с шарнирно-гидравлической насадкой, при этом сваи устанавливают по краям секций, закрепляют секции на сваях, после совмещения соседних секции устанавливают крепежные винтовые сваи, а монтажные сваи выкручивают.
Кроме того, в качестве монтажных свай могут быть использованы винтовые сваи, при этом перед укладкой секций в местах предполагаемого соединения двух соседних секций устанавливают по две сваи с двух сторон у входа в секцию, при этом на каждую пару свай устанавливают регулируемую по высоте балку, на которую укладывают торцы двух соседних секций.
Кроме того, после установки секций в них размещают трубы и/или электрокабели и/или другое оборудование, секции полностью засыпают грунтом, при этом расстояние от верха секций до поверхности грунта составляет не менее 20 см, а тоннель снабжен смотровыми люками и отводами с крышками для демонтажа труб или другого оборудования, соединяющими секции с поверхностью, при этом расстояние между отводами составляет не менее 50 м.
Над секциями с трубами может быть уложен утеплитель.
Указанный технический результат достигается также тем, что секция подземного перехода или тоннеля, включающая кожух, согласно изобретению дополнительно снабжена продольными и поперечными ребрами жесткости с образованием ячеек шириной не более 3 метров, при этом высота продольных ребер жесткости преимущественно больше высоты поперечных, а высота ребер в местах крепления со сваей (крепежных ребер) преимущественно превышает высоту поперечных ребер в секции.
Вдоль секции может быть расположена перегородка.
Вдоль секции могут быть расположены стойки.
В верхней части секции могут быть выполнены окна для соединения с отводами тоннеля и отверстия для соединения со смотровыми люками.
Способ прокладки подземных переходов и тоннелей поясняется чертежами.
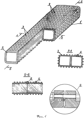
На фиг.1 изображена секция тоннеля.
На фиг.2 изображена секция тоннеля, закрепленная на монтажных сваях, представляющих собой маячные шарнирно-гидравлические сваи.
На фиг.3 изображена секция тоннеля, закрепленная на монтажных сваях, выполненных в виде винтовых свай с размещенной на них балкой.
На фиг.4 – то же, вид сверху.
На фиг.5 изображен общий вид тоннеля с крепежными сваями.
На фиг.6 изображен тоннель с размещенными внутри него трубами.
На фиг.7 изображен разрез тоннеля с трубами.
На фиг.8 изображен тоннель с окнами и отверстиями.
Способ осуществляют следующим образом.
Секция 1 тоннеля содержит кожух 2 и снабжена продольными и поперечными ребрами 3 и 4 жесткости, образующими ячейки 5 шириной не более 3 метров, а также крепежными ребрами 6. Высота продольных ребер 3 преимущественно больше высоты поперечных ребер 4, а высота крепежных ребер 6 преимущественно превышает высоту поперечных ребер 4 в секции 1 (фиг.6). Внутри вдоль секции расположена перегородка или стойки 7. Секции в сечении могут быть прямоугольными, круглыми, овальными и т.д.
Секции 1 тоннеля собирают непосредственно на месте установки.
Перед установкой секций 1 роют котлован 8, на дно котлована при помощи монтажных свай 9 укладывают секции 1 тоннеля (если секции укладывают на дно водоема, их предварительно частично затапливают). После укладки и совмещения соседних секций 1 последние скрепляют между собой болтами 10, которые устанавливают в ребрах жесткости 3 или 4. По краям секций 1 с двух сторон устанавливают крепежные винтовые сваи 11 и закрепляют на них секции 1. Секции крепят к сваям 11 за крепежные ребра 6, высота которых преимущественно превышает высоту поперечных ребер 4 жесткости.
В качестве крепежных ребер 6 могут быть использованы продольные или поперечные ребра 3 или 4 жесткости.
В качестве монтажных свай 9 могут быть использованы винтовые сваи с шарнирно-гидравлической насадкой 12 (фиг.2). Поскольку свая подвергается большим изгибающим нагрузкам, оголовок сваи (на чертеже не показан), на котором размещают шарнирно-гидравлическую насадку 12, должен иметь большой диаметр. Перед установкой секций 1 роют котлован 8. Секцию 1 опускают в котлован, по бокам секции 1 устанавливают винтовые сваи с шарнирно-гидравлической насадкой 12, количество их выбирают в зависимости от длины секции. Секцию 1 соединяют со сваей 12 с помощью шарнирного крепления 13. Затем укладывают следующую секцию 1. Секции 1 легко монтируются между собой, т.к. контргайкой 14 можно регулировать высоту секций, а смещать сваю в заданном направлении по горизонтали позволяет шарнирно-гидравлическая насадка 12.
После совмещения соседних секций 1 их стягивают болтами 15, а по краям секций 1 с двух сторон устанавливают крепежные винтовые сваи 11 и закрепляют на них секции 1. Секции 1 к сваям 11 крепят болтами 15 за крепежные ребра 6, затем монтажные сваи 9 выкручивают.
Кроме того, в качестве монтажных свай 9 могут быть использованы винтовые сваи 16 (фиг.3).
Перед укладкой секций 1 в местах предполагаемого соединения двух соседних секций 1 устанавливают по две сваи 16 с двух сторон у входа 17 в секцию 1, при этом на каждую пару свай 16 устанавливают регулируемую по высоте балку 18, на которую укладывают торцы двух соседних секций 1. Секции укладывают на расстоянии 2÷30 см, контргайкой (на чертеже не показано) выставляют высоту балки 18 до выравнивания секций относительно друг друга. Затем секции 1 стягивают болтами 15, размещая болты 15 в ребрах жесткости 3 или 4. Затем по краям секций 1 с двух сторон устанавливают крепежные винтовые сваи 11 и закрепляют на них секции 1.
Готовый тоннель частично или полностью засыпают землей.
Подземный тоннель может быть эффективно применен для прокладки труб водоснабжения и отопления, а также для прокладки электрокабеля и другого оборудования (фиг.6). В готовый тоннель укладывают трубы 18, электрокабель, или иное оборудование (на чертеже не показано), тоннель засыпают землей. Расстояние h от верха секций до поверхности грунта составляет не менее 20 см, а над секциями может быть уложен утеплитель 19 (выбор расстояния h, а также толщины и марки утеплителя обусловлены климатическими условиями данной местности и глубиной промерзания грунта). Тоннель снабжен отводами 20 с крышками 21 для демонтажа труб 18 или другого оборудования, соединенными с окнами 22 секции, и смотровыми люками 23, соединенными с отверстиями 24, выполненными в верхней части секции 1. Расстояние между отводами 20 составляет не менее 50 м. Размер отводов 20 выбирают с расчетом длины и диаметра труб, размещенных в тоннеле, для обеспечения возможности последующего их демонтажа (при необходимости). Размещение труб или другого оборудования в тоннеле позволяет значительно сократить сроки полного демонтажа или ремонта труб или иного оборудования при значительном снижении трудозатрат (поскольку отпадает необходимость откапывания и последующего закапывания труб) и себестоимости ремонтных работ.
Наличие ребер жесткости 3 и 4, образующих ячейки 5, обеспечивает надежное крепление секций в грунте, т.к. грунт забивает ячейки и предотвращает смещение секций, укрепляя тоннель. Поскольку поперечные усилия, оказываемые на тоннель, больше, чем продольные, предусмотрено выполнение высоты продольных ребер больше высоты поперечных. Наличие ребер жесткости позволяет обеспечить экономию материала и способствует облегчению конструкции, при сохранении высокой несущей способности секций.
Предложенный способ позволяет быстро, надежно и качественно прокладывать подземные переходы и подводные, подземные и т.д. тоннели большой протяженности.
Формула изобретения
1. Способ прокладки подземных переходов и тоннелей, включающий укладку секций тоннеля при помощи монтажных свай на дно предварительно вырытого котлована, отличающийся тем, что в качестве монтажных свай используют винтовые сваи с шарнирно-гидравлической насадкой, которые устанавливают по краям секций и закрепляют на них секции, после укладки и совмещения соседних секций устанавливают крепежные винтовые сваи, а монтажные сваи выкручивают, или в качестве монтажных свай используют винтовые сваи, которые перед укладкой секций в местах соединения двух соседних секций устанавливают по две с двух сторон у входа одной из двух соединяемых секций, на каждой паре винтовых свай размещают регулируемую по высоте балку для укладки секций, после укладки секций по их краям с двух сторон устанавливают крепежные винтовые сваи и закрепляют на них секции.
2. Способ по п.1, отличающийся тем, что после установки секций в них размещают трубы и/или электрокабели, и/или другое оборудование, секции полностью засыпают грунтом, при этом расстояние от верха секций до поверхности грунта составляет не менее 20 см, а тоннель снабжен смотровыми люками и отводами с крышками для демонтажа труб или другого оборудования, соединяющими секции с поверхностью, при этом расстояние между отводами составляет не менее 50 м.
3. Способ по п.2, отличающийся тем, что над секциями укладывают утеплитель.
4. Секция подземного перехода или тоннеля, содержащая кожух, отличающаяся тем, что она дополнительно снабжена продольными и поперечными ребрами жесткости с образованием ячеек шириной не более 3 м, при этом высота продольных ребер жесткости преимущественно больше высоты поперечных, а высота крепежных ребер в местах крепления со сваей преимущественно превышает высоту поперечных ребер в секции.
5. Секция по п.4, отличающаяся тем, что вдоль секции расположена перегородка или стойки.
6. Секция по п.4, отличающаяся тем, что в верхней части секции выполнены окна для соединения с отводами тоннеля и отверстия для соединения со смотровыми люками.
РИСУНКИ
|
|