Патент на изобретение №2311890

Published by on




РОССИЙСКАЯ ФЕДЕРАЦИЯ



ФЕДЕРАЛЬНАЯ СЛУЖБА
ПО ИНТЕЛЛЕКТУАЛЬНОЙ СОБСТВЕННОСТИ,
ПАТЕНТАМ И ТОВАРНЫМ ЗНАКАМ
(19) RU (11) 2311890 (13) C1
(51) МПК

A61D7/00 (2006.01)

(12) ОПИСАНИЕ ИЗОБРЕТЕНИЯ К ПАТЕНТУ

Статус: по данным на 18.11.2010 – прекратил действие, но может быть восстановлен

(21), (22) Заявка: 2006117728/13, 23.05.2006

(24) Дата начала отсчета срока действия патента:

23.05.2006

(46) Опубликовано: 10.12.2007

(56) Список документов, цитированных в отчете о
поиске:
RU 2070822 C1, 27.12.1996. RU 2077350 C1, 20.04.1997. SU 1255150 A1, 07.09.1986. GB 2045620 C1, 05.11.1980.

Адрес для переписки:

390044, г.Рязань, ул. Костычева, 1, РГСХА, патентный отдел

(72) Автор(ы):

Васильев Сергей Сергеевич (RU),
Гришин Иван Иванович (RU),
Судаков Николай Николаевич (RU)

(73) Патентообладатель(и):

ФГОУ ВПО Рязанская государственная сельскохозяйственная академия имени профессора П.А. Костычева (RU)

(54) УСТРОЙСТВО ДЛЯ ПРОФИЛАКТИКИ И ЛЕЧЕНИЯ ГИНЕКОЛОГИЧЕСКИХ ЗАБОЛЕВАНИЙ У ЖИВОТНЫХ

(57) Реферат:

Изобретение относится к ветеринарии и медицинской технике и может быть использовано для профилактики и лечения гинекологических заболеваний у животных. Устройство содержит генератор высокочастотных колебаний, который введен во внутреннюю часть фланца диэлектрического корпуса излучающей системы, выполнен по автогенераторной схеме и соединен выходом с согласующим устройством. Корпус устройства обеззараживают, смазывают вазелином, аккуратно вводят в прямую кишку животного. Энергия УВЧ от генератора поступает на электроды через симметрирующе-согласующее устройство. Устройство формирует направленное терапевтическое УВЧ-поле, которое через стенку прямой кишки воздействует на половые органы животного. Устройство обладает простотой в эксплуатации и технологично в изготовлении. 1 ил.

Изобретение относится к ветеринарии и медицинской технике и предназначено для профилактики и лечения гинекологических заболеваний у животных.

Известно устройство для УВЧ-терапии, содержащее два подключенных к источнику высокочастотного тока электрода. Устройство помещают во влагалище (авт.св. № 1255150, кл. А61N 1/32, 1984).

Недостатками такого технического решения являются механическое раздражение и возможность инфицирования.

Наиболее близким к изобретению по технической сущности и достигаемому эффекту является устройство для реализации способа УВЧ-терапии, содержащее излучатель, соединенный коаксиальным кабелем с генератором УВЧ. Генератор находится отдельно от излучателя. Излучатель содержит два последовательно расположенных электрода в диэлектрическом корпусе, соединенных с согласующим устройством. Устройство вводится в прямую кишку (патент № 2045620, Кл. А61 № 5/02).

Недостатками данного устройства являются вес конструкции, применение ВЧ кабеля, а также паразитное излучение, создаваемое высокочастотным кабелем в процессе работы установки.

Задача данного изобретения направлена на уменьшение паразитного излучения.

Технический результат направлен на повышение эффективности лечения за счет концентрации УВЧ-энергии на репродуктивных органах, улучшения эксплуатационных характеристик и комфортности проведения процедуры лечения.

Указанный результат достигается тем, что устройство для профилактики и лечения гинекологических заболеваний у животных, содержащее генератор высокочастотных колебаний, соединенный с симметрирующе-согласующим устройством, выход которого соединен с двумя электродами в диэлектрическом корпусе излучателя, электроды расположены последовательно и выполнены в виде желобов с переменным убывающим сечением, обращенных меньшими сечениями друг к другу и расположенных по одну сторону от плоскости, в котором генератор введен во внутреннюю часть фланца диэлектрического корпуса излучаемой системы, выполненный по автогенераторной схеме, и соединен выходом с симметрирующе-согласующим устройством, вход которого соединен с источником питания.

Технический результат достигается также и тем, что при одной и той же степени рассогласования генератора с терапевтической нагрузкой (например, при газовыделении или выделении фекальных масс, когда между поверхностью облучателя и стенкой прямой кишки появляется воздушный зазор или фекальная масса) количество паразитного излучения в нашем случае будет меньше. Это достигается тем, что в отличие от прототипа генератор УВЧ выполнен по автогенераторной схеме, которая в зависимости от нагрузки имеет возможность автоподстройки.

Предлагаемое устройство позволяет уменьшить потери высокочастотной энергии ввиду отсутствия высокочастотного кабеля и паразитного излучения от него при рассогласовании генератора и терапевтической нагрузки.

Установка работает как от сети, так и от аккумуляторной батареи. В процессе работы от сети блок питания может служить зарядным устройством для зарядки аккумуляторной батареи.

Размещение генератора симметрирующе-согласующего блока в одном диэлектрическом корпусе с излучающей системой не было известно ни в прототипе, ни в других технических решениях, что позволяет сделать вывод о соответствии критерия «существенные отличия».

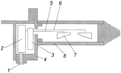
На чертеже представлена конструкция устройства для лечения и профилактики гинекологических заболеваний у животных.

Устройство для профилактики и лечения гинекологических заболеваний у животных (см. чертеж) содержит имеющий источник питания 1 генератор УВЧ 2, соединенный с симметрирующе-согласующим устройством 3, расположенным во фланце 4 излучающей системы, который ограничивает глубину погружения устройства в прямую кишку животного. Выход симметрирующе-согласующего устройства 3 соединен электрически двухпроводной линией 5 и 6 с двумя расположенными последовательно электродами 7 в диэлектрическом корпусе 8.

Устройство работает следующим образом.

Корпус устройства обеззараживают, смазывают вазелином, аккуратно вводят в прямую кишку животного до ограничивающего фланца 4 и фиксируют с помощью ремней за основание хвоста. Энергия УВЧ, вырабатываемая ВЧ генератором 2, поступает на электроды 5 и 6 через симметрирующее-согласующее устройство 3. Устройство формирует направленное терапевтическое УВЧ-поле, которое через стенку прямой кишки воздействует на половые органы животного. По окончании сеанса таймер, находящийся в генераторе УВЧ 3, отключает его. Устройство извлекают из прямой кишки животного.

Устройство обладает простотой в эксплуатации и технологично в изготовлении.

Экспериментальные исследования по лечению быков-производителей, больных бульбоуретральным аденитом, простатитом, везикулитом, сопутствующими заболеваниями суставов, осуществляли на 10 животных.

Исследования проводились на племпредриятиях «Рязанское» и «Шелковская».

УВЧ-терапию проводили ректально: мощность 20 Вт, экспозиция 15 минут.

После курса УВЧ-терапии происходило снижение общей температуры тела с 39,6±0,2°С до 39,1±0,2°С, пульс с 76±2 ударов в минуту до 67±2 ударов в минуту, дыхания с 28±2 до 24±2 в минуту. Местная температура в области тор сального сустава увеличилась на 0,6°С.

Анализ ЭКГ сразу после проведенного курса УВЧ-энергией выявил существенные улучшения общего состояния животных, в том числе и на ритм сердечной деятельности.

Через семь суток после лечения электромагнитным УВЧ-полем показатели у всех животных были в пределах физиологической нормы.

Формула изобретения

Устройство для профилактики и лечения гинекологических заболеваний у животных, содержащее генератор высокочастотных колебаний, соединенный с симметрирующим-согласующим устройством, выход которого соединен с двумя электродами в диэлектрическом корпусе излучающей системы, электроды расположены последовательно и выполнены в виде желобов с переменным убывающим сечением, обращенных меньшими сечениями друг к другу и расположенных по одну сторону от плоскости, отличающееся тем, что генератор введен во внутреннюю часть фланца диэлектрического корпуса излучающей системы, выполнен по автогенераторной схеме и соединен выходом с симметрирующим-согласующим устройством, вход которого соединен с источником питания.

РИСУНКИ


MM4A – Досрочное прекращение действия патента СССР или патента Российской Федерации на изобретение из-за неуплаты в установленный срок пошлины за поддержание патента в силе

Дата прекращения действия патента: 24.05.2008

Извещение опубликовано: 20.02.2010 БИ: 05/2010


Categories: BD_2311000-2311999