Патент на изобретение №2311859

Published by on




РОССИЙСКАЯ ФЕДЕРАЦИЯ



ФЕДЕРАЛЬНАЯ СЛУЖБА
ПО ИНТЕЛЛЕКТУАЛЬНОЙ СОБСТВЕННОСТИ,
ПАТЕНТАМ И ТОВАРНЫМ ЗНАКАМ
(19) RU (11) 2311859 (13) C2
(51) МПК

A24F47/00 (2006.01)
A61M15/06 (2006.01)

(12) ОПИСАНИЕ ИЗОБРЕТЕНИЯ К ПАТЕНТУ

Статус: по данным на 18.11.2010 – действует

(21), (22) Заявка: 2004136581/12, 13.05.2002

(24) Дата начала отсчета срока действия патента:

13.05.2002

(43) Дата публикации заявки: 20.02.2006

(46) Опубликовано: 10.12.2007

(56) Список документов, цитированных в отчете о
поиске:
DE 19854009 A1, 18.05.2000. US 5944025 A, 31.08.1999. GB 2195899 A, 20.04.1988. RU 2116806 C1, 10.08.1998.

(85) Дата перевода заявки PCT на национальную фазу:

14.12.2004

(86) Заявка PCT:

DE 02/01712 (13.05.2002)

(87) Публикация PCT:

WO 03/094640 (20.11.2003)

Адрес для переписки:

101000, Москва, М.Златоустинский пер., 10, кв.15, “ЕВРОМАРКПАТ”, пат.пов. М.Б.Веселицкому

(72) Автор(ы):

Ральф ЭССЕР (DE)

(73) Патентообладатель(и):

ТИНК! ГЛОБАЛ Б.В. (NL),
ЭССЕР РАЛЬФ (DE)

(54) ИНГАЛЯТОР

(57) Реферат:

Ингалятор имеет каталитическую горелку, соединенный с ней, содержащий водород топливный баллончик (6), емкость (15) для ингаляционных добавок, таких как ароматические вещества и/или действующие вещества, по меньшей мере один вход (2) для кислородосодержащей газовой смеси, прежде всего для воздуха, и один выход (3) для содержащей ароматические вещества и/или действующие вещества ингаляционной смеси. 12 з.п. ф-лы, 1 ил.

Настоящее изобретение относится к ингалятору нового типа.

Ингаляторы преимущественно используются в медицинских или терапевтических целях и в зависимости от назначения имеют различную конструкцию.

Так, например, существуют ингаляторы для отвыкания от курения, состоящие из мундштука и наконечника и имеющие воздушный канал, в который можно вставлять капсулу с никотином. В таких ингаляторах никотин высвобождается из содержащей его капсулы под действием потока воздуха, возникающего при затяжке через мундштук. Преимущество подобных ингаляторов заключается в том, что их применение в отличие от курения сигарет или сигар не ухудшает микроклимат в помещении и тем самым не создает неудобств для третьих лиц, соответственно не влияет отрицательно на их самочувствие. Поэтому такие ингаляторы пригодны прежде всего для пользования ими курильщиками в местах, где курение запрещено, например, в самолетах. Очевидно, однако, что ингаляторам подобного типа присущ и недостаток, состоящий в том, что высвобождающийся никотин продолжает наносить вред здоровью курильщика. Помимо этого и ощущения от вдыхания аэрозоля при ингаляции практически не сопоставимы с ощущениями, возникающими при выкуривании сигарет или сигар, поскольку человек вдыхает холодный при любых условиях воздух, а из-за отсутствия в нем собственного табачного дыма курильщик не получает никакого сравнимого с выкуриванием традиционных табачных изделий удовольствия.

Из DE 19854009 А1 известен сигаретоподобный ингалятор, преимущество которого перед традиционными сигаретами также состоит в том, что он не является источником мешающего третьим лицам сигаретного дыма (побочной струи дыма). В этом известном ингаляторе аэрозоль генерируется за счет нагрева специального субстрата. Необходимое для такого нагрева тепло получают в результате беспламенного каталитического сжигания газообразного бутана, пентана или изопропанола. Образующиеся при этом газообразные продукты сгорания либо выводятся наружу, либо всасываются в проточный канал ингалятора и примешиваются к вдыхаемому аэрозолю. Однако при сгорании топлива неизбежно выделяются ядовитые для пользователя ингалятора, соответственно для третьих лиц, вещества, например угарный газ.

Другие ингаляторы, которые предназначены для применения в медицинских целях для лечения заболеваний дыхательных путей или простудных заболеваний, имеют заполняемую или заполненную водой нагреваемую емкость, на которую надевается насадка для назальной ингаляции или мундштук. Заполняющую указанную емкость воду можно смешивать с эфирными маслами или фармацевтическими действующими веществами, которые при нагревании воды испаряются вместе с ней и которые тем самым можно вдыхать вместе с водяным паром. В качестве источника тепла в ингаляторах подобного типа обычно используется электронагревательная спираль, работающая от переменного тока и подключаемая в этом случае к бытовой штепсельной электрической розетке либо от постоянного тока и подключаемая в этом случае, например, к автомобильной аккумуляторной батарее. Недостаток таких ингаляторов состоит в их громоздкости. Помимо этого такие ингаляторы из-за необходимости их подключения к внешнему источнику электроэнергии не могут применяться повсеместно.

Теми же недостатками обладают и ингаляторы, генерирующие ингалируемые аэрозоли из растворов, содержащих фармацевтические действующие вещества. Для генерирования аэрозолей преимущественно используются устройства двух типов, а именно, ультразвуковые аэрозольные распылители и напорные аэрозольные распылители. При ультразвуковом распылении раствор переводится в аэрозоль приводимой в колебательное движение под действием ультразвуковых волн мембраной, а при напорном распылении раствор переводится в аэрозоль, проходя под давлением через сопло.

Исходя из вышеизложенного в основу настоящего изобретения была положена задача разработать ингалятор нового типа, который можно было бы использовать в указанных выше целях и который не имел бы указанных выше недостатков, присущих известным ингаляторам.

Эта задача решается с помощью предлагаемого в изобретении ингалятора, имеющего каталитическую горелку, емкость для ингаляционных добавок, таких как ароматические вещества и/или действующие вещества, по меньшей мере один вход для кислородосодержащей газовой смеси, прежде всего для воздуха, один выход для содержащей ароматические вещества и/или действующие вещества ингаляционной смеси, и соединенный с каталитической горелкой, содержащий водород топливный баллончик.

Основная идея изобретения состоит в том, чтобы использовать для получения содержащей ароматические вещества и/или действующие вещества ингаляционной смеси не только вырабатываемую при каталитическом сгорании водорода электрическую энергию, но и образующиеся при этом газообразные продукты сгорания. Так, в частности, тепло газообразных продуктов сгорания можно использовать на нагрев ингаляционных добавок, например, путем нагрева содержащей их емкости. Тепло газообразных продуктов сгорания можно также использовать для нагрева ингаляционной смеси, преимущество чего состоит в увеличении ее доступной для поглощения пара емкости, благодаря чему появляется возможность переносить с этой смесью действующие вещества в более высоких концентрациях по сравнению с холодной ингаляционной смесью. Одновременно с этим газообразные продукты сгорания можно подавать непосредственно в ингаляционную смесь, поскольку такие образующиеся при сгорании водорода газы не содержат абсолютно никаких вредных веществ.

Наличием указанных выше особенностей обусловлен целый ряд преимуществ. Так, в частности, запитывание ингалятора электроэнергией от предусмотренной у него каталитической горелки позволяет сделать его независимым от внешних источников электроэнергии. Необходимая для работы ингалятора электроэнергия вырабатывается при каталитическом сгорании водорода, которое носит экологически чистый характер, поскольку продуктом сгорания водорода является лишь безвредный водяной пар, который используется даже для переноса ароматических и действующих веществ. Используемое топливо (водород) является, таким образом, не только источником вырабатываемой при его сгорании электроэнергии, но и источником среды-носителя (газообразных продуктов сгорания) ароматических, соответственно действующих веществ.

В принципе предлагаемый в изобретении ингалятор может иметь такую конструкцию, при которой при пользовании ингалятором поток теплых газообразных продуктов сгорания, необязательно вместе с окружающим воздухом, будет проходить через содержащую ингалируемые вещества емкость и захватывать находящиеся в ней ингаляционные добавки. Ингаляционные добавки/действующие вещества в зависимости от их типа могут быть представлены в жидком или же в твердом порошковом виде. При использовании ингаляционных добавок в жидком виде они могут попадать в поток газообразных продуктов сгорания в виде паров, улетучивающихся с поверхности содержащей их жидкости. При использовании же ингаляционных добавок в твердом виде они при пропускании через ингалятор потока газообразных продуктов сгорания в соответствующем направлении и при соответствующей его скорости могут захватываться им с образованием в результате ингаляционной смеси в виде содержащего твердые частицы аэрозоля.

В качестве каталитической горелки целесообразно использовать топливный элемент благодаря предоставляемой им возможности простого контролируемого управления протекающей в нем химической реакции. Современные топливные элементы обладают высоким коэффициентом полезного действия и могут иметь такую конструкцию, при которой количество проходящего вдоль каталитической мембраны топливного элемента воздуха автоматически регулирует количество проходящих сквозь нее ионов водорода.

В предпочтительном варианте выполнения подобного, используемого в качестве каталитической горелки топливного элемента ему предлагается придавать спирально навитую по типу соленоида форму. За счет придания топливному элементу подобной спирально навитой по типу соленоида формы не только значительно уменьшаются его габариты, а тем самым и объем занимаемого им пространства, но и автоматически образуется воздушный канал, по которому может проходить кислород, соответственно содержащая его газовая смесь.

Использование растворенных в воде или в других растворителях ингаляционных добавок предпочтительно не только по причине более простого их дозирования по сравнению с дозированием порошковых ингаляционных добавок, но и по той причине, что к направлению потока газообразных продуктов сгорания и его скорости не предъявляется никаких требований или предъявляются лишь незначительные требования. Еще одно преимущество ингалятора может в зависимости от конкретного его конструктивного исполнения проявляться в том, что при соответствующей концентрации ингаляционных добавок в растворе не требуется никакое дополнительное регулирование подачи этих добавок в ингаляционную смесь.

Предлагаемый в изобретении ингалятор в предпочтительном варианте может иметь работающий от каталитической горелки нагревательный элемент для испарения содержащего ингаляционные добавки раствора, которые в результате будут содержаться в ингаляционной смеси в виде пара. В качестве такого нагревательного элемента можно использовать, например, электронагревательную спираль, помещаемую внутрь емкости для раствора ингаляционных добавок.

Вместе с тем в этих же целях можно использовать и теплообменник, обеспечивающий передачу тепла газообразных продуктов сгорания раствору ингаляционных добавок.

Предлагаемый в изобретении ингалятор может также иметь работающий от каталитической горелки распылитель для аэрозольного распыления раствора, прежде всего ультразвуковой распылитель или пневматический распылитель. В основе аэрозольного распыления раствора под давлением могут лежать два различных принципа. Необходимое для напорного распыления раствора ингаляционных добавок давление в содержащей его емкости может создаваться за счет нагрева раствора или же, что предпочтительно, компрессором. Для создания давления можно использовать, например, и добавки-растворители с меньшей в сравнении с водой температурой кипения, что позволяет создавать в содержащей раствор ингаляционных добавок емкости достаточное давление уже при подводе к ней небольшого количества тепла. В этом случае путем регулируемого подвода тепла к содержащей раствор ингаляционных добавок емкости можно регулировать величину создаваемого в ней давления, а тем самым и управлять процессом аэрозольного распыления раствора.

В другом предпочтительном варианте предлагаемый в изобретении ингалятор имеет дополнительный баллончик для воды, а также работающий от каталитической горелки нагревательный элемент для испарения воды. В этом случае нет необходимости получать всю ингаляционную смесь в каталитической горелке. Более того, выделяющееся при сгорании водорода тепло можно использовать для нагрева находящейся в дополнительном баллончике воды и ее превращения в пар и затем примешивать его к выходящему из каталитической горелки водяному пару.

В другом предпочтительном варианте предлагаемый в изобретении ингалятор имеет регулятор для дозированной подачи ароматических веществ или действующих веществ в ингаляционную смесь.

Предпочтительно далее выполнять топливный баллончик, а также все остальные емкости сменными и/или многократно заправляемыми. Благодаря этому обеспечивается возможность длительного пользования ингалятором.

У предлагаемого в изобретении ингалятора предпочтительно далее предусмотреть расположенный по ходу потока перед выходом смеситель для смешения ингаляционной смеси с окружающим воздухом. В этом случае пользователь может в зависимости от своих потребностей дозировать количество вдыхаемой им ингаляционной смеси.

Предлагаемый в изобретении ингалятор предпочтительно также оснастить регулятором расхода проходящего через топливный элемент кислорода. Связанное с наличием подобного регулятора преимущество наиболее ярко проявляется в том случае, когда при каждом пользовании ингалятором количество образуемой им ингаляционной смеси должно оставаться постоянным во времени, т.е. в том случае, когда ингалятор по своему функциональному назначению соответствует обычному ингалятору, используемому в медицинских целях.

Помимо этого предлагаемый в изобретении ингалятор может иметь мундштук. Подобный мундштук может быть выполнен, например, по типу мундштука для сигарет и может использоваться прежде всего в тех ингаляторах, выдаваемую которыми ингаляционную смесь вдыхают только через рот. Вместо мундштука на выходе ингалятора можно также предусмотреть маску, которая при пользовании ингалятором прикладывается к лицу и закрывает одновременно рот и нос.

Электрический ток, вырабатываемый в процессе каталитического сжигания топлива, прежде всего в топливном элементе, также можно использовать в различных целях. Так, в частности, его можно использовать для запитывания электронагревательной спирали, предназначенной для нагрева добавок или воды. Его можно использовать и для запитывания источника света. Такой источник света может включаться, например, при работе ингалятора. При использовании же предлагаемого в изобретении ингалятора в качестве заменителя сигарет для отвыкания от курения или в качестве курительного изделия нового типа источник света можно использовать для имитации свечения, возникающего при тлении сигареты или сигары.

Общим для всех вариантов осуществления изобретения является то, что предлагаемый в нем ингалятор можно использовать автономно вне зависимости от наличия или отсутствия внешних источников электропитания. Предлагаемый в изобретении ингалятор позволяет, кроме того, получать теплую, вызывающую приятные ощущения при вдыхании ингаляционную смесь, для получения которой при необходимости могут использоваться также продукты сгорания топлива и их тепло.

Ниже настоящее изобретение более подробно рассмотрено со ссылкой на прилагаемый к описанию чертеж, на котором в качестве примера показан один из возможных вариантов выполнения предлагаемого в изобретении ингалятора и который позволяет пояснить принцип его работы.

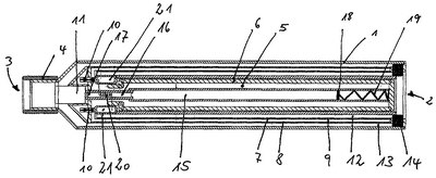
Ингалятор, принципиальная конструкция которого показана на прилагаемом к описанию чертеже, имеет удлиненный полый цилиндрический корпус 1 со входом 2 для воздуха и выходом 3 для ингаляционной смеси. На выходе 3 полого корпуса предусмотрен сменный мундштук 4. Внутри полого корпуса 1 соосно ему расположен трубчатый элемент со стенкой 5, которая охватывает заполненный водородом в качестве топлива баллончик 6 в основном цилиндрической формы, дно которого обращено ко входу 2 для воздуха, а газовыпускное отверстие – к выходу 3 полого корпуса.

Между стенкой 5 трубчатого элемента и внутренней стенкой полого корпуса 1 предусмотрены расположенные соосно им и радиально отстоящие от них и друг от друга внутренняя 7 и наружная 8 мембраны, совместно образующие топливный (тепловыделяющий) элемент. Заключенная между обоими этими мембранами 7, 8 полость 9 газонепроницаемо закрыта с ее обращенной ко входу 2 стороны. С обращенной же к выходу 3 стороны полость 9 сообщается с газовыпускным отверстием топливного баллончика 6 через клапаны 10, позволяющие открывать или перекрывать соединение, по которому из топливного баллончика 6 в полость 9 поступает поток водорода.

Образованные между внутренней стенкой полого корпуса 1 и наружной мембраной 8, а также между внутренней мембраной 7 и стенкой 5 трубчатого элемента каналы 12, 13 со стороны того их конца, который обращен ко входу 2, сообщаются с ним через кольцевой воздушный фильтр 14. На их противоположном конце эти каналы оканчиваются в расположенной по ходу потока перед выходом 3 смесительной камере 11 (соединение между образованным внутренней мембраной 7 и стенкой 5 трубчатого элемента каналом 12 и смесительной камерой 11 на чертеже не показано).

Внутри топливного баллончика 6 соосно ему расположена емкость для ингаляционных добавок, в частности цилиндрический баллончик 15 с действующими веществами в виде растворенных в жидкости, например в воде, ингаляционных добавок. Основание баллончика 15 с действующими веществами жестко закреплено в дне топливного баллончика 6. Для выхода действующих веществ из содержащего их баллончика 15 предусмотрена трубка 16, которая проходит сквозь газовыпускное отверстие топливного баллончика 6 в смесительную камеру 11 и оканчивается в ней своим выходным отверстием. В этом обращенном к смесительной камере 11 выходном отверстии трубки 16 установлен предохранительный клапан 17. Внутри содержащего действующие вещества баллончика 15 установлен поршень 18, выталкиваемый в сторону трубки 16 опирающейся на дно этого баллончика 15 пружиной 19. Под действием такого создаваемого поршнем давления раствор ингаляционных добавок вытесняется в трубку 16.

В трубке 16 расположена спираль 20 накала для испарения содержащей ингалируемые вещества жидкости. Спираль 20 накала, равно как и иные дополнительные компоненты, например компрессор для распыления жидкости под давлением или ультразвуковой испаритель, запитывается электрическим током от мембран 7, 8 топливного элемента.

От топливного элемента электрическим током запитываются, кроме того, две закрепленные на стенке 5 аккумуляторные батареи 21. Электрическим током от батарей 21 или электрическим током, непосредственно вырабатываемым топливным элементом, запитывается не показанный на чертеже регулятор, который с помощью клапанов 10 регулирует подачу водорода. Помимо этого ингалятор может быть снабжен не показанным на чертеже электрическим разъемом для подключения других потребителей, которые могут запитываться электрическим током либо непосредственно от топливного элемента, либо от батареи.

Для ингаляции необходимо взять в рот мундштук 4 ингалятора и втянуть в ингалятор воздух через вход 2. При этом втягиваемый в ингалятор воздух проходит мимо мембран 7, 8 и реагирует на них с водородом, что сопровождается образованием водяного пара и смеси воздуха с водяным паром.

Одновременно с этим вырабатываемый при химической реакции топливным элементом электрический ток подается на спираль накала, которая испаряет находящуюся в трубке и содержащую ингаляционные добавки жидкость. Вследствие обусловленного испарением жидкости повышения давления открывается предохранительный клапан 16, через который тем самым может улетучиваться пар с содержащимися в нем ингаляционными добавками. Этот пар примешивается в смесительной камере 11 к смеси воздуха с водяным паром с образованием в результате состоящей из воздуха, водяного пара и ингаляционных добавок смеси, которую можно вдохнуть через мундштук.

Для возможности долговременного пользования ингалятором топливный баллончик 6 и баллончик 15 для действующих веществ целесообразно выполнять сменными и в этих целях разъемно соединять их с ингалятором или же предусмотреть возможность их многократной заправки топливом, соответственно раствором действующих веществ. Для этой цели полый цилиндр можно снабдить, например, оснащенным клапаном патрубком, в который можно ввинчивать топливный баллончик 6, необязательно совместно с содержащим действующие вещества баллончиком 15.

Следует отметить, что существует множество иных вариантов конструктивного исполнения работающего от каталитической горелки ингалятора, позволяющих с тем же успехом реализовать лежащую в основе его работы идею. Так, в частности, мембраны, топливный баллончик и баллончик для действующих веществ, а также воздушные каналы не обязательно должны располагаться соосно друг другу.

Равным образом у предлагаемого в изобретении ингалятора можно предусмотреть дополнительные управляющие или регулирующие механизмы. Так, в частности, несмотря на то, что существующие на сегодняшний день топливные элементы в большинстве своем являются саморегулирующимися в зависимости от расхода подводимого к ним потока воздуха, в зависимости от конкретной цели применения ингалятора может потребоваться регулирование подачи водорода. Помимо этого у предлагаемого в изобретении ингалятора можно предусмотреть регулируемый в зависимости, например, от температуры и/или относительной влажности воздуха находящейся в смесительной камере смеси из воздуха, водяного пара и ингаляционных добавок подвод свежего воздуха для охлаждения этой находящейся в смесительной камере смеси. Очевидно, что для необходимого в некоторых случаях охлаждения находящейся в смесительной камере смеси можно использовать и теплообменник.

Формула изобретения

1. Ингалятор, имеющий каталитическую горелку, емкость (15) для ингаляционных добавок, таких как ароматические вещества и/или действующие вещества, по меньшей мере один вход (2) для кислородосодержащей газовой смеси, прежде всего для воздуха, и один выход (3) для содержащей ароматические вещества и/или действующие вещества ингаляционной смеси, отличающийся тем, что он имеет соединенный с каталитической горелкой содержащий водород топливный баллончик (6).

2. Ингалятор по п.1, отличающийся тем, что каталитическая горелка представляет собой топливный элемент (7, 8).

3. Ингалятор по п.2, отличающийся тем, что топливный элемент (7, 8) имеет спирально навитую по типу соленоида форму.

4. Ингалятор по п.1, отличающийся тем, что ингаляционные добавки представлены в растворенном в воде или ином растворителе виде.

5. Ингалятор по п.4, отличающийся тем, что он имеет работающий от каталитической горелки нагревательный элемент (20) для испарения содержащего ингаляционные добавки раствора.

6. Ингалятор по п.4 или 5, отличающийся тем, что он имеет работающий от каталитической горелки распылитель для аэрозольного распыления раствора, прежде всего ультразвуковой распылитель или пневматический распылитель.

7. Ингалятор по п.1, отличающийся тем, что он имеет дополнительный баллончик для воды.

8. Ингалятор по п.1, отличающийся тем, что он имеет регулятор для дозированной подачи ингаляционных добавок в ингаляционную смесь.

9. Ингалятор по п.1 или 7, отличающийся тем, что топливный баллончик (6) и все остальные емкости (15) выполнены сменными и/или многократно заправляемыми.

10. Ингалятор по п.1, отличающийся тем, что он имеет расположенный по ходу потока перед выходом (3) смеситель (11) для примешивания окружающего воздуха к ингаляционной смеси.

11. Ингалятор по п.1, отличающийся тем, что он имеет регулятор расхода, проходящего через топливный элемент кислорода.

12. Ингалятор по п.1, отличающийся тем, что он имеет мундштук (4).

13. Ингалятор по п.1, отличающийся тем, что он имеет работающий от каталитической горелки источник света.

РИСУНКИ


PC4A – Регистрация договора об уступке патента СССР или патента Российской Федерации на изобретение

Прежний патентообладатель:

ТИНК ГЛОБАЛ Б.В. (NL),
ЭССЕР РАЛЬФ (DE)

(73) Патентообладатель:

Инхаленесс Б.В. (NL)

Договор № РД0050678 зарегистрирован 29.05.2009

Извещение опубликовано: 10.07.2009 БИ: 19/2009


Categories: BD_2311000-2311999