Патент на изобретение №2311560

Published by on




РОССИЙСКАЯ ФЕДЕРАЦИЯ



ФЕДЕРАЛЬНАЯ СЛУЖБА
ПО ИНТЕЛЛЕКТУАЛЬНОЙ СОБСТВЕННОСТИ,
ПАТЕНТАМ И ТОВАРНЫМ ЗНАКАМ
(19) RU (11) 2311560 (13) C2
(51) МПК

F04C2/344 (2006.01)
F04C14/20 (2006.01)

(12) ОПИСАНИЕ ИЗОБРЕТЕНИЯ К ПАТЕНТУ

Статус: по данным на 18.11.2010 – прекратил действие, но может быть восстановлен

(21), (22) Заявка: 2005114203/06, 11.05.2005

(24) Дата начала отсчета срока действия патента:

11.05.2005

(43) Дата публикации заявки: 20.11.2006

(46) Опубликовано: 27.11.2007

(56) Список документов, цитированных в отчете о
поиске:
DE 19840791 A1, 14.09.2000. DE 668362 A, 01.12.1938. DE 19857726 A1, 17.08.2000. SU 1051332 A, 30.10.1983. RU 2227228 C2, 20.04.2004.

Адрес для переписки:

446851, Самарская обл., Челно-Вершинский р-н, д. Благодаровка, ул. Солнечная, 5, Н.Г.Шарипову

(72) Автор(ы):

Шарипов Набиулла Губайдуллович (RU)

(73) Патентообладатель(и):

Шарипов Набиулла Губайдуллович (RU)

(54) РЕГУЛИРУЕМЫЙ ПЛАСТИНЧАТЫЙ НАСОС

(57) Реферат:

Изобретение относится к машиностроению, а именно к усовершенствованию пластинчатых насосов. Регулируемый пластинчатый насос содержит корпус, внутренняя полость которого выполнена прямоугольной формы, две боковые крышки, ротор с пластинами, статор, установленный в корпусе с возможностью перемещения перпендикулярно оси ротора, герметичные торцевые полости, образуемые смежными торцевыми гранями корпуса и статора. Боковые крышки выполнены разъемными. Внутри торцевых полостей установлены ограничители перемещения статора и возвратные пружинные механизмы, обеспечивающие установку статора в положение нулевой производительности. Исключается взаимодействие рабочих поверхностей ротора и статора в положениях максимальной производительности, обеспечивается возможность быстрой установки статора в положение нулевой производительности, упрощается обслуживание и ремонт. 3 ил.

Предлагаемое изобретение относится к машиностроению, а именно к пластинчатым насосам.

Известен регулируемый пластинчатый насос (RU 2227228 С, F04C 2/344, 15/04), содержащий корпус, в расточке которого помещен статор с возможностью перемещения перпендикулярно оси вала, установленный на последнем ротор с двумя или большим количеством пластин, в полости нагнетания и всасывания между пластинами выполнены радиальные отверстия, а механизм регулирования устанавливает несколько различных положений корпуса и статора при неизменном положении ротора, снабжен зубчатыми колесами и шестернями, обеспечивающими синхронное вращение ротора и статора, внутри радиальных отверстий смонтированы клапаны для впуска рабочей жидкости из внутренней полости вала ротора, а напротив радиальных отверстий ротора в статоре установлены клапаны для впуска рабочей жидкости.

Недостатки указанной конструкции:

– сложность и ненадежность конструктивного исполнения;

– неэффективность механизма регулировки положения ротора.

Известна регулируемая объемная гидромашины (RU 2056536 С1, F04С 2/344) в которой корпус выполнен составным и его части снабжены прокладками по профилю корпуса с остроугольным срезом. В этой машине регулирование осуществляется за счет раздвигания или сдвигания частей корпуса.

Недостаток указанной конструкции:

– сложность изготовления и регулирования;

– ограниченные технологические возможности.

Наиболее близким по сущности является регулируемый пластинчатый насос (DE 19840791 A1, F04C 2/344) содержащий корпус, внутренняя полость которого выполнена прямоугольной формы, две боковые крышки, ротор с пластинами, статор, установленный в корпусе с возможностью перемещения перпендикулярно оси ротора, герметичные торцевые полости, образуемые смежными гранями корпуса и статора, пружины, установленные в торцевых полостях.

Недостаток указанного технического решения – невозможность установки ротора в положение нулевой производительности, отсутствие ограничителей перемещения статора в положение максимальной производительности.

Задача изобретения – исключение взаимодействия рабочих поверхностей ротора и статора в положениях максимальной производительности, возможность быстрой установки статора в положение нулевой производительности, упрощение обслуживания и ремонта.

Указанная задача достигается в регулируемом пластинчатом насосе, содержащем корпус, внутренняя полость которого выполнена прямоугольной формы, две боковые крышки, ротор с пластинами, статор, установленный в корпусе с возможностью перемещения перпендикулярно оси ротора, герметичные торцевые полости, образуемые смежными торцевыми гранями корпуса и статора, согласно изобретению боковые крышки выполнены разъемными, внутри торцевых полостей установлены ограничители перемещения статора и возвратные пружинные механизмы, обеспечивающие установку статора в положение нулевой производительности.

Регулируемый пластинчатый насос состоит из корпуса с размещенным в нем статором. Статор имеет цилиндрическую или овальную рабочую полость. Внутри корпуса по поперечной оси на подшипниковых опорах расположен ротор, имеющий продольные пазы с установленными в них разделительными пластинами, образующими рабочие камеры.

Торцевые грани корпуса и статора образуют герметичные торцевые полости. На торцевых гранях корпуса выполнены нагнетательные отверстия.

Корпус и статор имеют совмещенные впускные окна. Внутри торцевых полостей установлены ограничители перемещения статора. По периметру торцевых граней статора выполнены канавки для установки уплотнителей.

На верхних и нижних гранях статора вокруг входного и выходного окон выполнены кольцевые канавки для установки уплотнителей.

Разделительные пластины могут быть подпружинены или прижиматься к рабочей поверхности под давлением рабочей жидкости, поступающей в пазы ротора по специальным канавкам. Внутри торцевых полостей установлены возвратные пружинные механизмы, обеспечивающие установку статора в положение нулевой производительности.

Ограничители перемещения статора исключают взаимодействие рабочих поверхностей ротора и статора в крайних положениях статора.

Регулируемый пластинчатый насос состоит из корпуса, статора, ротора с пластинами, двух боковых крышек.

Внутренняя полость корпуса выполнена прямоугольной формы. Две боковые грани выполнены разъемными и имеют подшипниковые узлы установки ротора. В полость корпуса помещен статор с возможностью перемещения перпендикулярно осевой линии ротора. Статор имеет прямоугольную форму. Внутренняя рабочая полость статора выполнена цилиндрической или овальной формы. В боковинах статора вокруг торцевых частей рабочей полости выполнены кольцевые канавки для установки уплотнительных колец для герметизации рабочей полости статора. Смежные торцевые грани корпуса и статора образуют замкнутые торцевые полости. Внутри торцевых полостей установлены дополнительные возвратные пружинные механизмы, обеспечивающие установку статора в положение нулевой производительности. По периметру торцевых граней статора выполнены канавки для уплотнителей, служащих для герметизации торцевых полостей. На прилегающих верхних и нижних гранях корпуса и статора выполнены совмещенные входные и выходные окна. Вокруг входного и выходного окон статора выполнены кольцевые канавки для установки уплотнителей колец. Ротор насоса помещен в рабочую полость статора и вращается на подшипниковых опорах, установленных на боковых крышках корпуса.

Ротор имеет продольные пазы с установленными в них пластинами. Пластины образуют межпластинные рабочие камеры.

Новым в изобретении является то, что, боковые крышки выполнены разъемными, внутри торцевых полостей установлены ограничители перемещения статора и возвратные пружинные механизмы, обеспечивающие установку статора в положение нулевой производительности.

Регулируемый пластинчатый насос поясняется дополнительными чертежами:

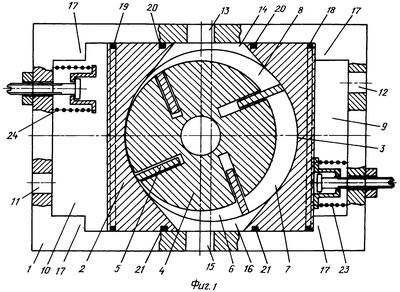
Фиг.1. Пластинчатый насос. Прямая производительность.

Фиг.2. Пластинчатый насос. Нулевая производительность.

Фиг.3. Пластинчатый насос. Обратная производительность

Регулируемый пластинчатый насос (Фиг.1) состоит из корпуса 1 с размещенным в нем статором 2. Статор имеет цилиндрическую или овальную рабочую полость 3. В центре корпуса по поперечной оси на подшипниковых опорах расположен ротор 4, имеющий продольные пазы с установленными в них разделительными пластинами 5, образующими рабочие камеры 6. 7 и 8. Торцевые грани корпуса и статора образуют герметичные торцевые полости 9 и 10. На торцевых гранях корпуса выполнены нагнетательные отверстия 11 и 12.

Корпус и статор имеют совмещенные впускные 13, 14 и выпускные 15, 16 окна. Внутри торцевых полостей установлены ограничители 17 перемещения статора 2. По периметру торцевых граней статора выполнены канавки 18 и 19 для установки уплотнителей.

На верхних и нижних гранях статора вокруг входного и выходного окон 14 и 16 выполнены кольцевые канавки 20 и 21 для установки уплотнителей. Разделительные пластины могут быть подпружинены или прижиматься к рабочей поверхности под давлением рабочей жидкости, поступающей в пазы ротора по специальным каналам. Внутри торцевых полостей 9 и 10 установлены возвратные пружинные механизмы 23 и 24., обеспечивающие установку статора 2 в положение нулевой производительности.

Работает регулируемый пластинчатый насос следующим образом.

При вращении ротора 4 по часовой стрелке при крайне правом положении статора 2, до упора в ограничитель 17 перемещения статора (Фиг.1), в увеличивающуюся камеру 8 из магистрали питания через входные окна 13 и 14 поступает рабочая жидкость. Замыкающая пластина рабочей камеры в точке максимального объема камеры 7 отсекает входное окно 14. Предыдущая пластина камеры открывает выходное окно 16. Из уменьшающегося объема камеры 6 рабочее тело вытесняется через выходные окна 15 и 16 в магистраль рабочей системы. Таким образом, непрерывное вращение ротора создает непрерывный ток рабочего тела.

Установка статора 2 в положение нулевой производительности (Фиг.2) осуществляется при помощи возвратного пружинного механизма 23 и 24. При этом ось вращения ротора 4 совпадает с осью рабочей полости статора 2.

Это соответствует положению, когда между статором 2 и ротором 4 формируются одинаковые по объему межпластинные камеры.

В положении нулевой производительности происходит перемещение одной и той же рабочей жидкости в рабочей полости статора.

При установке статора в крайнее левое положение, до упора в левый ограничитель перемещения статора (Фиг.3), рабочая полость меняется на противоположное, что позволяет при неизменном направлении вращения ротора изменять направление тока рабочей жидкости на противоположное. При этом насос работает с максимальной производительностью.

Установка в положение нулевой производительности при неработающем насосе осуществляется возвратными пружинными механизмами 23 и 24. Переключение направления тока рабочей жидкости и плавное изменение производительности насоса осуществляется перемещением статора относительно корпуса путем нагнетания в соответствующие торцевые полости 9 и 10 рабочей жидкости дополнительным гидронасосом через нагнетательное отверстие 11 и 12. Регулировка положения статора осуществляется с помощью золотникового механизма или специальным регулятором с электронным управлением. В точках максимальной производительности статор 2 фиксируется ограничителями 17 перемещения статора, исключающими возможность взаимодействия рабочих поверхностей ротора и статора.

Формула изобретения

Регулируемый пластинчатый насос, содержащий корпус, внутренняя полость которого выполнена прямоугольной формы, две боковые крышки, ротор с пластинами, статор, установленный в корпусе с возможностью перемещения перпендикулярно оси ротора, герметичные торцевые полости, образуемые смежными торцевыми гранями корпуса и статора, отличающийся тем, что боковые крышки выполнены разъемными, внутри торцевых полостей установлены ограничители перемещения статора и возвратные пружинные механизмы, обеспечивающие установку статора в положение нулевой производительности.

РИСУНКИ


MM4A – Досрочное прекращение действия патента СССР или патента Российской Федерации на изобретение из-за неуплаты в установленный срок пошлины за поддержание патента в силе

Дата прекращения действия патента: 12.05.2008

Извещение опубликовано: 10.06.2010 БИ: 16/2010


Categories: BD_2311000-2311999