|
|
(21), (22) Заявка: 2006101282/04, 08.04.2004
(24) Дата начала отсчета срока действия патента:
08.04.2004
(30) Конвенционный приоритет:
17.06.2003 US 10/462,779
(43) Дата публикации заявки: 27.06.2006
(46) Опубликовано: 27.11.2007
(56) Список документов, цитированных в отчете о поиске:
WO 8903863 A1, 05.05.1989. US 2002/0039639 A1, 04.04.2002. RU 94027272 A1, 10.09.1996.
(85) Дата перевода заявки PCT на национальную фазу:
17.01.2006
(86) Заявка PCT:
US 2004/011045 (08.04.2004)
(87) Публикация PCT:
WO 2005/003240 (13.01.2005)
Адрес для переписки:
103735, Москва, ул. Ильинка, 5/2, ООО “Союзпатент”, пат.пов. Т.С.Фомичевой
|
(72) Автор(ы):
ЧЭН Чинг-Йи (US), ГИДДЕНС Рикки Л. (US), КАРТЕР Ричард Д. (US)
(73) Патентообладатель(и):
ДЖ. М. ХЬЮБЕР КОРПОРЕЙШН (US)
|
(54) ПИГМЕНТ ДЛЯ ПРИМЕНЕНИЯ В ПОКРЫТИЯХ РЕГИСТРИРУЮЩЕЙ СРЕДЫ СТРУЙНЫХ СИСТЕМ И СПОСОБЫ ЕГО ПОЛУЧЕНИЯ
(57) Реферат:
Изобретение относится к пигментам, пригодным для использования в композициях регистрирующих сред для струйной печати. Согласно изобретению на поверхность пигментного сыпучего материала воздействуют водорастворимой солью поливалентного металла в водной среде. Обработанная поверхность частиц приобретает значительный катионный поверхностный заряд. Соль представляет собой соль металла группы II или группы III Периодической таблицы. Регистрирующие среды для струйной печати, обработанные композицией покрытия, содержащей указанный пигмент, обеспечивают высокоплотные, быстросохнущие и нерасплывающиеся красочные изображения с достаточной водостойкостью. Композиции для покрытия обладают также преимуществом в отношении себестоимости и улучшенной реологии при более высоком содержании пигмента в покрытии по сравнению с покрытиями на основе кремнеземных пигментов. 6 н. и 24 з.п. ф-лы, 5 ил., 7 табл.
Область техники
Настоящее изобретение относится к пигментам для композиций покрытий регистрирующей среды для краски, в частности предназначенных для струйной печати, и к способам приготовления и применения пигментов композиций для покрытия.
Уровень техники
Способы струйной регистрации представляют собой одну из наиболее важных и широко используемых технологий для высокоскоростной электронной печати. Струйные принтеры имеют, как правило, множество сопел, соединенных с подачей краски на жидкой основе. Сопла по требованию могут быть задействованы с целью распыления сверхтонких жидких капелек краски. Обычно ряд сопел регулируется таким образом, чтобы сопла выпрыскивали капельки краски в конфигурацию знаков или изображений на поверхности бумаги. Преобладающими технологиями струйной печати, которые в настоящее время используют производители принтеров, являются термопузырьковые и пьезоэлектрические принтеры. В струйных принтерах традиционно используется краска на водной основе. Обычные краски содержат небольшое количество красочного пигмента при преобладающем количестве воды в качестве носителя.
Используемая на струйном принтере бумага в значительной степени определяет качество напечатанного изображения. Бумага, которая пригодна для струйной печати, обычно состоит из бумаги-основы, покрытой составом, улучшающим впитываемость краски бумагой. Бумагу-основу для впитывающих краску покрытий обычно изготовляют из отбеленной химической целлюлозной массы, к которой добавляют наполнители, красители и при необходимости проклеивающие агенты и добавки, повышающие прочность. Традиционная композиция впитывающего краску покрытия, наносимая на бумагу-основу, обычно включает связующее и пористый тонкодисперсный порошок, способный поглощать наносимую на поверхность бумаги краску. В настоящее время матовые и высокоглянцевые сорта бумаги для струйной печати продаются со значительной наценкой по сравнению с бумагой без покрытия.
Белизна и поглотительная способность бумаги сильно влияют на качество изображения. Стандартные бумаги без покрытия обычно не подходят для струйной печати с высоким разрешением. Шероховатая или грубая бумага рассеивает свет в большем количестве направлений по сравнению с бумагой, имеющей более гладкую поверхность. Более гладкая бумага делает напечатанные на ней изображения более яркими, в то время как остальные факторы остаются теми же самыми. Что касается поглощения, идеально, когда нанесенная распылением на бумагу краска остается в виде плотной симметричной точки. Краска не должна поглощаться бумагой слишком глубоко, так как нанесенная распылением точка потеряет оптическую плотность на бумажной поверхности и будет стремиться «расплываться». «Расплывание» означает то, что нанесенная распылением точка краски поглощается бумагой таким образом, что она неравномерно распространяется в боковом направлении, покрывая несколько большую площадь, чем было рассчитано. В результате этого напечатанное изображение выглядит несколько размыто, особенно по краям. Высококачественная бумага для струйной печати в идеальном случае должна быть предварительно покрыта пленкой, которая удерживала бы краску близко к поверхности бумаги, придавая напечатанному изображению повышенную оптическую плотность, давая при этом водной среде или носителю поглощаться глубже в материал бумаги и ускоряя застывание и высыхание краски. Это благоприятствует более высоким скоростям печати и снижает проблемы стирания или перемещения краски, возникающие при слабом поглощении носителя. Таким образом, желательны улучшенное качество печати и ускоренное высыхание краски. Достижение должного баланса этих свойств является трудной задачей, особенно при повышенных разрешающих способностях принтера и уменьшенных диаметрах точек.
В настоящее время наиболее широко применяемым пигментом для покрытия при изготовлении бумаги для струйной печати с покрытием являются кремнеземы. Структурированные кремнеземы являются синтетическими продуктами. Кремнеземы обычно создают приемлемый баланс пригодности для печати струйным способом и атрибутов высыхания краски. Однако практикуемое до настоящего времени применение кремнеземов для этой цели имеет недостатки. Кремнеземы относительно дороги в производстве. В дополнение к относительно высокой себестоимости кремнеземов приходится иметь дело с пылеобразованием в результате дроблении кремнеземов в процессе нанесения покрытия. Кроме того, кремнеземы обладают большой удельной поверхностью, из-за чего содержащие их покрытия имеют тенденцию очень быстро загущаться при небольших повышениях содержания кремнезема. По этой причине в применяемых на бумаге для струйной печати покрытиях с использованием кремнеземов содержание твердого кремнеземного материала обычно подбирается относительно низким, в то время как для достижения достаточно высокой силы связывания требуются относительно большие количества связующего. Повышенная вязкость покрытий, возникающая при низких уровнях пигмента, обусловленная применением в качестве поглотительного пигмента в покрытиях бумаги кремнеземов, затрудняет регулирование массы покрытия при таких низких уровнях твердого материала. Высокая удельная поверхность кремнезема является полезной, поскольку это создает открытую структуру в непрерывной фазе связующего. Эта открытая структура обеспечивает быстрое поглощение краски, что приводит к высокой способности краски к высыханию на струйном принтере.
В патенте США №4478910 описывается бумага для регистрации струйным методом, включающая базовый лист с определенной степенью проклейки, имеющий слой покрытия, включающий мелкие частицы кремнезема и водорастворимое полимерное связующее.
В патентах США №№6140406 и 6129785 описывается композиция покрытия для регистрирующей среды для струйной печати, включающая водную суспензию поглотительного кремнеземного пигмента, связующего на основе поливинилового спирта и катионного фиксирующего агента. Пигментом преимущественно является смесь 75% или более силикагеля, имеющего объем пор 0,5-2,0 см3/г, и 10% или более окиси алюминия или трехводной окиси алюминия.
В патенте США №5985424 описывается бумага с покрытием для струйной печати, в которой имеется базовый слой покрытия с хорошей поглотительной способностью в отношении носителя краски, а верхний слой является впитывающим покрытием. В одном из предпочтительных воплощений базовый слой содержит смесь осажденного карбоната кальция и обожженной глины, диспергированную в стандартном связующем для покрытия, в то время как верхний слой содержит пылеобразный или пирогенный оксид кремния, диспергированный в эмульсии, приготовленной из стирола, полимеризованного в присутствии поливинилпирролидона (нестандартное связующее).
Наряду с оксидом кремния для композиций покрытий для бумаги предлагались и другие типы пигментов. Например, традиционные порошки карбоната кальция, используемые в качестве пигмента покрытия для бумаги, не дают функционального улучшения печатных характеристик бумаг с покрытием для струйной печати. Вследствие этого традиционный карбонат кальция можно с успехом добавлять к покрытиям для бумаги для придания им оптических эффектов, например для усиления белизны и гладкости, но он отрицательно влияет на печатные свойства и способность краски к высыханию.
В патенте США №6441076 описывается получение композиции для покрытия пригодной для бумаги для струйной печати, где композиция содержит большое количество карбоната кальция со сверхтонким размером частиц (в расчете сухой вес) и растворенный частично гидролизованный низкомолекулярный поливиниловый спирт с малым размером частиц. В этом случае удельная поверхность карбоната кальция очень высока в целях имитации рабочих характеристик обладающего высокой удельной поверхностью кремнезема. И все же воспроизведение цвета и высыхание краски не достигают того уровня, которым обладает лист с покрытием на основе кремнезема.
В патенте США №5397619 описывается бумага для струйной регистрации, состоящая из бумаги-основы и регистрирующего слоя на по крайней мере одной поверхности, содержащего, по меньшей мере, 40 мас.% пигмента и не более 60 мас.% связующего, у которой (бумаги) шероховатость поверхности десятиточечной высоты на регистрирующем поверхностном слое составляет не более 5 мк и воздухопроницаемость составляет не более 1000 секунд. Пигментом может быть кремнезем, сажа или получаемый влажным способом силикагель, получаемый сухим способом сверхтонкий кремнезем или комплекс карбоната кальция с оксидом кремния, имеющий структуру частиц, состоящих по существу из оксида кремния, выкристаллизовавшегося в кристаллах карбоната кальция.
В патенте США №6274226 описываются мезопористые алюмосиликатные пигменты, приготовленные с использованием в качестве связующего поливинилового спирта и предназначенные для применения в покрытиях для бумаги для струйной печати и в безуглеродных покрытиях для бумаги.
В патенте США №5997625 описывается пигмент для покрытия для струйной печати, содержащий водную глину, подвергнутую выщелачиванию щелочью прокаленную глину и пористый минерал.
В патенте США №5882396 описывается композиция покрытия для бумаги, предназначенная для изготовления бумаги с покрытием для струйной печати, которая включает композиционный пигмент, выбираемый из одного или более: каолина, прокаленного каолина, доломита, молотого природного карбоната кальция, осажденного карбоната кальция, сульфата кальция и талька, преимущественно содержащего от 1 до 50 мас.% крупного пимента и от 99 до 50 мас.% тонкодисперсного пигмента с определенными рекомендованными распределениями размера частиц, и гидрофильный полимерный клей.
В патенте США №4554181 описывается лист для регистрации струи краски, имеющий двухкомпонентную катионную регистрирующую поверхность, состоящую из подложки, имеющей регистрирующую поверхность, содержащую катионный полимер, который используется в комбинации с водорастворимой солью поливалентного металла, в которой полимер обеспечивает поверхность с катионными группами для ионного взаимодействия с анионным красителем и придания ему нерастворимости. В том случае, когда композиции покрытия содержат пигменты, в патенте ‘181 не придается какого-либо значения порядку смешения компонента этого типа с другими ингредиентами и указывается, что используемый для получения композиций покрытия процесс смешения производится в одной емкости. Кроме того, в патенте ‘181 описывается применение в композициях покрытия связующих только неанионного типа.
Бóльшая часть катионных полимеров в их жидкой форме являются слегка окрашенными в цвета от бледно-оранжевого до глубокого оранжево-красного. Окраски, приобретаемые от катионно-полимерных ингредиентов, используемых в композициях покрытий бумаги, могут повлиять на белизну и оттенок конечного листа с покрытием. Кроме того, применение специфических катионных пигментов приводит к различной химической активности по отношению к цветным компонентам струи краски, что обеспечивает хорошую кроющую способность, но может изменить цветовую гамму печатаемого рисунка. Было бы желательно создать композиции покрытий с пониженными уровнями катионных полимеров и которые бы при этом отвечали техническим требованиям.
Существует потребность в альтернативных, более дешевых по сравнению с синтетическими кремнеземами пигментах, предназначенных для покрытий бумаги, в частности бумаги для струйной печати, которые обеспечивали бы покрытию желаемую реологию при высоком содержании твердого материала и равномерных печатных характеристиках, включая сюда (но не ограничиваясь этим) воспроизведение цвета, плотность печати и высыхание краски. Было бы также желательно, если бы пигменты покрытия сохраняли свою функцию со стандартными связующими покрытия бумаги и могли применяться на современной сверхскоростной бумагоделательной машине.
Раскрытие изобретения
Настоящее изобретение относится к пигменту, пригодному для применения в композициях покрытий регистрирующей среды для краски, включающих неорганический сыпучий материал с обработанной поверхностью, получаемый при контактировании поверхностей неорганического сыпучего материала с водорастворимой солью поливалентного металла в водной среде, где обработанные поверхности обладают катионным поверхностным зарядом, а соль представляет собой соль металла группы II или группы III Периодической таблицы.
Бумаги, покрытые содержащими пигменты материалами, обеспечивают быстрое поглощение носителя краски, фиксацию красителя на поверхности и хорошие поверхностные свойства, обусловленные малым расходом связующего для покрытия. Регистрирующие среды для струйной печати, обработанные композициями покрытий, содержащими упомянутый выше пигмент, обеспечивают высокоплотные, быстросохнущие и нерасплывающиеся изображения с повышенной водостойкостью. Пигменты настоящего изобретения являются эффективными функциональными заменителями относительно более дорогих кремнеземных пигментов и могут применяться при высоком содержании твердого материала на стандартной бумагоделательной машине.
В одном из воплощений композиции покрытия настоящего изобретения могут содержать от примерно 45 до примерно 70 мас.% более конкретно от примерно 50 до примерно 65 мас.% поверхностно обработанного пигмента и оставаться при этом пригодными для обработки и иметь хорошие рабочие характеристики.
В одном из воплощений настоящего изобретения композиции покрытия получают способом, в котором до того, как пигмент будет введен в контакт с катионным полимером, неорганические пигменты предварительно отдельно обрабатывают солью поливалентного металла группы II или группы III Периодической таблицы, в результате чего водорастворимая соль поливалентного металла контактирует с поверхностями неорганического сыпучего материала, образуя поверхностно обработанный сыпучий материал, имеющий на поверхностях катионный поверхностный заряд, после чего при последующей обработке поверхностно обработанный пигмент соединяется с катионным полимером в композиции для покрытия. Этот способ был разработан с той целью, чтобы сделать возможным создание в композициях покрытия содержания твердого материала до 60 мас.% или выше, не испытывая при этом проблем с гелеобразованием. Катионный полимер преимущественно содержит четвертичное аминовое соединение, более предпочтительно эпихлоргидрин-полиаминовое соединение.
Выражение «гелеобразование» для целей настоящей заявки означает высокую степень коагуляции, которую претерпевает пигмент, в результате которой становится невозможным продолжать операцию перемешивания из-за быстрого нарастания высокой вязкости.
В другом воплощении пигменты отдельно смешивают с катионным полимером, содержащим четвертичное аминовое соединение, с последующим введением в контакт с минералом и обработкой поверхности солью металла группы II или группы III Периодической таблицы, которое (воплощение) было разработано для того, чтобы сделать возможным создание в композициях покрытия содержания уровней твердого материала до 45 мас.% или выше, не испытывая при этом проблем с гелеобразованием.
Если не соблюдать эти последовательности смешивания с минералом согласно воплощениям настоящего изобретения, то, было замечено, что композиции покрытия с по меньшей мере 45 мас.% твердого материала, получаемые с использованием катионных полимеров и пигментов, не могут быть получены. Наряду с этим настоящее изобретение позволяет понизить количество катионного полимера, которое бы потребовалось для композиций покрытий в других случаях.
При использовании составов покрытий согласно изобретению достигается также большая однородность внешнего вида покрытия. Кроме того, настоящее изобретение позволяет использовать меньшие содержания связующего и использовать в покрытиях для струйной печати стандартные типы связующих.
Уменьшение удельной поверхности используемого в настоящем изобретении пигмента приводит к упрощению приготовления и снижению себестоимости состава. Малая удельная поверхность пигмента настоящего изобретения улучшает способность краски к высыханию по всей структуре покрытия. В одном из воплощений необходимое взаимодействие краски регистрирующей среды для струйной печати достигается при использовании пигмента для покрытия в соответствии с одним из воплощений настоящего изобретения, в котором пигмент получают из неорганического сыпучего материала с относительно малой удельной поверхностью, такого, например, как осажденный карбонат кальция (РСС) или молотый карбонат кальция (GCC), имеющих удельную поверхность менее примерно 15 м2/г. Эта способность является неожиданной, если учесть существующую в области покрытий для бумаги для струйной печати тенденцию к использованию в покрытиях для бумаги карбонатов кальция с высокой удельной поверхностью (а именно более 30 м2/г). Для целей настоящей заявки «удельная поверхность» измеряется методом BET.
При этом, когда поверхность РСС или GCC, который является щелочным материалом, обрабатывается сильнокислыми реагентами типа солей поливалентных металлов согласно изобретению, такими как хлоргидрат алюминия (АСН) (рН 4-5), неожиданным образом оказалось, что в процессе операции обработки поверхности АСН не растворяет частицы карбоната кальция. Кроме того, высокий катионный заряд, создаваемый на поверхностях частиц при обработке с помощью АСН, сохраняется даже при высоких щелочных значениях рН после поверхностной обработки, не вызывая чрезмерного повышения содержания Са2+, что указывает на растворение частиц. Бумага, покрытая таким пигментом, ведет себя так, как если бы ее поверхность была катионной по своей природе. Благодаря этому на бумаге с таким покрытием могут печататься высокоплотные изображения, особенно при использовании краски для струйной печати, имеющей анионную природу. При этом использование АСН обеспечивает равномерное поглощение всех красителей краски, делая возможным более естественное воспроизведение цвета.
Таким образом, катионно-заряженные пигменты настоящего изобретения неожиданным образом могут быть использованы с анионным связующим в композициях покрытий для бумаги, не создавая высокой вязкости. Вследствие этого пигменты могут применяться со стандартными анионными латексами, такими как латексы на основе стирол-бутадиенового каучукового связующего, поливинилацетатного связующего и т.д. Поливинилацетатные и другие латексы привлекательны также благодаря их себестоимости и с точки зрения удобства использования. Результатом этого является возможность повышения содержания твердого материала в композициях покрытий для бумаги до 45 мас.% или выше при одновременном снижении содержания связующего, что облегчает применение композиций для покрытия на современных бумагоделательных машинах.
Пигмент с низкой удельной поверхностью и низкое содержание связующего в композициях покрытий для бумаги обеспечивают повышенную укрывистость, которая проявляется в виде высокой белизны покрытия, что рассматривается как следствие полупрозрачности покрытия, создающейся поверх печатной подложки. При этом пигменты не придают покрытию нежелательных цветовых оттенков, имеют слабый запах и малую вязкость течения в форме водной суспензии.
Пигменты настоящего изобретения могут быть использованы для усиления печатных характеристик широкого ряда печатных подложек, таких как листы и рулоны бумаги с покрытием и без покрытия, бумага из пластмассового волокна, пластиковые пленки, металлическая фольга, мелованный картон, немелованный картон и т.п. Покрытия бумаги для струйной печати, в частности для матовой бумаги, могут быть с успехом приготовлены с использованием некремнеземных пигментов согласно настоящему изобретению. Пигменты настоящего изобретения могут быть также пригодными для композиций для покрытия для высокоглянцевых бумаг. Названные выше выгоды и преимущества в равной степени действительны и для композиции для покрытия менее дорогой бумаги для струйной печати.
Настоящее изобретение относится также к составу покрытий, так как состав покрытий совершенно уникален в отношении применения связующих на основе анионных латексов, а также низких уровней этих связующих в покрытии для струйной печати.
Краткое описание чертежей
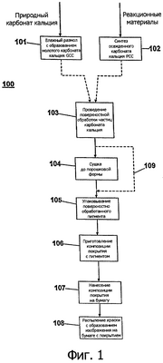
Фиг.1 представляет блок-схему технологической схемы производства и применения пигмента и покрытия для бумаги согласно одному из воплощений изобретения.
Фиг.2 представляет блок-схему технологической схемы производства покрытия для бумаги согласно одному из конкретных воплощений изобретения.
Фиг.3 представляет блок-схему технологической схемы производства покрытия для бумаги согласно одному из альтернативных воплощений изобретения.
Фиг.4 является графиком, иллюстрирующим различные смеси из тонкодисперсной и структурированной глины и их влияние на плотности печатных красок и скорости высыхания краски, как это описывается в приведенном здесь примере.
Фиг.5 является графиком, представляющим распределение размера частиц сверхтонкого молотого карбоната кальция (UFGCC), как это описывается в приведенном здесь примере.
Осуществление изобретения
Согласно предшествующему раскрытию предметом настоящего изобретения является уникальный поверхностно обработанный пигмент, который может быть использован в композициях покрытий для бумаги. Поверхностно обработанный пигмент имеет катионный поверхностный заряд, эффективно притягивающий анионные красители краски и т.п. Наряду с прочими вещами бумаги, имеющие покрытия, содержащие описанные в настоящей заявке поверхностно обработанные пигменты, соответствуют коммерческим требованиям к высокому качеству, водостойкости и пригодности для высокоскоростной печати на бумаге или других подложках для печати, покрытых композициями на основе описанных в заявке поверхностно обработанных пигментов. Описанные в заявке поверхностно обработанные пигменты являются также обладающей низкой себестоимостью альтернативой кремнеземным пигментам, а содержащие их покрытия для бумаги нуждаются в меньшем количестве связующего и обладают улучшенной реологией. Наряду с этим настоящее изобретение включает способы приготовления композиций покрытий, включающих поверхностно обработанные пигменты и катионные полимеры, что позволяет повысить содержание твердого материала. Изобретение как таковое обеспечивает более низкую себестоимость, высокое содержание твердого материала, а также высокоэффективную бумагу с покрытием для струйной печати и другие пригодные для цифровой печати подложки.
На фиг.1 представлена в качестве иллюстрации не ограничивающая изобретения схема процесса 100 для получения поверхностно обработанного пигмента, имеющего значительный катионный поверхностный заряд, и применения этого пигмента в других промежуточных и конечных продуктах.
Неорганический сыпучий исходный материал является отбеливающим агентом в твердой порошковой форме. В одном из предпочтительных воплощений неорганический сыпучий материал состоит из частиц карбоната кальция (СаСО3). Сыпучий карбонат кальция поставляется либо в виде механически обработанного природного кальцийкарбонатного материала, либо в виде химически синтезированного продукта реакции.
Частицы карбоната кальция могут быть молотым природным карбонатом кальция (GCC), как указано для стадии 101. Исходными природными материалами для карбоната кальция являются мрамор, известняк, мел и коралл. Эти природные источники карбоната кальция подвергаются механическим обработкам, включающим размельчение до образования сыпучей формы материала, такой как сверхтонкий молотый карбонат кальция (UFGCC). Обычно производится недиспергирующий размол или же, альтернативным образом, при размоле может быть применен летучий диспергент.
Альтернативным образом, частицы карбоната кальция могут поставляться в виде синтетического продукта реакции в форме осажденного карбоната кальция (РСС), как указано для стадии 102. С использованием процессов осаждения может быть химически получено большое разнообразие размеров и форм частиц карбоната кальция. Осажденные кальцийкарбонатные продукты имеют более равномерное распределение частиц по размерам и более высокую степень химической чистоты по сравнению с имеющимися в продаже GCC. Однако GCC могут быть менее дорогостоящими.
Карбонат кальция обычно осаждается либо в виде кальцита, кристаллы которого, как правило, имеют ромбическую, кубическую или скаленоэдрическую форму, либо в виде арагонита, имеющего игольчатую форму. Еще одной осажденной формой карбоната кальция является ватерит, который, как известно в технике, является метастабильным.
Осажденный карбонат кальция обычно производят в реакторе путем карбонизации суспензии гашеной извести, или «известкового молока», которую получают гашением негашеной извести (СаО) с последующим обезвоживанием/отфильтровыванием продукта реакции до желаемых размера частиц и распределения. Пригодные для осаждения карбоната кальция методы общеизвестны и применимы для данного случая. Хотя обычно этого не требуется для настоящей заявки, неочищенные частицы синтезированного карбоната кальция могут быть также рассеяны или размолоты до желаемых пределов распределения частиц по размерам с использованием для этого способов, описанных, например, в патентах США №№6143065 и 6402824 (Freeman et al.), причем эти описания включены в настоящую заявку в качестве ссылочного материала.
Необработанные частицы карбоната кальция могут быть затем поданы на блок поверхностной обработки стадии 103 в виде первичной водной суспензии. Альтернативным образом, необработанный карбонат кальция может быть подан на поверхностную обработку в форме сухого порошка, который диспергируют в водной среде с образованием суспензии на начальной операции обработки поверхности.
Необработанные частицы карбоната кальция, подаваемые на обработку поверхности, обычно имеют размер частиц от примерно 0,1 мк до примерно 5,0 мк, в более конкретном случае от примерно 0,5 мк до примерно 2,0 мк. Распределение частиц по размерам, которое определяется наклоном (фактором крутизны), преимущественно меньше приблизительно 1,8. Выражение «наклон» подразумевает частное от деления значения диаметра, по отношению к которому меньший диаметр имеют 75% частиц (числитель), на значение диаметра, по отношению к которому меньший диаметр имеют 25% частиц (знаменатель), где размеры частиц измеряют с помощью анализатора размера частиц (Sedigraph). Осажденный карбонат кальция (РСС) или молотый карбонат кальция (GCC) обычно имеет удельную поверхность менее чем приблизительно 15 м2/г. Белизна в соответствии с TAPPI (Technical Association of Pulp and Paper Industry, США) частиц карбоната кальция обычно имеет значение не менее чем приблизительно 96 как до, так и после описываемой здесь поверхностной обработки.
Неорганический белый пигментный материал, который может быть поверхностно обработан согласно настоящему изобретению, не ограничивается карбонатом кальция. Этим материалом могут, например, также быть порошки тригидрата алюминия (АТН) и/или гидроксида магния (Mg(OH)2) и т.п. Однако карбонат кальция особенно предпочтителен, поскольку он не только пригоден для описываемой в заявке поверхностной обработки, применяемой для придания частицам катионного поверхностного заряда, но карбонат кальция усиливает также непрозрачность, белизну, а также стойкость к пожелтению и старению содержащей его бумаги с покрытием.
Частицы карбоната кальция, прошедшие стадию 101 или 102, поступают затем на стадию поверхностной обработки, которая придает или увеличивает катионный заряд на поверхностях частиц карбоната кальция до эффективного для применения в печати уровня, как это указано для стадии 103.
Кальцийкарбонатный пигмент подвергается поверхностной обработке водорастворимой солью поливалентного металла группы II или группы III Периодической таблицы, диспергированной в обычной водной среде.
В одном из предпочтительных воплощений солью поливалентного металла является хлоргидрат алюминия. В настоящей заявке для хлоргидрата алюминия иногда используется аббревиатура «АСН».
АСН имеет химическую структуру Al2(ОН)nCl6-n. АСН может быть получен реакцией гидратированного оксида алюминия с хлористоводородной кислотой согласно следующему общему уравнению: 2Аl(ОН)3+nHCl Al2(OH)nCl6-n+nH2O, где 1 n<6. Относительная активность АСН-продукта обозначается в виде (%) = n/6×100. Предпочтительно используемый в целях изобретения продукт реакции является продуктом реакции, проводимой таким образом, чтобы получить продукт с активностью выше чем приблизительно 50% или даже 75%. Например, если n равно 5, химическая структура соответствует Al2(OH)5Cl (CAS Number 12042-91-0). АСН имеется также в продаже в форме порошка или раствора, например, от фирм Reheis, Berkeley, NJ 07922, США.
АСН добавляется на поверхность частиц карбоната кальция в количестве, достаточном для обеспечения усиления катионного поверхностного заряда, который коррелируется с наблюдаемым и измеряемым повышениями плотности печати или красковысыхающей способностью бумаг для струйной печати с композицией покрытия, содержащей поверхностно обработанный пигмент. Количество добавляемого АСН, необходимое для достижения таких улучшений, может быть определено эмпирически с применением предлагаемых в заявке указаний. Это количество, как правило, но не всегда, лежит в пределах от примерно 0,1 до примерно 5% в расчете на сухую массу карбоната кальция. Карбонат кальция перед его введением в композицию покрытия для бумаги преимущественно подвергается обработке, причем АСН может добавляться во влажной или сухой форме.
Увеличение катионного заряда, сообщаемого поверхностно обработанным пигментам путем АСН-обработки, может быть непосредственно измерено качественно и количественно с помощью титрующего анализатора типа детектора заряда частиц M tek PCD02. Оно может быть также продемонстрировано путем сопоставления качества печати: плотности печати, высыхания краски и т.п. бумаг, покрытых композициями покрытий, содержащих поверхностно обработанные пигменты, с качеством печати бумаги, для которой используется необработанный пигмент.
Наряду с этим, когда поверхность РСС или GCC, представляющего собой щелочной материал, обрабатывают сильнокислыми реагентами типа солей поливалентных металлов согласно изобретению, такими как хлоргидрат алюминия (АСН) (рН 4-5), АСН в процессе операции обработки поверхности совершенно неожиданным образом не растворяет частицы карбоната кальция. Кроме того, высокий катионный заряд, создающийся на поверхностях частиц при обработке с помощью АСН, сохраняется даже при высоких щелочных значениях рН после поверхностной обработки, не вызывая чрезмерного повышения содержания Ca2+, что указывает на растворение частиц. Бумага, покрытая таким пигментом, ведет себя так, как если бы ее поверхность была катионной по своей природе. Вследствие этого на бумаге с таким покрытием могут печататься высокоплотные водостойкие изображения, особенно при использовании краски для струйной печати, имеющей анионную природу, благодаря чему поверхности пигмента и краска имеют противоположный и, таким образом, взаимно притягивающийся ионный заряд. Полезное и не приводящее к нарушениям взаимодействие, создаваемое и наблюдаемое между поверхностью частиц карбоната кальция и сильно кислым АСН, используемым для обработки этих частиц согласно настоящему изобретению, оказалось неожиданным.
Полученный на стадии 103 поверхностно обработанный кальцийкарбонатный продукт находится в форме суспензии. Он представляет собой водную дисперсию поверхностно обработанных частиц карбоната кальция, получаемых при приблизительно 30% твердого.
Суспензионный продукт стадии 103, содержащий поверхностно обработанный сыпучий материал, может быть обезвожен с помощью способа сушки, подходящего для получения высушенной порошковой формы поверхностно обработанного неорганического сыпучего материала без уменьшения его эффективности. Высушенный порошок может быть использован при приготовлении композиций покрытий для бумаги, как это указано для стадии 104, в качестве ингредиента, являющегося источником пигмента. Пигменты могут быть высушены до порошковой формы с помощью способа распылительной сушки или сушки с мгновенным испарением. Оборудованием и условиями, подходящими для этой цели, могут быть оборудование и условия, широко известные и применяемые для суспензий минеральных сыпучих материалов.
Альтернативным образом, как указано для стадии 109, суспензия, образующаяся при обработке поверхности пигмента солью поливалентного металла в процессе его диспергирования в водной среде на стадии 103, может быть использована непосредственно как ингредиент – источник пигмента при приготовлении композиций покрытий для бумаги. Эта суспензия может содержать до примерно 60 или даже 70 мас.% твердого материала, состоящего из поверхностно обработанных пигментов, без возникновения проблем, связанных с высокой вязкостью.
Еще одной альтернативой является возможность смешения имеющегося в продаже сухого АСН с сухим порошком пигмента с использованием способа сухого смешения. Полученная сухая смесь может быть превращена в суспензию с образованием того же самого поверхностно-активного кальцийкарбонатного материала.
На стадии 105 полученная на стадии 104 высушенная порошковая форма пигмента упаковывается с помощью любого подходящего и удобного способа. Альтернативным образом, суспензия, содержащая поверхностно обработанный пигмент, которая поступает со стадии 103 (стадии 109) может быть запакована в непротекающий контейнер и отправлена в торговлю. В другом альтернативном воплощении стадия упаковки 105 может быть полностью устранена в тех случаях, когда поверхностно обработанный пигмент производится и применяется в композиции покрытия для бумаги на одном и том же или на расположенном поблизости производственном предприятии. В этой ситуации продукт может транспортироваться бестарным способом с использованием конвейера, грузовиков или железнодорожных вагонов (порошок) и т.п. или же с помощью трубопровода (суспензия) между разными производственными установками или участками.
На стадии 106 из поверхностно обработанного пигмента в сочетании со связующим и другими возможными добавками составляется композиция покрытия для бумаги.
В одном из предпочтительных воплощений настоящего изобретения, как показано на технологической схеме 200 фиг.2, композиции покрытия приготовляют способом, в котором неорганические пигменты предварительно отдельно обрабатывают солью поливалентного металла группы II или группы III Периодической таблицы с последующим введением пигмента в контакт с катионным полимером, в процессе чего водорастворимая соль поливалентного металла контактирует с поверхностями неорганического сыпучего материала с образованием поверхностно обработанного неорганического сыпучего материала, имеющего на поверхностях катионный поверхностный заряд аналогично тому процессу, который имеет место на стадии 103 фиг.1. После этого поверхностно обработанные пигменты смешивают с водой на стадии 201 с образованием суспензии и затем, на последующей стадии обработки 202, которая в основном может соответствовать стадии 103 фиг.1, суспензию поверхностно обработанных пигментов соединяют с катионным полимером, получая композицию покрытия или промежуточную композицию, которая может быть добавлена к композиции покрытия. Приготовленная таким образом композиция покрытия может быть использована в операции нанесения покрытия на бумагу, такой как стадия 107 на фиг.1. Этот способ был разработан для того, чтобы обеспечить возможность иметь содержание твердого материала в поверхностно обработанном пигменте в композициях покрытий до 60 мас.% или выше. Катионный полимер преимущественно состоит из четвертичного аминового соединения и, более предпочтительно, из эпихлоргидрин-полиамина. В одном из воплощений композиции покрытий настоящего изобретения могут содержать от примерно 50 до примерно 79 мас.% пигмента, поверхностно обработанного с помощью АСН, и при этом оставаться технологичными (например, они не образуют гель и имеют хорошие характеристики).
В практике настоящего изобретения в качестве четвертичного аминового соединения может быть также использован хлорид диаллилдиметиламмония (DADMAC). В число коммерческих примеров таких четвертичных аминовых соединений входят, например, TRAMFLOC 865 от Tramfloc, Inc., Tempe, Аризона, и Nalkat 7607 от Ondeo и PRP 2550.
В другом воплощении, проиллюстрированном на фиг.3, используется технологическая схема 300, в которой на стадии 301 приготовляют смесь воды и катионного полимера, включающего четвертичное аминовое соединение, которую (смесь) соединяют на стадии 302 с пигментами, которые еще не были поверхностно обработаны с помощью АСН, путем тщательного перемешивания для получения однородной смеси. После этого, на стадии 303, с целью поверхностной обработки полученную водную смесь или суспензию катионного полимера и пигментов вводят в контакт с солью поливалентного металла группы II или группы III Периодической таблицы. Этот альтернативный способ был разработан с той целью, чтобы обеспечить возможность иметь содержание твердого материала в композициях покрытий до 45 мас.% или выше. В одном из предпочтительных воплощений содержание по меньшей мере примерно 45 мас.% поверхностно обработанного пигмента является стабильным в композиции для покрытия, приготовленной с помощью этого альтернативного способа изобретения. Используемый в этом воплощении катионный полимер включает описанные выше четвертичные аминовые соединения.
При несоблюдении указанных порядков примешивания минерала согласно воплощениям настоящего изобретения оказалось, что композиции для покрытия с содержанием по меньшей мере 45 мас.% пигмента, приготовляемые с использованием катионных полимеров и пигментов, не могут быть получены.
Таким образом, настоящее изобретение может соединять в себе включение катионных полимеров, которые используются для снижения общей себестоимости приготовления покрытия, сохраняя преимущества, которые можно видеть при применении обработки ионами поливалентных металлов. Настоящее изобретение снижает потребность в катионных полимерах для образования покрытия и может даже исключить эту потребность.
В число других добавок могут входить обычно применяемые категории добавок для композиций покрытий, предназначенных для применения на бумаге для струйной печати, например сшивающие агенты для связующих, проклеивающий агент, диспергенты, модификаторы реологии, органические осветлители, крахмалы и т.д. В заявке приводятся иллюстрации некоторых из этих добавок.
Существенным является то, что катионные пигменты настоящего изобретения могут быть использованы в композициях покрытий для бумаги с анионным связующим без возникновения высокой вязкости. Благодаря этому пигменты могут использоваться с анионными латексами такого типа как латексы на основе стирол-бутадиенового каучукового связующего, поливинилацетатного связующего и т.п. Поливинилацетатный и другие анионные латексы к тому же привлекательны и с точки зрения себестоимости.
Поскольку при введении повышенных количеств поверхностно обработанного пигмента изобретения вязкость покрытия чрезмерно не повышается, содержание твердого материала пигмента в композициях бумажных покрытий может составлять до приблизительно 50 мас.% или даже выше, что позволяет применение этих композиций покрытий на современных бумагоделательных машинах. Повышение содержания твердого материала в суспензии становится возможным благодаря поверхностно обработанным пигментам, имеющим катионный заряд согласно настоящему изобретению.
В одном из своих аспектов композиция покрытий настоящего изобретения включает (в расчете на твердые вещества) АСН-обработанные пигменты в количестве от примерно 25 до примерно 70 мас.%, анионное связующее в количестве от примерно 2 до примерно 15 мас.% и катионный полимер в количестве от примерно 0 до примерно 15% мас. Более конкретно, композиция покрытий настоящего изобретения включает (в расчете на твердые вещества) АСН-обработанные пигменты в количестве от примерно 45 до примерно 60 мас.%, анионное связующее в количестве от примерно 5 до примерно 12 мас.% и катионный полимер в количестве от примерно 5 до примерно 15 мас.%.
На стадии 107 подложку для печати покрывают по крайней мере с одной стороны и, как правило, с двух сторон композицией для покрытия, приготовляемой на стадии 106. Покрытие может наноситься на подложку для печати с помощью подходящего способа нанесения покрытий, включая традиционные способы нанесения покрытий на бумагу. Композиция для покрытия может наноситься при малой массе покрытия с помощью дозировочного пресса или другого подходящего средства для нанесения покрытий. В другом воплощении изобретения поверхностно обработанный пигмент может быть использован альтернативно или дополнительно в качестве наполнителя бумаги, вводимого в бумагу-основу.
На стадии 108 струйный принтер распыляет краску согласно изображению на бумаге с покрытием или на другой подложке для печати. Масса покрытия обычно находится в пределах от 2 г/м2 для одного конкретного уровня печати (при котором покрытие обычным образом наносится при малом содержании твердого материала) до более чем 10 г/м2 для уровней струи краски более высокого качества. Масса покрытия обычно не зависит от того, находится ли подложка, на которую производится печать, в листовой или рулонной форме.
Подложки для печати, на которых может быть применено настоящее изобретение, не имеют обязательных ограничений и включают бумагу с покрытием и стандартную бумагу без покрытия либо в виде отдельных листов, либо в виде рулонов; бумагу из пластмассового волокна (например, листы TYVEK); пластиковые пленки (например, виниловые пластиковые пленки); металлическую фольгу (например, алюминиевую фольгу); мелованный картон; немелованный картон и т.п. Бумага, получаемая из имеющихся в продаже синтетических масс и смесей синтетической массы с бумажной массой, как правило, является пригодной, в особенности бумага с равномерными абсорбционными характеристиками. Покрытия бумаги для струйной печати, в особенности в случае матовой бумаги, могут быть с успехом изготовлены с использованием описываемых в заявке некремнеземных поверхностно обработанных пигментов. Поверхностно обработанные пигменты настоящего изобретения могут быть также пригодными для композиций покрытий в случае высокоглянцевых бумаг в зависимости от технических условий печати.
Водные краски и красители для струйной печати, используемые для покрытий бумаги, содержащих поверхностно обработанные пигменты согласно настоящему изобретению, могут быть приготовлены обычным путем, с учетом того, что анионные краски являются предпочтительными и что краски могут включать добавки такого типа как поверхностно-активные агенты, солюбилизирующие агенты, смачиватели и т.д.
Бумаги, покрытые пропитками, содержащими пигменты, обеспечивают быстрое поглощение носителя краски и фиксацию красителя краски на поверхности. При этом достигаются высокоплотные, однородные, быстро высыхающие и не расплывающиеся красочные изображения с повышенной водостойкостью. Пигменты настоящего изобретения являются эффективными функциональными заменителями более дорогих кремнеземных пигментов при их использовании в покрытии с высоким содержанием твердого материала и низким содержанием связующего.
Наряду с этим пигменты настоящего изобретения фиксируют краски на основе красителей таким образом, что повышается стойкость к воде, которая в случае других вариантов покрытий для струйной печати контактировала бы с необработанным карбонатом кальция.
Низкая удельная поверхность пигмента и низкое содержание связующего в композициях покрытия бумаги имеет результатом повышенную укрывистость, что выражается в высокой белизне покрытия, которая вызвана непрозрачностью покрытия, создаваемой поверх подложки для печати.
Наряду с этим поверхностно обработанные пигменты не придают подложкам для печати нежелательных цветовых оттенков, имея при этом слабый залах и малую вязкость в форме водной суспензии. В порядке сравнения: когда многие минеральные пигменты обрабатывают промышленными катионными полимерами, такими как катионные полимеры четвертичного амина или эпихлоргидрина, их пригодность для струйной печати, цветовые плотности, водостойкость и эффективность покрытия действительно повышаются. Однако большая часть катионных полимеров несет разные количества активного компонента в пределах от 30 до 50% и их вязкости различны в зависимости от молекулярной массы использованного полимера, в результате чего при приготовлении композиции покрытия необходим строгий контроль. Кроме того, серьезным недостатком является то, что бóльшая часть катионных полимеров в своей жидкой форме слегка окрашены от бледно-оранжевого до глубокого оранжево-красного цвета. Приобретенные от таких катионных полимеров окраски могут повлиять на конечную белизну покрытого листа. И, кроме того, неравномерное поглощение краски органическими катионными полимерами может привести к проблемам с воспроизведением цветовой гаммы в покрытии. Настоящее изобретение позволяет понизить количество используемого катионного полимера или ослабить его нежелательное влияние.
Напротив, что касается изготовления яркой матовой бумаги с покрытием для струйной печати, хлоргидрат алюминия или подобные ему соли поливалентных металлов являются лучшими агентами для обработки поверхности кальцийкарбонатных пигментов, поскольку они, наряду с прочим, сохраняют бесцветность раствора при взаимодействии с поверхностями частиц карбоната кальция с образованием на них положительного заряда и взаимодействуют со всеми красителями краски таким образом, который позволяет точно воспроизводить желаемую цветовую гамму.
Настоящее изобретение как таковое предоставляет способ модифицирования частиц карбоната кальция, чтобы сделать их в высшей степени пригодными для применения в области струйной печати.
Следующие примеры приводятся с целью проиллюстрировать изобретение, но изобретение не следует рассматривать как ограниченное этими примерами. В приведенных примерах, если не оговорено особо, части даются в массовом выражении.
Экспериментальные тесты проводились при сопоставлении стандартных составов покрытий, используемых в бумаге для струйной печати, с составами покрытий изобретения, содержащими описанные в изобретении поверхностно обработанные пигменты.
Пример 1
В качестве контрольных испытаний были проведены начальные серии тестов на нескольких разных типах пигментов, которые не были подвергнуты поверхностной обработке солью поливалентного металла группы II или группы III.
Составы покрытий содержали 100 частей пигмента, указанного в таблице 1, вместе с 8 частями на сто (pph) стирол-бутадиенового латекса (т.е. на 100 частей пигмента). Покрытие наносили на бумагу-основу с помощью круглого проволочного стержня с соблюдением величины наносимой массы порядка 10 г/м2.
Были изготовлены образцы бумаги с матовой отделкой с использованием каждого из соответствующих пигментов, после чего на них производилась печать с использованием струйного принтера модели HP 820 Cse. Принтер был установлен на нормальную скорость печати.
В приведенной ниже таблице 1 показано наблюдаемое влияние соответствующих пигментов на плотность печати (цвета: желтый – Ж, пурпурный – П, голубой – Г, черный – Ч), высыхание краски, глянец печати и другие свойства.
| Таблица 1 |
| Пигмент |
Плотность печати |
Композиционная плотность краски (Ж+П+Г) |
Оценка напечатанного изображения |
| Ж |
П |
Г |
Ч |
Выворотка |
Размывание |
Расплывание |
Глянцевость |
Высыхание |
| HG90 |
0.59 |
0.92 |
1.06 |
2,26 |
2,57 |
Плохо |
Нет |
Нет |
Глянец |
Медл. |
| CG |
0.53 |
0.82 |
0.89 |
2,58 |
2,24 |
Плохо |
Да |
Нет |
Глянец |
Медл. |
| НС |
0.52 |
0.80 |
0.87 |
2,18 |
2,19 |
Плохо |
Да |
Нет |
Тускл. |
Медл. |
| CS40 |
0.51 |
0.83 |
0.91 |
2,19 |
2,25 |
Плохо |
Да |
Нет |
Полуглянец |
Медл. |
| CS80 |
0.45 |
0.79 |
0.86 |
2,18 |
2,10 |
Плохо |
Да |
Нет |
Тускл. |
Оч. медл. |
| Nyacol F |
0.49 |
0.84 |
0.93 |
1,95 |
2,26 |
Хор |
Нет |
Нет |
Матов. |
Хор. |
| 8044C |
0.46 |
0.78 |
0.90 |
1,32 |
2,14 |
Хор |
Нет |
Нет |
Тускл. |
Хор. |
Идентифицирование пигментов
HG90: Hydragloss® 90 представляет собой тонкозернистый, обладающий высоким блеском каолин для покрытий, продаваемый фирмой J.M.Huber Corporation.
CG90: Covergloss® представляет собой однородный по размеру частиц, высокоглянцевый, обладающий высоким блеском каолин для покрытий, продаваемый J.M.Huber Corporation.
НС: Hydrocarb 90 представляет собой тонкозернистый, предназначенный для покрытий молотый карбонат кальция (GCC), продаваемый OMYA, Inc.
CS40: Hubercarb® CS-40 тонкозернистый, предназначенный для покрытий осажденный карбонат кальция (РСС), производимый фирмой J.M.Huber Corporation.
CS80: Hubercarb® CS-80 представляет собой крупнозернистое покрытие РСС, производимое фирмой J.M.Huber Corporation.
Nyacol F: коллоидный силикат.
8044C: ультратонкий гидратированный каолин с размером частиц 99% <1 мк, производимый фирмой J.M.Huber Corporation.
Определение свойств
«Плотность печати» определяли с помощью денситометра для измерения в отраженном рентгеновском излучении.
«Композиционная плотность краски» определяли как сумму плотностей трех цветов (Ж+П+Г).
«Выворотка» определяли как изображение белого текста на окрашенном фоне.
«Размывание» определяли как точность воспроизведения линии при отсутствии искажений, обусловленных размазыванием краски.
«Расплывание» определяли как устойчивость черной линии на желтом фоне.
Расплывание является показателем скорости высыхания.
«Глянцевость» определяли с помощью измерителя глянца Хантера (Hunter Gloss meter), который измеряет зеркальное отражение поверхностей.
«Высыхание» определяли с помощью визуального наблюдения на твердой поверхности печати.
Результаты таблицы 1 показывают, что необработанные минеральные пигменты дают низкие плотности цветной печати. Тонкозернистые пигменты покрытия такие как НС90, Covergloss и CS40 проявили хороший эффект придания глянца листу и печати, но скорость высыхания краски для них была намного ниже, чем для других пигментов. Низкая скорость высыхания краски может стать причиной проблемы отмарывания, когда отпечатанные листы собираются в кипу в приемном лотке. Проблема отмарывания может стать более серьезной проблемой в том случае, когда печать множества копий производится с помощью более быстрого струйного принтера. По этой причине НС90, Covergloss и CS40 рассматривались как не подходящие для изготовления бумаги для струйной печати с матовым отделочным покрытием. Однако вместо этого они могут быть с успехом использованы для струйной печати, относящейся к категории глянцевой.
Таблица 1 показывает также, что необработанный GCC, обработанная с помощью Nyacol высушенная распылением глина (DP-8044) и обработанная с помощью Nyacol прокаленная глина – каждый из них дает матовое отделочное покрытие при удовлетворительной скорости высыхания краски. Необработанный молотый карбонат кальция был намного светлее глиняных пигментов.
Фиг.4 представляет график, который иллюстрирует обратную зависимость между плотностью цвета струйной печати и скоростью высыхания краски с использованием разных смесей тонкодисперсных прокаленных глин.
Тонкодисперсный пигмент обеспечивает лучшую упаковку частиц и создает более высокую кроющую способность краски на поверхности покрытия. Компромиссное решение состоит в выигрыше в плотностях печати, но в более низкой скорости высыхания краски. Эта взаимозависимость указывает также на то, что оптимизация покрытия с целью достижения наилучшей плотности и скорости высыхания краски требует тщательного баланса структуры пор покрытия.
Пример 2
Следующая серия экспериментов была проведена с целью сравнения характеристик печати, достигаемых с использованием поверхностно обработанных пигментов типа UFGCC.
В таблице 2 перечислены четыре разных типа катионных материалов, которые были использованы для поверхностной обработки четырех разных соответствующих образцов сверхтонкого молотого карбоната кальция (UFGCC), для которого были измерены и показаны цветовые плотности струйной печати. Показанные здесь данные получены при поверхностной обработке с использованием 2 мас.% катионного агента в среде для поверхностной обработки, в которой были диспергированы частицы GCC. Для обработки одного из образцов UFGCC был использован АСН, в то время как три других образца были обработаны одним из нескольких типов поличетвертичных аминов, которыми были AGEFLOC B50LV, производимый фирмой Ciba Speciality chemical water treatment Ltd., 261LV, производимый Nalco, и CP-2.
Используемый UFGCC представлял собой промышленный продукт Hubercarb FG-1, производимый фирмой J.M.Huber Corporation. Этот материал получали путем распускания GCC в диссольвере 5 h.p. Cowless dissolver (Model W-14-2), Design Ine. Образец распускали в 15-дюймовой квадратной емкости, в которую была добавлена вода, после чего добавлялся UFGCC в количестве, достаточном до достижения 30% твердого материала. После этого смесь перемешивалась 20 мин при 3000 об/мин. Затем к смеси медленно прибавляли готовый 8%-ный АСН, продолжая перемешивание при пониженной скорости (примерно 1500 об/мин). Аналогичным образом к данному образцу добавляли поличетвертичные амины. Скорость перемешивания вновь поднимали до 3000 об/мин и перемешивали материал в течение дополнительных 60 мин, после чего его сушили распылением в распылительной сушилке Niro Sparay Dryer.
Приготовленные в лабораторных условиях образцы бумаги с матовым отделочным покрытием получали с использованием каждого из разных поверхностно обработанных с использованием способа, описанного в примере 1, UFGCC-пигментов, и затем производилась печать на струйном принтере HP model 829 Cse. Принтер был установлен на нормальную скорость печати.
| Таблица 2 |
| Катионно-обработанный UFGCC |
Плотность печати |
| Желтый |
Пурпурный |
Голубой |
Черный |
Композиционный (Ж+П+Г) |
| 2% CP-2/UFGCC |
0,93 |
1,28 |
1,37 |
1,62 |
3,57 |
| 2% 261LV/UFGCC |
0,92 |
1,33 |
1,40 |
1,58 |
3,64 |
| 2% ACH/UFGCC |
0,84 |
1,19 |
1,30 |
1,48 |
3,33 |
| 2% Agefloc B50LV/UFGCC |
0,85 |
1,24 |
1,34 |
1,52 |
3,43 |
При сопоставлении таблиц 1 и 2 можно отметить, что все катионно-обработанные пигменты обладают намного более высокими плотностями цветных красок по сравнению с необработанными пигментами. Катионный материал рассматривается как существенный ингредиент бумаг для струйной печати как с покрытием, так и без покрытия. В таблице 2 также показано, что UFGCC, обработанный АСН, дает несколько более низкие, но сопоставимые и эффективные плотности струйной печати, однако его преимущество в отношении себестоимости и эффективности заряда делают его более предпочтительным реагентом для обработки пигментов покрытия типа UFGCC.
Пример 3
В еще одной серии экспериментов было экспериментально изучено влияние дозировки АСН-катионного материала на плотности печатных цветов и скорость высыхания краски.
Цифровая печать производилась таким же образом, как это было описано в предыдущих примерах, а результаты цветной печати суммированы в приведенной ниже таблице 3.
| Таблица 3 |
| % АСН при обработке |
Плотности печатных цветов |
| Желтый |
Пурпурный |
Голубой |
Черный |
Композиционный цвета (Ж+П+Г) |
| 4 |
0,69 |
1,01 |
1,12 |
1,56 |
2,82 |
| 6 |
0,69 |
1,03 |
1,14 |
1,59 |
2,85 |
| 8 |
0,73 |
1,08 |
1,25 |
1,65 |
3,06 |
| 12 |
0,81 |
1,13 |
1,28 |
1,62 |
3,22 |
| 16 |
0,89 |
1,20 |
1,29 |
1,63 |
3,39 |
Как видно из результатов таблицы 3, когда количество АСН в пигменте повышается, плотности печатных цветов бумаги с покрытием пропорционально возрастают. Высокая плотность цвета является одним из ключевых параметров качества струйной печати наряду с разрешением печати, расплыванием краски, затеканием одного цвета на другой и скоростью высыхания краски. Для достижения наивысшего качества струйной печати в целом можно эмпирически оптимизировать дозировку АСН, а для снижения себестоимости АСН может смешиваться с другими полимерами.
Пример 4
С целью изучения получения различных композиций покрытий, включающих АСН – поверхностно обработанный пигмент UFGCC, проведена дополнительная серия экспериментов, после чего проводились тесты на качество печати путем сравнения разных из названных композиций для покрытия с имеющейся в продаже бумагой для струйной печати с матовым покрытием.
UFGCC был получен от Fairmont (Джорджия) в виде сухого недиспергированного сверхтонкого молотого карбоната кальция (UFGCC). Средний размер частиц этого пигмента был близок к 1,5 микрона. На фиг.5 показано распределение размера частиц UFGCC, измеренного на классификаторе частиц Malvem после описанной в этом примере обработки по поверхности с помощью АСН.
Операции получения такого обработанного продукта начинались с распускания суспензии в воде. Необработанный UFGCC смешивают с водой в смесительном чане при мягком перемешивании с помощью трапециевидной лопасти до достижения 30% пигментного твердого материала. Затем к перемешиваемой смеси осторожно добавляют хлоргидрат алюминия (активность 50%). Продолжают перемешивание, хотя добавление АСН к водной суспензии пигмента может вызвать небольшую начальную флокуляцию пигмента. Однако эти мягкие хлопья очень быстро разбиваются при перемешивании.
Были предприняты лабораторные попытки повысить содержание твердого материала в водной суспензии UFGCC, однако возникало гелеобразование, т.е. имела место более высокая степень коагуляции, и операция перемешивания не могла продолжаться из-за быстрого нарастания вязкости. Эта попытка объяснила также то, что суспензия АСН – обработанный пигмент UFGCC с высоким содержанием твердого материала не может быть получена простым добавлением АСН к водной суспензии необработанного UFGCC с высоким содержанием твердого материала. Альтернативным образом было установлено, что АСН может добавляться к жидкости, к которой был добавлен сухой пигмент. В еще одном альтернативном способе катионный полимер может быть использован вначале для диспергирования пигмента, вслед за чем может быть также добавлен АСН. Катионным полимером был эпихлоргидрин-полиамин. Могут быть также использованы полимеры DADMAC или другие четвертичные полиамины.
Суспензию обработанного пигмента UFGCC высушивали в распылительной сушилке до состояния сухого порошка. Суспензия может быть также высушена с помощью способа мгновенного испарения в подходящем оборудовании для сушки мгновенным испарением.
Цвет покрытия для струйной печати получали следующим образом.
Для создания цвета покрытия АСН – обработанный UFGCC может быть разведен до суспензии с 60% твердого материала. С целью формирования цвета покрытия для струйной печати к суспензии добавляют другие ингредиенты покрытия, такие как связующее, модификатор вязкости, флуоресцентный осветлитель и сшивающий агент. При проектировании цвета покрытия необходима дополнительная осторожность, поскольку положительно заряженный пигмент, такой как обработанный UFGCC, может нейтрализоваться отрицательно заряженными ингредиентами, такими как связующие, агент нерастворимости и оптический отбеливатель. На основании лабораторной проверки при смешении разбавленных растворов АСН с каждым из ингредиентов покрытия было установлено, что совместимыми являются крахмалы для покрытия, такие как PG290 и связующие на основе поливинилового спирта. Большая часть бутадиеновых латексов являются слегка несовместимыми, однако другие типы латексов, таких как винилацетатный и винилакрилатный, несовместимы. Сшивающий агент типа AZC не совместим с АСН, приводя к неблагоприятному осаждению покрытия. Несовместимые ингредиенты покрытия не должны использоваться в составе покрытия, поскольку в этом случае произойдет флокуляция с образованием пескообразных агрегатов. В некоторых случаях наблюдался быстрый скачок вязкости, делающий перемешивание невозможным. Чтобы избежать внезапного нарастания вязкости сразу же после добавления крахмала необходимо добавление стирол-бутадиеновых латексов.
Приведенные ниже композиции 1, 2 и 3 являются примерами разных составов покрытий, в которых использованы поверхностно обработанные пигменты настоящего изобретения, которые использовались для отделанных матовым покрытием бумаг для струйной печати.
| Композиция покрытия 1: состав матового покрытия для струйной печати |
| UFGCC, обработанный 8%-ным АСН |
100 частей |
| Катионный полимер (PRP2550) |
16,8 частей |
| АСН303 (50% твердого материала) |
13 частей |
| Сшивающий агент (Cartabond TSI) |
1-2 части |
| Димер алкилкетена (AKD) (Raisofob8105) |
1 часть |
| Стирол-бутадиеновый (SB) латекс (Dow 383NA) |
6 частей |
| Поливиниловый спирт (PVA) (Airvol 205) |
6 частей |
| |
всего 144 части |
| Примечание: 1 часть = 1 грамм используемого сухого материала. АСН303 является коммерческим продуктом Summit АСН-3. |
Пигментная суспензия и приведенные ниже ингредиенты имели следующее содержание твердого материала в соответствующих диспергированных формах, которые были использованы в композиции покрытия 1: пигментная суспензия 60%; катионный полимер твердого 50%; АСН303 твердого 50%; твердый материал Cartabond TSI твердого 45%; AKD (катионный проклеивающий агент) твердого 50%; стирол-бутадиеновый латекс твердого 50%; PVA твердого 20%.
| Композиция покрытия 2: состав матового покрытия для струйной печати |
| UFGCC, обработанный 8%-ным ACH |
100 частей |
| Катионный полимер (PRP2550) |
16,8 частей |
| АСН303 |
19,5 частей |
| Сшивающий агент (Cartabond TSI) |
1-2 части |
| AKD (Raisofob8105) |
1 часть |
| Поливинилацетат (Airflex7200) |
12 частей |
| PVA (Airvol 205) |
4 части |
| |
всего 155 частей |
| Примечание: 1 часть = 1 грамм используемого сухого материала. |
Пигментная суспензия и приведенные ниже ингредиенты имели следующее содержание твердого материала в соответствующих диспергированных формах, которые были использованы в композиции покрытия 2: пигментная суспензия 60%; катионный полимер твердого 50%; АСН303 твердого 50%; Cartabond TSI твердого 45%; AKD (катионный проклеивающий агент) твердого 50%; PVAc (Airflex 7200) твердого 72%; PVA твердого 20%.
| Композиция покрытия 3: состав матового покрытия для струйной печати |
| UFGCC, обработанный 8%-ным АСН |
100 частей |
| Катионный полимер (PRP2550) |
16,8 частей |
| АСН303 |
19,5 частей |
| Сшивающий агент (Cartabond TSI) |
1-2 части |
| AKD (Raisofob8105) |
1 часть |
| Поливинилацетат (Airflex7200) |
12 частей |
| |
всего 154 частей |
| Примечание: 1 часть = 1 грамм используемого сухого материала. |
Пигментная суспензия и приведенные ниже ингредиенты имели следующее содержание твердого материала в соответствующих диспергированных формах, которые были использованы в композиции покрытия 3: пигментная суспензия 60%; катионный полимер твердого 50%; АСН303 твердого 50%; Cartabond TSI твердого 45%; AKD твердого 50%; PVAc (Airflex 7200) твердого 72%; PVA твердого 20%.
При изготовлении отделанной матовым покрытием бумаги для струйной печати для нанесения покрытия и отделки должен быть использован очень светлый базовый лист с небольшой внутренней проклейкой. В зависимости от гладкости листа типичная рекомендуемая масса покрытия составляет от 16 до 20 г на 1 м2 для одной стороны. Для полного закрытия более гладкого базового листа требуется меньшее покрытие, в то время как для грубого листа требуется большее покрытие. Цвет этого покрытия может быть специально подобран для различных типов ножей, воздушных шаберов или валика установки для нанесения покрытия и т.п.
С целью усиления гладкости готового листа может быть использовано слабое каландрирование листа с покрытием, однако избыточное каландрирование настоятельно не рекомендуется, так как оно приведет к понижению скорости высыхания краски, результатом чего может быть стирание краски или размазывание цвета.
Тесты на печать для покрытых в лабораторных условиях образцов бумаги были проведены на цветном струйном принтере HP, модель 820 Cse, и принтере Epson stylus 1270. Способ печатания был установлен на нормальную скорость печати, нормальное качество печати и на фотобумагу. Покрытия (в случае их нанесения) наносили на бумагу-основу с помощью круглого проволочного стержня с соблюдением величины наносимой массы, равной приблизительно 10 г/м2.
В таблице 4 представлены результаты струйной печати для промышленно производимого листа для струйной печати фотографического качества с матовой отделкой (C1) с использованием кремнеземного пигмента, который был получен со склада коммерческой службы. В таблице 4 представлены также результаты для бумаги с покрытием 1 («1»), в которой был использован представляющий настоящее изобретение обработанный АСН пигмент для покрытия UFGCC. Используемая в бумаге с покрытием 1 бумага-основа представляла собой обычную бумагу для копирования (т.е. 24-дюймовую (605 мм) бумагу, производимую фирмой Weyerhaeuser Corporation), а используемой композицией покрытия была описанная выше композиция покрытия 1. Используемая операция обработки поверхности UFGCC и протокол нанесения покрытия были теми же, которые описаны в приведенном выше примере 3.
В приведенных ниже таблицах и примерах просто перечисленные сорта бумаги относятся к их образцам, на которые не было нанесено покрытие описанной в этих примерах композиции, в то время как перечисление композиций покрытий означает образцы, получаемые нанесением перечисленных композиций на стандартную бумагу для копирования (60-80 г/м2, которая не была подвергнута никакой поверхностной обработке перед нанесением на нее экспериментального покрытия).
Таблица 4 Сравнение характеристик образца с экспериментальным покрытием и промышленно производимой бумаги с покрытием для струйной печати |
| |
HP 820 Cse |
Epson stylus 1270 |
| Матовая бумага |
Голубой |
Пурпурный |
Желтый |
Черный |
Композиционный |
Голубой |
Пурпурный |
Желтый |
Черный |
Композиционный |
| Композиция покрытия 1 |
1,36 |
1,40 |
1,13 |
1,60 |
3,89 |
1,55 |
1,42 |
1,00 |
1,40 |
3,97 |
| C1 |
1,58 |
1,55 |
1,14 |
1,35 |
4,27 |
1,66 |
1,48 |
1,08 |
1,31 |
4,22 |
Результаты в таблице 4 показывают, что матовая бумага, покрытая композицией покрытия, содержащей UFGCC, поверхностно обработанной с помощью АСН, обладает хорошими характеристиками цветной печати, сопоставимыми с характеристиками промышленно производимой бумаги с покрытием, в которой используется относительно дорогой кремнеземный пигмент при низком содержании твердого материала.
На качество печати может сильно влиять конструкция струйного принтера. Принтеры различаются по типам краски, скорости принтера, алгоритму усиления формирования изображения и размеру капелек. Принтер Epson stylus 1270 является более быстрым цветным струйным принтером с печатной головкой, передвигающейся в обоих направлениях. Более высокая скорость предъявляет большие требования к высыханию краски.
Пример 5
В еще одной серии экспериментов повторялся протокол, описанный в примере 4, после чего цифровая печать производилась так же, как это описано в предыдущих примерах, за исключением того, что цветная печать в этом случае производилась на используемую в качестве промышленно производимой бумаги для струйной печати бумагу фотографического качества фирмы Epson, HP Bright white (светло-белая) и Epson Premium Bright white (светло-белая), а в качестве печатающих устройств использовались принтеры НР1220С Deskjet и Epson Stylus Photo 1270. С целью оценки влияния композиций покрытий на печатные качества бумаги отдельные образцы получали нанесением на стандартную бумагу Copy paper каждой из композиций 1, 2 и 3. Результаты цветной печати собраны в приведенной ниже таблице 5.
| Таблица 5 |
| |
HP1220C Deskjet |
Epson Stylus Photo 1270 |
| Черный |
Голубой |
Пурпурный |
Желтый |
Композиционный |
Черный |
Голубой |
Пурпурный |
Желтый |
Композиционный |
| Бумага для струйной печати Epson фотокачества |
1,56 |
1,34 |
1,59 |
1,13 |
4,06 |
1,56 |
1,34 |
1,59 |
1,13 |
4,06 |
| Композиция покрытия 1 |
1,58 |
1,27 |
1,43 |
1,10 |
3,80 |
1,58 |
1,27 |
1,43 |
1,10 |
3,80 |
| Композиция покрытия 2 |
1,67 |
1,21 |
1,45 |
1,13 |
3,79 |
1,67 |
1,21 |
1,45 |
1,13 |
3,79 |
| Композиция покрытия 3 |
1,67 |
1,25 |
1,36 |
1,06 |
3,67 |
1,67 |
1,25 |
1,36 |
1,06 |
3,67 |
| HP Bright White (светло-белая) |
1,56 |
1,09 |
1,27 |
0,98 |
3,34 |
1,56 |
1,09 |
1,27 |
0,98 |
3,34 |
| Epson Premium Bright White (светло-белая) |
1,54 |
1,19 |
1,28 |
1,00 |
3,47 |
1,54 |
1,15 |
1,27 |
1,01 |
3,43 |
Пример 6
В еще одной серии экспериментов повторялся протокол, описанный в примере 4, после чего цифровая печать производилась так же, как это описано в предыдущих примерах, за исключением того, что использовалось покрытие массой приблизительно 2 г/см2, цветная печать производилась на бумагах (в качестве бумаги-основы) HP Bright white Photo quality Inkjet paper (светло-белая для струйной печати фотокачества) и Epson Premium Bright White paper (светло-белая), а в качестве печатающих устройств использовались принтеры НР950С Deskjet и HP1220C Deskjet. Результаты цветной печати собраны в приведенной ниже таблице 6.
| Таблица 6 |
| Образец |
НР950С Deskjet |
HP1220C DeskJet |
| Черный |
Голубой |
Пурпурный |
Желтый |
Композиционный |
Черный |
Голубой |
Пурпурный |
Желтый |
Композиционный |
| HP Bright white |
1,51 |
1,17 |
1,19 |
0,88 |
3,24 |
1,60 |
1,10 |
1,11 |
0,83 |
3,04 |
| Epson Premium Bright |
1,29 |
1,28 |
1,27 |
0,92 |
3,47 |
1,52 |
1,25 |
1,23 |
0,85 |
3,33 |
| Copy Paper |
1,10 |
1,10 |
1,13 |
0,86 |
3,09 |
1,49 |
1,08 |
1,09 |
0,79 |
2,96 |
| Покрытие 5 |
1,53 |
1,26 |
1,27 |
0,91 |
3,44 |
1,54 |
1,22 |
1,22 |
0,89 |
3,33 |
| Покрытие 4 |
1,55 |
1,30 |
1,25 |
0,96 |
3,51 |
1,58 |
1,25 |
1,23 |
0,90 |
3,38 |
| Состав покрытия 4 (компонент/части) |
|
| UFGCC, обработанный 8%-ным АСН |
100 |
| TRAMFLOC F864 |
8 |
| Четвертичный амин Carbarond TSI |
|
| (50% твердого материала) |
3 |
| Airvol 203 (ПВА) |
7,2 |
| Состав покрытия 5 (компонент/части) |
|
| UFGCC, обработанный 17%-ным АСН |
100 |
| TRAMFLOC F864 |
6,8 |
| Четвертичный амин Carbarond TSI |
|
| (50% твердого материала) |
1,9 |
| Airvol 203 (ПВА) |
6,1 |
Пример 7
В еще одной серии экспериментов, с целью изучения влияния временного фактора при добавлении катионного полимера и обработки поверхности пигментов на вязкость и тиксотронные свойства пигментных композиций, были приготовлены три отдельные пигментные композиции в соответствии с различными схемами добавления. Для этого производились следующие различные операции. Операция 1 в целом соответствовала технологической схеме, приведенной на фиг.2, в которой пигмент (UFGCC) перед его соединением с катионным полимером (TRAMFLOC 864) поверхностно обрабатывали солью поливалентного металла (АСН). Операция 2 в целом соответствовала технологической схеме, приведенной на фиг.3, в которой необработанный пигмент смешивался с катионным полимером перед обработкой пигментов с помощью АСН. В сравнительной операции А АСН и катионный полимер одновременно добавлялись и перемешивались с суспензией пигмента. Скорость добавления катионного полимера к пигменту в этих операциях составляла 55 см3/мин/50 г пигмента. Для этих операций пигмент UFGCC поверхностно обрабатывался 8%-ным АСН так же, как описано в предыдущем примере 4. В эти композиции не включались никакие другие ингредиенты. В таблице 7 представлены результаты по вязкости, полученные при двух разных скоростях и значениях содержания твердого материала, при которых в приведенных выше различных композициях возможное гелеобразование не привело бы к слишком высокой вязкости.
| Таблица 7 |
| Опыт |
Вязкость по Брукфильду |
% твердого материала |
| |
20 об/мин |
100 об/мин |
|
| Композиция операции 1 |
2150 |
660 |
55,7 |
| Композиция операции 2 |
3878 |
1130 |
48,1 |
| Композиция операции А |
3550 |
940 |
38,7 |
Как проиллюстрировано приведенными выше примерами, способ получения используемого в качестве пигмента сверхтонкого молотого карбоната кальция, обработанного хлоргидратом алюминия, был экспериментально реализован успешным образом. Такой способ обработки UFGCC согласно настоящему изобретению является простым, поскольку для него требуется лишь простой высокомощный смеситель с функцией сушки материала перед его продажей. Такого рода применение специального материала GCC в сочетании с обработкой ионом поливалентного металла при использовании в покрытии высокого содержания твердого материала и низкого содержания связующего является чрезвычайно важным для получения покрытия с высоким содержанием твердого материала и улучшает основные печатные свойства, такие как плотности печатной краски, разрешение печати и водостойкость. Было показано, что обработанный хлоргидратом алюминия UFGCC является эффективным пигментом для покрытия, способным заменить кремнеземный пигмент. Он сводит также к минимуму проблему пылеобразования, возникающую при применении кремнезема, и позволяет избежать сложного процесса приготовления покрытия. Обработанный с помощью АСН UFGCC повышает также содержание твердого материала в конечном цвете покрытия до 45 мас.% или выше и даже до 50 мас.% или выше. Таким образом, он обеспечивает также осуществимость других способов нанесения покрытий с использованием устройства с ракельным ножом для нанесения покрытий, струйного устройства для нанесения покрытий и им подобных, позволяющих производить бумагу матового и других типов.
Следует иметь в виду, что, не отступая от принципов изобретения и не выходя за его пределы, определенные в приведенной ниже формуле изобретения, специалисты могут производить различные изменения в деталях, материалах и компоновке частей, которые были описаны и проиллюстрированы в заявке с целью объяснения сущности изобретения.
Формула изобретения
1. Пигмент, пригодный для использования в композициях покрытий регистрирующей среды для краски, включающий пигментный сыпучий материал, имеющий обработанную поверхность, получаемую в результате контакта, осуществляемого между поверхностью пигментного сыпучего материала и водорастворимой солью поливалентного металла в водной среде, в результате чего обработанная поверхность приобретает катионный поверхностный заряд, при этом соль представляет собой соль металла группы II или группы III Периодической таблицы и пигментный сыпучий материал выбирают из группы, состоящей из карбоната кальция, тригидрата алюминия и гидроксида магния, применяемых по отдельности или в сочетании.
2. Пигмент по п.1, в котором пигментный сыпучий материал представляет собой молотый карбонат кальция (GCC).
3. Пигмент по п.1, в котором пигментный сыпучий материал состоит из осажденного карбоната кальция (РСС).
4. Пигмент по п.1, в котором пигментный сыпучий материал состоит из частиц карбоната кальция, имеющих удельную поверхность менее 15 м2/г.
5. Пигмент по п.1, в котором водорастворимая соль поливалентного металла представляет собой хлоргидрат алюминия.
6. Пигмент по п.1, в котором поверхностно обработанный пигментный сыпучий материал находится в форме высушенного порошка.
7. Способ приготовления пигментной композиции для регистрирующей среды для краски, включающий
i) смешение пигментного сыпучего материала и водорастворимой соли поливалентного металла, обеспечивающее контактирование водорастворимой соли поливалентного металла с поверхностью пигментного сыпучего материала с образованием поверхностно обработанного пигментного сыпучего материала, имеющего на поверхности катионный поверхностный заряд, где соль представляет собой соль металла группы II или группы III Периодической таблицы;
ii) смешение в водной композиции поверхностно обработанного пигментного сыпучего материала с катионным полимером, включающим четвертичное аминовое соединение.
8. Способ по п.7, в котором смешение представляет собой перемешивание водной суспензии пигментного сыпучего материала с водорастворимой солью поливалентного металла.
9. Способ по п.7, в котором смешение представляет собой сухое смешение пигментного сыпучего материала с частицами, содержащими водорастворимую соль поливалентного металла.
10. Способ приготовления пигментной композиции для регистрирующей среды для краски, включающий
а) подготовку первой суспензии, содержащей пигментный сыпучий материал, диспергированный в водной среде;
b) добавку водорастворимой соли поливалентного металла к первой суспензии при осуществлении перемешивания в количествах и способом, обеспечивающими получение второй суспензии, в которой водорастворимая соль поливалентного металла контактирует с поверхностью неорганического сыпучего материала с образованием поверхностно обработанного пигментного сыпучего материала, имеющего на поверхности катионным поверхностным зарядом, где соль представляет собой соль металла группы II или группы III Периодической таблицы;
c) смешение второй суспензии, содержащей поверхностно обработанный пигментный сыпучий материал и катионный полимер, представляющий собой четвертичное аминовое соединение, в водной среде с образованием пигментной композиции.
11. Способ по п.10, в котором пигментные композиции содержат от примерно 45 до примерно 70 мас.% поверхностно обработанного неорганического сыпучего материала.
12. Способ по п.10, в котором катионный полимер представляет собой эпихлоргидрин-полиамин.
13. Способ по п.10, в котором неорганический сыпучий материал добавляют к первой суспензии в количестве от примерно 1 до примерно 30 мас.%.
14. Способ по п.10, в котором неорганический сыпучий материал добавляют к первой суспензии в количестве от примерно 20 до примерно 30 мас.%.
15. Способ по п.10, в котором соль поливалентного металла добавляют к второй суспензии в количестве от примерно 1 до примерно 30 мас.%.
16. Способ по п.10, в котором соль поливалентного металла добавляют к второй суспензии в количестве от примерно 3 до примерно 20 мас.%.
17. Способ по п.10, дополнительно включающий высушивание второй суспензии в такой степени, чтобы получить порошок, состоящий из поверхностно обработанного пигментного сыпучего материала.
18. Способ по п.10, в котором пигментный сыпучий материал, содержащийся в первой суспензии, выбирают из группы, состоящей из молотого природного карбоната кальция, осажденного карбоната кальция, тригидрата алюминия, каолина и гидроксида магния, применяемых по отдельности или в сочетании.
19. Способ по п.10, в котором неорганический сыпучий материал, содержащийся в первой суспензии, состоит из карбоната кальция, а соль поливалентного металла представляет собой хлоргидрат алюминия.
20. Способ по п.10, в котором пигментный сыпучий материал состоит из частиц карбоната кальция, имеющих площадь поверхности менее 15 м2/г.
21. Способ приготовления пигментной композиции для регистрирующей среды для краски, включающий
1) смешение пигментного сыпучего материала с катионным полимером, включающим четвертичное аминовое соединение, с образованием первой суспензии;
2) соединение первой суспензии с водорастворимой солью поливалентного металла при осуществлении перемешивания, обеспечивающего образование второй суспензии, в которой водорастворимая соль поливалентного металла контактирует с поверхностью пигментного сыпучего материала с образованием поверхностно обработанного пигментного сыпучего материала, имеющего на поверхности катионный поверхностный заряд, где вторая суспензия содержит соль, представляющую собой соль металла группы II или группы III Периодической таблицы, и где вторая суспензия содержит, по меньшей мере, приблизительно 45 мас.% упомянутого поверхностно обработанного пигментного сыпучего материала.
22. Водная композиция покрытия для регистрирующей среды для струйной печати, включающая водную суспензию пигментного сыпучего материала и связующее, в которой пигментный сыпучий материал имеет обработанную поверхность, полученную в результате контакта, осуществляемого между поверхностью пигментного сыпучего материала и водорастворимой солью поливалентного металла в водной среде перед введением пигментного сыпучего материала в суспензию, где обработанная поверхность имеет катионный поверхностный заряд, соль представляет собой соль металла группы II или группы III Периодической таблицы, а связующее является материалом, выбираемым из анионного связующего и неионогенного связующего.
23. Композиция покрытия по п.22, в которой пигментный сыпучий материал состоит из карбоната кальция, соль поливалентного металла представляет собой хлоргидрат алюминия, а связующее выбирают из стирол-бутадиенового каучука, крахмала, поливинилацетата, акрилового полимера и поливинилового спирта, используемых по отдельности или в сочетании.
24. Композиция покрытия по п.22, в которой пигментный сыпучий материал состоит из частиц карбоната кальция, имеющих удельную поверхность менее 15 м2/г, соль поливалентного металла представляет собой хлоргидрат алюминия, а связующее выбирают из стирол-бутадиенового каучука, крахмала, поливинилацетата, акрилового полимера и поливинилового спирта, используемых по отдельности или в сочетании.
25. Композиция покрытия по п.22, в которой композиция содержит (в расчете на сухое вещество) поверхностно обработанный пигментный сыпучий материал в количестве от примерно 45 до примерно 70 мас.%.
26. Композиция покрытия по п.22, в которой связующее состоит из анионного связующего в количестве от примерно 5 до примерно 12% от массы композиции, а катионный полимер представляет собой четвертичное аминовое соединение в количестве от примерно 5 до примерно 15 мас.% (в расчете на сухое вещество).
27. Композиция покрытия по п.22, наносимая путем ракли, валика, пленочного грунтователя, дозирующего пресса, распылителя, воздушного шабера или других устройств для нанесения сплошного покрытия большой площади.
28. Регистрирующая среда для краски, полученная нанесением в качестве покрытия, по крайней мере, на одну сторону среды композиции покрытия по п.22.
29. Регистрирующая среда для краски по п.28, где лист регистрирующей среды представляет собой бумагу для струйной печати.
30. Регистрирующая среда для краски по п.28, где лист регистрирующей среды представляет собой бумагу для струйной печати с матовой отделкой.
РИСУНКИ
MM4A – Досрочное прекращение действия патента СССР или патента Российской Федерации на изобретение из-за неуплаты в установленный срок пошлины за поддержание патента в силе
Дата прекращения действия патента: 09.04.2009
Извещение опубликовано: 10.08.2010 БИ: 22/2010
|
|