|
(21), (22) Заявка: 2006109983/03, 28.03.2006
(24) Дата начала отсчета срока действия патента:
28.03.2006
(46) Опубликовано: 27.11.2007
(56) Список документов, цитированных в отчете о поиске:
RU 2090357 C1, 20.09.1997. RU 13881 U1, 10.06.2000. RU 18365 U1, 20.06.2001. RU 2239551 C1, 10.11.2004. US 4332180 A1, 01.01.1982.
Адрес для переписки:
610046, г.Киров, ул. Московская, 78, ООО “Компания Кироввнешторг”
|
(72) Автор(ы):
Тюлькин Владимир Николаевич (RU), Белов Юрий Анатольевич (RU), Тюфтин Анатолий Аркадьевич (RU)
(73) Патентообладатель(и):
Общество с ограниченной ответственностью “Компания Кироввнешторг” (RU)
|
(54) КРУГЛОПИЛЬНЫЙ СТАНОК ДЛЯ ПРОДОЛЬНОЙ РАСПИЛОВКИ БРЕВЕН
(57) Реферат:
Изобретение относится к области деревообработки, а именно к станкам с дисковыми пилами для продольной распиловки бревен. Станок содержит рамное основание и размещенные на нем устройства ориентирования и продвижения бревна, пильное устройство с, по меньшей мере, двумя горизонтальными шпинделями с дисковыми пилами, расположенными по разные стороны бревна. Каждое устройство ориентирования и продвижения бревна выполнено в виде неподвижной стойки, снабженной качающимися синхронизированными между собой рычагами, снабженными приводными вальцами, охватывающими снаружи и продвигающими бревно, при этом приводные вальцы ориентируют бревно таким образом, что его ось располагается в горизонтальной плоскости посередине расстояния между центрами шпинделей пил, а рычаги взаимосвязаны между собой упругим элементом. Приведены различные варианты конструктивного выполнения станка. Изобретение повышает качество продольной распиловки бревен. 9 з.п. ф-лы, 8 ил.
Изобретение относится к области деревообработки, а именно к станкам с дисковыми пилами для продольной распиловки бревен.
Известны различные способы и устройства ориентирования и подачи режущего инструмента или обрабатываемого бревна при его продольном пилении.
Известен «Круглопильный станок для продольной распиловки бревен» №94003296, оснащенный перемещающимся подвижным столом с пильным механизмом, консольным шпинделем и пильным диском.
Известен круглопильный станок для продольной распиловки лесоматериалов №2019396, снабженный самоходным порталом с пилами.
Недостаток упомянутых аналогов заключается в том, что обработка бревна производится в цикличном режиме, при котором второй цикл возврата инструмента в исходное положение является холостым и, следовательно, не рационально удлиняющим общее время обработки бревна.
Известны станки для продольной распиловки бревен, у которых возвратно-поступательное движение бревна осуществляется вместе со столом, на котором закреплено бревно
Это отечественные станки модели УСК-1 «Установка стационарная круглопильная» Вологодского станкозавода и «Круглопильный станок ЦДС-1100» Чувашского завода ЗАО «Стровен», финский станок модели KARA F2000, а также продольно-пильный станок RIMET фирмы ASRITSU LTD.
Таким станкам присущи недостатки вышеупомянутых аналогов, так как те и другие имеют возвратно-поступательное движение с неизбежным холостым ходом инструмента или бревна.
Кроме того, общим недостатком всех перечисленных аналогов является то обстоятельство, что вследствие базирования бревна на его образующую поверхность по всей его длине горизонтальная ось бревна оказывается наклонена, при этом условия пиления вначале и в конце распиловки значительно отличаются вследствие закомеленности бревна. При пилении верхней и нижней пилами припуск на распиловку для нижней пилы остается одинаковым на всей длине пиления бревна, поскольку бревно лежит на подвижном или неподвижном столе. В то время как на верхнюю пилу приходится обработка всей закомеленности бревна. Вследствие этого верхняя пила работает в более жестком режиме пиления и имеет меньшую стойкость. Вследствие этого общая скорость подачи бревна должна быть снижена с учетом работы в конце пиления по закомеленной части бревна.
В известных установках для распиловки бревен №93029605 и №2001132620, а также «Круглопильном станке для продольной распиловки бревен» Патент RU №2112640 вопрос равномерного распределения припуска при продольном пилении решен посредством того, что продольная ось бревна устанавливается горизонтально и бревно закрепляется со стороны его торцов зажимами с применением различных механизмов, например гидропривода.
Однако такие установки работают в цикличном режиме с холостыми ходами и малопроизводительной поперечной загрузкой бревна. Кроме того, устройства получаются достаточно сложными.
Наиболее близким по технической сущности к заявляемому станку является «Фрезерно-пильная машина для обработки древесины» Патент RU №2090357. Машина содержит основание, силовые приводы механизмов загрузки, подачи и обработки древесины, смонтированные на основании блоки пил и фрез. Особенностью машины является то, что она снабжена вертикальными сходящимися и расходящимися и горизонтальными подъемными вальцами, выполненными в виде двух усеченных конусов с общим меньшим основанием, приводимых в действие от гидропривода.
В отличие от всех упомянутых аналогов машина работает по проходному принципу, то есть обработка бревна ведется за один проход без холостого хода, что позволяет значительно повысить производительность труда. Однако наличие гидропривода для обеспечения движения горизонтальных вальцов, дополнительных вертикальных вальцов и поперечной загрузки бревен значительно усложняет конструкцию такой машины и не исключает цикличности операций с холостым ходом при поперечной загрузке бревен.
Задачей изобретения является разработка станка для продольной распиловки бревен с обеспечением примерно равных припусков на обработку бревна для верхних и нижних пил, при одновременной непрерывной подаче бревна и обработке его за один проход, более простым и в то же время надежным устройством.
Поставленная задача обеспечивается тем, что в круглопильном станке для продольной распиловки бревен, содержащем рамное основание и размещенные на нем устройства ориентирования и продвижения бревна, пильное устройство с, по меньшей мере, двумя горизонтальными шпинделями с дисковыми пилами, расположенными по разные стороны бревна, согласно изобретению каждое устройство ориентирования и продвижения бревна выполнено в виде неподвижной стойки, снабженной качающимися синхронизированными между собой рычагами, снабженными приводными вальцами, охватывающими снаружи и продвигающими бревно, при этом приводные вальцы ориентируют бревно таким образом, что его ось располагается в горизонтальной плоскости и по середине расстояния между центрами шпинделей пил, а рычаги взаимосвязаны между собой упругим элементом.
Каждое устройство ориентирования и продвижения бревна снабжено двумя парами качающихся в вертикальной плоскости, синхронно взаимосвязанных между собой рычагов, при этом каждый рычаг выполнен рамной конструкции и одним концом шарнирно взаимосвязан со стойкой, а второй конец рычага снабжен приводным вальцом, причем оси шарниров и вальцов расположены в горизонтальной плоскости.
Синхронность работы каждой пары рычагов, расположенных по одну сторону стойки, обеспечена взаимодействующими между собой зубчатыми колесами, размещенными на рычагах, при этом привод вальцов осуществлен за счет вращения взаимодействующих между собой шестерен, главная из которых расположена на одном валу со звездочкой, приводимой в движение через цепную передачу от редуктора.
Упругий элемент, взаимодействующий с каждой парой рычагов, снабженных вальцами и расположенных по одну сторону стойки, стягивает их в направлении оси бревна и выполнен в виде пружины растяжения или эластичных элементов из резины или полиуретана.
Станок снабжен двумя устройствами ориентирования и продвижения бревна, установленными до пильного устройства, и двумя устройствами продвижения и ориентирования распиленного бревна, установленными после пильного устройства.
Устройства ориентирования и продвижения бревна, установленные до пильного устройства, снабжены рифлеными вальцами в виде двух усеченных конусов, направленных друг к другу малыми основаниями.
Устройства ориентирования и продвижения бревна, установленные после пильного устройства, снабжены рифлеными вальцами в виде двух усеченных конусов, направленных друг к другу малыми основаниями или вальцами, дисками с гладкой или рифленой цилиндрической поверхностью.
Сущность изобретения поясняется чертежами, на которых изображено:
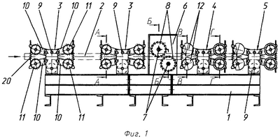
фиг.1 – общий вид станка (фронтальная проекция);
фиг.2 – общий вид станка в плане с фиг.1;
фиг.3 – сечение А-А с фиг.1 (увеличено);
фиг.4 – сечение Б-Б с фиг.1 (увеличено);
фиг.5 – сечение В-В с фиг.1 (увеличено);
фиг.6 – сечение Г-Г с фиг.1 (увеличено);
фиг.7 – кинематическая схема устройства продвижения и ориентирования бревна;
фиг.8 – кинематическая схема устройства ориентирования и продвижения бревна, вид в плане с фиг.7.
Круглопильный станок для продольной распиловки бревен содержит рамное основание 1 и размещенные на нем ориентирующие и продвигающие бревно 2 устройства 3, 4, 5 и пильное устройство 6, с по меньшей мере, двумя горизонтальными шпинделями 7 дисковых пил 8, расположенными по разные стороны бревна.
Устройство ориентирования и продвижения бревна 3, 4 и 5 выполнены конструктивно одинаковыми в виде неподвижной стойки 9, снабженной качающимися синхронизированными между собой рычагами 10, снабженными приводными вальцами. Приводные вальцы для направления бревна и выходящего пиломатериала могут иметь форму усеченных конусов 11, обращенных друг к другу малым основанием или форму направляющих дисков 12 или цилиндров 13. На устройствах 3, 4, 5 вальцы 11 охватывают снаружи и продвигают бревно 2, ориентируя его таким образом, что ось бревна располагается в горизонтальной плоскости и по середине расстояния между центрами шпинделей 7 дисковых пил 8, а первая пара рычагов за пильным устройством 6 снабжена рычагами с дисковыми направляющими 12 и цилиндрическими рифлеными вальцами 13 (фиг.1, 5).
Каждое устройство ориентирования и продвижения бревна 3, 4 снабжено двумя парами качающихся в вертикальной плоскости, синхронно взаимосвязанных между собой верхних и нижних рычагов 10, при этом для увеличения жесткости и размещения на рычаге всех элементов кинематической схемы привода вальцов и качания рычагов каждый рычаг 10 выполнен рамной конструкции и одним концом шарнирно взаимосвязан со стойкой 9, при этом второй конец рычага снабжен приводным вальцом. Оси шарниров рычагов и вальцов расположены в горизонтальной плоскости.
Синхронность работы каждой пары рычагов 10 (фиг.7, 8), расположенных по одну сторону стойки, обеспечивается взаимодействующими между собой зубчатыми колесами 14, 15, размещенными на рычагах.
Привод вальцов обеспечивается за счет вращения взаимодействующих между собой шестерен 14, 15, главная из которых 16 расположена на одном валу со звездочкой 17, приводимой в движение через цепную передачу 18 от редуктора (не показано). Стягивание верхнего и нижнего рычагов 10 с вальцами в направлении оси бревна обеспечивается упругим элементом, выполненным в виде пружины растяжения 20 или эластичных элементов из резины или полиуретана (не показано).
Для улучшения условий ориентирования и подачи бревна станок снабжен двумя устройствами 3 ориентирования и продвижения бревна 2, установленными до пильного устройства 6, и двумя устройствами 4 и 5 ориентирования и продвижения распиленного бревна 2, установленными после пильного устройства 6.
Каждое устройство ориентирования и продвижения 3 бревна 2, установленное до пильного устройства 6, снабжено рифлеными вальцами 10 в виде двух усеченных конусов, направленных друг к другу малыми основаниями.
Каждое устройство 4 и 5 ориентирования и продвижения распиленного бревна 2, установленное после пильного устройства 6, снабжено рифлеными вальцами 10 в виде двух усеченных конусов, направленных друг к другу малыми основаниями, или с гладкой или рифленой цилиндрической поверхностью.
Станок работает следующим образом.
В исходном положении синхронизированные между собой верхний и нижний рычаги 10 настроены таким образом, что продольная ось, проходящая по середине между вальцами 11 на рычагах 10 и середине расстояния между шпинделями 7 пил 8 находится в одной горизонтальной плоскости.
Обрабатываемое бревно 2 устройствами ориентирования и продвижения 3 подается в направлении пильного устройства 6. При этом пружины 20 стягивают верхний и нижний рычаги 10 в направлении оси бревна. Поскольку рычаги синхронизированы между собой, то продольная ось бревна ориентируется по середине расстояния между шпинделями 7 пил 8. Это обстоятельство обеспечивает наилучшие условия пиления бревна, поскольку припуски, приходящиеся на каждую верхнюю и нижнюю пилу, оказываются максимально приближены друг к другу.
Далее вальцы 10 подают бревно в пильное устройство 6, где оно распиливается и устройствами ориентирования и продвижения 4 и 5 продвигается на приемный рольганг (не показано).
Поскольку в концепцию станка заложен принцип обработки бревна за один проход, без холостых ходов, то станок обладает высокой производительностью. Кроме того, центрирование бревна относительно пил позволяет по возможности более равномерно распределить припуски на пиление и тем самым улучшить условия работы пил, повысить их стойкость и увеличить время между переточками.
Круглопильный станок для продольной распиловки бревен успешно прошел испытания и начато его промышленное изготовление. Станок может быть использован в малом и среднем бизнесе.
Формула изобретения
1. Круглопильный станок для продольной распиловки бревен, содержащий рамное основание и размещенные на нем устройства ориентирования и продвижения бревна, пильное устройство с, по меньшей мере, двумя горизонтальными шпинделями с дисковыми пилами, расположенными по разные стороны бревна, отличающийся тем, что каждое устройство ориентирования и продвижения бревна выполнено в виде неподвижной стойки, снабженной качающимися синхронизированными между собой рычагами, снабженными приводными вальцами, охватывающими снаружи и продвигающими бревно, при этом приводные вальцы ориентируют бревно таким образом, что его ось располагается в горизонтальной плоскости посередине расстояния между центрами шпинделей пил, а рычаги взаимосвязаны между собой упругим элементом.
2. Станок по п.1, отличающийся тем, что каждое устройство ориентирования и продвижения бревна снабжено двумя парами качающихся в вертикальной плоскости, синхронно взаимосвязанных между собой рычагов.
3. Станок по п.2, отличающийся тем, что каждый рычаг выполнен рамной конструкции и одним концом шарнирно взаимосвязан со стойкой, при этом второй конец рычага снабжен приводным вальцом, причем оси шарниров и вальцов расположены в горизонтальной плоскости.
4. Станок по п.2, отличающийся тем, что синхронность каждой пары рычагов, расположенных по одну сторону стойки, обеспечена взаимодействующими между собой зубчатыми колесами, размещенными на рычагах.
5. Станок по п.1, отличающийся тем, что размещенные на качающихся рычагах приводные вальцы для направления бревна и выходящего пиломатериала имеют форму усеченных конусов или форму направляющих дисков или цилиндров.
6. Станок по п.1, отличающийся тем, что привод вальцов осуществлен за счет вращения взаимодействующих между собой шестерен, главная из которых расположена на одном валу со звездочкой, приводимой в движение через цепную передачу от редуктора.
7. Станок по п.2, отличающийся тем, что упругий элемент, взаимодействующий с каждой парой рычагов, снабженных вальцами и расположенных по одну сторону стойки, стягивает их в направлении оси бревна и выполнен в виде пружины растяжения или эластичных элементов из резины или полиуретана.
8. Станок по п.1, отличающийся тем, что он имеет два устройства ориентирования и продвижения бревна, установленных до пильного устройства, и два устройства ориентирования и продвижения бревна, установленных после пильного устройства.
9. Станок по п.8, отличающийся тем, что устройства ориентирования и продвижения бревна, установленные до пильного устройства, снабжены рифлеными вальцами в виде двух усеченных конусов, обращенных друг к другу малыми основаниями.
10. Станок по п.8, отличающийся тем, что устройства ориентирования и продвижения бревна, установленные после пильного устройства, снабжены рифлеными вальцами в виде двух усеченных конусов, обращенных друг к другу малыми основаниями, или вальцами с гладкой или рифленой цилиндрической поверхностью.
РИСУНКИ
MM4A – Досрочное прекращение действия патента СССР или патента Российской Федерации на изобретение из-за неуплаты в установленный срок пошлины за поддержание патента в силе
Дата прекращения действия патента: 29.03.2008
Извещение опубликовано: 27.03.2010 БИ: 09/2010
|