|
(21), (22) Заявка: 2004138574/02, 25.03.2003
(24) Дата начала отсчета срока действия патента:
25.03.2003
(30) Конвенционный приоритет:
29.05.2002 DE 10223905.3
(43) Дата публикации заявки: 10.06.2005
(46) Опубликовано: 27.11.2007
(56) Список документов, цитированных в отчете о поиске:
WO 9109694 А, 11.07.1991. SU 1519799 А1, 07.11.1989. SU 804014 А1, 15.02.1981. RU 94025823 А1, 27.06.1996.
(85) Дата перевода заявки PCT на национальную фазу:
29.12.2004
(86) Заявка PCT:
EP 03/03080 (25.03.2003)
(87) Публикация PCT:
WO 03/101639 (11.12.2003)
Адрес для переписки:
129010, Москва, ул. Б.Спасская, 25, стр.3, ООО “Юридическая фирма Городисский и Партнеры”, пат.пов. Г.Б. Егоровой, рег.№ 513
|
(72) Автор(ы):
ЛАДДА-ЦУНК Барбара (DE), МИХЕЛЬ Вальдемар (DE), ЭЛЬС Бернхард (DE), БОЙТЕР Маттиас (DE)
(73) Патентообладатель(и):
СМС ДЕМАГ АКЦИЕНГЕЗЕЛЛЬШАФТ (DE)
|
(54) ИЗОЛИРОВАННЫЙ БОКС ДЛЯ РУЛОНОВ, РАСПОЛОЖЕННЫЙ МЕЖДУ ЧЕРНОВЫМ И ЧИСТОВЫМ ПРОКАТНЫМИ СТАНАМИ
(57) Реферат:
Бокс предназначен для теплоизоляции рулонов металлических черновых полос между черновым и чистовым прокатными станами при изменяющихся размерах рулонов. Универсальность устройства обеспечивается за счет того, что бокс содержит устройства с теплозащитными экранами на торцевых поверхностях рулона в зоне позиции сматывания и/или позиции разматывания, образованные устанавливаемыми с возможностью поворота к торцевым поверхностям рулона боковыми стенками, а противоположные друг другу в образованной паре боковые стенки выполнены с возможностью параллельной настройки на разную ширину рулонов. На задней стороне рулона устройство может быть выполнено с возможностью откидывания или поворота назад вокруг горизонтальной оси поворота в вертикальной плоскости по круговой траектории, а на передней стороне рулона устройство выполнено с возможностью откидывания или поворота назад вокруг вертикальной оси поворота по горизонтальной круговой траектории. 9 з.п. ф-лы, 3 ил.
Изобретение относится к изолированному блоку для рулонов, расположенному между черновым и чистовым прокатными станами, для металлических черновых полос, в частности для черновых стальных полос, сматываемых в горячем состоянии в рулоны и защищенных от дальнейшего охлаждения посредством устройств с теплозащитными экранами на торцевых поверхностях рулона в зоне позиции сматывания и/или разматывания.
Подобный изолированный бокс для рулонов известен из ЕР 0507800 В1. Здесь предусмотрены боковые стенки для бесстержневого процесса сматывания, на котором осуществляется процесс сматывания горячего металлического материала. Затем следует позиция разматывания, с которой стальную полосу вводят в чистовой прокатный стан. Боковые стенки, выполняющие роль теплозащитных экранов, функционально связаны с бесстержневым устройством сматывания или разматывания, и удалены на равное расстояние. Устройства с теплозащитными экранами снабжены отражающей внутренней поверхностью. Такие устройства с теплозащитными экранами используются как на позиции сматывания, так и на позиции разматывания.
В основе изобретения лежит задача создания подобного изолирующего устройства с теплозащитными экранами, применимого при изменяющихся размерах рулонов, обрабатываемых на данном прокатном стане.
Поставленная задача решается, согласно изобретению, за счет того, что устройства с теплозащитными экранами выполнены в виде устанавливаемых с возможностью поворота к торцевым поверхностям рулона боковых стенок и противоположные друг другу в образованной паре устройства с теплозащитными экранами выполнены с возможностью параллельной настройки на разную ширину рулонов. Устройства с теплозащитными экранами в позиции разматывания изолированного бокса уменьшают разницу температур между кромкой и серединой полосы и дополнительно способствуют поддержанию более постоянным распределения тепла в середине полосы по всей длине полосы. Таким образом достигается лучшее распределение температуры в черновой полосе перед ее подачей на чистовой прокатный стан и, тем самым, более высокое качество конечного продукта. В то же время могут быть сокращены теплопотери у совершенно разных по ширине металлических полос.
В одном варианте осуществления предусмотрено, что устройства с теплозащитными экранами выполнены с возможностью установки относительно торцевой поверхности рулона посредством приводимого в действие во встречном направлении цилиндро-поршневого блока. За счет этого можно поддерживать пространство между кромками полосы и боковой стенкой минимально возможным.
Более сложные средства никоим образом не ухудшают доступа к позиции разматывания. Принцип поворачиваемости устройств с теплозащитными экранами может быть использован при их откидывании в виде узла из позиции разматывания на каждой стороне рулона посредством привода поворота.
Для того чтобы учитывать установки прокатного стана, предпочтительно, что на задней стороне рулона устройство с теплозащитным экраном выполнено с возможностью откидывания или поворота назад посредством привода поворота вокруг горизонтальной оси поворота в вертикальной плоскости по круговой траектории, а на передней стороне рулона устройство с теплозащитным экраном выполнено с возможностью откидывания или поворота назад посредством привода поворота вокруг вертикальной оси поворота по горизонтальной круговой траектории.
Другой вариант осуществления предусматривает, что боковые стенки выполнены в виде дверей с возможностью открывания или закрывания соответственно посредством привода поворота. С этим связано преимущество удаления смотанного рулона в случае сбоя из изолированного посредством С-образного крюка. Кроме того, выполнение в виде дверей способствует проведению работ по обслуживанию.
Дальнейшее усовершенствование обеспечено за счет того, что откидываемое на каждую сторону устройство с теплозащитным экраном состоит из гидропривода поворота, консолей, цилиндропоршневого блока, поворотного рычага, мостовой рамы и соответствующей боковой стенки, причем узел установлен на проходящей поперек раме. Узел может быть впоследствии также размещен на позиции.
Параллельное перемещение боковых стенок выполнено в соответствии с другими признаками таким образом, что на поперечной раме, проходящей на позиции разматывания поперек середины прокатного стана, закреплены выступающие наружу кронштейны, с каждым из которых соединен цилиндр цилиндропоршневого блока, соответствующий поршневой шток воздействует на шарнирно установленный на поперечной раме поворотный рычаг приблизительно посередине, при этом на конце поворотного рычага шарнирно закреплена соответствующая приблизительно по длине боковой стенке мостовая рама, на которой в нескольких местах опоры закреплена соответствующая боковая стенка.
На основе проведенных измерений далее предпочтительно, что боковая стенка на горячей стороне помимо изолирующего материала покрыта стальным слоем в виде фольги. Стальная фольга нагревается значительно быстрее. Из-за непосредственного контакта стальной фольги с изолирующим материалом последний нагревается также быстрее. Поскольку изолирующее действие тем выше, чем горячее температура внутренней поверхности теплозащитного экрана, последний достигает с фольгой полной изоляции быстрее, чем теплозащитный экран без этой фольги.
Положительное действие пропадает, однако, если взять слишком толстую фольгу. Стальной лист толщиной всего 0,5 мм не обладает больше обнаруживаемым действием. На основе этих выводов предпочтительно, что стальной слой в виде фольги имеет толщину 0,05-0,3 мм, преимущественно 0,1 мм.
Одно усовершенствование изобретения состоит в том, что дополнительно к боковым стенкам и, примыкая к ним, на позициях разматывания и сматывания попарно предусмотрены стабилизаторы с изолирующим материалом. В то же время, в случае если за счет этого изоляция становится еще эффективнее, можно использовать на изолирующем материале стальной слой в виде фольги.
Ниже более подробно поясняются примеры выполнения изобретения, изображенные на чертеже, на котором представлены:
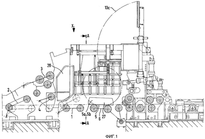
на фиг. 1 – вид сбоку участка прокатного стана с изолированным боксом для рулонов;
на фиг. 2 – вид сверху на установку в направлении Х по фиг. 1;
на фиг. 3 – вертикальный разрез А-А по фиг. 1.
На фиг. 1 между черновым и чистовым прокатными станами расположен изолированный бокс с позицией 1 сматывания, на которой посредством входных валиков 2, гибочных валиков 3 и формующего валика 5 наматывают рулон 5. Рулон 5 находится на позиции 6 разматывания. На позиции 6 разматывания рулон 5 защищают от дальнейшего охлаждения на его обеих лежащих в плоскости чертежа торцевых поверхностях 5а,5b, а посредством устройств 7 с теплозащитными экранами – в позиции 6 разматывания.
Кроме того, устройства 7 с теплозащитными экранами образованы устанавливаемыми с возможностью поворота по отношению к торцевым поверхностям 5а,5b рулона 5 боковыми стенками 8а,8b, и противоположные друг другу в образованной паре устройства 7 с теплозащитными экранами выполнены с возможностью параллельной настройки на разную ширину 5с рулонов (максимальную и минимальную). Боковые стенки 8а,8b проходят симметрично середине 9 прокатного стана.
На фиг. 3 устройства 7 с теплозащитными экранами могут устанавливаться к торцевым поверхностям 5а,5b рулона 5 посредством приводимого в действие в направлении к торцевым поверхностям рулона цилиндропоршневого блока 10.
На фиг. 2 на передней стороне 12 рулона весь узел 15 выполнен с возможностью горизонтального откидывания или поворота назад посредством (гидравлического) привода 13 поворота вокруг вертикальной оси 13а поворота по горизонтальной круговой траектории 14, как это показано в нижней части фиг. 2. Ось поворота привода 13 проходит перпендикулярно плоскости чертежа.
Точно так же на задней стороне 11 рулона устройство 7 с теплозащитным экраном выполнено с возможностью откидывания или поворота назад посредством поворотного привода 13 вокруг горизонтальной оси 13b поворота в вертикальной плоскости по круговой траектории 13с.
Боковые стенки 8а,8b могут быть выполнены в виде дверей, как показано, и поворачиваются посредством привода 13 поворота вокруг вертикальной оси 13а поворота по круговой траектории 14 при открывании или закрывании.
При этом весь узел 15 откидываемого устройства 7 с теплозащитным экраном состоит из привода 13 поворота, консоли 16, цилиндропоршневого блока 10, поворотного рычага 17, мостовой рамы 18 и соответствующей боковой стенки 8а,8b, причем узел 15 установлен на проходящей поперек раме 19 (фиг. 1).
Как показано на фиг. 3, на поперечной раме 19, расположенной на позиции 6 разматывания поперек середине 9 прокатного стана, закреплены выступающие наружу кронштейны 20. Цилиндр 10а цилиндропоршневого блока 10 шарнирно соединен с кронштейном 20. Соответствующий поршневой шток 10b также шарнирно присоединен к соединенному с поперечной рамой 19 поворотному рычагу 21, причем точка приложения силы может лежать посередине. На конце 21а поворотного рычага 21 шарнирно закреплена приблизительно соответствующая по длине боковой стенке 8а,8b мостовая рама 22, и на мостовой раме 22 образованы места 23 опоры для соединения с боковыми стенками 8а,8b.
Боковые стенки 8а,8b покрыты на горячей стороне 24 изолирующим материалом 25, а изолирующий материал 25 покрыт стальным слоем 26 в виде фольги. Стальной слой 26 имеет толщину около 0,1 мм и может быть лишь немного толще или тоньше.
Одновременно предусмотрено еще дополнение (фиг. 1), состоящее в том, что дополнительно к боковым стенкам 8а,8b и, примыкая к ним, на позиции 6 разматывания и сматывания попарно предусмотрены стабилизаторы 27 с изолирующим материалом 25 и на позиции 1 сматывания также попарно предусмотрены стабилизаторы 28 с изолирующим материалом 25. Целесообразно также, что изолирующий материал 25 покрыт стальным слоем 26 в виде фольги.
ПЕРЕЧЕНЬ ССЫЛОЧНЫХ ПОЗИЦИЙ
1 – позиция сматывания
2 – входной валик
3 – гибочный валик
4 – формующий валик
5 – рулон
5а – торцевая поверхность рулона
5b – торцевая поверхность рулона
5с – ширина рулона
6 – позиция разматывания
7 – устройство с теплозащитным экраном
8а – боковая стенка
8b – боковая стенка
9 – середина прокатного стана
10 – цилиндро-поршневой блок
10а – цилиндр
10b – поршневой шток
11 – сторона рулона
12 – сторона рулона
13 -привод поворота
13а – вертикальная ось поворота
13b – горизонтальная ось поворота
13с – круговая траектория открывания
14 – круговая траектория
15 – узел
16 – консоль
17 – поворотный рычаг
18 – мостовая рама
19 – поперечная рама
20 – кронштейн
21 – поворотный рычаг
21а – конец поворотного рычага
22 – мостовая рама
23 – место опоры
24 – горячая сторона
25 – изолирующий материал
26 – стальной слой
27 – стабилизатор в позиции разматывания
28 – стабилизатор в позиции сматывания
Формула изобретения
1. Изолированный бокс для рулона, расположенный между черновым и чистовым прокатными станами и предназначенный для металлических черновых полос, в частности для черновых стальных полос, сматываемых в горячем состоянии в рулоны и защищенных от дальнейшего охлаждения посредством устройств с теплозащитными экранами, установленных вблизи торцевых поверхностей рулона в зоне позиции сматывания и/или разматывания, отличающийся тем, что устройства (7) с теплозащитными экранами образованы устанавливаемыми с возможностью поворота по отношению к торцевым поверхностям (5а; 5b) рулона боковыми стенками (8а; 8b) и противоположные друг другу в образованной паре устройства (7) с теплозащитными экранами выполнены с возможностью параллельной настройки на разную ширину (5с) рулонов.
2. Бокс по п.1, отличающийся тем, что устройства (7) с теплозащитными экранами выполнены с возможностью установки к торцевой поверхности (5а; 5b) рулона посредством приводимого в действие в направлении торцевой поверхности рулона цилиндро-поршневого блока (10).
3. Бокс по п.1 или 2, отличающийся тем, что на каждой стороне (11; 12) рулона устройство (7) с теплозащитным экраном выполнено с возможностью откидывания в виде узла (15) из зоны позиции (6) разматывания посредством привода (13) поворота.
4. Бокс по п.1 или 2, отличающийся тем, что на задней стороне (11) рулона устройство (7) с теплозащитным экраном выполнено с возможностью откидывания или поворота назад посредством привода (13) поворота вокруг горизонтальной оси (13b) поворота в вертикальной плоскости по круговой траектории (13с), а на передней стороне (12) рулона устройство (7) с теплозащитным экраном выполнено с возможностью откидывания или поворота назад посредством привода (13) поворота вокруг вертикальной оси (13а) поворота по горизонтальной круговой траектории (14).
5. Бокс по п.1 или 2, отличающийся тем, что боковые стенки (8а; 8b) выполнены в виде дверей с возможностью открывания или закрывания посредством привода (13) поворота.
6. Бокс по п.1 или 2, отличающийся тем, что расположенное на каждой стороне (11; 12) рулона устройство (7) с теплозащитным экраном, выполненное с возможностью откидывания, состоит из гидропривода (13) поворота, консолей (16), цилиндропоршневого блока (10), поворотного рычага (17), мостовой рамы (18) и соответствующей боковой стенки (8а; 8b), причем узел (15) установлен на поперечной раме (19).
7. Бокс по п.6, отличающийся тем, что на поперечной раме (19), проходящей на позиции (6) разматывания поперек середины (9) прокатного стана, закреплены выступающие наружу кронштейны (20), с каждым из которых соединен цилиндр (10а) цилиндропоршневого блока (10), при этом соответствующий поршневой шток (10b) воздействует на шарнирно установленный на поперечной раме (19) поворотный рычаг (21) приблизительно посередине, при этом на конце (21а) поворотного рычага (21) шарнирно закреплена приблизительно соответствующая по длине боковой стенке (8а; 8b) мостовая рама (22), на которой в нескольких местах (23) опоры закреплена соответствующая боковая стенка (8а; 8b).
8. Бокс по п.1 или 2, отличающийся тем, что боковая стенка (8а; 8b) на горячей стороне (24) помимо изолирующего материала (25) покрыта стальным слоем (26) в виде фольги.
9. Бокс по п.8, отличающийся тем, что стальной слой (26) в виде фольги имеет толщину 0,05-0,3 мм.
10. Бокс по п.1 или 2, отличающийся тем, что дополнительно к боковым стенкам (8а, 8b) и, примыкая к ним, на позиции (6) разматывания предусмотрены примыкающие к боковым стенкам парные стабилизаторы (27) с изолирующим материалом (25), а на позиции (1) сматывания парные стабилизаторы (28) с изолирующим материалом (25).
РИСУНКИ
|