|
|
(21), (22) Заявка: 2005126965/15, 26.08.2005
(24) Дата начала отсчета срока действия патента:
26.08.2005
(43) Дата публикации заявки: 10.03.2007
(46) Опубликовано: 27.11.2007
(56) Список документов, цитированных в отчете о поиске:
RU 2221632 C1, 20.01.2004. RU 2034109 C1, 30.04.1995. SU 1675106 A1, 07.09.1991. SU 629074 A, 31.08.1978. SU 625935 A, 21.08.1978. FR 2752391 A, 20.02.1998. EP 0737507 A, 16.10.1996. US 4368985 A, 18.01.1983.
Адрес для переписки:
300000, г.Тула, ул.Тургеневская, 48, Тульская областная универсальная научная библиотека (ТОУБ), Патентно-лицензионный центр, А.Б.Липилину
|
(72) Автор(ы):
Липилин Александр Борисович (RU), Терняев Александр Владимирович (RU)
(73) Патентообладатель(и):
Липилин Александр Борисович (RU), Терняев Александр Владимирович (RU)
|
(54) ПЛАНЕТАРНЫЙ СМЕСИТЕЛЬ
(57) Реферат:
Планетарный смеситель включает станину, стойку, закрепленную на станине, емкость с приводом и расположенным внутри емкости активатором, привод которого расположен на стойке. Станина выполнена в виде прямоугольной рамы, установленной на стойках с возможностью поворота вокруг горизонтальной оси. Емкость установлена на опорах качения, закрепленных на нижней перекладине прямоугольной рамы, на которой закреплен привод емкости. Внутри емкости по центру расположен цилиндр, внутри которого расположен подшипниковый узел привода емкости. Привод активатора закреплен на верхней перекладине прямоугольной рамы, а активатор установлен с возможностью поворота под разными углами в вертикальной плоскости и расположен между стенками емкости и цилиндра. На оси активатора установлено водило, на концах которого в пазах дополнительно закреплены отборные лопатки, причем активатор и лопатки расположены либо в одной вертикальной плоскости, либо в разных вертикальных плоскостях с возможностью изменения угла между ними. Планетарный смеситель снабжен дополнительными периферическими скребками, нижние концы которых соединены перекладиной, снабженной пальцами. Изобретение обеспечивает упрощение конструкции смесителя, повышение надежности его работы, эффективное смешивание компонентов, а также повышение производительности. 1 з.п. ф-лы, 2 ил.
Изобретение относится к машинам и оборудованию для перемешивания и предназначено для интенсификации и повышения качества смешивания компонентов за счет увеличения эффективности смешивания. Изобретение может найти широкое применение в промышленности строительных материалов для приготовления растворов и бетонов, а также может быть использовано в других различных отраслях промышленности, таких как нефтехимическая, пищевая, лакокрасочная и других.
Известен “Планетарный смеситель вязких материалов” по патенту №2253507, кл. В01F 7/30, 2004 г., в котором месильные рабочие органы, перемещаясь внутри корпуса с переменной скоростью, совершают сложное движение благодаря планетарному механизму привода, получающему вращение от двигателя. Однако при вращении месильные рабочие органы недостаточно полностью охватывают всю обрабатываемую массу вследствие образования застойных зон, что снижает качество перемешивания компонентов.
Известны технические решения “Смеситель” по патенту №2079354, кл. В01F 9 /02, 1992 г., и “Устройство для перемешивания и способ его применения для получения однородных смесей” по патенту №2214303, кл. В01F 7/16, 2002 г., в которых кроме месильных рабочих органов приводится в движение и корпус-резервуар, вследствие чего перемешиваемая масса перемешивается под действием гравитации.
Известен “Планетарный смеситель” по патенту №2031699, кл. В01F 7/30, 1991 г., в котором перемешивающие рабочие органы также совершают сложное движение, перемещаясь внутри корпуса, последовательно занимая различное положения. Однако данный смеситель не обеспечивает высокой производительности, а сами рабочие органы громоздки и требуют точного их изготовления для выполнения технологического процесса смешивания.
Наиболее близким техническим решением является «Смесительная установка для приготовления абразивных масс» по патенту №2221632, кл. В01F 9/12, 2002 г. В данном техническом решении смешивание осуществляется благодаря сочетанию трех движений: вращение чаши, вращение и возвратно-поступательное перемещение лопасти с регулированием числа оборотов как чаши, так и лопасти. Однако данное устройство сложно по конструктивному выполнению, имеет сложный и громоздкий привод всех элементов конструкции.
Технической задачей настоящего изобретения является упрощение конструкции, повышение надежности ее работы, обеспечение качественного перемешивания компонентов за счет эффективности смешивания, а также повышение производительности.
Технический результат – расширение технических возможностей смешивания.
Указанная задача достигается тем, что планетарный смеситель, включающий станину, стойку, закрепленную на станине емкость с приводом и расположенным внутри емкости активатором, привод которого расположен на стойке, при этом станина выполнена в виде прямоугольной рамы, установленной на стойках с возможностью поворота вокруг горизонтальной оси, а емкость установлена на опорах качения, закрепленных на нижней перекладине прямоугольной рамы, на которой закреплен привод емкости, а внутри емкости по центру расположен отборный цилиндр, внутри которого расположен подшипниковый узел привода емкости, а привод активатора закреплен на верхней перекладине прямоугольной рамы, а активатор установлен с возможностью поворота под разными углами в вертикальной плоскости и расположен между стенками емкости и отборного цилиндра, при этом установлено водило, на концах которого в пазах дополнительно закреплены с возможностью регулирования приводные отборные лопатки, причем активатор и лопатки расположены либо в одной вертикальной плоскости, либо в разных вертикальных плоскостях с возможностью изменения угла между ними. Планетарный смеситель дополнительно снабжен периферическими скребками, нижние концы которых соединены перекладиной, снабженной пальцами.
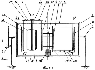
Изобретение поясняется чертежами, где на фиг.1 представлен общий вид планетарного смесителя, на фиг.2 – вид А-А фиг.1.
Планетарный смеситель содержит стойки 1, на которых с возможностью поворота вокруг горизонтальной оси 2 установлена прямоугольная каркасная рама 3. Каркасная рама 3 поворачивается посредством штурвала 4, который снабжен фиксатором 5 с целью исключения произвольного поворота. На нижней перекладине 6 прямоугольной каркасной рамы 3 посредством опор качения 7 установлена емкость 8, приводимая во вращение приводом 9, содержащим электродвигатель 10 и подшипниковый узел 11 привода 9, расположенный в цилиндре 12. На верхней перекладине 13 прямоугольной каркасной рамы 3 закреплен привод 14 перемешивающего рабочего органа-активатора 15, который установлен с возможностью изменения первоначальной установки активатора под разными углами в вертикальной плоскости и расположен внутри емкости 8 между стенками емкости 8 и цилиндром 12. Привод 14 активатора выполнен с возможностью изменения направления вращения активатора, т.е. снабжен реверсом, вследствие чего активатор может вращаться как в одном направлении с емкостью 8, так и навстречу вращения емкости 8. На оси 16 активатора 15 установлено водило 17, на концах которого в пазах 19 дополнительно закреплены с возможностью вращения вокруг своей вертикальной оси отборные лопатки 18. Пазы 19 дают возможность регулировать положение отборных лопаток. Лопатки располагают между стенками емкости 8 и активатором 15, при этом положение отборных лопаток регулируется относительно положения активатора 15 благодаря наличию пазов, т.е. лопатки могут быть расположены как в одной вертикальной плоскости с активатором (положение I), так и в разных (положение II) в зависимости от свойств перемешиваемых компонентов. Отборные лопатки 18 имеют самостоятельный привод 20 вращения их вокруг своей вертикальной оси, таким образом, они могут вращаться как с водилом 17, так и без него. При вращении водила 17 отборные лопатки 18 интенсифицируют процесс перемешивания, одновременно очищают стенки емкости 8 и цилиндра 12 от налипшей массы и подают ее на активатор 15. При перемешивании более жидких растворов водило не вращается, а отборные лопатки 18, вращаясь только вокруг своей оси, также интенсифицируют процесс перемешивания. При выгрузке готовой массы отборные лопатки 18 очищают стенки емкости 8 от налипшей массы, тем самым обеспечивают более полную выгрузку готового продукта. Отборные лопатки 18 могут быть выполнены как жесткими, так и эластичными. На верхней перекладине 13 каркасной прямоугольной рамы установлены периферические скрепки 21, опущенные в емкость 8, но расположены вне зоны вращения водила 17 с отборными лопатками 18, и один из них взаимодействуют с внутренней стенкой емкости 8, а другой с наружной стенкой цилиндра 12. Периферические скрепки 21 выполнены по длине, соразмерной с глубиной емкости 8, и соединены перекладиной 22, снабженной пальцами 23, так что скрепки очищают стенки емкости, а пальцы дно емкости, и подают счищенную массу под воздействие активатора. Периферические скрепки 21 могут быть расположены в любом месте в емкости 8.
Планетарный смеситель работает следующим образом. Перемешиваемые материалы загружаются в емкость 8, включается процесс перемешивания, сначала включается привод 14 вращения активатора 15, водила 17 и отборных лопаток 18, а затем включается привод 9 вращения емкости 8. Благодаря тому что подшипниковый узел 11 привода 9 расположен в цилиндре, исключено консольное закрепление емкости 8 на валу двигателя 10, тем самым обеспечивается лучший режим работы двигателя и его выходного вала, т.е. повышается надежность работы всего устройства. В процессе перемешивания может осуществляться различный набор вращения отборных лопаток 18: совместное их вращение с водилом и вращение их вокруг своей оси, вращение только вокруг своей оси, вращение только с водилом, но во всех этих вариантах они интенсифицируют процесс перемешивания и выполняют функцию чистиков, т.е. очищают стенки емкости и цилиндра от перемешиваемой массы, одновременно подают массу под воздействие активатора. Благодаря возможности установки активатора в первоначальном процессе под разными углами в вертикальной плоскости, а также возможности изменения положения отборных лопаток относительно активатора, возникают различные аспекты их взаимодействия, что также улучшает и интенсифицирует процесс перемешивания за счет исключения мертвых застойных зон в емкости, и перемешиваемый материал подвергается постоянному воздействию как активатором, так и отборными лопатками. При вращении емкости 8 пальцы 23 очищают дно емкости и способствуют перемешиванию нижних слоев компонентов по всей ширине емкости, а при выгрузке способствуют очищению дна емкости от готовой смеси. Наличие реверса в приводе активатора позволяет также интенсифицировать процесс перемешивания, исключая вращение комков и способствуя их разбиванию.
Предложенное техническое решение позволяет значительно повысить качество смешивания с постоянной очисткой от налипшей смеси как внутренних стенок емкости, так и цилиндра, а также значительно снизить время смешивания компонентов, что позволяет значительно повысить производительность планетарного смесителя. Расположение емкости на шариковых опорах, а подшипникового узла в цилиндре снижает нагрузки на выходной вал двигателя, тем самым повышает надежность и работоспособность планетарного смесителя.
Формула изобретения
1. Планетарный смеситель, включающий станину, стойку, закрепленную на станине емкость с приводом и расположенным внутри емкости активатором, привод которого расположен на стойке, отличающийся тем, что станина выполнена в виде прямоугольной рамы, установленной на стойках с возможностью поворота вокруг горизонтальной оси, а емкость установлена на опорах качения, закрепленных на нижней перекладине прямоугольной рамы, на которой закреплен привод емкости, а внутри емкости по центру расположен цилиндр, внутри которого расположен подшипниковый узел привода емкости, а привод активатора закреплен на верхней перекладине прямоугольной рамы, а активатор установлен с возможностью поворота под разными углами в вертикальной плоскости и расположен между стенками емкости и цилиндра, при этом на оси активатора установлено водило, на концах которого в пазах дополнительно закреплены с возможностью регулирования приводные отборные лопатки, причем активатор и лопатки расположены либо в одной вертикальной плоскости, либо в разных вертикальных плоскостях с возможностью изменения угла между ними.
2. Планетарный смеситель по п.1, отличающийся тем, что он снабжен дополнительными периферическими скребками, нижние концы которых соединены перекладиной, снабженной пальцами.
РИСУНКИ
|
|