|
| На основании пункта 3 статьи 13 Патентного закона Российской Федерации от 23 сентября 1992 г. № 3517-I патентообладатель обязуется передать исключительное право на изобретение (уступить патент) на условиях, соответствующих установившейся практике, лицу, первому изъявившему такое желание и уведомившему об этом патентообладателя и федеральный орган исполнительной власти по интеллектуальной собственности, – гражданину РФ или российскому юридическому лицу. |
|
(21), (22) Заявка: 2006118515/12, 29.05.2006
(24) Дата начала отсчета срока действия патента:
29.05.2006
(46) Опубликовано: 27.11.2007
(56) Список документов, цитированных в отчете о поиске:
SU 1747115 A1, 15.07.1992. RU 2020996 C1, 15.10.1994. SU 1752578 A1, 15.07.1992. US 1074596 A, 07.10.1918. GB 22296, 17.08.1911.
Адрес для переписки:
153000, г.Иваново, ул. Варенцовой, 17/1, кв.7, Ю.А. Щепочкиной
|
(72) Автор(ы):
Щепочкина Юлия Алексеевна (RU)
(73) Патентообладатель(и):
Щепочкина Юлия Алексеевна (RU)
|
(54) КОЛЕСО
(57) Реферат:
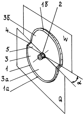
Изобретение относится к области техники и может быть использовано преимущественно в производстве игрушек и средств развлечений. Колесо содержит обод, ступицу и держатель обода. Обод состоит, по крайней мере, из двух частей, лежащих в разных плоскостях под острым углом к осевой линии, проходящей через ступицу, причем концы частей соединены перемычками. Перемычки могут быть соединены со ступицей. Использование колеса в качестве движителя игрушки обеспечивает криволинейное перемещение игрушки. 1 з.п. ф-лы, 1 ил.
Изобретение относится к области техники и может быть использовано преимущественно в производстве игрушек и средств развлечений.
Известно колесо, содержащее диск или обод со спицами [1].
Известно колесо, содержащее обод, ступицу, держатель обода [2].
Задачей изобретения является расширение полезных функций колеса.
Технический результат достигается тем, что в колесе, содержащем обод, ступицу, держатель обода, обод состоит, по крайней мере, из двух частей, лежащих в разных плоскостях под острым углом к осевой линии, проходящей через ступицу, причем концы частей соединены перемычками. Перемычки соединены со ступицей.
На чертеже изображено предлагаемое колесо.
Колесо содержит жесткий обод 1, ступицу 2, держатели 3 обода в форме полудисков 3а и 3б. Обод состоит, по крайней мере, из двух 1а и 1б частей, лежащих в разных плоскостях, соответственно Q и W, под острым углом (например, =10°) между ними, причем концы частей соединены перемычками 4. Перемычки соединены со ступицей перегородкой 5. Обод может нести закрепленные на нем камеру и покрышку, соответствующие конструкции обода (не показаны).
Колесо в виде обода 1, состоящего из частей 1а и 1б, ступицы 2 и держателей 3, выполненных в форме полудисков 3а и 3б, может быть установлено на ось (например, транспортного средства в индустрии развлечений). Перемычки 4 и перегородки 5 обеспечивают жесткость конструкции. При движении по какой-либо поверхности такое колесо оставляет криволинейный (“елочкой”) прерывистый след.
Такое колесо несложно в изготовлении, расширяет функции известных колес применительно к использованию в индустрии игр и развлечений.
Источники информации
1. Политехнический словарь. / Гл. ред. И.И.Артоболевский. – М.: Советская энциклопедия. – 1976. – С.217.
2. Энциклопедический словарь юного техника. / Сост. Б.В.Зубков, С.В.Чумаков. – М.: Педагогика. – 1980. – С.173-174.
Формула изобретения
1. Колесо, содержащее обод, ступицу, держатель обода, отличающееся тем, что обод состоит, по крайней мере, из двух частей, лежащих в разных плоскостях под острым углом к осевой линии, проходящей через ступицу, причем концы частей соединены перемычками.
2. Колесо по п.1, отличающееся тем, что перемычки соединены со ступицей.
РИСУНКИ
|
|