|
(21), (22) Заявка: 2004127228/14, 10.02.2003
(24) Дата начала отсчета срока действия патента:
10.02.2003
(30) Конвенционный приоритет:
11.02.2002 EP 02425069.8
(43) Дата публикации заявки: 10.04.2005
(46) Опубликовано: 27.11.2007
(56) Список документов, цитированных в отчете о поиске:
WO 01/30427 A1, 03.05.2001. WO 01/41841 A1, 14.06.2001. RU 2080128 C1, 27.05.1997. EP 680767 A1, 08.11.1995. US 6319233 B1, 20.11.2001.
(85) Дата перевода заявки PCT на национальную фазу:
13.09.2004
(86) Заявка PCT:
EP 03/01271 (10.02.2003)
(87) Публикация PCT:
WO 03/068297 (21.08.2003)
Адрес для переписки:
129010, Москва, ул. Б.Спасская, 25, стр.3, ООО “Юридическая фирма Городисский и Партнеры”, пат.пов. Ю.Д.Кузнецову, рег.№ 595
|
(72) Автор(ы):
РЕСТЕЛЛИ Серджо (IT), РИГИ Нардино (IT), РОССИ Роберто (IT)
(73) Патентообладатель(и):
РЕСТЕЛЛИ Серджо (IT), РИГИ Нардино (IT), РОССИ Роберто (IT)
|
(54) БЕЗОПАСНЫЙ СТЕКЛЯННЫЙ ШПРИЦ И СООТВЕТСТВУЮЩИЙ ПРЕДОХРАНИТЕЛЬНЫЙ КОМПЛЕКТ К СТЕКЛЯННОМУ ШПРИЦУ
(57) Реферат:
Изобретение относится к медицине, а именно к стеклянному шприцу одноразового пользования, снабженному автоматическим предохранительным устройством для укрытия иглы после выполнения инъекции, а также к соответствующему предохранительному комплекту, который можно установить на одноразовый стеклянный шприц. Безопасный шприц содержит корпус, полый изнутри и открытый спереди и сзади, поршень, инъекционную иглу, закрепленную на переднем конце корпуса шприца, цилиндр, гильзу фиксирующее и стопорное средства и управляющий элемент. Поршень установлен с возможностью скольжения в корпусе шприца и снабжен с задней стороны передвигаемым вручную штоком, выдвигаемым из корпуса шприца за хвостовой конец штока. Цилиндр неразъемно закреплен на упомянутом стеклянном корпусе шприца. Гильза установлена на цилиндре с возможностью скольжения для перевода из отведенного назад рабочего положения, в котором игла выступает вперед из упомянутой гильзы для выполнения инъекции, в выдвинутое вперед предохраняющее положение, в котором игла укрыта упомянутой гильзой. Фиксирующее и стопорное средства, соответственно предусмотренные в цилиндре и в гильзе для совместного фиксирования гильзы в определенной позиции, когда она находится в отведенном назад рабочем положении и выдвинутом вперед предохраняющем положении. Управляющий элемент неразъемно закреплен на хвостовой части штока поршня, чтобы совместным действием с фиксирующим средством, когда поршень находится в конце хода инъекции, обеспечить возможность перемещения упомянутой гильзы из отведенного назад рабочего положения в выдвинутое вперед предохраняющее положение. Технический результат – шприц удобный на практике, универсальный, недорогой, простой в изготовлении, способен воспрепятствовать последующим попыткам использования, предотвратить случайную травму и вредные действия после использования. 2 н. и 14 з.п. ф-лы, 5 ил.
Настоящее изобретение относится к стеклянному шприцу одноразового пользования, снабженному автоматическим предохранительным устройством для укрытия иглы после выполнения инъекции. Настоящее изобретение относится также к соответствующему предохранительному комплекту, который можно установить на одноразовый стеклянный шприц.
Обычно шприц содержит цилиндрический корпус, открытый сзади для вставки поршня. Внутреннюю пустотелую иглу закрепляют на наконечнике корпуса шприца.
В соответствии с нормами безопасности и во избежание переноса инфекционных заболеваний шприцы обычно следует применять только один раз и после этого удалять в отходы. По указанной причине растет спрос на одноразовые шприцы, сконструированные с расчетом на предотвращение последующего использования.
Кроме того, с точки зрения безопасности, у шприцов имеются общие недостатки. Действительно, после использования шприца игла остается открытой на наконечнике корпуса шприца и создает тем самым риск травм или случайных уколов иглой.
Для устранения данных недостатков выпускают пластиковые одноразовые шприцы с предохранительными устройствами для укрытия иглы.
Заявка на патент РСТ WO 99/37345 содержит описание одноразового безопасного шприца, который содержит гильзу, предназначенную для укрытия иглы и устанавливаемую на корпус шприца осесимметрично, с возможностью сдвига из отведенного назад положения, в котором гильза оставляет иглу открытой, чтобы можно было сделать инъекцию, в выдвинутое положение, в котором гильза полностью укрывает иглу и тем самым предотвращает повторное использование шприца и предохраняет от случайного укола иглой.
После выполнения инъекции гильза автоматически переводится в выдвинутое предохраняющее положение автоматическим механизмом и без вмешательства пользователя.
С другой стороны, стеклянные шприцы обычно предназначены, по возможности, для многократного применения. Действительно, корпус стеклянного шприца можно стерилизовать при высокой температуре. По указанной причине стеклянные шприцы не снабжают какими-либо предохранительными устройствами, для укрытия иглы после выполнения инъекции.
Как известно, в настоящее время общедоступны готовые к инъекции предварительно наполняемые шприцы, в которых раствор уже находится в полости шприца. Однако, существуют некоторые растворы, например, вакцины, антидоты и т.п., которые нельзя хранить в пластиковых контейнерах. Следовательно, данные растворы требуется заряжать в предварительно наполняемые стеклянные шприцы.
По указанной причине, а также из соображений гигиены и практичности, выпускают стеклянные шприцы одноразового пользования. Недостатком одноразовых стеклянных шприцов является отсутствие у них предохранительного устройства для укрытия иглы.
Задачей настоящего изобретения является устранение известных недостатков посредством создания безопасного стеклянного шприца, который был бы удобным на практике, универсальным, недорогим и простым в изготовлении.
Другой задачей настоящего изобретения является создание такого безопасного стеклянного шприца одноразового пользования, который способен воспрепятствовать последующим попыткам использования.
Еще одной задачей настоящего изобретения является создание такого стеклянного шприца, который является в высшей степени безопасным и способен предотвратить случайную травму и вредные действия после использования.
Вышеуказанные задачи решаются тем, что безопасный шприц в соответствии с настоящим изобретением содержит
стеклянный корпус шприца, полый изнутри и открытый спереди и сзади,
поршень, установленный с возможностью скольжения в корпусе шприца, при этом упомянутый поршень снабжен с задней стороны передвигаемым вручную штоком, выдвигаемым из корпуса шприца за хвостовой конец штока, и
инъекционную иглу, закрепленную на переднем конце корпуса шприца, причем данный шприц содержит
цилиндр, неразъемно закрепленный на упомянутом стеклянном корпусе шприца,
гильзу, установленную на упомянутый цилиндр с возможностью скольжения для перевода из отведенного назад рабочего положения, в котором игла выступает вперед из гильзы для выполнения инъекции, в выдвинутое вперед предохраняющее положение, в котором игла укрыта упомянутой гильзой,
фиксирующее и стопорное средства, соответственно предусмотренные в цилиндре и в гильзе для совместного фиксирования гильзы в определенной позиции, когда она находится в отведенном назад рабочем положении и выдвинутом вперед предохраняющем положении, и
управляющий элемент, неразъемно закрепленный на хвостовой части штока поршня, чтобы совместным действием с фиксирующим средством, когда поршень находится в конце хода инъекции, обеспечить возможность перемещения гильзы из отведенного назад рабочего положения в выдвинутое вперед предохраняющее положение.
Предпочтительные варианты осуществления настоящего изобретения очевидны из дополнительных пунктов многозвенной формулы изобретения.
Шприц содержит пружинный элемент, вставленный между гильзой и упомянутым цилиндром.
Один торец пружинного элемента упирается в кольцевую опорную поверхность, ограниченную частью большего диаметра и частью меньшего диаметра гильзы, а другой торец пружинного элемента упирается в кольцевую опорную поверхность, образованную буртиком, выступающим наружу на переднем торце цилиндра.
Фиксирующее средство содержит два зубца, радиально выступающих из цилиндра в диаметрально противоположных направлениях для вхождения в соответствующие прорези, предусмотренные в двух хвостовых упругих лапках продольной формы, образованных в задней части боковой стенки гильзы.
Каждая из хвостовых лапок образована двумя продольными параллельными прорезями в боковой стенке гильзы, протяженностью до заднего конца гильзы, при этом хвостовой конец лапок выступает за задний торец гильзы.
В цилиндре и в гильзе предусмотрены соответственно фиксирующее и стопорное средства, чтобы совместно фиксировать гильзу в определенной позиции, когда она находится в отведенном назад рабочем положении и выдвинутом вперед предохраняющем положении. На хвостовой части штока поршня неразъемно закреплен управляющий элемент, способный совместным действием с фиксирующим средством, когда поршень находится в конце хода инъекции, обеспечить возможность перемещения гильзы из отведенного назад рабочего положения в выдвинутое вперед предохраняющее положение.
Очевидные преимущества шприца в соответствии с настоящим изобретением состоят в том, что из стеклянного шприца можно сделать безопасный шприц посредством создания возможности укрытия иглы гильзой после выполнения инъекции.
Управляющий элемент выполнен как усеченно-конический блок, действующий совместно с хвостовыми лапками, когда поршень доходит до конца хода инъекции, таким образом, чтобы данные лапки отогнулись наружу для выхода зубцов цилиндра из прорезей хвостовых лапок.
Стопорное средство содержит пару центральных гибких лапок продольной формы, расположенных диаметрально противоположно в центральной части боковой стенки упомянутой гильзы, при этом в центральных лапках предусмотрены соответствующие зубцы, выступающие внутрь для входа в зацепление с соответствующими продольными пазами, выполненными в цилиндре.
Каждый из продольных пазов в цилиндре содержит заднюю опорную поверхность, которая упирается в соответствующий зубец центральных лапок гильзы, когда гильза находится в отведенном назад рабочем положении, и переднюю опорную поверхность, которая упирается в соответствующий зубец, когда гильза находится в выдвинутом вперед предохраняющем положении.
Стопорное средство содержит пару передних гибких лапок продольной формы, расположенных диаметрально противоположно в передней части боковой стенки гильзы, при этом передние лапки выполнены сходящимися внутрь и содержат опорную поверхность, способную упираться в передний торец цилиндра, когда гильза находится в выдвинутом вперед предохраняющем положении.
Каждая из центральных лапок и каждая из передних лапок образована соответствующей, по существу, U-образной прорезью, образованной, соответственно, в центральной части и передней части боковой стенки гильзы.
Другим объектом изобретения является предохранительный комплект для установки на шприц для образования безопасного шприца, содержащий цилиндр, пружину, гильзу и управляющий элемент, причем
цилиндр неразъемно закреплен на корпусе шприца,
гильза установлена на цилиндр с возможностью скольжения для перевода из отведенного назад рабочего положения, в котором игла, закрепленная на переднем конце корпуса шприца, выступает вперед из гильзы для выполнения инъекции, в выдвинутое вперед предохраняющее положение, в котором игла укрыта упомянутой гильзой,
пружина вставлена для функционирования между гильзой и цилиндром,
в цилиндре и в гильзе соответственно предусмотрены фиксирующее и стопорное средства для совместного фиксирования гильзы в определенной позиции, когда она находится в отведенном назад рабочем положении и выдвинутом вперед предохраняющем положении,
управляющий элемент неразъемно закреплен на хвостовой части штока поршня шприца и выполнен для совместного действия с упомянутым фиксирующим средством, когда поршень находится в конце хода инъекции для обеспечения возможности перемещения гильзы из отведенного назад рабочего положения в выдвинутое вперед предохраняющее положение.
Фиксирующее средство предохранительного комплекта содержит два зубца, радиально выступающих из упомянутого цилиндра в диаметрально противоположных направлениях для вхождения в соответствующие прорези, предусмотренные в двух хвостовых упругих лапках продольной формы, образованных в задней части боковой стенки упомянутой гильзы.
Управляющий элемент предохранительного комплекта выполнен как усеченно-конический блок, для совместного действия с хвостовыми лапками, когда поршень доходит до конца хода инъекции, таким образом, чтобы данные лапки отогнулись наружу для выхода зубцов цилиндра из прорезей хвостовых лапок.
Стопорное средство содержит пару центральных гибких лапок продольной формы, расположенных диаметрально противоположно в центральной части боковой стенки гильзы, при этом в центральных лапках предусмотрены соответствующие зубцы, выступающие внутрь для входа в зацепление с соответствующими продольными пазами, выполненными в цилиндре.
Каждый из продольных пазов в цилиндре содержит заднюю опорную поверхность, которая упирается в соответствующий зубец центральных лапок гильзы, когда гильза находится в отведенном назад рабочем положении, и переднюю опорную поверхность, которая упирается в соответствующий зубец, когда гильза находится в выдвинутом вперед предохраняющем положении.
Стопорное средство содержит пару передних гибких лапок продольной формы, расположенных диаметрально противоположно в передней части боковой стенки гильзы, при этом передние лапки выполнены сходящимися внутрь и содержат опорную поверхность, способную упираться в передний торец упомянутого цилиндра, когда гильза находится в упомянутом выдвинутом вперед предохраняющем положении.
Другие отличительные признаки настоящего изобретения очевидны из нижеследующего подробного описания, которое изложено со ссылками на вариант осуществления настоящего изобретения, приведенный исключительно для наглядности и, следовательно, не носящий ограничительного характера, и иллюстрированный прилагаемыми чертежами, на которых:
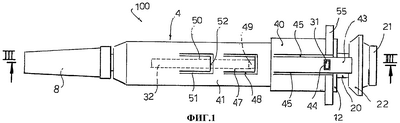
на фиг.1 – вид сверху безопасного шприца в соответствии с настоящим изобретением в положении готовности к использованию, с укрывающим иглу колпачком, закрепленным на наконечнике корпуса шприца,
на фиг.2 – осевой разрез безопасного шприца, показанного на фиг.1, с изображением корпуса шприца и штока в боковой проекции,
на фиг.3 – осевой разрез, взятый по плоскости сечения III-III, показанной на фиг.1, на котором шток поршня изображен в боковой проекции и в конце положения инъекции со снятым укрывающим иглу колпачком,
на фиг.4 – осевой разрез, аналогичный представленному на фиг.3, но с иглой в безопасном положении,
на фиг.5 – перспективный вид цилиндра для защиты корпуса шприца.
Описание безопасного шприца в соответствии с настоящим изобретением, обозначенного в целом позицией 100, приведено со ссылкой на чертежи.
Шприц 100 содержит корпус 1 шприца (показанный на. фиг.2 и 4), выполненный из стекла. Корпус 1 шприца является, по существу, цилиндром по форме и пустотелым внутри и имеет цилиндрическую полость, открытую спереди и сзади. Корпус 1 содержит на переднем конце наконечник 10, через который проходит игла 11. На заднем конце корпус 1 содержит фланец 12, который выступает из корпуса в радиальном направлении для облегчения удерживания корпуса пользователем.
Как видно на фиг.3, поршень 2, выполненный из резины, может скользить вдоль оси с герметичным уплотнением в цилиндрической полости корпуса 1 шприца. Поршень 2 опирается передней стороной на шток 20, выполненный из стекла или пластика. На хвостовом конце штока 20 имеется фланец 21, расположенный снаружи корпуса 1 шприца, чтобы им мог вручную управлять пользователь.
В хвостовой части штока 20 предусмотрен блок 22 в виде усеченного конуса (усеченно-конический), установленный на шток 20 около фланца 21 штока. Усеченно-конический блок 22 имеет сходящую на конус боковую поверхность с диаметром, который увеличивается в направлении хвостовой части штока 20.
Усеченно-конический блок 22 может быть выполнен неотъемлемой частью с задней частью штока или может быть отдельным элементом, посаженным на шток 20. В последнем случае в усеченно-коническом блоке 22 имеется осевое отверстие 24 для плотного надевания с передней стороны штока до упора в задний фланец 21 штока. В данном случае, в усеченно-коническом блоке 22 имеется кольцевая канавка 23 для придания эластичности.
На корпусе 1 шприца закреплен трубчатый цилиндр 3, который почти полностью закрывает боковую поверхность корпуса 1.шприца. Как видно на фиг.5, на переднем конце цилиндра 3 выполнен буртик 30, который радиально выступает наружу и, вследствие этого, образует кольцевую опорную поверхность 35.
На буртике 30 выполнены два зубца 31, которые радиально выступают наружу в диаметрально противоположных направлениях. В боковой поверхности цилиндра 3 выполнены два продольных паза 32 в диаметрально противоположных положениях, вровень с зубцами 31. При этом каждый продольный паз 32 создает заднюю опорную поверхность 33 и переднюю опорную поверхность 34.
Цилиндр 3 выполнен из пластика и, за счет упругости, с усилием надевается и фиксируется на стеклянном корпусе 1. Корпус 1 шприца с неразъемно закрепленным на нем цилиндром 3 устанавливают с возможностью скольжения в полую изнутри, по существу, цилиндрическую гильзу 4. При этом наконечник 10 корпуса 1 шприца выступает вперед по оси из гильзы 4, и на наконечник 10 устанавливают укрывающий иглу колпачок 8.
Гильза 4 содержит цилиндрическую заднюю часть 40 большего диаметра и цилиндрическую переднюю часть 41 меньшего диаметра, которые ограничивают изнутри кольцевую опорную поверхность 42. При этом, как видно на фиг.2, между кольцевой опорной поверхностью 35 буртика 30 цилиндра 3 и кольцевой опорной поверхностью 42 гильзы 4 вставлена винтовая пружина 6 сжатия, витки которой охватывают цилиндр 3.
Как нагляднее представлено на фиг.1, в боковой стенке части 40 большего диаметра гильзы образованы две хвостовые лапки 43. Хвостовые лапки 43 являются продольно ориентированными, расположенными диаметрально противоположно одна относительно другой и упругими. Каждая хвостовая лапка 43 содержит прямоугольную прорезь 44, в которую соответствующий зубец 31 буртика 30 заскакивает в зацепление так, чтобы прочно удерживать цилиндр 3 внутри гильзы 4.
Каждая хвостовая лапка 43 образована двумя продольными параллельными прорезями 45, которые доходят до конца части 40 большего диаметра. При этом каждая хвостовая лапка 43 может отгибаться в радиальном направлении наружу. Кроме того, у каждой хвостовой лапки 43 имеется хвостовой конец, который выступает назад за задний торец части 40 большего диаметра. На хвостовом конце каждой лапки 43 предусмотрена коническая поверхность 46 для облегчения контактного взаимодействия с конической поверхностью усеченно-конического блока 22 на штоке.
На заднем конце части 40 большего диаметра радиально выступает фланец 55 для облегчения удерживания пользователем. Задний фланец 55 гильзы отсутствует в области, где проходят хвостовые лапки 43, чтобы не создавать взаимных помех. В задней стенке фланца 55 гильзы предусмотрена кольцевая опорная поверхность, в которую упирается задний фланец 12 стеклянного корпуса 1 шприца.
В боковой стенке части 41 меньшего диаметра гильзы образованы две центральные лапки 47. Центральные лапки 47 являются продольно ориентированными, расположенными диаметрально противоположно одна относительно другой и упругими. Каждая центральная лапка 47 образована, по существу, U-образной прорезью 48, проделанной так, чтобы лапка могла радиально отгибаться наружу.
Каждая центральная лапка 47 содержит выступающий внутрь зубец 49, способный входить в зацепление с соответствующим продольным пазом 32 цилиндра 3. При этом когда корпус 1 шприца с цилиндром 3 вставляют в гильзу 4, центральные лапки 47 расходятся, а затем упруго защелкиваются обратно, когда зубцы 49 заскакивают в соответствующие пазы 32 в цилиндре.
В боковой стенке части 41 меньшего диаметра гильзы образованы две передние лапки 50. Передние лапки 50 являются продольно ориентированными и расположенными диаметрально противоположно одна относительно другой. Каждая передняя лапка 50 образована, по существу, U-образной прорезью 51, проделанной так, чтобы лапка могла радиально отгибаться наружу. В нормальном положении каждая передняя лапка 50 сходится внутрь и содержит на переднем конце опорную поверхность 52.
Ниже описан порядок работы шприца 100 в соответствии с настоящим изобретением.
Как видно на фиг.1 и фиг.2, в исходном состоянии пружина 6 сжата между кольцевой опорной поверхностью 35 буртика 30 цилиндра 3 и кольцевой опорной поверхностью 42 гильзы 4. Зубцы 31 цилиндра входят в зацепление в прорези 44 хвостовых лапок 43 гильзы и тем самым исключают любое осевое перемещение узла, состоящего их цилиндра 3 и корпуса 1, относительно гильзы 4. Кроме того, зубцы 49 центральных лапок 47 упираются в заднюю опорную поверхность 33 продольного паза 32 цилиндра и тем самым исключают любое осевое перемещение назад цилиндра 3 относительно гильзы 4.
Полость корпуса 1 предварительно заполнена раствором для инъекции. Затем, когда инъекция сделана, и поршень 2 доходит до конца хода в полости корпуса шприца, как показано на фиг.3, коническая поверхность усеченно-конического блока 22 контактно взаимодействует с конической поверхностью хвостовых концов 46 хвостовых лапок 43, в результате чего данные лапки радиально отгибаются наружу.
В результате зубцы 31 цилиндра 3 выходят из зацепления с прорезями 44 лапок 43, и гильза 4 больше не удерживается жестко связанной с узлом, состоящим из цилиндра 3 и корпуса 1 шприца. В результате, как видно на фиг.4, пружина 6, которая находилась в сжатом состоянии, освобождается, разжимается и вынуждает гильзу 4 смещаться вперед в осевом направлении относительно узла, состоящего из цилиндра и корпуса шприца, пока зубцы 49 центральных лапок 47 гильзы не дойдут до упора в соответствующие передние опорные поверхности 34 продольных пазов 32 цилиндра.
Указанное осевое перемещение гильзы 4 относительно узла, состоящего из цилиндра и корпуса шприца, является направленным, поскольку зубцы 49 центральных лапок 47 гильзы скользят в соответствующих пазах 32 цилиндра. Кроме того, когда хвостовой конец 52 передних лапок 50 гильзы проходит передний торец цилиндра 3, передние лапки 50 упруго сходятся внутрь.
В данном состоянии игла 11 укрыта в безопасном положении внутри гильзы 4. Следует отметить, что, когда шприц 100 находится в безопасном положении, всякое осевое перемещение гильзы 4 относительно узла, состоящего из цилиндра и корпуса шприца, исключается. Фактически, передний торец цилиндра 3 упирается в хвостовой конец 52 передних лапок 50, которые находятся в сведенном положении, а задние опорные поверхности 34 пазов 32 в цилиндре упираются в соответствующие зубцы 49 центральных лапок 47 гильзы.
Очевидно, что настоящее изобретение, кроме вышеописанного безопасного шприца 100, относится также к предохранительному комплекту, содержащему цилиндр 3, пружину 6, гильзу 4 и усеченно-конический блок 22, рассматриваемые как отдельные компоненты, которые применяют со стеклянным шприцом известного типа для создания из него безопасного шприца.
Специалистам в данной области очевидна возможность внесения в представленный вариант осуществления настоящего изобретения разнообразных изменений и дополнений, не выходящих за пределы 7 объема изобретения, определенного прилагаемой формулой.
Формула изобретения
1. Безопасный шприц (100), содержащий
стеклянный корпус (1) шприца, полый изнутри и открытый спереди и сзади,
поршень (2), установленный с возможностью скольжения в корпусе (1) шприца, при этом упомянутый поршень снабжен с задней стороны передвигаемым вручную штоком (20), выдвигаемым из корпуса шприца за хвостовой конец (21) штока, и
инъекционную иглу (11), закрепленную на переднем конце (10) корпуса
(1) шприца,
отличающийся тем, что данный шприц содержит
цилиндр (3), неразъемно закрепленный на упомянутом стеклянном корпусе (1) шприца,
гильзу (4), установленную на упомянутый цилиндр с возможностью скольжения для перевода из отведенного назад рабочего положения, в котором игла (11) выступает вперед из упомянутой гильзы для выполнения инъекции, в выдвинутое вперед предохраняющее положение, в котором игла (11) укрыта упомянутой гильзой (4),
фиксирующее и стопорное средства, соответственно предусмотренные в упомянутом цилиндре и в упомянутой гильзе для совместного фиксирования упомянутой гильзы (4) в определенной позиции, когда она находится в упомянутом отведенном назад рабочем положении и упомянутом выдвинутом вперед предохраняющем положении, и
управляющий элемент (22), неразъемно закрепленный на хвостовой части штока (20) поршня, чтобы совместным действием с упомянутым фиксирующим средством, когда поршень (2) находится в конце хода инъекции, обеспечить возможность перемещения упомянутой гильзы (4) из отведенного назад рабочего положения в выдвинутое вперед предохраняющее положение.
2. Безопасный шприц (100) по п.1, отличающийся тем, что упомянутый шприц содержит пружинный элемент (6), вставленный между упомянутой гильзой (4) и упомянутым цилиндром (3).
3. Безопасный шприц (100) по п.2, отличающийся тем, что один торец упомянутого пружинного элемента упирается в кольцевую опорную поверхность (42), ограниченную участком (40) большего диаметра и участком (41) меньшего диаметра упомянутой гильзы, а другой торец упомянутого пружинного элемента упирается в кольцевую опорную поверхность (35), образованную буртиком (30), выступающим наружу на переднем торце упомянутого цилиндра (3).
4. Безопасный шприц (100) по п.2, отличающийся тем, что упомянутое фиксирующее средство содержит два зубца (31), радиально выступающих из упомянутого цилиндра в диаметрально противоположных направлениях для вхождения в соответствующие прорези (44), предусмотренные в двух хвостовых упругих лапках (43) продольной формы, образованных в задней части боковой стенки упомянутой гильзы (4).
5. Безопасный шприц (100) по п.4, отличающийся тем, что каждая из упомянутых хвостовых лапок (43) образована двумя продольными параллельными прорезями в упомянутой боковой стенке гильзы, протяженностью до заднего конца гильзы, при этом хвостовой конец упомянутых лапок (43) выступает за задний торец гильзы.
6. Безопасный шприц (100) по п.4, отличающийся тем, что упомянутый управляющий элемент выполнен как усеченно-конический блок (22), действующий совместно с упомянутыми хвостовыми лапками (43), когда поршень (2) доходит до конца хода инъекции, таким образом, чтобы данные лапки отогнулись наружу для выхода упомянутых зубцов (31) цилиндра из упомянутых прорезей (44) хвостовых лапок.
7. Безопасный шприц (100) по п.2, отличающийся тем, что упомянутое стопорное средство содержит пару центральных гибких лапок (47) продольной формы, расположенных диаметрально противоположно в центральной части боковой стенки упомянутой гильзы (4), при этом в упомянутых центральных лапках (47) предусмотрены соответствующие зубцы (49), выступающие внутрь для входа в зацепление с соответствующими продольными пазами (32), выполненными в упомянутом цилиндре (3).
8. Безопасный шприц (100) по п.7, отличающийся тем, что каждый из упомянутых продольных пазов (32) в цилиндре (3) содержит заднюю опорную поверхность (33), которая упирается в соответствующий зубец (49) центральных лапок гильзы, когда упомянутая гильза (4) находится в отведенном назад рабочем положении, и переднюю опорную поверхность (34), которая упирается в соответствующий зубец (49), когда упомянутая гильза (4) находится в выдвинутом вперед предохраняющем положении.
9. Безопасный шприц (100) по п.2, отличающийся тем, что упомянутое стопорное средство содержит пару передних гибких лапок (50) продольной формы, расположенных диаметрально противоположно в передней части боковой стенки упомянутой гильзы, при этом упомянутые передние лапки (50) выполнены сходящимися внутрь и содержат опорную поверхность (52), способную упираться в передний торец упомянутого цилиндра (3), когда гильза (4) находится в упомянутом выдвинутом вперед предохраняющем положении.
10. Безопасный шприц (100) по п.9, отличающийся тем, что каждая из упомянутых центральных лапок (47) и каждая из упомянутых передних лапок (50) образована соответствующей, по существу, U-образной прорезью (48, 51), образованной соответственно в центральной части и передней части боковой стенки упомянутой гильзы.
11. Предохранительный комплект для установки на шприц для образования безопасного шприца, содержащий цилиндр (3), пружину (6), гильзу (4) и управляющий элемент (22), отличающийся тем, что
упомянутый цилиндр (3) неразъемно закреплен на корпусе (1) шприца,
упомянутая гильза (4) установлена на упомянутый цилиндр (3) с возможностью скольжения для перевода из отведенного назад рабочего положения, в котором игла (11), закрепленная на переднем конце корпуса (1) шприца, выступает вперед из упомянутой гильзы для выполнения инъекции, в выдвинутое вперед предохраняющее положение, в котором игла (11) укрыта упомянутой гильзой (4),
упомянутая пружина (6) вставлена для функционирования между упомянутой гильзой (4) и упомянутым цилиндром (3),
в упомянутом цилиндре (3) и в упомянутой гильзе (4) соответственно предусмотрены фиксирующее и стопорное средства для совместного фиксирования упомянутой гильзы в определенной позиции, когда она находится в упомянутом отведенном назад рабочем положении и упомянутом выдвинутом вперед предохраняющем положении,
упомянутый управляющий элемент неразъемно закреплен на хвостовой части штока (20) поршня шприца и выполнен для совместного действия с упомянутым фиксирующим средством, когда поршень находится в конце хода инъекции для обеспечения возможности перемещения упомянутой гильзы (4) из отведенного назад рабочего положения в выдвинутое вперед предохраняющее положение.
12. Предохранительный комплект по п.11, отличающийся тем, что упомянутое фиксирующее средство содержит два зубца (31), радиально выступающих из упомянутого цилиндра в диаметрально противоположных направлениях для вхождения в соответствующие прорези (44), предусмотренные в двух хвостовых упругих лапках (43) продольной формы, образованных в задней части боковой стенки упомянутой гильзы (4).
13. Предохранительный комплект по п.11, отличающийся тем, что упомянутый управляющий элемент выполнен как усеченно-конический блок (22), для совместного действия с упомянутыми хвостовыми лапками (43), когда поршень (2) доходит до конца хода инъекции, таким образом, чтобы данные лапки отогнулись наружу для выхода упомянутых зубцов (31) цилиндра из упомянутых прорезей (44) хвостовых лапок.
14. Предохранительный комплект по п.11, отличающийся тем, что упомянутое стопорное средство содержит пару центральных гибких лапок (47) продольной формы, расположенных диаметрально противоположно в центральной части боковой стенки упомянутой гильзы (4), при этом в упомянутых центральных лапках (47) предусмотрены соответствующие зубцы (49), выступающие внутрь для входа в зацепление с соответствующими продольными пазами (32), выполненными в упомянутом цилиндре (3).
15. Предохранительный комплект по п.14, отличающийся тем, что каждый из упомянутых продольных пазов (32) в цилиндре (3) содержит заднюю опорную поверхность (33), которая упирается в соответствующий зубец (49) центральных лапок гильзы, когда упомянутая гильза (4) находится в отведенном назад рабочем положении, и переднюю опорную поверхность (34), которая упирается в соответствующий зубец (49), когда упомянутая гильза (4) находится в выдвинутом вперед предохраняющем положении.
16. Предохранительный комплект по п.11, отличающийся тем, что упомянутое стопорное средство содержит пару передних гибких лапок (50) продольной формы, расположенных диаметрально противоположно в передней части боковой стенки упомянутой гильзы, при этом упомянутые передние лапки (50) выполнены сходящимися внутрь и содержат опорную поверхность (52), способную упираться в передний торец упомянутого цилиндра (3), когда гильза (4) находится в упомянутом выдвинутом вперед предохраняющем положении.
РИСУНКИ
|