|
|
(21), (22) Заявка: 2006116350/14, 03.05.2006
(24) Дата начала отсчета срока действия патента:
03.05.2006
(46) Опубликовано: 27.11.2007
(56) Список документов, цитированных в отчете о поиске:
RU 2048790 C1, 27.11.1995. RU 2281026 C2, 27.04.2006. ТИХОМИРОВ В.В. Биометрические системы. – М.: Наука, 1974, с.58-78. ТУЗОВ Г.И. Статистическая теория приема сложных сигналов. – М.: Радио и связь, 1977, с.51. RU 2206902 C1, 20.06.2003.
Адрес для переписки:
197348, Санкт-Петербург, Богатырский пр., 2, ЛенСпецСМУ, В.А. Заренкову
|
(72) Автор(ы):
Заренков Вячеслав Адамович (RU), Заренков Дмитрий Вячеславович (RU), Дикарев Виктор Иванович (RU), Ратников Вячеслав Альбертович (RU), Черкашин Дмитрий Викторович (RU), Шпита Иван Иванович (RU)
(73) Патентообладатель(и):
Заренков Вячеслав Адамович (RU), Заренков Дмитрий Вячеславович (RU), Дикарев Виктор Иванович (RU), Ратников Вячеслав Альбертович (RU), Черкашин Дмитрий Викторович (RU), Шпита Иван Иванович (RU)
|
(54) УСТРОЙСТВО ДЛЯ ДИСТАНЦИОННОГО НАБЛЮДЕНИЯ ЗА СОСТОЯНИЕМ БОЛЬНЫХ
(57) Реферат:
Предлагаемое устройство относится к медицине, в частности к диагностическим приборам. Устройство содержит центральный пульт, состоящий из ЭВМ с устройствами ввода и отображения информации соответственно, приемник электромагнитного сигнала, передатчик электромагнитного сигнала, датчики физиологических параметров пациента, блок преобразования информации, передатчик электромагнитного сигнала, приемник электромагнитного сигнала, блок управления и автономный источник питания всей аппаратуры, установленной на пациенте (i=1, 2,…, К). Каждый передатчик содержит задающий генератор, фазовый манипулятор, первый гетеродин, первый смеситель, усилитель первой промежуточной частоты, усилитель мощности, усилитель высокой частоты, второй гетеродин, второй смеситель, усилитель второй промежуточной частоты, перемножитель, полосовой фильтр и фазовый детектор. Устройство обеспечивает повышение помехоустойчивости и достоверности принимаемой информации за счет использования двух частот и сложных сигналов с фазовой манипуляцией. 8 ил.
Предлагаемое устройство относится к медицине, в частности к диагностическим приборам.
Известны устройства для дистанционного наблюдения за состоянием больных (авт. свид. СССР №№1811380, 1814538; патенты РФ №№2048790, 2089094, 2128004, 2181258, 2195168, 2232545, 2236169, 2242920, 2242921; патент WO 89/01312; Тихомиров В.В. Биотелеметрические системы. М.: Наука, 1974, с.58-78; Фролов М.В. Контроль функционального состояния человека-оператора. М.: Наука, 1987, с.40-42 и другие).
Из известных устройств наиболее близким к предлагаемому является “Устройство для дистанционного наблюдения за состоянием больных” (патент РФ №2048790, А61В 5/05, 1991), которое и выбрано в качестве прототипа.
Устройство содержит передатчик и приемник электромагнитных сигналов, пульт управления, датчик физиологических параметров, блок преобразования информации. Вход передатчика электромагнитного сигнала соединен с выходом центрального пульта управления. На пациенте располагают приемник электромагнитного сигнала с блоком управления. Обработку информации о физиологических параметрах всех наблюдаемых больных производит ЭВМ центрального пульта управления. Устройство позволяет существенно упростить и облегчить аппаратуру, носимую пациентом, наблюдать одновременно несколько пациентов и немедленно выдавать сигнал тревоги в случае ухудшения состояния наблюдаемых больных.
Однако используемая дуплексная радиосвязь построена таким образом, что все передатчики и приемники работают на одной несущей частоте. Поэтому передатчики оказывают негативное влияние на собственные приемники, снижая их помехоустойчивость и достоверность принимаемой информации.
Технической задачей изобретения является повышение помехоустойчивости и достоверности принимаемой информации за счет использования двух частот и сложных сигналов с фазовой манипуляцией.
Поставленная задача решается тем, что устройство для дистанционного наблюдения за состоянием больных, состоящее в соответствии с ближайшим аналогом из располагаемого на каждом из группы одновременно наблюдаемых пациентов измерительно-передающего блока, включающего в себя датчики физиологических параметров, блок преобразования информации, блок управления, передатчик и приемник электромагнитного сигнала, а также автономный источник питания, при этом выходы датчиков соединены с входами блока преобразования информации, выход которого соединен с входом передатчика электромагнитного сигнала, вход блока управления соединен с выходом приемника, а выход с входом блока преобразования информации, и центрального пульта управления, располагаемого в зоне уверенного приема электромагнитных сигналов, состоящего из ЭВМ с устройствами ввода и отображения информации, передатчика электромагнитного сигнала, вход которого соединен с выходом ЭВМ, и приемника электромагнитного сигнала, выход которого соединен с входом ЭВМ, отличается от ближайшего аналога тем, что в качестве электромагнитных сигналов использованы сложные сигналы с фазовой манипуляцией, каждый передатчик выполнен в виде последовательно включенных задающего генератора, фазового манипулятора, первого смесителя, второй вход которого соединен с первым выходом первого гетеродина, усилителя первой промежуточной частоты и усилителя мощности, выход которого подключен к передающей антенне, при этом второй вход фазового манипулятора центрального пульта управления соединен с выходом ЭВМ, а второй вход фазового манипулятора пациента соединен с выходом блока преобразования информации, каждый приемник выполнен в виде последовательно подключенных к приемной антенне усилителя высокой частоты, второго смесителя, второй вход которого соединен с первым выходом второго гетеродина, усилителя второй промежуточной частоты, перемножителя, второй вход которого соединен с вторым выходом первого гетеродина, полосового фильтра и фазового детектора, второй вход которого соединен с вторым выходом второго гетеродина, при этом выход фазового детектора центрального пульта управления подключен к входу ЭВМ, а выход фазового детектора пациента подключен к входу блока управления, передатчик центрального пульта управления излучает сложные сигналы с фазовой манипуляцией на частоте W1, а приемник принимает на частоте W2, а передатчик каждого наблюдаемого пациента, наоборот, излучает сложные сигналы с фазовой манипуляцией на частоте W2, а приемник принимает на частоте W1.
Структурная схема предлагаемого устройства представлена на фиг.1, структурная схема блока преобразования информации изображена на фиг.2, структурная схема блока управления приведена на фиг.3. Временные диаграммы, поясняющие работу устройства, представлены на фиг.4 и 5. Структурная схема передатчика и приемника центрального пульта управления изображена на фиг.6, структурная схема передатчика и приемника каждого наблюдаемого пациента изображена на фиг.7. Частотная диаграмма, поясняющая преобразование сигналов по частоте, представлена на фиг.8.
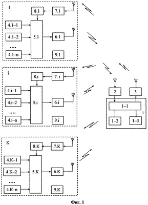
Устройство для наблюдения за состоянием больных содержит центральный пульт 1 управления, состоящий из ЭВМ 1-1 с устройствами 1-2 и 1-3 ввода и отображения информации соответственно, приемник 2 электромагнитного сигнала, передатчик 3 электромагнитного сигнала и регистраторы I, II, i, К биологических параметров, располагаемых на пациентах (i – номер пациента, который может принимать значения от 1 до К, где К – общее число наблюдаемых пациентов).
Выход приемника 2, представляющий собой шину стандартного интерфейса связи, соединен с входом ЭВМ 1-1 центрального пульта 1 управления. Передатчик 3 также соединен шиной стандартного интерфейса связи с выходом ЭВМ 1-1 центрального пульта 1 управления.
В состав регистраторов I, II, i. К, располагаемых на пациентах, входят датчики (4.i-1)÷(4.i-n) физиологических параметров i-го пациента (n -общее число, количество датчиков, устанавливаемых на i-ом пациенте), блок 5.i преобразования информации, передатчик 6.i электромагнитного сигнала, установленный на i-ом пациенте, приемник 7.i электромагнитного сигнала i-го пациента, блок 8.i управления i-го пациента, автономный источник 9.i питания всей аппаратуры, установленной на на i-ом пациенте, например аккумуляторная батарея.
Выходы датчиков (4.i-1)-(4.i-n) соединены с соответствующими входами блока 5.i преобразования информации, выход которого соединен с входом передатчика 6.i. Выход приемника 7.i соединен с входом блока 8.i управления, выход которого соединен с входом блока 5.i преобразования информации.
В качестве датчиков физиологических параметров могут быть использованы любые датчики, например измерители ЭКГ – пациентов (электроды для снятия биопотенциалов с усилителями), измерители температуры и другие. Основной функцией блока 5.i преобразования является преобразование измеренных аналоговых сигналов, соответствующих значениям измеряемых физиологических параметров, в последовательный двоичный код, который может модулировать излучаемый электромагнитный сигнал.
Блок 5.i преобразования информации состоит из коммутатора 10, аналого-цифрового преобразователя (АЦП) 11 и кодера 12. Входы коммутатора 10 соединены с выходами датчиков (4.i-1)-(4.i-n), а выход с входом АЦП 11. Выход последнего соединен с входом кодера 12, второй вход которого соединен с выходом блока 8.i управления. С помощью коммутатора 10 датчики (4.i-1)-(4.i-n) поочередно подключаются к входу АЦП 11, обеспечивающего преобразование аналоговой информации в параллельный двоичный код, который далее с помощью стандартного кодера 12 преобразовывается в последовательный двоичный код, например, в стандарте “Манчестер-2”.
Блок 8.i управления состоит из декодера 13, двух схем 14 и 15 сравнения кодов, двух 3У 16 и 17 хранения кодов управления, блока 18 временной задержки и схемы ИЛИ 19. Вход декодера 13 соединен с выходом приемника 7.i, а выход с входами двух схем 14 и 15 сравнения кодов, вторые входы которых соединен с выходами 3У 16 и 17 кодов управления. Выход первой схемы 14 сравнения кодов соединен через блок 18 временной задержки с первым входом схемы ИЛИ 19, а выход второй схемы 15 сравнения кодов непосредственно с вторым входом схемы ИЛИ 19, выход которой соединен с входом блока 5.i преобразования информации.
Каждый передатчик выполнен в виде последовательно включенных задающего генератора 20 (33), фазового манипулятора 21 (34), первого смесителя 23 (36), второй ход которого соединен с первым выходом первого гетеродина 22 (35), усилителя 24 (37) первой промежуточной частоты и усилителя 25 (38) мощности, выход которого подключен к передающей антенне. При этом фазовый манипулятор 21 центрального пульта управления соединен с выходом ЭВМ 1-1, а второй вход фазового манипулятора 34 каждого наблюдаемого пациента соединен с выходом блока 5.i преобразования информации.
Каждый приемник выполнен в виде последовательно подключенных к выходу приемной антенны усилителя 26 (39) высокой частоты, второго смесителя 28 (41), второй вход которого соединен с первым выходом второго гетеродина 27 (40), усилителя 29 (42) второй промежуточной частоты, перемножителя 30 (43), второй вход которого соединен с вторым выходом первого гетеродина, полосового фильтра 31 (44) и фазового детектора 32 (45), второй вход которого соединен с вторым выходом второго гетеродина 27 (40). Выход фазового детектора 32 центрального пульта управления подключен к выходу ЭВМ 1-1, а выход фазового детектора 45 наблюдаемого пациента подключен к блоку 8.i управления.
Основным условием неискаженной передачи информации в соответствии с теоремой Котельникова является:
Fon (3-4)·Fmax,
где Fon – частота опроса (частота проведения измерений) каждого физиологического сигнала;
Fmax – максимальное значение частоты физиологического сигнала.
Известно, что диапазон частот подавляющего числа физиологических сигналов лежит в пределах от 0 до 100 Гц. Следовательно, частота опроса (частота квантования) должна составлять 400-500 Гц.
В настоящее время реально достижимые значения времени преобразования АЦП у подобного рода устройств могут быть обеспечены в пределах 20 мкс, а скорость передачи информации по радиолинии связи до 1 Мбит/с. В этом случае за 20 мкс можно передать одно 20-разрядное слово.
Отсюда видно, что при выбранной скорости преобразования и передачи информации и частоте опроса 500 Гц можно одновременно передавать до 100 физиологических параметров. Если у каждого больного измерять и передавать 10 физиологических параметров, то в этом случае можно наблюдать одновременно за 10 больными. Если же число параметров, измеряемых у каждого больного, уменьшить до 5, то число наблюдаемых больных можно увеличить до 20.
Предлагаемое устройство работает следующим образом.
Рассмотрим в качестве примера два режима работы предлагаемого устройства:
а) режим работы по запросу;
б) режим работы с общей синхронизацией.
На фиг.4 приведены диаграммы, иллюстрирующие первый режим работы, на фиг.5 – второй режим. По оси абсцисс на всех диаграммах отложено время. На диаграммах А условно показаны командные кодовые посылки, передаваемые по командной линии связи от центрального пульта управления в аппаратуру каждого пациента.
Для этого задающий генератор 20 формирует гармоническое колебание:
Uc1(t)=Vc1·Cos(Wct+ c1), 0 t Tc1,
где Vc1, Wc, c1, Tc1 – амплитуда, несущая частота, начальная фаза и длительность колебания, которое поступает на первый вход фазового манипулятора 21, на второй вход которого подается модулирующий код M1(t) с выхода ЭВМ 1-1. В качестве модулирующего кода M1(t) может использоваться общий для всех пациентов код или код i-го наблюдаемого пациента. На выходе фазового манипулятора 21 образуется сложный сигнал с фазовой манипуляцией (ФМн):
U1(t)=Vc1·Cos[Wct+ к1(t)+ c1], 0 t Tc1,
где к1(t)={0, } – манипулируемая составляющая фазы, отображающая закон фазовой манипуляции в соответствии с модулирующим кодом, причем к1(t)=const при К· ээ и может изменяться скачком при t=К· э, т.е. на границах между элементарными посылками (К=1,…,N)
э N, – длительность и количество элементарных посылок, из которых составлен сигнал длительностью Тс1·(Тс1=N· э), который поступает на первый вход первого смесителя 23. На второй вход последнего подается напряжение первого гетеродина 22:
Uг1(t)=Vг1·Cos(Wг1t+ г1).
На выходе смесителя 23 образуются напряжения комбинационных частот. Усилителем 24 выделяется напряжение первой промежуточной (суммарной) частоты:
Uпр1(t)=Vпр1·Cos[Wпр1t+ к1(t)+ пр1], 0 t Tc1,
где Vпр1=К1·Vc1·Vг1;
K1 – коэффициент передачи смесителя;
Wпр1=Wc+Wг1 – первая промежуточная (суммарная) частота (фиг.8);
пр1= с+ г1.
Это напряжение после усиления в усилителе 25 мощности излучается передающей антенной в эфир на частоте W1=Wпр1, улавливается приемной антенной i-го наблюдаемого пациента и через усилитель 39 высокой частоты поступает на первый вход смесителя 41, на второй вход которого подается напряжение Uг1(t) гетеродина 40. На выходе смесителя 41 образуются напряжения комбинационных частот. Усилителем 42 выделяется напряжение второй промежуточной (разностной) частоты:
Uпр2(t)=Vпр2·Cos[Wпр2t+ к1(t)+ пр2], 0 t Tc1,
где Vпр2=1/2К1·Vпр1·Vг1
Wпр2=W1-Wг1 – вторая промежуточная (разностная) частота;
пр2= пр1– г1,
которое поступает на первый вход перемножителя 43. На второй вход перемножителя 43 поступает напряжение гетеродина 35:
Uг2(t)=Vг2·Cos(Wг2t+ г2).
При этом частоты Wг1 и Wг2 гетеродинов разнесены на значение второй промежуточной частоты (фиг.8):
Wг2-Wг1=Wпр2.
На выходе перемножителя 43 образуется напряжение:
U2(t)= V2·Cos[Wг1t- к+ г1], 0 t Tc1,
где V2=1/2К2·Vпр2·Vг2;
К2 – коэффициент передачи перемножителя;
которое выделяется полосовым фильтром 44 и поступает на первый (информационный) вход фазового детектора 45. На второй (опорный) вход фазового детектора 45 подается напряжение Uг1(t) гетеродина 40. На выходе фазового детектора 45 образуется низкочастотное напряжение:
Uн1(t)=Vн1·Cos к1(t),
где Vн1=1/2К3·V2·Vг1
К3 – коэффициент передачи фазового детектора, пропорциональное модулирующему коду M1(t). Это напряжение поступает в блок 8-i управления.
На диаграммах I, II, i, K показаны условно кодовые посылки, передаваемые по информационной линии связи от аппаратуры, располагаемой на пациенте, в центральный пульт управления. Каждой кодовой посылке, обозначенной на диаграммах арабскими цифрами, соответствует передаваемое значение измеряемого физиологического параметра.
В этом случае задающим генератором 33 также формируется гармоническое колебание:
Uc2(t)=Vc2·Cos(Wct+ с2), 0 t Тс2
которое поступает на первый вход фазового манипулятора 34, на второй вход которого подается модулирующий код M2(t) с выхода блока 5.i преобразования информации. В качестве модулирующего кода М2(t) используется кодовая посылка, соответствующая значению измеряемого физиологического параметра i-го наблюдаемого пациента.
На выходе фазового манипулятора 34 образуется сложный сигнал с фазовой манипуляцией (ФМн):
U3(t)=Vc2·Cos[Wct+ к2(t)+ c2], 0 t Tc2,
который поступает на первый вход смесителя 36, на второй вход которого подается напряжение Uг2(t) гетеродина 35.
На выходе смесителя 36 образуются напряжения комбинационных частот. Усилителем 37 выделяется напряжение промежуточной (разностной) частоты:
Uпр(t)=Vпр·Cos[Wпрt- к2(t)+ пр], 0 t Тс2,
где Vпр=1/2К1·Vc2·Vг2;
Wпр=Wг2-Wc -промежуточная (разностная) частота;
пр= c- г2.
Это напряжение после усиления в усилителе 38 мощности излучается передающей антенной в эфир на частоте W2=Wпр, улавливается приемной антенной центрального пульта и через усилитель 26 высокой частоты поступает на первый вход смесителя 28, на второй вход которого подается напряжение Uг2(t} гетеродина 27. На выходе смесителя 28 образуются напряжения комбинационных частот. Усилителем 29 выделяется напряжение второй промежуточной (разностной) частоты:
Uпр3(t)=Vпр3·Cos[Wпр2t+ к2(t)+ пр-3], 0 t Тс2,
где Vпр3=1/2К1·Vпр·Vг2;
Wпр2=Wг2-Wпр – вторая промежуточная (разностная) частота;
пр3= г2– пр,
которое поступает на первый вход перемножителя 30, на второй вход которого подается напряжение Uг1(t) гетеродина 22. На выходе перемножителя 30 образуется напряжение:
U4(t)=V4·Cos[Wг2t+ к2(t)+ г2], 0 t Тс2,
где V4=1/2К2·Vпр3·Vг1;
Wг2=Wпр2+Wг1;
г2= пр3+ г1,
которое выделяется полосовым фильтром 31 и поступает на первый (информационный) вход фазового детектора 32.
На второй (опорный) вход фазового детектора 32 подается напряжение Uг2(t) гетеродина 27. На выходе фазового детектора 32 образуется низкочастотное напряжение:
Uн2(t)=Vн2·Cos к2(t),
где Vн2=1/2К3·V4·Vг2;
пропорциональное модулирующему коду М2(t). Это напряжение поступает на вход ЭВМ 1-1.
При режиме работы по запросу (фиг.4) все командные кодовые посылки имеют различные значения: каждому пациенту присваивается свой код. Запуск программы опроса датчиков, измеряющих физиологические параметры в аппаратуре пациента, производится после принятия командного кода и его расшифровки (на диаграммах этот момент времени обозначен заштрихованными прямоугольниками). Частота опроса каждого пациента составляет 400-500 Гц, что соответствует полному циклу опроса всех пациентов 2-2,5 мс. Достоинством данного режима работы является его гибкость: при желании можно опрашивать не всех пациентов, а часть из них или даже одного пациента, но с более высокой частотой.
В случае применения режима работы с общей синхронизацией аппаратура всех пациентов настроена на один общий код, по которому производится одновременной запуск программных устройств аппаратуры всех пациентов (фиг.5). Эти программно-временные устройства настроены таким образом, что подключение каждого абонента к линии связи производится в определенный момент времени после приема синхронизирующего кода, поэтому отрезки времени передачи абонентами информации в центральный пункт разнесены между собой во времени. Достоинством данного режима работы является более короткий цикл передачи информации и более высокая помехоустойчивость. К недостаткам его следует отнести значительно меньшую гибкость: в данном случае невозможно изменять программу подключения абонентов с центрального пульта.
Однако предложенная выше схема блока 8.i управления (фиг.3) позволяет реализовать оба режима работы устройства. Делается это следующим образом. В ЗУ 17 каждому пациенту заносится свой код. В ЗУ 16 заносится один общий код для всех пациентов.
При работе по запросу с центрального пульта управления подается код, соответствующий коду, записанному в ЗУ 17. По этому коду включается аппаратура только одного выбранного пациента, производится измерение всех его физиологических параметров в соответствии с программой, и результат измерения в короткий отрезок времени после посылки управляющего кода передается по информационной линии связи в центральный пульт управления.
Затем с центрального пульта управления посылается код другого пациента и вся процедура повторяется. Так поочередно (с частотой 500 Гц) опрашиваются все наблюдаемые пациенты.
Данная система позволяет при необходимости изменять программу опроса, например опрашивать с более высокой частотой ограниченное число пациентов или даже одного пациента. Такая необходимость может возникнуть, например, при передаче миографической информации или при анализе вызванных ЭКГ-потенциалов, где требуется более высокая частота опроса.
В случае применения режима работы с общей синхронизацией с центрального пульта по командной линии связи подается код, соответствующий коду, записанному в ЗУ 16, общий для всех абонентов. По этому коду включение в работу аппаратуры каждого пациента производится в момент времени, определяемый блоком 18 времени задержки, который устанавливается индивидуально для каждого пациента таким образом, чтобы моменты опроса и передачи информации всех пациентов в центральный пульт были бы разнесены во времени.
Сформированными в результате опроса кодовыми посылками 1, 2, n, изображенными на диаграммах (фиг.4), модулируется излучаемый передатчиками 6 электромагнитный сигнал (фиг.1). Информация о физиологических параметрах всех пациентов, принятая приемником 2, вводится в ЭВМ 1-1 центрального пульта 1.
Далее производится математическая экспресс-обработка в реальном времени всех физиологических параметров наблюдаемых пациентов, и в случае отклонения их за допустимый предел у какого-либо пациента ЭВМ выдает сигнал тревоги с указанием номера пациента для принятия экстренных мер.
Кроме того, принятая информация может быть занесена в память ЭВМ для последующего более детального анализа.
По сравнению с известными мониторами, в том числе и мониторами, записывающими информацию на магнитную ленту, данное устройство позволяет расширить функциональные возможности:
– наблюдать в реальном времени сразу нескольких пациентов и немедленно выдавать сигнал тревоги в случае ухудшения состояния больных;
– производить последующий более подробный анализ полученной информации;
– существенно упростить, удешевить и облегчить аппаратуру, носимую пациентом, за счет того, что из состава аппаратуры исключается сложная ЭВМ или магнитофон, а вся обработка информации производится в ЭВМ центрального пульта управления.
Таким образом, предлагаемое устройство по сравнению с прототипом обеспечивает повышение помехоустойчивости и достоверности обмена дискретной информацией между центральным пультом управления и наблюдаемыми пациентами. Это достигается использованием двух частот W1, W2 и сложных ФМн-сигналов.
С точки зрения обнаружения данные сигналы обладают высокой энергетической и структурной скрытностью.
Энергетическая скрытность ФМн-сигналов обусловлена их высокой сжимаемостью во времени и по спектру при оптимальной обработке, что позволяет снизить мгновенную излучаемую мощность. Вследствие этого сложный ФМн-сигнал в точке приема может оказаться замаскированным шумами и помехами. Причем энергия сложного ФМн-сигнала отнюдь не мала, она просто равномерно распределена по частотно-временной области так, что в каждой точке этой области мощность сигнала меньше мощности шумов и помех.
Структурная скрытность сложных ФМн-сигналов обусловлена большим разнообразием их форм и значительными диапазонами изменений параметров, что затрудняет оптимальную или хотя бы квазиоптимальную обработку сложных ФМн-сигналов априорно неизвестной структуры с целью повышения чувствительности приемников.
Сложные ФМн-сигналы открывают новые возможности в технике передачи дискретных сообщений и их защиты от несанкционированного доступа. Указанные сигналы позволяют применять новый вид селекции – структурную селекцию. Это значит, что появляется возможность выделять сложные ФМн-сигналы среди других сигналов и помех, действующих в одной и той же полосе частот и в одни и те же/промежутки времени. Данная возможность реализуется сверткой спектра сложных ФМн-сигналов.
Формула изобретения
Устройство для дистанционного наблюдения за состоянием больных, состоящее из располагаемого на каждом из группы одновременно наблюдаемых пациентов измерительно-передающего блока, включающего в себя датчики физиологических параметров, блок преобразования информации, блок управления, передатчик и приемник электромагнитного сигнала, а также автономный источник питания, при этом выходы датчиков соединены с входами блока преобразования информации, выход которого соединен с входом передатчика электромагнитного сигнала, вход блока управления соединен с выходом приемника, а выход с входом блока преобразования информации, и центрального пульта управления, расположенного в зоне уверенного приема электромагнитных сигналов, состоящего из ЭВМ с устройствами ввода и отображения информации, передатчика электромагнитного сигнала, вход которого соединен с выходом ЭВМ, и приемника электромагнитного сигнала, выход которого соединен с входом ЭВМ, отличающееся тем, что каждый передатчик электромагнитного сигнала выполнен в виде последовательно включенных задающего генератора, фазового манипулятора, первого смесителя, второй вход которого соединен с первым выходом первого гетеродина, усилителя первой промежуточной частоты и усилителя мощности, выход которого подключен к передающей антенне, при этом второй вход фазового манипулятора центрального пульта управления является входом передатчика центрального пульта, а второй вход фазового манипулятора пациента является входом передатчика пациента, каждый приемник электромагнитного сигнала выполнен в виде последовательно подключенных к приемной антенне усилителя высокой частоты, второго смесителя, второй вход которого соединен с первым выходом второго гетеродина, усилителя второй промежуточной частоты, перемножителя, второй вход которого соединен с вторым выходом первого гетеродина, полосового фильтра и фазового детектора, второй вход которого соединен с вторым выходом второго гетеродина, при этом выход фазового детектора центрального пульта управления является выходом приемника центрального пульта, а выход фазового детектора пациента является выходом приемника пациента, передатчик центрального пульта управления выполнен с возможностью излучения сложных сигналов с фазовой манипуляцией на частоте W1, a приемник – с возможностью приема сигналов на частоте W2, а передатчик каждого наблюдаемого пациента выполнен с возможностью излучения сложных сигналов с фазовой манипуляцией на частоте W2, а приемник – с возможностью приема сигналов на частоте W1.
РИСУНКИ
MM4A – Досрочное прекращение действия патента СССР или патента Российской Федерации на изобретение из-за неуплаты в установленный срок пошлины за поддержание патента в силе
Дата прекращения действия патента: 04.05.2008
Извещение опубликовано: 10.06.2010 БИ: 16/2010
|
|