|
|
(21), (22) Заявка: 2005133705/11, 05.11.2003
(24) Дата начала отсчета срока действия патента:
05.11.2003
(30) Конвенционный приоритет:
02.04.2003 (пп.1-7) IT TV2003A000058
(43) Дата публикации заявки: 20.03.2006
(46) Опубликовано: 27.11.2007
(56) Список документов, цитированных в отчете о поиске:
ЕР 0521510 А1, 07.01.1993. RU 96115169 А, 20.10.1998. US 5287797 A, 22.02.1994. ЕР 0468079 А1, 29.01.1992. ЕР 0211511 А1, 25.02.1987. FR 2211924 А, 19.07.1974.
(85) Дата перевода заявки PCT на национальную фазу:
02.11.2005
(86) Заявка PCT:
EP 03/12338 (05.11.2003)
(87) Публикация PCT:
WO 2004/087529 (14.10.2004)
Адрес для переписки:
103735, Москва, ул. Ильинка, 5/2, ООО “Союзпатент”, пат.пов. Л.С.Кишкиной
|
(72) Автор(ы):
ЗАНЭТТИ Мартино (IT)
(73) Патентообладатель(и):
ХАУСБРАНДТ ТРИЕСТЕ 1892 СПА (IT)
|
(54) ПЛАСТИКОВАЯ КАПСУЛА, СОДЕРЖАЩАЯ ОДНУ ПОРЦИЮ РАСТВОРИМОГО КОФЕ И АНАЛОГИЧНЫХ НАПИТКОВ
(57) Реферат:
Изобретение относится к изготовленной из литьевой пластмассы капсуле, содержащей одну порцию и предназначенной для кофе или иных пищевых исходных материалов, используемых для приготовления напитков посредством перколяции. Капсула содержит корпус (10), имеющий верхний периферийный край (12) и нижний периферийный край (14), к которым крепятся соответственно верхняя запечатывающая фольга (13) и нижняя запечатывающая фольга (17). Капсула также содержит нижнюю торцевую перегородку (16), являющуюся вставкой по отношению к нижнему краю (14). Верхняя камера (25) заполняется исходным материалом и образована между верхней запечатывающей фольгой (13) и торцевой перегородкой (16), которая содержит центральную сердцевину и множество радиальных ребер (26), направленных вниз, расположенных вокруг центральной сердцевины и предназначенных для разделения между собой соответствующих сегментов, в которых выполнены отверстия (24), в результате чего образуется нижняя камера (30), находящаяся под верхней камерой (25). Напиток при перколяции его через отверстия (24) получает турбулентное движение и заполняет нижнюю камеру (30) перед тем, как напиток начинает разливаться в подставленный контейнер через отверстие, образовавшееся в момент вскрывания или разрывания указанной нижней фольги (17). Техническим результатом изобретения является получение напитка высокого качества. 6 з.п. ф-лы, 4 ил.
Настоящее изобретение относится к изготовленной из литьевой пластмассы капсуле, содержащей одну порцию и предназначенной для кофе или иных пищевых исходных материалов, используемых для приготовления напитков посредством перколяции.
По существу, капсула состоит из корпуса, имеющего форму усеченного конуса, заполняемого растворимым кофе (или иным порошкообразным исходным материалом), с периферийным краем, на который накладывается защитная фольга. Во время использования капсулы в профессиональной и/или бытовой машине для приготовления кофе эспрессо и/или других горячих напитков фольга под давлением, создаваемым в капсуле, направляется вниз, а именно в противоположную сторону относительно места поступления горячей воды, находящейся под давлением.
В качестве типичного примера, демонстрирующего уровень техники в данной области, Заявитель ссылается на Европейский патент ЕР-А-0521510, который предусматривает формирование из указанной фольги плоского днища капсулы и создание зон уменьшенной толщины для того, чтобы во время приготовления напитка под напором вертикальной струи воды, пропускаемой через порошкообразный исходный материал, происходило разрывание фольги.
Напиток, получаемый в результате перколяции, проходит по недоступным трубам машины для приготовления кофе и затем распределяется.
Использование стандартных капсул, по причине их индивидуальной конструктивной разработки, имеет определенный недостаток, заключающийся в невозможности обеспечения абсолютной чистоты внутренних труб, а также при этом существует опасность брожения или разложения жировых веществ, содержащихся в напитке (в частности, в кофе). Наименее отрицательным последствием в данном случае является нежелательное изменение вкусовых качеств напитка.
Кроме того, совершенно определенно, что из-за наличия указанных труб процесс эмульгирования жировых веществ в кофе, а именно получение сливочной кофейной текстуры с пенкой, что делает итальянский кофе эспрессо таким популярным во всем мире, становится еще более сложным по сравнению с использованием сыпучего растворимого кофе.
Из других документов, демонстрирующих уровень техники в данной области, следует назвать Европейские патенты ЕР-А-469079 и ЕР-А-512-148, а также патент США US-A-5287797.
Задачей настоящего изобретения является создание такой изготавливаемой из литьевой пластмассы капсулы, содержащей кофе и другие исходные материалы и предназначенной для приготовления напитков посредством перколяции, которая не имеет вышеуказанного недостатка и позволит получать высококачественные напитки.
Указанные и другие задачи изобретения достигаются с помощью предлагаемой капсулы, имеющей отличительные признаки, которые указаны в прилагаемой формуле изобретения и будут разъяснены в следующем ниже описании неисключительного примера осуществления изобретения, ведущемся со ссылками на прилагаемые чертежи, на которых:
фиг.1 – проекция на виде сверху открытой капсулы согласно изобретению;
фиг.2 – проекция на виде снизу;
фиг.3 – вид сверху;
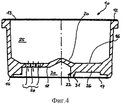
фиг.4 – поперечный разрез капсулы по линии А-А на фиг.3.
В соответствии с настоящим изобретением капсула состоит из корпуса 10, имеющего неярко выраженную форму усеченного конуса, изготовленного методом горячей формовки из листа полипропилена для пищевого использования. Корпус 10 имеет сплошной верхний периферийный край 12, выступающий наружу, и нижний край 14, не выступающий наружу. Верхний край 12 предназначен для герметизации фольгой из пластикового материала и/или алюминия. Фольга такого рода для использования ее в контейнерах, содержащих одно порцию пищевых продуктов, известна специалистам в данной области техники, в связи с чем нет необходимости подробно описывать использование такой фольги.
В соответствии с отличительным признаком настоящего изобретения, торцевая перегородка 16 корпуса 10, по существу, является вставкой по отношению к нижнему краю 14, которая расположена, как это хорошо видно на фиг.4, между краем 14 и наружной поверхностью 18 торцевой перегородки 16, обеспечивая получение, по меньшей мере, двух ступеней. Таким образом, снизу верхней камеры 25, содержащей порошкообразный исходный материал, образуется нижняя камера 30, причем указанная камера способна принимать и разливать процеженный напиток, что более подробно описывается здесь ниже, и эта камера запечатана второй фольгой 17. Такая вторая фольга предпочтительно изготавливается из трехслойной пленки в сочетании с алюминием, обеспечивая герметичность и гигиеничность капсулы, и нет необходимости более подробно описывать указанную фольгу для использования ее в тех же целях, что и приведенные выше при описании фольги 13.
В соответствии с другим отличительным признаком настоящего изобретения, вокруг центральной сердцевины торцевой перегородки 16 корпуса 10, имеющей верхнюю часть 20, выполненную в виде конической вершины, и, по существу, цилиндрическую нижнюю часть 22, состоящую из нескольких более длинных цилиндрических сегментов 31, отделенных друг от друга более короткими цилиндрическими сегментами 32 (см. фиг.2), предусматривается наличие множества отверстий 24, распределенных по сегментам и разделенных радиальными ребрами 26 (см. фиг.2 и 4).
Настоящая капсула используется в машине, оборудованной перфорационным или сверлильным устройством, способным обеспечить прохождение поступающей горячей воды, находящейся под давлением, через верхнюю фольгу 13 (не показано) и выходное отверстие (также не показано), образующееся непосредственно во второй фольге 17 непосредственно перед началом перколяции напитка через отверстия 24. Благодаря совместному действию горячей воды, находящейся под давлением и подаваемой сверху в капсулу, а также торцевой перегородки 16, имеющей соответствующую форму и, в частности, радиальные ребра 26, напиток получает турбулентное движение и заполняет указанную нижнюю камеру 30, что обеспечивает эмульгирование жировых веществ. Например, таким способом получается высококачественный итальянский кофе со сливками.
Причем напиток разливается непосредственно в подставленную чашку или стакан через отверстие, образовавшееся во второй фольге 17, не проходя при этом через традиционные трубы, расположенные внутри машины, в результате чего отсутствует опасность возникновения брожения, упомянутого выше в настоящем описании.
Несмотря на то, что описание, представленное здесь выше, относится к предпочтительному примеру осуществления изобретения, понятно, что настоящее изобретение может быть усовершенствовано по своей форме и иметь различные варианты, не выходящие за рамки нижеследующей формулы изобретения.
Формула изобретения
1. Капсула для приготовления одной порции перколированного напитка из порошкообразного исходного материала, к примеру такого, как кофе, содержащая
корпус (10), имеющий верхний периферийный край (12) и нижний периферийный край (14), к которым крепятся соответственно верхняя запечатывающая фольга (13) и нижняя запечатывающая фольга (17),
нижнюю торцевую перегородку (16), снабженную отверстиями (24) и являющуюся вставкой по отношению к нижнему краю (14),
верхнюю камеру (25), заполняемую исходным материалом, которая образована между верхней запечатывающей фольгой (13) и торцевой перегородкой (16), отличающаяся тем, что торцевая перегородка (16) содержит центральную сердцевину и множество радиальных ребер (26), направленных вниз, расположенных вокруг центральной сердцевины и предназначенных для разделения между собой соответствующих сегментов, в которых выполнены отверстия (24), в результате чего образуется нижняя камера (30), находящаяся под верхней камерой (25), а также тем, что напиток при перколяции его через отверстия (24) получает турбулентное движение и заполняет нижнюю камеру (30) перед тем, как напиток начинает разливаться в подставленный контейнер через отверстие, образовавшееся в момент вскрывания или разрывания указанной нижней фольги (17).
2. Капсула по п.1, отличающаяся тем, что центральная сердцевина торцевой перегородки (16) капсулы имеет верхнюю часть (20), выполненную в виде конической вершины, и нижнюю часть (22), являющуюся, по существу, цилиндрической.
3. Капсула по п.2, отличающаяся тем, что, по существу, цилиндрическая нижняя часть (22) центральной сердцевины торцевой перегородки (16) капсулы состоит из нескольких более длинных цилиндрических сегментов (31), отделенных друг от друга более короткими цилиндрическими сегментами (32).
4. Капсула по п.1, отличающаяся тем, что нижняя запечатывающая фольга (17) представляет собой трехслойную пленку в сочетании с алюминием.
5. Капсула по п.1, отличающаяся тем, что корпус 10 имеет неярко выраженную форму усеченного конуса и предпочтительно изготавливается методом горячей формовки из полипропилена, совместимого с пищевыми продуктами.
6. Капсула по п.1, отличающаяся тем, что верхний край (12) корпуса (10) выполнен сплошным и выступает наружу.
7. Капсула по п.1, отличающаяся тем, что нижний край (14) корпуса (10) не выступает наружу.
РИСУНКИ
|
|