|
|
(21), (22) Заявка: 2005136993/09, 28.11.2005
(24) Дата начала отсчета срока действия патента:
28.11.2005
(30) Конвенционный приоритет:
17.03.2005 (пп.1-10) EP 05290613.8
(43) Дата публикации заявки: 10.06.2007
(46) Опубликовано: 20.11.2007
(56) Список документов, цитированных в отчете о поиске:
WO 03067822 А, 14.08.2003. RU 2002133413 А, 20.06.2004. US 2003037163 A1, 20.02.2003. US 2022023171 A1, 21.02.2002.
Адрес для переписки:
129010, Москва, ул. Б. Спасская, 25, стр.3, ООО “Юридическая фирма Городисский и Партнеры”, пат.пов. Ю.Д.Кузнецову, рег.№ 595
|
(72) Автор(ы):
КЕЛЛЕР-ТЬЮБЕРГ Стефан Пол (AU)
(73) Патентообладатель(и):
АЛЬКАТЕЛЬ (FR)
|
(54) СПОСОБ ОБМЕНА ПАКЕТАМИ ПОЛЬЗОВАТЕЛЬСКИХ ДАННЫХ
(57) Реферат:
Изобретение относится к области сетей связи. Технический результат заключается в обеспечении возможности взаимной идентификации терминала и поставщика услуг. Сущность изобретения заключается в том, что первая сеть подключена ко второй сети шлюзом, имеющим уникальное подключение к поставщику услуг, терминал имеет первый адрес, являющийся уникальным в первой сети, и терминал может быть реконфигурирован с использованием второго адреса, уникально идентифицирующего конкретную услугу от поставщика услуг и являющегося уникальным во второй сети, причем способ содержит этапы: назначение терминалу первого адреса, являющегося уникальным в первой сети; пересылки первого пакета пользовательских данных, содержащих первый и второй адреса, от терминала к поставщику услуг, который идентифицирует первый пакет по наличию второго адреса и извлекает первый адрес из первого пакета; и пересылки второго пакета пользовательских данных, содержащих первый адрес, от поставщика услуг к терминалу, который идентифицирует второй пакет по наличию первого адреса. 9 з.п. ф-лы, 2 ил.
Изобретение относится к способу обмена пакетами пользовательских данных между терминалом первой сети и поставщиком услуг второй сети.
Необходимым условием обмена данными между поставщиком услуг и терминалом является установление средства для обеспечения взаимной идентификации при текущих коммуникациях. В случае, когда поставщик услуг представляет собой поставщика услуг Internet, например, DSL или другую широкополосную сеть, развернутую для услуг высокоскоростного Internet, а терминал – абонентский терминал домашней LAN, такое средство обычно обеспечивается поставщиком услуг Internet путем присваивания терминалу уникального IP-адреса. При этом поставщик услуг Internet следует принципу назначения IP-адреса, обеспечивающему присвоение одного и того же IP-адреса не более чем одному абонентскому терминалу.
Если предполагается предложение второй или следующей услуги, например видеоуслуги, от поставщика видеоуслуг, то желательно, чтобы стратегия назначения IP-адреса для новой услуги не противоречила существующей стратегии назначения IP-адреса поставщика услуг Internet. Следовательно, при подключении телеприставки абонента Internet к его домашней LAN должно обеспечиваться как продолжение подключения домашних компьютеров абонента к ISP, так и подключение новой телеприставки (видеотерминала) к поставщику видеоуслуг.
Обычно услуги высокоскоростного Internet предоставляются через компьютеры, а видеоуслуги – через телеприставки или персональные видеомагнитофоны. Каждый поставщик услуг обычно назначает свой собственный IP-адрес, маску подсети, шлюз по умолчанию и DNS так, чтобы абонент мог подключить соответствующее оборудование к соответствующей службе поставщика услуг. Когда абонент требует двух или более поставщиков услуг, это обычно означает необходимость двух отдельных IP-конфигураций.
В идеальном случае абонент только подключает новую телеприставку к своей домашней LAN, так как кабель уже имеется и DSL-модем (например) тоже. Однако в настоящее время для обеспечения возможности связи с соответствующим поставщиком услуг компьютер и телеприставка должен принимать свою IP-конфигурацию.
Один подход состоит в том, чтобы статически конфигурировать маршруты, подсети и шлюзы по умолчанию в DSL-модеме, или телеприставке, или компьютере, или в нескольких из этих устройств.
Другой подход заключается в прокладке нового кабеля LAN по дому и создании двух независимых домашних LAN: одной для передачи данных и одной для новой видеоуслуги.
Третий подход предполагает сотрудничество поставщика новой видеоуслуги с поставщиком услуг Internet (ISP) в выборе схемы назначения совместимых IP-адресов. Почти во всех случаях без исключения для назначения конфигурации (IP-адреса, маски подсети, шлюза по умолчанию, DNS) для услуг высокоскоростного Internet используется протокол DHCP. Видеоуслуга должна быть отображена в этом назначении.
Большинство ISP’ов использует протокол DHCP, чтобы не вынуждать абонента вручную конфигурировать параметры настройки в своих модеме и компьютере. DHCP не позволяет достичь успеха при более чем одном поставщике услуг и более чем одном DHCP-сервере, так как DHCP не имеет никакой встроенной концепции множественного обслуживания. DHCP может использоваться только в том случае, когда поставщик видеоуслуг сотрудничает с поставщиком услуг высокоскоростного Internet и один из этих двух поставщиков услуг несет ответственность за обслуживание DHCP. На большинстве рынков DSL присутствуют десятки или сотни различных ISP, предлагающих услуги, что обусловливает для поставщика видеоуслуг сложность создания этих многих различных схем. Это сложно также в случае желания заказчика перейти от одного поставщика услуг к другому.
В качестве альтернативы поставщик видеоуслуг может предпринимать попытки объяснить, как реконфигурировать оборудование абонента для поддержания видео и передачи данных. Трудность этого подхода, как указано выше, заключена в том, что имеется множество различных типов оборудования конечного пользователя и множество различных ISP’ов. В любом случае большинство абонентов не имеют технических навыков для уверенного реконфигурирования параметров своих IP-адресов. При этом легко наделать ошибок, а их устранение может быть для поставщика услуг трудным и дорогим делом. Фиксация ошибки может часто приводить к необходимости вызова специалиста на дом к абоненту, что является дорогостоящей услугой.
Уход от проблемы множественной IP-конфигурации путем создания второй сети Ethernet внутри дома является интересным решением, но создание новой сети может быть дорогим мероприятием и иногда затруднительным в старом доме. Обычно абонент также сталкивается с необходимостью покупки нового DSL-модема, который может поддерживать два независимых порта Ethernet, так как большинство DSL-модемов поддерживает только одну локальную сеть. Большинство абонентов предпочло бы не тратиться на повторную прокладку кабеля и покупку нового модема в случае предоставления какой-либо возможности многократного использования уже имеющихся кабеля и модема.
Многие DSL-модемы в настоящее время реализуют возможности совместного использования адресов, при котором один адрес сети общего пользования разделен между по возможности большим числом компьютеров или видеоустройств. Если абонент подключает телеприставку или другое видеоустройство к домашней LAN, то адрес, сконфигурированный для этого устройства, может совпадать с адресом, назначенным устройствам других абонентов их соответствующими модемами. Таким образом, видеотерминал не имеет уникального IP-адреса для связи с централизованным видеосервером.
Цель изобретения
Цель изобретения заключается в создании способа обмена пакетами пользовательских данных между терминалом первой сети и поставщиком услуг второй сети, обеспечивающего возможность взаимной идентификации терминала и поставщика услуг.
Краткое описание изобретения
Эта цель достигается указанным выше способом, в соответствии с которым первая сеть подключена ко второй сети шлюзом, имеющим уникальное подключение к поставщику услуг, терминал имеет первый адрес, являющийся уникальным в первой сети, и может быть реконфигурирован с использованием второго адреса, уникально идентифицирующего конкретную услугу от поставщика услуг и являющегося уникальным во второй сети, причем способ содержит этапы: назначение терминалу первого адреса, являющегося уникальным в первой сети; пересылки первого пакета пользовательских данных, содержащих первый и второй адреса, от терминала к поставщику услуг, который идентифицирует первый пакет по наличию второго адреса и извлекает первый адрес из первого пакета; и пересылки второго пакета пользовательских данных, содержащих первый адрес, от поставщика услуг к терминалу, который идентифицирует второй пакет по наличию первого адреса.
С помощью этого способа обеспечивается возможность взаимной идентификации терминала и поставщика услуг даже в случае, когда в первой сети присутствует несколько терминалов, а во второй сети – несколько поставщиков услуг, и политики назначения адресов разных поставщиков услуг противоречат одна другой. В вышеупомянутом способе первый пакет может быть послан по второму адресу, а второй пакет – по первому адресу, но возможно также использовать первый и второй адреса только в качестве идентификаторов и, как будет описано ниже, осуществлять передачу пакетов между терминалом и поставщиком услуг, не используя адреса в качестве указателей.
В предпочтительном варианте уникальное подключение представляет собой виртуальное подключение и поставщик услуг уникально идентифицирует шлюз на основе идентичности виртуального подключения, по которому трафик поступает от шлюза к поставщику услуг. В случае, когда вторая сеть – Internet, для передачи данных используется протокол Internet (IP). Традиционно работа приложений, использующих IP, основывается на уникальном IP-адресе для каждого терминала или каждого приложения. Уникальность IP-адреса традиционно позволяет серверам однозначно идентифицировать отправителя каждого сообщения. Однако уникальность подключения к серверу, через который получено сообщение, означает соединение этого сервера с уникальным и известным адресатом и возможность принятия сервером решения об идентичности отправителя на основе идентичности подключения, через которое сообщение было доставлено. Если соединение поставщика услуг типа видеосервера осуществляется с использованием технологий, ориентированных на подключение, то все сообщения, поступающие на видеосервер в оконечное устройство пути конкретного абонента, несомненно отправлены из шлюза этого абонента, независимо от IP-адреса, используемого видеоборудованием абонента.
В дополнительном предпочтительном варианте уникальное виртуальное подключение установлено посредством адресации ATM VP/VC и/или идентификаторов VLAN ID’ов, причем поставщик услуг в предпочтительном варианте выполняет стекирование VLAN. Некоторые общедоступные технологии услуг высокоскоростной передачи данных (например, ADSL) являются ориентированными на подключение. Несмотря на то, что DSL-подключения в большинстве случаев развертываются с использованием ATM-организации сетей (с использованием адресации ATM VP/VC), поставщики услуг (типа видеосерверов) в большинстве случаев используют при развертывании Ethernet-организацию сетей. Сети Ethernet, как правило, работают без установления подключения. Однако технология, известная как тегирование VLAN, была стандартизирована IEEE как 802.1q для обеспечения возможности разбиения сетей Ethernet на фактически уникальные LAN. Сети VLAN могут быть использованы для распространения ATM-концепции виртуального подключения на сеть Ethernet без установления подключения путем назначения уникального отображения одного VLAN ID для каждого конфигурируемого ATM VP/VC. Таким образом, уникальное ATM-подключение от конкретного абонента DSL может быть отображено в уникальном VLAN ID, оканчивающемся конкретным видеосервером.
Согласно стандарту IEEE 802.1q число тегов VLAN ID, используемых в Ethernet, может достигать 4096. В тех приложениях, в которых этого недостаточно, например, когда требуется более чем 4096 уникальных подключений, теги VLAN могут быть подвергнуты “стекированию” таким образом, чтобы VLAN содержалась внутри VLAN, и в настоящее время стекирование VLAN получает все большее распространение в современном коммутационном оборудовании LAN. Для того чтобы поддерживать пути, ориентированные на сквозное подключение между серверами на основе Ethernet и абонентами на основе ATM, стекирование VLAN на сервере может быть отображено в ATM VP/VC’ах от абонентов в соответствующем сетевом устройстве.
Хитрость теперь состоит в том, что первый групповой пакет от шлюза абонента к поставщику услуг поступает к поставщику услуг с (стекированным) VLAN-заголовком. Поставщик услуг должен обратить внимание на входящий (стекированный) VLAN ID на каждом входящем пакете, чтобы обеспечить ответ соответствующему заказчику путем обратной пересылки ответа с тем же самым (стекированным) VLAN ID. Таким образом, поставщик услуг может допустить одного заказчика, использующего на своей домашней LAN диапазон IP-адресов, который используют также один или более других заказчиков: теги VLAN уникально идентифицируют каждого заказчика.
В дополнительном варианте способа поставщик услуг является одним из множества поставщиков услуг, каждый из которых предоставляет как видеоуслуги и услуги Internet, так и другие услуги, и поставщики, которые не предоставляют конкретную услугу, соответствующую второму адресу, игнорируют первый пакет пользовательских данных. Когда имеется несколько поставщиков услуг, первый пакет пересылается необязательно только поставщику услуг, который предлагает конкретную услугу, желаемую абонентом, возможна и пересылка этого пакета другим поставщикам услуг. В этом случае поставщики услуг, которые не предоставляют конкретной услуги, обнаруживают, что они могут отказаться от первого пакета пользовательских данных путем нераспознавания второго адреса.
В дополнительном предпочтительном варианте первый пакет пользовательских данных представляет собой многоадресный пакет данных, второй адрес является групповым адресом, а шлюз копирует пакет и передает его каждому из множества поставщиков услуг. Групповой пакет, являющийся отдельным классом IP-пакетов, позволяет избегать сложности, связанной с обязательным требованием явной конфигурации адресов или маршрутов назначения. Это обусловлено тем, что устройства IP-перенаправления типа мостов или маршрутизаторов 2-го уровня часто конфигурируют так, чтобы копировать групповые пакеты на каждом из их исходящих подключений. Таким образом, если устройство заказчика типа телеприставки пересылает групповой пакет на домашнюю LAN, модем абонента делает копию группового пакета и пересылает ее ISP, а вторую копию группового пакета пересылает поставщику видеоуслуги.
Настоящее изобретение предполагает, что приложение видеоуслуги абонента, выполняемое в видеотерминале, пересылает групповые пакеты данных для управления видеопоставщику видеоуслуги специально, чтобы избежать необходимости конфигурирования модема заказчика для поддержки протокола маршрутизации, необходимости статического конфигурирования модема абонента с использованием маршрутов к поставщику видеоуслуги и необходимости конфигурирования устройства телеприставки с использованием адреса шлюза по умолчанию и маски подсети.
В особенно целесообразном варианте первая сеть представляет собой LAN, первый адрес является IP-адресом, а вторая сеть – Internet. В этом варианте в предпочтительном случае шлюз содержит DSL-модем или другое устройство широкополосного доступа и DHCP-сервер для назначения терминалу IP-адреса.
В дополнительном предпочтительном варианте после обмена пакетами пользовательских данных терминал и поставщик услуг могут участвовать в текущих коммуникациях с помощью ряда различных средств, использующих ряд протоколов. Фактически способ обмена пакетами данных остается нереализованным до начала текущих коммуникаций и цель начального обмена двумя пакетами состоит в обеспечении возможности установления средства для взаимной идентификации поставщика услуг и терминала при текущих коммуникациях.
Также целесообразным является случай, когда второй пакет пользовательских данных представляет собой многоадресный пакет. В этом случае поставщик услуг пересылает второй пакет к шлюзу абонента, который подключает вторую сеть к персональной первой сети абонента. Шлюз передает пакет в первую сеть, где все терминалы его принимают. Так как второй пакет содержит первый адрес, уникально присвоенный конкретному терминалу в первой сети, из которой первый пакет отправлен, другие терминалы в первой сети отказываются от второго пакета.
Дополнительные преимущества изобретения могут быть выявлены из описания и прилагаемых чертежей. Признаки, указанные выше и ниже, могут быть использованы в соответствии с изобретением или индивидуально, или все вместе в любой комбинации. Рассмотренные примеры осуществления следует рассматривать не в качестве исчерпывающего перебора вариантов, а скорее в качестве иллюстраций для описания изобретения.
Краткое описание чертежей
Изобретение иллюстрировано чертежами, на которых:
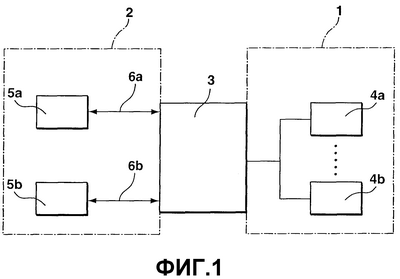
фиг.1 – блок-схема первой сети с множеством терминалов и второй сети с множеством поставщиков услуг, обеспечивающих возможность осуществления способа согласно изобретению; и
фиг.2 – блок-схема второй сети, реализующей отдельное виртуальное подключение от каждого из множества поставщиков услуг к каждому из множества шлюзов абонента с использованием DSLAM.
На фиг.1 в качестве первой сети 1 представлена домашняя LAN конечного пользователя, причем LAN подключена к Internet (вторая сеть 2) через DSL-модем, в качестве которого использован шлюз 3. Первая сеть 1 содержит несколько пользовательских терминалов, показанных на фиг.1 как Internet-терминал 4a и видеотерминал 4b. Internet-терминал 4a используется для связи с поставщиком 5a услуг Internet (ISP) во второй сети 2. Видеотерминал 4b является телеприставкой и используется для связи с поставщиком 5b широкополосных развлекательных видеоуслуг во второй сети 2.
Несмотря на то, что терминалы 4a, 4b подключены к шлюзу 3 одной и той же LAN, каждый из этих двух поставщиков 5a, 5b услуг соединен со шлюзом 3 через отдельное уникальное подключение 6a, 6b, каждое из которых установлено как виртуальное подключение.
Следует отметить, что между услугами, предоставляемыми поставщиком 5a услуг Internet, с одной стороны, и поставщиком 5b видеоуслуг, с другой стороны, существует различие. А именно, услуги высокоскоростного Internet являются интерактивными и коммуникативными подобно телефонной связи, представляющей собой клиент/клиентскую услугу, так как часто возникает необходимость в обеспечении другим пользователям Internet возможности установления связи с конкретным абонентом, и для поддержания этого контакта абонент нуждается в уникальном адресе, по которому другие пользователи Internet могут обращаться к абоненту. Видеоуслуги не являются коммуникативными в такой же степени. Это клиент/серверные услуги. Видеоабонент нуждается в диалоге с видеосервером, а не с другими видеоабонентами. То есть по сути для получения видеоуслуги возможности обмена информацией между двумя различными видеоабонентами с целью доставки видеоуслуги не требуется и никакой уникальный IP-адрес не является необходимым условием их идентификации. Однако поставщик услуг должен все же уникально идентифицировать шлюз каждого абонента, например, с целью уникального учета его использования.
Обычно при обмене информацией с использованием протокола Internet каждому устройству должны быть назначены по меньшей мере уникальный IP-адрес, маска подсети для его локальной сети, адрес шлюза по умолчанию, через который это устройство может обращаться к IP-хостам в различных локальных сетях, и адрес сервера доменных имен (DNS), через который оно может узнать IP-адреса службы стандартных имен. Поставщики услуг Internet часто предоставляют эту информацию с использованием протоколов типа DHCP или DHCP в сочетании с дополнительными протоколами, особенно для услуг, которые в конечном счете поставляются в оборудование, подключенное к домашним LAN’ам.
Параметры, упомянутые выше, как правило, являются уникальными для каждого поставщика услуг. То есть поставщик 5a услуг Internet, как правило, предоставляет каждому абоненту один или более IP-адресов, маску подсети для локальной сети, адрес шлюза по умолчанию и адрес DNS. Поставщик 4b видеоуслуг, как правило, должен предоставлять тот же самый набор параметров, но вероятнее всего с различным набором значений.
Протокол DHCP был разработан для автоматического конфигурирования не более чем одной услуги от одного поставщика услуг. Если два различных DHCP-сервера размещены в одной и той же сети, возникает конкуренция между этими двумя серверами, и ответ первого, как правило, определяет конфигурацию, принимаемую оборудованием абонента.
Таким образом, если и поставщик 5a услуг Internet и поставщик 5b видеоуслуг предлагают свои собственные DHCP-серверы, Internet-терминал 4a абонента может принимать конфигурацию от поставщика 5b видеоуслуг, а видеотерминал 4b абонента – от поставщика 5a услуг Internet. Это является нежелательным и неработоспособным вариантом.
В большинстве случаев шлюз 3 абонента (DSL-модем) сконфигурирован как маршрутизатор и имеет свой собственный встроенный DHCP-сервер для локальных устройств. Модем абонента принимает DHCP-адрес от ISP 5a, но назначает различные адреса локальным устройствам посредством своего собственного внутреннего DHCP-сервера.
Подход, предложенный в настоящем изобретении, состоит в сохранении системы назначения IP-адресов, развернутой абонентом и ISP 5a высокоскоростных услуг Internet. Таким образом, видеотерминал 4b может принимать DHCP-назначение от ISP или от абонентского DSL-модема маршрутизации (шлюз 3). Значение адреса и конфигурации для маски подсети, шлюза по умолчанию и DNS-сервера не играют существенной роли, так как эти параметры не используются при работе протокола управления для видеоуслуги.
Обычно локальные адреса выбирают из диапазонов специальных IP-адресов, которые считаются частными и являются, таким образом, немаршрутизируемыми и неуникальными. В этом случае DSL-модем должен отображать приватные адреса в легитимных адресах, принимаемых по DHCP от ISP.
Для корректной организации передачи данных между поставщиками 5a, 5b услуг и терминалами 4a, 4b прежде всего необходимо обеспечить возможность уникальной идентификации каждого из терминалов 4a, 4b в первой сети 1. Для достижения этой цели каждому из терминалов 4a, 4b назначают первый (отдельный) адрес, который является уникальным в первой сети 1. В рассматриваемом случае каждый из терминалов 4a, 4b может принимать назначение IP-адреса с использованием любого средства, доступного в домашней LAN абонента. Независимо от этого способа терминалы 4a, 4b будут принимать IP-адреса, которые являются уникальными в LAN, но необязательно глобально уникальными или уникальными для всех заказчиков поставщика услуг.
Первый пакет пользовательских данных, генерированных в видеотерминале 4b, представляет собой групповой пакет. При приеме группового пакета шлюз 3 абонента (DSL-модем) перенаправляет его по меньшей мере поставщику 5b видеоуслуг. В случае перенаправления другому поставщику услуг, например, поставщику 5a услуг Internet, пакет будет проигнорирован этим другим поставщиком услуг, так как второй адрес был выбран уникальным для поставщика 5b видеоуслуг. С другой стороны, поставщик 5b видеоуслуг может сконфигурировать свой видеосервер для распознавания второго адреса и, следовательно, будет распознавать и обрабатывать первый пакет.
Поставщик 5b видеоуслуг принимает групповой пакет по строго определенному подключению, которое является уникальным для шлюза 3 абонента. Поставщик 5b видеоуслуг таким образом принимает решение об идентичности шлюза 3 абонента, так как первый пакет был доставлен по указанному уникальному подключению абонента (второе подключение 6b).
Поставщик 5b видеоуслуг изучает исходный IP-адрес входящего пакета (первый адрес), чтобы выявить IP-адрес, который был сконфигурирован в указанном абонентском терминале 4b видеоуслуг. Кокретный IP-адрес не должен быть уникальным среди всех абонентов поставщика 5b видеоуслуг. При возврате информации в терминал видеоуслуг видеосервер устанавливает IP-адрес назначения в пакете тождественным первому адресу (исходный IP-адрес), ранее выявленному из входящего первого пакета пользовательских данных.
Затем поставщик 5b видеоуслуг пересылает второй пакет пользовательских данных, содержащих первый адрес, в терминал 4b видеоуслуг. Второй пакет прибывает назад в модем абонента (шлюз 3), и модем перенаправляет или передает пакет в домашнюю LAN. В домашней LAN видеотерминал 4b распознает локально уникальный первый адрес (IP-адрес), с использованием которого он был предварительно сконфигурирован, и таким образом принимает второй пакет.
Концепция, описанная выше, позволяет поставщику 5b видеоуслуг при приеме сообщения однозначно идентифицировать шлюз 3 абонента, являющийся отправителем информации, конфигурировать сетевой шлюз 3 абонента, чтобы направлять управляющие сообщения для видео в видеотерминал 4b и из видеотерминала 4b, и обеспечивает возможность простого конфигурирования видеотерминала 4b абонента с использованием адреса, по которому пересылаются управляющие сообщения для видео.
Несмотря на то, что для обеспечения возможности установления связи видеотерминала 4b со своим сервером требуется статический “общеизвестный” групповой адрес, это не главное препятствие, так как видеотерминалы, как правило, подвергаются предварительному конфигурированию с использованием приложений для доступа к связующему программному обеспечению. Видеосервер 5b должен поддерживать сети VLAN, и, по возможности, стекирование VLAN и его разработку следует вести на основе идентичности абонента по входящему подключению идентификатора VLAN, а не по IP-адресу. При разработке видеосервера 5b необходимо также обеспечение воспроизведения входящего исходного IP-адреса в качестве исходящего адреса назначения. Такой подход полностью совместим с существующим ASAM 73xx. Этот подход также полностью совместим с существующими модемами заказчика, которые поддерживают более чем одно мостовое подключение к DSL-сети (которые являются фактически всеми модемами).
Таким образом, видеотерминал 4b может инициировать с поставщиком 5b видеоуслуг уникальный процесс передачи информации, не требующий реализации сложной конфигурации в помещении абонента. Побудительный мотив упрощения конфигурации заказчика заключается в том, что имеются (потенциально) миллионы различных заказчиков, но только один поставщик 5b видеоуслуг. Поэтому упрощение конфигурации заказчика за счет незначительного усложнения поставщика услуг является хорошим компромиссом.
Фиг.2 иллюстрирует возможность установления уникальных подключений, показанных на фиг.1, в качестве виртуальных подключений. Для этой цели вторая сеть 2 представлена в состоянии соединения с множеством шлюзов, два из которых (шлюз 3a, 3b) представлены на фиг.2. Каждый из шлюзов 3a, 3b соединен с локальной сетью (не показанной) и с мультиплексором доступа к цифровой абонентской линии (DSLAM 7) через DSL-линии 8a, 8b.
DSLAM (поставщик услуг широкополосного доступа) 7 подключает каждый шлюз 3a, 3b заказчика к выбранному этим заказчиком поставщику(ам) 5a, 5b услуг и наоборот. Каждый шлюз 3a, 3b абонента имеет уникальное подключение к каждому поставщику 5a, 5b услуг для каждой услуги, обеспечивающее по меньшей мере обмен приватной управляющей информацией между заказчиком и поставщиками 5a, 5b услуг. Некоторые услуги, типа группового развлекательного мероприятия (например, платное телевидение), могут иметь дополнительные неуникальные (общедоступные) подключения между поставщиком услуг и многими заказчиками. Для частных подключений (DSL-линии 8a, 8b) наиболее часто используются ATM VP/VC. Каждый абонент имеет уникальный ATM VP/VC на каждого поставщика услуг, но значение имеет не то, что свой ATM, а то, что свой – уникальный.
DSLAM 7 связан с поставщиками 5a, 5b услуг через уникальные подключения 6a, 6b. При использовании DSLAM 7 в качестве коммутатора уникальные подключения 6a, 6b могут быть продлены от поставщиков 5a, 5b услуг к шлюзам 3a, 3b через DSL-линии 8a, 8b. Отдельные уникальные подключения между первым шлюзом 3a и каждым из поставщиков 5a, 5b услуг Internet и видеоуслуг соответственно представлены на фиг.2 пунктирными стрелками.
В подключениях от поставщика услуг доступа к поставщикам услуг вместо ATM часто используют сети Ethernet VLAN. Для обеспечения работы поставщик услуг широкополосного доступа осуществляет уникальное отображение идентификатора каждой VLAN (или стекированной VLAN) в соответствующем ATM VP/VC для соответствующего абонента. Теги ATM VP/VC и VLAN – это не единственное средство, используемое по всему миру. Имеются некоторые другие схемы для обеспечения уникальных (ориентированных на подключение) путей между поставщиком услуг и шлюзом конечного абонента через поставщика услуг широкополосного доступа (например, DSLAM 7). В настоящем случае первое уникальное подключение 6a между DSLAM 7 и поставщиком 5a услуг Internet установлено с использованием адресации VLAN ID. Второе уникальное подключение 6b между DSLAM 7 и поставщиком 5b видеоуслуг установлено путем адресации ATM VP/VC.
DSLAM уже развернуты для услуг высокоскоростного Internet, и телекоммуникационные компании надеются на открытие новых коммерческих потоков путем развертывания дополнительных платных услуг типа широкополосных развлечений. Эффективная оценка стоимости развертывания этих услуг должна проводиться без учета влияния на существующие услуги высокоскоростного Internet и, кроме того, при низкой частоте отказов/ошибок, обусловленных (например) проблемами адресации, описанными в данном изобретении.
Относительно шлюзов 3, 3a, 3b должно быть отмечено, что имеется множество различных особенностей и конфигураций, которые были разработаны применительно к DSL-модемам и другому оборудованию для доступа к высокоскоростному Internet. Некоторые модемы работают как обучаемые мосты 2-го уровня. Другие модемы – как IP-маршрутизаторы или механизмы IP-перенаправления. Третьи модемы работают как любой из этих первых двух видов с использованием преобразования сетевых и портовых адресов (NAPT). Возможны и другие конфигурации. Для поддержки более чем одной услуги отдельные подключения могут быть установлены от модема конечного пользователя к каждому из различных поставщиков услуг. Для перенаправления трафика от домашней LAN к соответствующему поставщику услуг типичные модемы реализуют диапазон различных технологий, в том числе бриджинг 2-го уровня, перенаправление 3-го уровня, маршрутизацию 3-го уровня и т.д.
В случае необходимости поддержки двух или более поставщиков услуг каждый из этих различных вариантов требует несколько отличной конфигурации. Модемы, сконфигурированные для работы обучаемых мостов, не требуют какой-либо особой конфигурации, однако оборудование заказчика должно быть сконфигурировано с использованием соответствующего адреса для шлюза по умолчанию для конкретной услуги. С другой стороны, модемы маршрутизации или перенаправления должны быть сконфигурированы с использованием маршрутов, направляющих трафик или к ISP, или к поставщику видеоуслуги. NAPT-модемы могут следовать любой из этих двух стратегий конфигурирования.
Короче говоря, способ, описанный выше, позволяет каждому пользователю избежать необходимости в конфигурировании своего шлюза 3, 3a, 3b (модем/межсетевой экран/маршрутизатор), избежать ошибок при назначении адресов, а также ошибочного конфигурирования между ISP и поставщиками широкополосных развлекательных видеоуслуг и является способом, совместимым с большинством существующих DSL-модемов и DSLAM’ов 2-го уровня. Для приема широкополосной развлекательной услуги телекоммуникационным компаниям и конечным пользователям не требуется покупки нового оборудования. Это решение также совместимо с вимдеосерверами на основе Ethernet и DSL-модемами на основе ATM.
Формула изобретения
1. Способ обмена пакетами пользовательских данных между терминалом (4а, 4b) первой сети (1) и поставщиком (5а, 5b) услуг второй сети (2), в котором первая сеть (1) подключена ко второй сети (2) шлюзом (3, 3а, 3b), имеющим уникальное подключение (6а, 6b) к поставщику (5а, 5b) услуг, терминал (4а, 4b) имеет первый адрес, являющийся уникальным в первой сети (1), и терминал (4а, 4b) может быть реконфигурирован с использованием второго адреса, уникально идентифицирующего конкретную услугу от поставщика (5а, 5b) услуг и являющегося уникальным во второй сети (2), причем способ содержит этапы:
назначение терминалу (4а, 4b) первого адреса, являющегося уникальным в первой сети (1);
пересылки первого пакета пользовательских данных, содержащих первый и второй адреса, от терминала (4а, 4b) к поставщику (5а, 5b) услуг, который идентифицирует первый пакет по наличию второго адреса и извлекает первый адрес из первого пакета; и
пересылки второго пакета пользовательских данных, содержащих первый адрес, от поставщика (5а, 5b) услуг к терминалу (4а, 4b), который идентифицирует второй пакет по наличию первого адреса.
2. Способ по п.1, в котором уникальное подключение (6а, 6b) представляет собой виртуальное подключение, и поставщик (5а, 5b) услуг уникально идентифицирует шлюз (3) на основе идентификатора виртуального подключения, по которому первый пакет поступает от шлюза (3, 3а, 3b) к поставщику (5а, 5b) услуг.
3. Способ по п.2, в котором уникальное подключение установлено посредством адресации АТМ VP/VC и/или VLAN ID’ов, причем поставщик (5а, 5b) услуг в предпочтительном варианте выполняет стекирование VLAN.
4. Способ по п.1, в котором поставщик (5а, 5b) услуг является одним из множества поставщиков (5а, 5b) услуг, каждый из которых предоставляет как видеоуслуги и услуги Internet, так и другие услуги, и поставщики (5а, 5b) услуг, которые не предоставляют конкретную услугу, соответствующую второму адресу, игнорируют первый пакет пользовательских данных.
5. Способ по п.4, в котором первый пакет пользовательских данных представляет собой многоадресный пакет данных, второй адрес является групповым адресом, а шлюз (3, 3а, 3b) копирует первый пакет и передает его каждому из множества поставщиков (5а, 5b) услуг.
6. Способ по п.1, в котором второй адрес предварительно сконфигурирован в приложении или в установочном файле терминала (4а, 4b), или терминал (4а, 4b) извлекает второй адрес с удаленного сайта, в предпочтительном варианте, во второй сети (2).
7. Способ по п.1, в котором первая сеть (1) представляет собой LAN, первый адрес является IP-адресом, а вторая сеть (2) – Internet.
8. Способ по п.7, отличающийся тем, что шлюз (3, 3а, 3b) содержит DSL-модем или другое устройство широкополосного доступа и DHCP-сервер для назначения терминалу (4а, 4b) IP-адреса.
9. Способ по п.1, в котором после обмена пакетами пользовательских данных терминал (4а, 4b) и поставщик (5а, 5b) услуг участвуют в текущих коммуникациях.
10. Способ по п.1, в котором второй пакет пользовательских данных представляет собой многоадресный пакет.
РИСУНКИ
MM4A – Досрочное прекращение действия патента СССР или патента Российской Федерации на изобретение из-за неуплаты в установленный срок пошлины за поддержание патента в силе
Дата прекращения действия патента: 29.11.2008
Извещение опубликовано: 27.07.2010 БИ: 21/2010
|
|