|
|
(21), (22) Заявка: 2005140193/09, 22.12.2005
(24) Дата начала отсчета срока действия патента:
22.12.2005
(46) Опубликовано: 20.11.2007
(56) Список документов, цитированных в отчете о поиске:
RU 2239253 C1, 27.10.2004. RU 27737 U1, 10.02.2003. SU 1791870 A1, 30.01.1993. EP 0225207 A1, 10.06.1987. US 1427369 A, 29.08.1922. US 1331063 A, 17.02.1920.
Адрес для переписки:
620017, г.Екатеринбург, Д-17, а/я 696, ООО “Технос”
|
(72) Автор(ы):
Мурадов Эльхан Шахбаба оглы (RU), Пузан Андрей Васильевич (RU)
(73) Патентообладатель(и):
Общество с ограниченной ответственностью “Технос” (RU)
|
(54) ВЫКЛЮЧАТЕЛЬ БЫСТРОДЕЙСТВУЮЩИЙ АВТОМАТИЧЕСКИЙ ПОСТОЯННОГО ТОКА
(57) Реферат:
Изобретение относится к электротехнике, в частности к защитной коммутационной аппаратуре, и может применяться для защиты от перегрузок и коротких замыканий электроустановок и линий постоянного тока. Техническим результатом является уменьшение габаритов и повышение удобства эксплуатации. Выключатель содержит подвижный и неподвижный контакты, отключающую пружину, пружину свободного расцепления, магнитопровод с катушкой, главный якорь, якорь свободного расцепления и тяги. Новым является выполнение магнитопровода из двух П-образных противоположно расположенных частей, сочлененных боковыми сторонами разъемными соединениями. Выключатель может быть снабжен одноплечим рычагом, один конец которого установлен на оси главного якоря, а другой – соединен с тягой, связанной с якорем свободного расцепления, при этом подвижный контакт соединен тягой с нижней частью одноплечего рычага. 1 з.п. ф-лы, 4 ил.
Изобретение относится к электротехнике, в частности к защитной коммутационной аппаратуре, и может применяться для защиты от перегрузок и коротких замыканий электроустановок и линий постоянного тока.
Известны выключатели быстродействующие автоматические постоянного тока, например, свидетельство РФ №27737 на полезную модель Н01Н 77/06, 2003 г.; патент РФ №2239253 на изобретение H01H 77/06, 2004 г.; Справочник по наладке электрооборудования промышленных предприятий. Под ред. М.Г.Зименкова, Г.В.Розенберга, Е.М.Феськова. – 3-е изд., перераб. и доп. – М.: Энергоатомиздат, 1983, с.236-238.
Наиболее близким к патентуемому следует считать выключатель по патенту РФ №2239253 на изобретение Н01H 77/06, 2004 г.
Этот выключатель содержит, по крайней мере, один подвижный и один неподвижный контакты, отключающую пружину, пружину свободного расцепления, магнитопровод с удерживающей катушкой, главный якорь, якорь свободного расцепления и тяги. Магнитопровод выключателя выполнен Н-образным.
Недостатком этого выключателя является низкая ремонтопригодность из-за Н-образной формы магнитопровода, непредусматривающей замену катушки. Намотка катушки осуществляется прямо на магнитопровод выключателя, что приводит к повышению трудоемкости при изготовлении и обеспечении изоляции катушки, а также создает сложности при замене катушки выключателя.
Кроме того, Н-образная форма магнитопровода обуславливает повышение габарита выключателя по длине.
Задачей изобретения является создание выключателя постоянного тока, характеризующегося наименьшими габаритами и удобного в эксплуатации.
Технический результат от использования изобретения состоит в повышении ремонтопригодности выключателя и уменьшении его длины.
Для обеспечения этого магнитопровод выключателя выполнен из двух П-образных противоположно расположенных частей, сочлененных боковыми сторонами разъемными соединениями.
Сущность изобретения заключается в следующем.
При таком выполнении магнитопровода появляется возможность сделать его разборным, что создает условие для удобной замены катушки. Этому способствуют противоположно расположенные П-образные части магнитопровода. Таким образом повышается ремонтопригодность выключателя. При этом упрощается изготовление катушки, ее установка на магнитопровод и изоляция, поскольку катушка наматывается предварительно на оправку (а не на магнитопровод), снимается с оправки, изолируется, а П-образные части магнитопровода позволяют беспрепятственно установить катушку.
Согласно п.2 формулы, выключатель дополнительно снабжен одноплечим рычагом, один конец которого установлен на оси главного якоря, а другой – соединен с тягой, связанной с якорем свободного расцепления, при этом подвижный контакт соединен тягой с нижней частью одноплечего рычага.
При таком выполнении уменьшается габарит выключателя по длине в случае расположения боковых сторон П-образных частей параллельно основанию выключателя. При этом соединение подвижного контакта тягой с нижней частью одноплечего рычага позволяет опустить контакты выключателя на более низкий уровень и предусмотреть место для расположения над ними системы магнитного дутья и дугогасительное устройство.
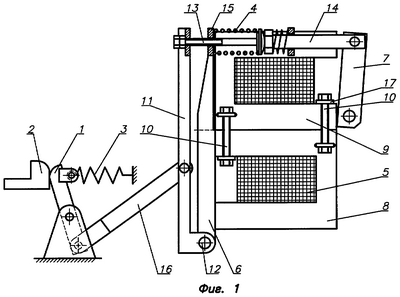
Изобретение поясняется примером выполнения. На фиг. 1 представлена схема выключателя во включенном положении, на фиг.2 – вид выключателя сверху, на фиг.3 показан выключатель в предвключенном положении, на фиг.4 – то же в отключенном положении.
Выключатель быстродействующий автоматический постоянного тока содержит расположенные вертикально подвижный контакт 1, неподвижный контакт 2, отключающую пружину 3, две пружины свободного расцепления 4, магнитопровод с катушкой 5, главный якорь 6, якорь свободного расцепления 7 и тяги.
Магнитопровод из двух П-образных противоположных расположенных частей 8 и 9, сочлененных боковыми сторонами разъемными соединениями, в частности болтовыми соединениями 10. Магнитопровод расположен боковыми сторонами параллельно основанию выключателя. Катушка установлена на сочлененные боковые стороны П-образных частей магнитопровода. Выключатель дополнительно снабжен одноплечим рычагом 11, один конец которого установлен на оси 12 главного якоря, а другой конец одноплечего рычага соединен с тягой 13, которая находится в контакте со стержнем 14, шарнирно закрепленным на якоре свободного расцепления 7. Тяга 13 размещена в отверстии проушины 15 главного якоря. Подвижный контакт соединен тягой 16 с нижней частью одноплечего рычага. Подвижный и неподвижный контакты, отключающая пружина расположены ниже поверхности сочленения П-образных частей магнитопровода. Этим освобождается место над контактами для расположения системы магнитного дутья и дугогасительного устройства. К магнитопроводу приварены проушины 17, с помощью которых П-образные части магнитопровода соединены болтовыми соединениями 10.
Выключатель работает следующим образом.
При протекании по катушке 5 включающего тока к магнитопроводу одновременно притягиваются главный якорь 6 и якорь свободного расцепления 7. Главный якорь через пружины свободного расцепления 4, тягу 13, одноплечий рычаг 11 и тягу 16 тянет за собой подвижный контакт 1, пока тяги 13 не упрутся в стержни 14. Главный якорь продолжает притягиваться, сжимая пружины 4. Выключатель остается в предвключенном положении (фиг.3), пока по катушке протекает включающий ток. Подвижный контакт 1 не смыкается с неподвижным контактом 2. Это необходимо для того, чтобы контакты выключателя не замыкались, пока по катушке привода протекает включающий ток большой величины, так как если в главной цепи уже имеется короткое замыкание, привод не сможет сработать на отключение с нужным быстродействием.
Затем катушка переключается на меньший по величине держащий ток.
Якорь свободного расцепления 7 не может удерживаться магнитным потоком держащего тока в притянутом положении, отпадает и освобождает стержни 14.
Пружины свободного расцепления 4 через одноплечий рычаг 11 переводят контакт 1 во включенное положение и создают контактное нажатие, как показано на фиг.1. Выключатель готов к немедленному отключению. Таким образом обеспечивается свободное расцепление выключателя.
При отключении выключателя ток в катушке прекращается. Магнитный поток спадает и не удерживает главный якорь. Под действием отключающей пружины 3 контакты размыкаются. Выключатель переходит в отключенное положение (фиг.4).
Для замены катушки необходимо разобрать болтовые соединения 10 и, выдвигая П-образные части магнитопровода, освободить катушку. Такая конструкция выключателя позволяет вновь использовать магнитопровод и беспрепятственно производить его ремонт, с меньшими трудозатратами устанавливать катушку и обеспечивать ее изоляцию.
Кроме того, при указанном выполнении магнитопровода уменьшается габарит выключателя по длине, при переносе контактов выключателя на более низкий уровень также появляется возможность за счет расположения над ними системы магнитного дутья и дугогасительного устройства.
Патентуемый выключатель получил название «выключатель с -образным магнитопроводом».
Формула изобретения
1. Выключатель быстродействующий постоянного тока, содержащий, по крайней мере, один подвижный и один неподвижный контакты, отключающую пружину, пружину свободного расцепления, магнитопровод с катушкой, главный якорь, якорь свободного расцепления и тяги, отличающийся тем, что магнитопровод выполнен из двух П-образных противоположно расположенных частей, сочлененных боковыми сторонами разъемными соединениями.
2. Выключатель быстродействующий постоянного тока по п.1, отличающийся тем, что выключатель дополнительно снабжен одноплечим рычагом, один конец которого установлен на оси главного якоря, а другой – соединен с тягой, связанной с якорем свободного расцепления, при этом подвижный контакт соединен тягой с нижней частью одноплечего рычага.
РИСУНКИ
|
|