|
|
(21), (22) Заявка: 2005133003/09, 26.10.2005
(24) Дата начала отсчета срока действия патента:
26.10.2005
(30) Конвенционный приоритет:
27.10.2004 KR 10-2004-0086392 29.04.2005 US 11/117,453
(43) Дата публикации заявки: 10.05.2007
(46) Опубликовано: 20.11.2007
(56) Список документов, цитированных в отчете о поиске:
US 6509621 А, 21.01.2003. SU 1043744 А, 23.09.1983. WO 00/77776 A1, 21.12.2000. RU 2063070 C1, 27.06.1996. SU 374660 А, 21.06.1973.
Адрес для переписки:
129010, Москва, ул. Б. Спасская, 25, стр.3, ООО “Юридическая фирма Городисский и Партнеры”, пат.пов. Ю.Д.Кузнецову, рег.№ 595
|
(72) Автор(ы):
ЧЕЕ-КХЕНГ Лим (KR)
(73) Патентообладатель(и):
САМСУНГ ЭЛЕКТРОНИКС КО., ЛТД. (KR)
|
(54) УСОВЕРШЕНСТВОВАННОЕ МНОГОРАЗРЯДНОЕ МАГНИТНОЕ ЗАПОМИНАЮЩЕЕ УСТРОЙСТВО С ПРОИЗВОЛЬНОЙ ВЫБОРКОЙ И СПОСОБЫ ЕГО ФУНКЦИОНИРОВАНИЯ И ПРОИЗВОДСТВА
(57) Реферат:
Изобретение относится к усовершенствованному многоразрядному магнитному запоминающему устройству с произвольной выборкой и способам функционирования и производства такого устройства. Техническим результатом является повышение плотности записи данных, пониженное потребление энергии и упрощение процесса изготовления запоминающего устройства. Магнитная память включает в себя одну или более парных ячеек, каждая из которых имеет многослойную магнитную структуру. Структура содержит магнитно-изменяемый ферромагнитный слой, ферромагнитный базовый слой, имеющий неизменяемое состояние намагниченности, и соответствующий разделительный слой, разделяющий ферромагнитные слои. Ячейки памяти упорядочены таким образом, что эффективная остаточная намагниченность каждой из ячеек не параллельна оси ячейки, параллельной ее длинной строне. Способы описывают процесс функционирования такого устройства. 3 н. и 43 з.п. ф-лы, 30 ил.
Область техники, к которой относится изобретение
Настоящее изобретение относится к магнитной памяти с произвольной выборкой, а более точно к усовершенствованному многоразрядному магнитному запоминающему устройству с произвольной выборкой и способам функционирования и производства усовершенствованного многоразрядного магнитного запоминающего устройства с произвольной выборкой.
Предшествующий уровень техники
Быстрый рост создания цифровой информации сталкивается с новой волной бурного роста потребности в памяти высокой плотности вследствие возрастающей популярности мобильных устройств. Магнитное запоминающее устройство с произвольной выборкой (MRAM) является одним из наиболее многообещающих претендентов для предоставления энергоэкономичной и энергонезависимой памяти.
Наиболее привлекательными преимуществами MRAM являются следующие: мобильное устройство удерживает в памяти текущее состояние работы будучи выключенным, и дополнительно может быть обеспечено более длительное время работы батареи для мобильных устройств от ноутбуков до сотовых телефонов, поскольку энергонезависимость дает возможность микросхемам MRAM потреблять меньше энергии, чем традиционные динамическое ОЗУ (DRAM) и статическое ОЗУ (SRAM). MRAM функционирует на принципе хранения двоичных разрядов, используя магнитные заряды взамен электрических зарядов, как используется памятью DRAM и памятью SRAM.
Из предшествующего уровня техники известно MRAM, где один разряд информации хранится в магнитной многослойной ячейке, которая содержит как магнитные, так и немагнитные слои. Как показано на Фиг.29, в простейшей форме многослойная магнитная ячейка 9 памяти включает в себя четыре слоя. Эти слои включают антиферромагнитный слой 11 и два ферромагнитных слоя 15, 13, разделенных немагнитным разделительным слоем 17.
Немагнитный разделительный слой 17 может быть проводящим или непроводящим. В памяти, имеющей проводящий разделитель, создается быстровращающийся вентильный элемент, тогда как память, имеющая непроводящий разделительный слой, вырабатывает магниторезистивный элемент магнитного туннельного перехода (MTJ).
Один из ферромагнитных слоев 13 является обменно-связанным с антиферромагнитным слоем 11, эффективно захватывая ориентацию намагниченности в ферромагнитном слое 13. Этот ферромагнитный слой 13 известен как закрепленный слой.
Когда внешнее магнитное поле прикладывается к такой ячейке, намагниченность другого ферромагнитного слоя 15, также называемого свободным слоем (незакрепленным слоем), будет противодействовать полю.
Уточнение состояния или считывание информации, хранящейся в ячейке, основано на магниторезистивном эффекте.
Электрическое сопротивление такой многослойной ячейки 9 зависит от взаимной ориентации намагниченности в двух ферромагнитных слоях 15, 13. В этом случае имеется низкое сопротивление, когда обе ориентации намагниченности находятся в параллельной (P) ориентации, и высокое сопротивление, когда они находятся в антипараллельной (встречно-параллельной) (AP) ориентации.
Компоновочным блоком архитектуры MRAM является ее структура пересекающихся проводов, в которой магнитный элемент располагается в точке пересечения двух ортогональных проводов. Процесс записи или адресации ячейки MRAM выполняется путем приложения двух ортогональных импульсов магнитного поля, сформированных путем передачи электрического тока по проводам. Два провода часто называются числовой шиной (поле Hy, вдоль короткой оси магнитного элемента) и разрядной шиной (поле Hx, вдоль длинной оси (или легкой оси) магнитного элемента).
Напряженность приложенных магнитных полей такова, что одно поле в одиночку не может переключить намагниченность магнитного элемента, но это скорее требует сочетания обеих магнитных полей от числовой и разрядной шин для селективности ячеек. Тем не менее, в настоящее время технология записи ячеек полагается на приложение импульса магнитного поля большой длительности, десятки наносекунд, достаточно длительного для того, чтобы намагниченность достигла конечного состояния равновесия. Этот способ записи также известен как квазистатическая запись, которая не только медленная, но также и неэнергоэкономичная.
Также в такой памяти, имеющей многослойную структуру ячеек, существует ограничение плотности памяти. В большинстве случаев только один разряд информации может храниться в точке пересечения (точке пересечения двух ортогональных проводов) в архитектуре MRAM.
Были предприняты попытки, чтобы преодолеть это ограничение плотности памяти. Например, в патентной публикации США 2003/0209769 (Nickel) раскрыто MRAM-устройство, имеющее многоразрядную ячейку памяти. В частности, каждая ячейка памяти содержит два магниторезистивных устройства, соединенных последовательно.
Каждое из двух магниторезистивных устройств имеет чувствительные слои с четко различающимися коэрцивностями (коэрцитивными силами) и, следовательно, требует различных токов записи. Таким образом, операции записи могут выполняться выборочно на двух магниторезистивных устройствах. Каждая многоразрядная ячейка памяти имеет четыре логических состояния с различными значениями сопротивления в каждом состоянии. Это позволяет хранить больше данных, чем одноразрядная ячейка памяти предшествующего уровня техники, которая имеет всего лишь два логических состояния.
В патенте США 5930164 также раскрыто магнитное запоминающее устройство, имеющее четыре логических состояния, и способ его функционирования. Запоминающее устройство содержит многоразрядную систему, выполненную путем наложения двух или более ячеек памяти поверх друг друга, разделенных толстым проводящим слоем, чтобы предотвратить индуктивное взаимодействие между ячейками памяти.
В указанном патенте каждая ячейка памяти содержит свободный магнитный слой данных, чтобы хранить один разряд информации, магнитотвердый слой в качестве базового слоя и запирающий слой между свободным и твердым магнитным слоем. Существенно, что каждая ячейка памяти является независимым MTJ-устройством. Ячейки памяти имеют индивидуальные коэрцивности, следовательно, позволяют осуществлять независимую запись ячейки одним или двумя магнитными полями. Для процесса распознавания состояния или считывания эти ячейки памяти обладают разными магниторезистивными коэффициентами, следовательно, создают четыре состояния сопротивления для распознавания многоразрядной информации. Способ записи, тем не менее, основан на квазистатическом способе записи, который является не только медленным, но также и неэнергоэкономичным.
В патенте США 5703805 раскрыт способ обнаружения информации, сохраненной в ячейке MRAM, имеющей два магнитных слоя с разными толщинами.
В устройстве по патенту США 5703805 есть два магнитных слоя данных, разделенных немагнитным разделителем. Каждый магнитный слой данных может хранить один разряд информации. Процесс записи для этого устройства применяет отличающиеся коэрцитивные силы для двух магнитных слоев данных, отсюда возможна независимая запись с использованием квазистатического способа. Квазистатический способ записи основан на приложении длительного импульса магнитного поля в несколько наносекунд, достаточно длительного для того, чтобы намагниченность ячейки достигла конечного состояния равновесия. Как отмечалось выше, этот способ переключения не только медленный, но также и неэнергоэкономичный.
Кроме того, процесс считывания устройства очень сложен, поскольку требуется шесть магнитных полей, чтобы определить состояние в каждом слое данных отдельно. Это создает медленный и неэффективный процесс считывания.
Наконец, в патенте США 6590806 раскрыто устройство, имеющее два магнитных слоя данных, разделенных парой антиферромагнитно соединенных магнитных слоев. Два свободных магнитных слоя данных имеют индивидуальные коэрцивности, и поэтому возможна независимая запись.
Указанное устройство имеет четыре состояния сопротивления, зависящие от магнитного расположения свободных слоев данных по отношению к антиферромагнитно соединенным слоям. Следовательно, базовым слоем для магниторезистивного эффекта является пара антиферромагнитных соединенных слоев. Это означает, что если устройство нужно использовать для дополнительных слоев данных, каждый слой данных требует одну пару антиферромагнитных слоев, предусматривающих усложненную конструкцию устройства. Также устройство основывается на традиционном квазистатическом способе записи.
Дополнительно, процесс производства MRAM-устройств характеризуется только как способ, дающий низкий выход готовых изделий вследствие высокой чувствительности к дефектам ячеек, которая вызывает возникновение центров образования доменов и, следовательно, широкое распространение поля переключения.
Краткое изложение сущности изобретения
Задачей настоящего изобретения является устранение вышеуказанных недостатков.
Технической задачей настоящего изобретения является создание усовершенствованного многоразрядного магнитного запоминающего устройства с произвольной выборкой и способов функционирования и производства многоразрядного магнитного запоминающего устройства с произвольной выборкой, которые повышают плотность памяти MRAM и также упрощают процесс изготовления запоминающего устройства путем уменьшения количества электрических цепей.
Согласно другому аспекту настоящего изобретения предложено многоразрядное MRAM-устройство, которое хранит более одного разряда информации на одном пересечении между разрядной и числовой шинами. В неограничивающем варианте осуществления два независимых информационных бита хранятся в паре ячеек памяти (парной ячейке), где каждая ячейка памяти удерживает один разряд двоичной информации. Также раскрыты процедуры наложения, приводящие к четырех- и восьмиразрядным ячейкам. Конечно, специалисту в данной области техники ясно, что похожие многоразрядные ячейки могут быть реализованы, используя те же принципы, что и для двух-, четырех- и восьмиразрядных ячеек.
Более конкретно, в варианте осуществления настоящего изобретения магнитная память содержит одну или более парных ячеек, каждая из которых содержит две ячейки памяти, причем каждая ячейка памяти имеет многослойную магнитную структуру. Многослойная структура каждой ячейки памяти содержит магнитно-изменяемый ферромагнитный слой, ферромагнитный базовый слой, имеющий неизменяемое состояние намагниченности, и соответствующий разделительный слой, разделяющий ферромагнитные слои. Дополнительно, ячейки памяти упорядочены или подогнаны так, что эффективная остаточная намагниченность каждой из ячеек не параллельна длинной оси ячеек (то есть остаточные намагниченности ячеек не параллельны друг другу).
Согласно другому аспекту настоящего изобретения предложено запоминающее устройство, которое предусматривает быстрое и эффективное перемагничивание. Это может быть осуществлено посредством прецессионного перемагничивания спинов. Кроме высоких рабочих частот, прецессионное перемагничивание спинов энергоэкономично, потому что оно требует более слабого поля перемагничивания по сравнению с вышеупомянутым квазистатическим процессом записи. Более короткие импульсы поля дополнительно уменьшают энергопотребление.
Схема записи в одном из вариантов осуществления изобретения использует прецессионное свойство спинов ферромагнитного материала, в котором магнитное поле со свободной осью (+Hx) или (-Hx), использованное, чтобы определить конечное состояние памяти (1 или 0), объединяется с ортогональным возбуждением поля с трудной осью (+Hy) или (-Hy), чтобы инициировать прецессию спинов. В этом процессе перемагничивания поле Hx или Hy не может в одиночку переключить намагниченность. Скорее сочетание полей Hx и Hy является сущностью выборочной записи в матрицу памяти. Прецессионное перемагничивание спинов, согласно изобретению, предпочтительно использует быстрое нарастание поля Hy, порядка 0,5 нс либо меньше.
В варианте осуществления изобретения требуется импульс Hy возбуждения поля, чтобы получить очень короткое время нарастания (<0,5 нс) и длительность импульса, равную половине периода магнитной прецессии спина.
Пара ячеек памяти может иметь либо отдельный комплементарный металлооксидный полупроводник (CMOS), либо совместно используемый CMOS для раздельного считывания сохраненной информации.
Сверхбыстрая динамика переключения намагниченности обусловлена затухающей прецессией намагниченности около эффективного магнитного поля Heff. Эффективное магнитное поле Heff является суммой приложенных полей и магнитной анизотропией поля ячейки памяти, которая подчинена анизотропии формы.
Движение намагниченности M описывается уравнением Landau-Liftshitz-Gilbert, dM/dt=-(М × Нeff) + ( /Ms)(M × dM/dt), где М – вектор намагниченности; – гиромагнитная постоянная; – феноменологический коэффициент затухания Gilbert; Ms – намагниченность насыщения. В случае MRAM эффективное приложенное магнитное поле является векторной суммой Hx и Hy.
Быстро нарастающий импульс магнитного поля, приложенный перпендикулярно направлению М, вызовет большой крутящий момент (M×Heff). В результате M возбуждается в прецессию около направления эффективного поля. Первый член в уравнении LLG есть составляющая прецессии, которая описывает прецессию спина, и вторым членом является составляющая рассеяния энергии, которая определяет соотношение рассеяния энергии. Выравнивание прецессионного перемагничивания спинов обещает высокоэнергетическую эффективность, а также сверхбыструю скорость перемагничивания.
Одним из самых важных свойств в прецессионном перемагничивании изобретения является то, что частота прецессии f зависит от эффективной намагниченности и эффективного приложенного магнитного поля. Это может быть выражено как f2=( /2 )2(Heff+Meff)+Heff, где =28 GHz/T. Это также известно в данной области техники как формула Kittel. Уравнение приводит к факту, что возможно влиять на частоту прецессии спина путем управления эффективной намагниченностью и эффективным полем, испытываемым спином.
Таким образом, способ записи для магнитной памяти, согласно типичному варианту осуществления изобретения, содержит следующие шаги: приложение первого магнитного поля ниже поля перемагничивания парной ячейки вдоль длинной оси (разрядной шины) ячеек памяти и приложение второго магнитного поля перпендикулярно первому магнитному полю, причем второе магнитное поле имеет достаточную напряженность (например, больше, чем первое магнитное поле), чтобы создать угол прецессии спина, достаточно большой, чтобы переключить намагниченность одной ячейки памяти из парной ячейки на противоположное направление, но недостаточную напряженность, чтобы переключить намагниченность другой ячейки из парной ячейки.
Второе магнитное поле выключается, как только намагниченность одной ячейки спрецессирует больше, чем почти 1/2, но меньше, чем почти 3/4 цикла прецессии. Например, когда приложено поле возбуждения спина (например, Hy), намагниченность начинает быстро вращаться от -1 к 0, к 1, к 0, к -1 и т.д. Поэтому, чтобы остановить намагниченность на 1, приложенное поле должно быть выключено, когда намагниченность пересекла нулевую отметку и находится на отрезке от 0 до 1. Намагниченность не может непосредственно остановиться где-нибудь, она имеет только два варианта, 1 либо -1.
В типичных вариантах осуществления изобретения первое магнитное поле остается постоянным на определенную длительность времени (>0,5 нс), после того как второе магнитное поле выключается, или, другими словами, длительность магнитного поля Hy всегда короче, чем Hx.
В этом варианте осуществления первое магнитное поле прилагается вдоль горизонтальной оси и используется, чтобы определить окончательное состояние намагниченности ячейки, предназначенной для перемагничивания. Второе магнитное поле называется прецессионным полем возбуждения спина (вдоль числовой шины).
Краткое описание чертежей
Вышеупомянутые и другие аспекты настоящего изобретения поясняются подробным описанием предпочтительных вариантов его осуществления со ссылками на сопровождающие чертежи, на которых:
Фиг.1 изображает схематично общий вид многоразрядного устройства, содержащего две ячейки магнитной памяти (парная ячейка) в одной точке пересечения между числовой и разрядной электрическими шинами в архитектуре MRAM, согласно изобретению;
Фиг.2 – схему создания непараллельной намагниченности в парных ячейках, используя форменное и/или непараллельное выравнивание ячеек, согласно изобретению;
Фиг.3 – схему записи, в которой намагниченность магнитного элемента вначале указывается на правом направлении +х, и прилагаются внешние поля, чтобы переключить намагниченность магнитного элемента на направление -х, согласно изобретению;
Фиг.4 – схему независимой адресации ячейки из пары ячеек магнитной памяти, согласно изобретению;
Фиг.5А – схему инициализации пары ячеек в направлении +х путем приложения сначала (+Hy)+(+Hx) с последующим (-Hy)+(+Hx), согласно изобретению;
Фиг.5В – диаграмму моделирования многоразрядной парной ячейки MRAM, используя микромагнитное моделирование конечных элементов, согласно изобретению;
Фиг.6 – схему структуры четырехразрядной ячейки, согласно изобретению;
Фиг.7 – вид сверху и в поперечном сечении восьмиразрядной ячейки, согласно изобретению;
Фиг.8-28 – этапы способа изготовления многоразрядного магнитного запоминающего устройства с произвольной выборкой, согласно изобретению;
Фиг.29 – основную структуру ячейки MRAM с одной ячейкой памяти, расположенной в точке пересечения между числовой и разрядной шинами.
Подробное описание типичных вариантов осуществления настоящего изобретения
Аспекты настоящего изобретения и способы их достижения будут очевидны специалистам в данной области техники из подробного описания предпочтительных вариантов осуществления со ссылками на сопровождающие чертежи. Тем не менее, область применения настоящего изобретения не ограничена вариантами осуществления, раскрытыми в описании изобретения, и настоящее изобретение может быть выполнено в различных видах. Описанные варианты осуществления представлены только для раскрытия настоящего изобретения полностью и для специалистов в данной области техники, чтобы понять область применения настоящего изобретения.
В первом варианте осуществления изобретения многоразрядная MRAM формируется посредством пары зависимых от полярности поля возбуждения спина ячеек памяти. Пара ячеек памяти (парная ячейка) по-разному реагирует в соответствии с приложенной полярностью магнитного поля возбуждения.
Первый вариант осуществления включает в себя форму ячейки памяти, которая имеет направление эффективной остаточной намагниченности, слегка отклоненное от легкой оси (ось легкого (предпочтительного) намагничивания) или длинной оси элемента ячейки.
Остаточная намагниченность в парной ячейке наклонена в противоположном от легкой оси направлении. Этот признак делает возможным управление намагниченностью. Поэтому два разряда информации могут храниться на одной точке пересечения в архитектуре MRAM, соответственно уменьшая количество разрядной и числовой шин, используемых для процессов считывания и записи. В качестве видимого результата можно указать более высокую плотность магнитной памяти.
Хранение двух разрядов информации на одной точке пересечения возможно, так как запись или изменение намагниченности свободного слоя одной ячейки может достигаться без влияния на информацию, уже сохраненную в другой ячейке.
На Фиг.1 схематически показан первый вариант осуществления настоящего изобретения. Многоразрядная MRAM 1 содержит магнитные или немагнитные множественные слои.
Многоразрядная MRAM содержит две ячейки 2, 3 магнитной памяти (парная ячейка) в одной точке пересечения между числовыми и разрядными электрическими шинами в архитектуре MRAM. В указанном варианте осуществления изобретения ячейки памяти могут совместно использовать одну и ту же ортогональную электрическую цепь (например, одни и те же разрядные и числовые шины). Дополнительно, ячейки памяти могут иметь совместно либо раздельно используемый транзистор для уточнения состояния.
Каждая из ячеек 2, 3 магнитной памяти в своей самой основной форме содержит два ферромагнитных магнитных слоя 4, 5, где один слой 4 действует как свободный слой, в котором ориентация намагниченности может изменяться посредством приложенного внешнего поля, в то время как другой магнитный слой 5 служит базовым слоем, в котором направление намагниченности постоянно или закреплено посредством антиферромагнитного слоя 6 с помощью механизма обменного подмагничивания. Слой 5 называется закрепленным слоем.
Немагнитный разделительный слой 7 расположен между ферромагнитными магнитными слоями 4, 5. Немагнитный разделительный слой 7 может быть либо проводящим слоем, либо непроводящим слоем. В случае проводящего разделительного слоя, запоминающее устройство образует огромную магниторезистивную (GMR) структуру. С другой стороны, непроводящий слой приводит к MTJ-структуре.
В любом случае, электрическое сопротивление многоразрядной MRAM, согласно изобретению, зависит от взаимного расположения намагниченности как в свободном магнитном слое 4, так и в постоянном или закрепленном магнитном слое 5. Когда намагниченность этих двух магнитных слоев 4, 5 параллельна, формируется состояние низкого электрического сопротивления. Наоборот, результирующее сопротивление высокое, когда два магнитных слоя 4, 5 имеют антипараллельную ориентацию. Эти два состояния сопротивления образуют основу двух состояний памяти, 1 и 0.
Во время процесса записи применяются два электрических тока, один по разрядной шине и другой по числовой шине. Таким образом формируются два перпендикулярных магнитных поля. Две ячейки памяти могут иметь либо отдельный CMOS, либо совместно используемый CMOS для уточнения состояния/записи.
Магнитный слой 4 является слоем данных, где хранится информация и из которого информация считывается. Намагниченность слоя 4 может быть изменена посредством приложенного внешнего магнитного поля и/или спин-поляризованного электрического тока.
Конечно, четырехразрядная ячейка будет иметь по два свободных магнитных слоя 4 на ячейку. В этом случае свободные магнитные слои 4 могут также иметь определенные магнитные и физические свойства, например намагниченность насыщения, магнитную анизотропию, толщину слоя, магнитострикционный коэффициент, коэрцитивность, коэффициент затухания и материалы.
Магнитно-изменяемые ферромагнитные слои 4 могут включать в себя одинаковый или различный ферромагнитный материал, а также одинаковую или различную толщину. В типичных вариантах осуществления материал может содержать сплав Ni, Fe и Co или их сочетание. Кроме того, ферромагнитный материал одной ячейки памяти может отличаться от другой ячейки, предусматривая более эффективную прецессию спинов.
На Фиг.2 представлена форма ячеек многоразрядной MRAM согласно варианту осуществления изобретения. В этом варианте осуществления многоразрядная MRAM проектируется таким образом, что ее эффективная намагниченность находится не точно вдоль длинной оси элемента, но слегка наклонена по часовой стрелке или против часовой стрелки, в зависимости от магнитной анизотропии формы.
Это отклонение вызывается размагничивающим полем, созданным ячейкой, которое всегда удерживает ориентацию намагниченности параллельно плоскости. На краю ячейки ориентация намагниченности удерживается параллельно поверхности. В результате это создает результирующую или эффективную ориентацию намагниченности вдоль диагональной оси ячейки.
Соответственно, когда применяется быстрый импульс ортогонального магнитного поля, чтобы инициировать магнитную прецессию спинов, конус прецессии отличается между положительным и отрицательным полем возбуждения. Следовательно, направление намагниченности в этом магнитном элементе может быть переключено только одной полярностью поля возбуждения, но не противоположной ниже определенного порогового значения поля перемагничивания, отсюда и предложение выборочной записи. Например, предположим, что импульс магнитного поля приложен вместе с напряженностью поля ниже порогового значения для выборочной записи. Если Hy выше этого порогового значения, то оба магнитных элемента будут перемагничены вместе.
Как показано на Фиг.2, парная ячейка 19 включает две ячейки 21, 23 памяти, которые имеют одинаковую форму. Однако различающиеся формы ячеек также могут быть использованы среди ячеек. Ячейки 21, 23 памяти имеют такую форму, что более короткие края каждой ячейки расположены под углами, не перпендикулярными длинной оси ячейки (1 и 2).
В показанной парной ячейке 19 каждая ячейка 21, 23 имеет более короткие края, повернутые на углы 1 и 2 в противоположных направлениях от соответствующих более коротких краев другой ячейки. Одна ячейка 21 имеет свои более короткие края, наклоненные выше горизонтальной плоскости, в то время как другая ячейка 23 имеет свои более короткие края, наклоненные ниже горизонтальной плоскости.
Углы 1 и 2 отклонения краев меньше 90° и в типичных вариантах осуществления изобретения находятся в диапазоне от 5° до 85°. Дополнительно эти углы 1 и 2 могут быть различными среди ячеек. Указанное окончание ячеек (края) может быть также слегка закруглено, как показано, чтобы предусмотреть подавление возникновения центров образования магнитных доменов. Конечно, ячейки с незакругленными или острыми краями также будут работать.
В типичном варианте осуществления, поскольку ячейки 21, 23 (Фиг.2) имеют одинаковую форму, они могут быть изготовлены таким образом, что их длинные оси не параллельны, но образуют угол с горизонтальными осями. Обычно угол находится в диапазоне примерно от 1° до 85°. Формы ячеек могут включать в себя, например, прямоугольные или эллиптические формы.
В другом варианте осуществления ячейки 21, 23 могут быть сконфигурированы таким образом, что одна ячейка образует угол с горизонтальной осью, а другая ячейка содержит угол наклона края. То есть конфигурации ячеек могут включать в себя комбинацию вышеупомянутого и среди ячеек.
В типичном варианте осуществления соотношение сторон ячеек находится в пределах от 1,1 до 3,0, и ячейки могут иметь одинаковые или различающиеся соотношения сторон.
При использовании парных ячеек становится полезным полностью разделять ячейки, чтобы магнитостатическое взаимодействие между ячейками сводилось к минимуму. В типичном варианте осуществления (Фиг.2) зазор d между ячейками 21, 23 равен 1/2 W, где W означает ширину ячейки. В этом случае разделение должно быть больше, чем 1/2 W.
Способ записи согласно типичному варианту осуществления изобретения пояснен со ссылками на Фиг.3 и 4.
На Фиг.3 намагниченность магнитного элемента вначале указывается в направлении +х направо, и прилагаются внешние поля, чтобы переключить намагниченность на направление -. Сначала прилагается слабое магнитное поле направления -, которое сопровождается более сильным и быстрым полем возбуждения в направлении -y. Однако в этом случае, вследствие меньшего конуса прецессии, например, где прецессия не пересекает ноль к другой половине цикла, направление намагниченности не изменяется.
Намагниченность магнитного элемента, в начале указанная в направлении +x, может измениться, когда поле возбуждения по оси y приложено в положительном направлении. Соответственно, обеспечивается выборочное перемагничивание.
На Фиг.4 показана процедура независимой записи (адресации) ячейки из пары ячеек магнитной памяти, согласно варианту осуществления изобретения. Ячейки памяти парной ячейки, помеченные как ячейка А и ячейка B, изначально обладают намагниченностью, ориентированной в направлении +x.
Когда поле возбуждения по оси y приложено в отрицательном направлении, ячейка А перемагничивается в направлении -х, оставляя ячейку B неизмененной.
Аналогично, если поле возбуждения по оси y приложено в положительном направлении, тогда ячейка B перемагнитится в отрицательном направлении, в то время как ячейка А останется в исходном направлении. Следовательно, ячейка магнитной памяти может быть зависимой от полярности поля возбуждения. Это свойство обеспечивает возможность выбора единичной ячейки в образце многоразрядной ячейки настоящего изобретения.
В способе записи типичного варианта осуществления второе приложенное магнитное поле (прецессионное поле возбуждения спина) может быть отключено, как только намагниченность одной ячейки, например ячейки В, спрецессирует больше, чем на 1/2, но меньше, чем на 3/4 цикла прецессии. Впоследствии первое приложенное магнитное поле (поле легкой оси) выключается, после того как выключается второе приложенное магнитное поле. Также импульс поля легкой оси должен иметь продолжительность дольше, чем импульс спин-прецессионного поля возбуждения. В типичном варианте осуществления длительность импульса поля легкой оси находится в интервале от 0,2 до 10 нс, в то время как длительность импульса спин-прецессионного поля возбуждения может находится в интервале от 0,01 до 5 нс.
Избирательность записи многоразрядной MRAM в типичных вариантах осуществления основывается на физике, что эффективное поле, образованное Hx и Hy, вызывает различный крутящий момент на магнитном моменте пар ячеек. Крутящий момент, необходимый для того, чтобы изменить направление намагниченности на обратное, является максимальным, когда Heff перпендикулярно направлению намагниченности, и минимальным, когда антипараллельно.
Ячейки памяти изобретения могут иметь одинаковые или отличающиеся частоты прецессии спинов. Также ячейки памяти могут обладать одинаковыми или отличающимися коэффициентами затухания, чтобы предусмотреть лучшее рассеяние энергии, что необходимо.
На Фиг.5А схематически показана инициализация парных ячеек в направлении +х путем приложения сначала (+Hy)+(+Hx) с последующим (-Hy)+(+Hx).
Фиг.5В изображает диаграмму, созданную с использованием программного обеспечения трехмерного (3D) микромагнитного моделирования конечных элементов, чтобы моделировать парную ячейку, согласно варианту осуществления изобретения.
Результат моделирования получен для Мх по времени. Пунктирная линия показывает распределение во времени Hy. Нормированная Мх равна нулю, когда обе ячейки перемагничены, так как намагниченность постоянного слоя еще находится в +х. Намагниченность в x-, y- и z-направлении (Mx, My и Mz) может быть вычислена как функция времени посредством решения уравнения Landau-Liftshitz-Gilbert для пары ячеек памяти.
Изначально обе ячейки имеют положительную Mx, т.е. среднюю удельную намагниченность. Когда приложено положительное поле возбуждения (t=1 нс), то Mx уменьшается до половины. Это показывает, что компонент х намагниченности парной ячейки находится в антипараллельной ориентации, отсюда и половина результирующей намагниченности.
При t=3,5 нс прикладывается второе отрицательное поле возбуждения. Это перемагничивает оставшуюся ячейку в направление -х, поэтому результирующая намагниченность равна нулю. В этом случае обе ячейки памяти обладают отрицательной х-компонентной намагниченностью. На Фиг.5В толстая сплошная линия показывает общий рост намагниченности со временем, и тонкая пунктирная линия показывает приложенное Hy.
Конечно, настоящее изобретение не ограничено структурой двухразрядной памяти. Например, структура четырехразрядной ячейки показана на Фиг.6.
Нижние свободные магнитные слои этого четырехразрядного варианта осуществления помечены “Нижний А” (“Bottom A”) и “Нижний В” (“Bottom B”), тогда как верхние свободные магнитные слои помечены “Верхний А” (“Top A”) и “Верхний В” (“Top B”). Эти четыре магнитных слоя могут хранить один разряд двоичной информации каждый, и возможно независимо адресовать каждый разряд. Это может быть достигнуто при использовании различного ферромагнитного материала для нижних и верхних свободных слоев. Эта структура дает 8 логических состояний.
Процедура записи для четырехразрядной структуры схожа с описанным выше способом, где ячейки магнитной памяти могут быть зависимы от полярности поля возбуждения. Ниже в Таблице 1 представлен способ записи для каждого расположения магнитного состояния, используя 4-разрядную ячейку, которая может содержать в себе шестнадцать (16) сочетаний для записи.
В Таблице 1 Hx_th есть поле Hx над пороговым полем, чтобы переключать оба слоя вместе, и Нх находится ниже порогового значения и может перемагничивать только один слой. Top1 и Bottom1 записаны посредством +Hy, и Top2 и Bottom2 записаны посредством -Ну. Нижний слой может быть более магнитотвердым слоем. В способе записи +Нх пишет 1 и -Нх пишет 0. В Таблице 1 содержимое квадратных скобок соответствует [Top1, Bottom1, Top2, Bottom2].
| Таблица 1 |
| +Hx_th и ±Hy |
[1,1,1,1] |
-Hx_th и +Hy |
[0,0,1,1] |
-Hx и -Hy |
[0,0,0,1] |
+Hx и +Hy |
[1,0,0,1] |
| |
|
|
|
+Hx и +Hy |
[1,0,1,1] |
-Hx и -Hy |
[1,0,0,1] |
| |
|
-Hx_th и -Hy |
[1,1,0,0] |
+Hx и -Hy |
[1,1,1,0] |
-Hx и +Hy |
[0,1,1,0] |
| |
|
|
|
-Hx и +Hy |
[0,1,0,0] |
+Hx и -Hy |
[0,1,1,0] |
| |
|
-Hx и +Hy |
[0,1,1,1] |
-Hx и- Hy |
[0,1,0,1] |
|
|
| |
|
-Hx и -Hy |
[1,1,0,1] |
-Hx и +Hy |
[0,1,0,1] |
|
|
| -Hx_th и ±Hy |
[0,0,0,0] |
+Hx_th и -Hy |
[0,0,1,1] |
-Hx и -Hy |
[0,0,0,1] |
+Hx и +Hy |
[1,0,0,1] |
| |
|
|
|
+Hx и +Hy |
[1,0,1,1] |
-Hx и -Hy |
[1,0,0,1] |
| |
|
+Hx_th и +Hy |
[1,1,0,0] |
-Hx и +Hy |
[0,1,0,0] |
+Hx и -Hy |
[0,1,1,0] |
| |
|
|
|
+Hx и -Hy |
[1,1,1,0] |
-Hx и +Hy |
[0,1,1,0] |
| |
|
+Hx и +Hy |
[1,0,0,0] |
+Hx и -Hy |
[1,0,1,0] |
|
|
| |
|
+Hx и -Hy |
[0,0,1,0] |
+Hx и +Hy |
[1,0,1,0] |
|
|
На Фиг.7 представлен вид сверху и в поперечном сечении образца структуры восьмиразрядной ячейки согласно варианту осуществления настоящего изобретения. Используя структуру четырехразрядной ячейки (Фиг.6) в качестве основной ячейки, две “четырехразрядные ячейки” уложены поверх друг друга. Перпендикулярное расположение получается в виде восьмиразрядной структуры. В этом расположении поле прецессионного возбуждения спина для разрядов 5, 6, 7 и 8 прилагается вдоль оси х и вдоль оси y для разрядов 1, 2, 3 и 4. Все четыре ферромагнитных слоя могут иметь в своем составе одинаковые или разные ферромагнитные материалы.
Многоразрядная MRAM настоящего изобретения может быть сформирована посредством наращивания магнитных полислоев с отдельными насыщенно намагниченными свободными магнитными слоями, где каждый свободный слой может хранить один двоичный разряд информации. Форма ячейки памяти может быть, например, прямоугольной или эллиптической. Слои могут быть образованы посредством пленочного формирования рисунка, легирования, травления и полировочных методик, известных в данной области техники.
Способ изготовления магнитного запоминающего устройства согласно варианту осуществления настоящего изобретения описан со ссылками на Фиг.8-28.
На Фиг.8 первый изолирующий слой 18а, который накрывает транзистор Т, формируется на подложке 10. Канавка 90, имеющая заданную глубину, образуется в первом изолирующем слое 18а. Канавка 90 может быть образована прямо на затворном блоке 12. Канавка 90 может быть сформирована в форме полосок, параллельных затворному блоку 12. Впоследствии оболочка 20b, имеющая заданную толщину, образуется на внутренней стенке канавки 90. Оболочка 20b является магнитомягким слоем для фокусирования магнитного поля, образованного в проводящем слое в заданном направлении, когда ток течет через проводящий слой, заполнивший канавку 90 в последующем процессе. Оболочка 20b может быть выполнена, например, из NiFe.
На Фиг.9 канавка 90, внутренняя стенка которой покрыта оболочкой 20b, заполняется проводящим слоем 20а. Проводящий слой 20а может быть, например, медным слоем или алюминиевым слоем, но может быть и другим проводящим слоем. Поскольку канавка 90 имеет полосатую форму, проводящий слой 20а тоже имеет полосатую форму. Проводящий слой 20а и оболочка 20b образуют разрядную шину 20. Второй изолирующий слой 18b, который накрывает разрядную шину 20, формируется на первом изолирующем слое 18а. Первый и второй изолирующие слои 18а и 18b образуют первый межслойный диэлектрический слой (ILD) 18. После образования первого ILD-слоя 18 контактное окно 22, через которое экспонируется область 14 истока, формируется в первом ILD-слое 18, и контактное окно 22 заполняется проводящей заглушкой 24. Затем контактная площадка 26, которая накрывает экспонированную часть проводящей заглушки 24, образуется на втором изолирующем слое 18b. Контактная площадка 26 может полностью накрывать разрядную шину 20.
На Фиг.10 носитель S хранения данных, который накрывает контактную площадку 26, формируется на первом ILD-слое 18. Носитель S хранения данных формируется посредством последовательного наложения нескольких слоев. Например, носитель S хранения данных может быть сформирован посредством последовательного наложения физических слоев, таких как запальный слой, скрепляющий слой, закрепленный слой, туннельный слой, свободный магнитный слой и физический слой, который используется в качестве верхнего (герметизирующего) слоя. Также носитель S хранения данных может обладать той же формой, что и ячейка А или ячейка В, показанные на Фиг.4. Также свободный магнитный слой носителя S хранения данных может обладать той же формой, что и ячейка А или ячейка В, показанные на Фиг.4. Дополнительно носитель S хранения данных может включать в себя два свободных магнитных слоя. Например, носитель S хранения данных может быть образован посредством последовательного наложения запального слоя, скрепляющего слоя, первого закрепленного слоя, первого разделителя (туннельного) слоя, первого свободного магнитного слоя, второго разделителя (туннельного) слоя, второго свободного магнитного слоя и физического слоя, который используется в качестве герметизирующего слоя. В то же время первый и второй свободные магнитные слои могут обладать той же формой, что и ячейка А или ячейка В (Фиг.4).
Предпочтительно физические слои, используемые в качестве свободного магнитного слоя и первого и второго свободных магнитных слоев, могли бы быть магнитными слоями, в которых прецессионное движение спинов электронов имело асимметрию касательно импульса внешнего магнитного поля, приложенного к ним самим. При этом физический слой, используемый как первый свободный магнитный слой, может быть магнитным слоем, имеющим бóльшую магнитную поляризуемость, чем материал, используемый как второй свободный магнитный слой. Таким образом, направление магнитной поляризуемости физического слоя, используемого как первый свободный магнитный слой, может быть гораздо легче обращено относительно импульса внешнего магнитного поля, чем во втором свободном магнитном слое.
Материалы, используемые в качестве первого и второго свободных магнитных слоев, и материалы, используемые в качестве первого и второго разделителей, могут быть сформированы с толщиной, достаточной, например, для того, чтобы обеспечить течение тока, и с меньшей толщиной, чем диффузионная длина спина и средний свободный пробег электронов.
Как описано выше, после формирования носителя S хранения данных шаблон PR светочувствительного слоя образуется в заранее установленной области носителя S хранения данных. Шаблон PR светочувствительного слоя определяет область, в которой нужно записать реальные двоичные данные на носитель S хранения данных.
На Фиг.11 представлен вид сверху носителя S хранения данных и шаблона PR светочувствительного слоя (Фиг.10). Шаблон PR (Фиг.11) светочувствительного слоя сформирован в геометрической форме, отличной от квадратной или прямоугольной формы, например в форме параллелограмма. В реальном процессе четыре края шаблона PR светочувствительного слоя могут не быть острыми, а могут быть тупыми, как на чертеже. Поскольку окончательная результирующая конструкция носителя S хранения данных может находиться на разрядной шине 20, шаблон PR светочувствительного слоя может быть сформирован над разрядной шиной 20.
Носитель S (Фиг.11) хранения данных вытравляется до тех пор, пока экспонируется контактная площадка 26, используя шаблон PR светочувствительного слоя в качестве маски (трафарета), и носитель S хранения данных полностью удаляется из окружения шаблона PR светочувствительного слоя. В результате формируется носитель S хранения данных, имеющий заранее установленный размер, куда необходимо записать реальные двоичные данные в заранее установленную область контактной площадки 26, соответствующей разрядной шине 20 (Фиг.12). После этого удаляется шаблон PR светочувствительного слоя.
На Фиг.13 второй ILD-слой 28, который накрывает экспонированную часть контактной площадки 26 и носителя S хранения данных, формируется на первом ILD-слое 18. Впоследствии межслойное отверстие 30, через которое экспонируется верхняя сторона носителя S хранения данных, образуется во втором ILD-слое 28. После этого разрядная шина 32, которая заполняет межслойное отверстие 30, формируется на втором ILD-слое 28. Разрядная шина 32 может быть сформирована из обычного металла, имеющего высокую электропроводность. Однако разрядная шина 32 может быть сформирована посредством образования проводящей шины 32а, имеющей полосатую форму, чтобы быть перпендикулярной разрядной шине 20, и далее последовательного наложения оболочки 32b, которая накрывает экспонированную поверхность проводящей шины 32а (Фиг.14), которая является поперечным разрезом по линии XIV-XIV на Фиг.13. При этом проводящая шина 32а и оболочка 32b могут быть сформированы из того же материала, что и проводящая шина 20а разрядной шины 20 и оболочка 32b, но могут быть сформированы из других материалов.
Способ изготовления магнитного запоминающего устройства согласно другому варианту осуществления настоящего изобретения будет описан со ссылкой на Фиг.15-22. Описание тех же процессов, что и в способе изготовления магнитного запоминающего устройства, показанного на Фиг.8-14, будет опущено.
Первая контактная площадка 100 (Фиг.15), которая накрывает экспонированную полную поверхность проводящей заглушки 24, формируется на первом ILD-слое 18. Одновременно вторая контактная площадка 106 формируется на заранее установленной области первого ILD-слоя 18, отделенной от первой контактной площадки 100. Вторая контактная площадка 106 может быть размещена в месте, где она накрывает разрядную шину 20. Первая и вторая контактные площадки 100 и 106 могут быть сформированы из того же материала, что и проводящая заглушка 24.
Носитель 200 (Фиг.16) хранения данных, который накрывает первую и вторую контактные площадки 100 и 106, формируется на первом ILD-слое 18. Носитель 200 хранения данных может быть физическим слоем, имеющим ту же структуру, что и вышеописанный носитель S хранения данных. Первый и второй шаблоны PR1 и PR2 светочувствительного слоя формируются в заранее установленной области носителя 200 хранения данных. Первый и второй шаблоны PR1 и PR2 светочувствительного слоя соответственно определяют область, в которой нужно записать реальные двоичные данные на носитель 200 хранения данных. Они сформированы так, чтобы быть близко друг от друга и не контактировать друг с другом. Расстояние между первым и вторым шаблонами PR1 и PR2 светочувствительного слоя может быть отрегулировано согласно пределу разрешающей способности процесса экспонирования.
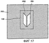
На Фиг.17 представлен вид сверху носителя 200 хранения данных и шаблонов PR1 и PR2 светочувствительного слоя (Фиг.16). Шаблоны PR1 и PR2 светочувствительного слоя сформированы в той части носителя 200 хранения данных, которая накрывает вторую контактную площадку 106. Дополнительно первый и второй шаблоны PR1 и PR2 светочувствительного слоя имеют отличную от квадратной или прямоугольной формы геометрическую форму, например зеркальную форму. В последующем процессе носитель хранения данных, который имеет ту же форму, что и ячейка А (Фиг.4), может содержать один свободный магнитный слой или два свободных магнитных слоя, может быть сформирован на второй контактной площадке 106, используя первый шаблон PR1 светочувствительного слоя. Носитель хранения данных, который имеет ту же форму, что и ячейка В (Фиг.4), может содержать один свободный магнитный слой или два свободных магнитных слоя, может быть сформирован на второй контактной площадке 106, используя второй шаблон PR2 светочувствительного слоя. Затем носитель 200 хранения данных вытравляется, используя первый и второй шаблоны PR1 и PR2 светочувствительного слоя в качестве маски для травления. Процесс травления выполняется до тех пор, пока экспонируется вторая контактная площадка 106. После этого удаляются первый и второй шаблоны PR1 и PR2 светочувствительного слоя. В результате первый и второй шаблоны S11 и S22 носителя 200 хранения данных формируются на второй контактной площадке 106 (Фиг.18).
На Фиг.19 третий изолирующий слой 28а, который накрывает первую и вторую контактные площадки 100 и 106 и первый и второй шаблоны S11 и S22, формируется на первом ILD-слое 18. Третий изолирующий слой 28а может быть сформирован из изолирующего материала, который обычно используется, чтобы сформировать магнитное запоминающее устройство. После формирования третьего изолирующего слоя 28а его верхняя сторона выравнивается до тех пор, пока экспонируются первый и второй шаблоны S11 и S22. Выравнивание верхней стороны третьего изолирующего слоя 28а может быть выполнено, используя химико-механическое полирование (CMP). После выравнивания межслойное отверстие 102, через которое экспонируется первая контактная площадка 100, формируется в третьем изолирующем слое 28а.
На Фиг.20 межслойное отверстие 102 заполняется проводящей заглушкой 104. Впоследствии проводящая шина 112, которая соединяет проводящую заглушку 104 и второй шаблон S22, формируется на третьем изолирующем слое 28а. Проводящая шина 112 может быть сформирована, используя обычное осаждение и формирование рельефа.
На Фиг.21 четвертый изолирующий слой 28b, который накрывает проводящую шину 112 и первый и второй шаблоны S11 и S22, формируется на третьем изолирующем слое 28а. Третий и четвертый изолирующие слои 28а и 28b образуют второй ILD-слой 28. После формирования четвертого изолирующего слоя 28b межслойное отверстие 114, через которое экспонируется верхняя сторона первого шаблона S11, формируется в четвертом изолирующем слое 28b.
На Фиг.22 межслойное отверстие 114 заполняется проводящей заглушкой 116, а затем разрядная шина 32, которая контактирует с проводящей заглушкой 116, формируется на четвертом изолирующем слое 28b.
Способ изготовления магнитного запоминающего устройства согласно другому варианту осуществления настоящего изобретения описан со ссылкой на Фиг.23-28.
На Фиг.23 первый и второй блоки 12а и 12b, которые отделены друг от друга посредством заданной выемки, формируются на подложке 10. Первый и второй затворные блоки 12а и 12b могут включать в себя изолирующий слой затвора, электрод затвора, разделитель на стороне затвора и верхний пассивирующий слой. Проводящие примеси наносятся на подложку 10 на заранее установленную глубину, используя первый и второй затворные блоки 12а и 12b в качестве маски, и выполняется отжиг для рассеивания проводящих примесей. Проводящие примеси могут быть донорскими или акцепторными примесями. Первая область 14а истока формируется справа от первого затворного блока 12а подложки 10, область 16 общего стока формируется слева от первого затворного блока 12а подложки 10, и вторая область 14b истока формируется слева от второго затворного блока 12b. Таким образом образуются соответственно первый транзистор Т1, включающий в себя первую область 14а истока, первый затворный блок 12а и область 16 общего стока, и второй транзистор Т2, включающий в себя вторую область 14b истока, второй затворный блок 12b и область 16 общего стока.
На Фиг.24 первый изолирующий слой 18а, который накрывает первый и второй транзисторы Т1 и Т2, формируется на подложке 10. Канавка 90, имеющая заданную глубину, формируется в первом изолирующем слое 18а. Соответственно, канавка 90 может быть образована между первым и вторым затворными блоками 12а и 12b. После формирования канавки 90 внутри канавки 90 формируется оболочка 20b из магнитомягкого материала, имеющего заданную толщину. Канавка 90, внутренняя часть которой покрыта оболочкой 20b, заполняется проводящим материалом 20b. Так как канавка 90 имеет форму линии, проводящий материал 20b является проводящей шиной, при виде сверху. Оболочка 20b и проводящий материал 20b образуют разрядную шину 20, которая вызывает импульс магнитного поля в направлении трудной оси.
На Фиг.25 второй изолирующий слой 18b, который накрывает разрядную шину 20, формируется на первом изолирующем слое 18а. Первое контактное окно 22а, через которое экспонируется первая область 14а истока, и второе контактное окно 22b, через которое экспонируется вторая область 14b истока, формируются соответственно в первом ILD-слое 18, содержащем первый и второй изолирующие слои 18а и 18b.
На Фиг.26 первое и второе контактные окна 22а и 22b заполняются первой и второй проводящими заглушками 24а и 24b. Впоследствии первая контактная площадка 100, которая накрывает верхнюю сторону первой проводящей заглушки 24а и проходит на разрядную шину 20, и вторая контактная площадка 106, которая накрывает верхнюю сторону второй проводящей заглушки 24b и проходит на разрядную шину 20, формируются на первом ILD-слое 18. Первая и вторая контактные площадки 100 и 106 отделены друг от друга на разрядной шине 20.
На Фиг.27 первый и второй носители S11 и S22 хранения данных формируются, соответственно, на первой и второй контактных площадках 100 и 106. Первый и второй носители S11 и S22 хранения данных могут быть сформированы, используя тот же процесс, что и процесс формирования первого и второго шаблонов S11 и S22 (Фиг.15). Первый и второй носители S11 и S22 хранения данных отделены друг от друга на заданное расстояние. Второй ILD-слой 28, который накрывает первую и вторую контактные площадки 100 и 106 и первый второй носители S11 и S22 хранения данных, формируется на первом ILD-слое 18. Впоследствии первое межслойное отверстие 114, через которое экспонируется верхняя сторона первого носителя S11 хранения данных, и второе межслойное отверстие 116, через которое экспонируется верхняя сторона второго носителя S22 хранения данных, формируются соответственно во втором ILD-слое 28.
На Фиг.28 первое и второе межслойные отверстия 114 и 116 заполняются соответственно третьей и четвертой проводящими заглушками 118 и 120, а затем разрядная шина 32, которая контактирует с третьей и четвертой проводящими заглушками 118 и 120 и вызывает импульс магнитного поля в направлении легкой оси, формируется на втором ILD-слое 28. Разрядная шина 32 может быть перпендикулярна разрядной шине 20.
Различие в намагниченности насыщения делает возможным запись информации в один разряд без влияния на информацию в другом разряде. Это предусматривает выборочную запись и возможно потому, что два свободных магнитных слоя имеют различные углы конуса прецессии спина.
Таким образом, настоящее изобретение предусматривает повышенную плотность данных посредством использования многоразрядной структуры MRAM, где ячейки памяти упорядочены таким образом, что эффективная остаточная намагниченность каждой из ячеек не параллельна вдоль длинных осей ячеек.
Дополнительно, в настоящем изобретении можно применять прецессионное перемагничивание спинов, которое является энергоэкономичным.
К тому же, возможна высокочастотная запись ячейки, приводящая к более высокой скорости передачи данных.
В заключение, настоящее изобретение предусматривает сокращение количества разрядных и числовых шин в данной архитектуре MRAM для многоразрядной MRAM.
Специалистам в данной области техники ясно, что различные модификации, дополнения и замены возможны без отклонения от области применения и сущности изобретения, как раскрыто в прилагаемой формуле изобретения.
Формула изобретения
1. Магнитная память, содержащая
по меньшей мере одну парную ячейку, каждая парная ячейка содержащая первую и вторую ячейку памяти, и первая и вторая ячейки памяти, каждая из которых имеет магнитную многослойную структуру, содержащую
магнитно-изменяемый ферромагнитный слой,
ферромагнитный базовый слой, имеющий неизменяемое состояние намагниченности;
соответствующий разделительный слой, разделяющий магнитно-изменяемые и неизменяемые ферромагнитные слои,
при этом первая и вторая ячейки памяти упорядочены таким образом, что эффективная остаточная намагниченность каждой из ячеек не параллельна оси ячейки, параллельной ее длинной стороне.
2. Магнитная память по п.1, отличающаяся тем, что разделительный слой является непроводящим.
3. Магнитная память по п.1, отличающаяся тем, что разделительный слой является проводящим.
4. Магнитная память по п.1, отличающаяся тем, что магнитно-изменяемый ферромагнитный слой первой ячейки памяти из парной ячейки имеет в своем составе одинаковый или отличающийся ферромагнитный материал, что и магнитно-изменяемый ферромагнитный слой второй ячейки памяти парной ячейки.
5. Магнитная память по п.1, отличающаяся тем, что магнитно-изменяемый ферромагнитный слой первой ячейки памяти парной ячейки имеет одинаковую или отличающуюся толщину, что и толщина магнитно-изменяемого ферромагнитного слоя второй ячейки памяти парной ячейки.
6. Магнитная память по п.1, отличающаяся тем, что магнитно-изменяемый ферромагнитный слой первой ячейки памяти парной ячейки имеет одинаковую или отличающуюся намагниченность насыщения, что и магнитно-изменяемый ферромагнитный слой второй ячейки памяти парной ячейки.
7. Магнитная память по п.1, отличающаяся тем, что магнитно-изменяемый ферромагнитный слой первой ячейки памяти парной ячейки имеет одинаковую или отличающуюся магнитно-кристаллическую анизотропию, что и магнитно-изменяемый ферромагнитный слой второй ячейки памяти парной ячейки.
8. Магнитная память по п.1, отличающаяся тем, что первая и вторая ячейки памяти имеют одинаковую или различную форму ячейки.
9. Магнитная память по п.1, отличающаяся тем, что первая и вторая ячейки памяти имеют четырехугольную форму, и длина каждой ячейки памяти больше, чем ширина ячейки памяти.
10. Магнитная память по п.9, отличающаяся тем, что более короткие края каждой из первой и второй ячеек памяти расположены под углом к оси ячейки памяти, параллельной ее длинной стороне, под углами меньшими, чем 90°.
11. Магнитная память по п.10, отличающаяся тем, что углы находятся в диапазоне от около 5 до около 85°.
12. Магнитная память по п.9, отличающаяся тем, что первая ячейка памяти парной ячейки имеет более короткие стороны, расположенные под углом в направлении выше горизонтальной плоскости, тогда как вторая ячейка памяти имеет более короткие стороны, расположенные под углом в противоположном направлении ниже горизонтальной плоскости.
13. Магнитная память по п.9, отличающаяся тем, что часть, в которой длинная сторона и короткая сторона по меньшей мере одной из первой и второй ячеек памяти пересекаются, закруглена, чтобы подавлять возникновение центров образования магнитных доменов.
14. Магнитная память по п.9, отличающаяся тем, что ось каждой из первой и второй ячеек памяти, параллельная ее длинной стороне, расположена под углом к горизонтальной плоскости.
15. Магнитная память по п.14, отличающаяся тем, что ось первой ячейки памяти, параллельная ее длинной стороне, парной ячейки расположена под углом над горизонтальной плоскостью, тогда как ось второй ячейки памяти, параллельная ее длинной стороне, расположена под углом в направлении, противоположном оси первой ячейки памяти, параллельной ее длинной стороне, ниже горизонтальной плоскости.
16. Магнитная память по п.15, отличающаяся тем, что ось первой ячейки памяти, параллельная ее длинной стороне, находится под углом в диапазоне около от 1 до 85°, тогда как ось второй ячейки памяти, параллельная ее длинной стороне, находится под углом в диапазоне около от -1 до -85°.
17. Магнитная память по п.9, отличающаяся тем, что первая ячейка памяти из парной ячейки имеет более короткие стороны, расположенные под углом в направлении выше горизонтальной плоскости, тогда как ось ячейки, параллельная ее длинной стороне, второй ячейки памяти расположена под углом ниже горизонтальной плоскости.
18. Магнитная память по п.9, отличающаяся тем, что первая ячейка памяти из парной ячейки имеет более короткие стороны, расположенные под углом в направлении ниже горизонтальной плоскости, тогда как ось ячейки, параллельная ее длинной стороне, второй ячейки памяти расположена под углом выше горизонтальной плоскости.
19. Магнитная память по п.9, отличающаяся тем, что первая и вторая ячейки памяти отделены на расстояние по меньшей мере половины ширины ячейки, чтобы минимизировать магнитостатическое взаимодействие между ячейками.
20. Магнитная память по п.1, отличающаяся тем, что первая и вторая ячейки памяти парной ячейки совместно используют ту же ортогональную электрическую цепь.
21. Магнитная память по п.1, отличающаяся тем, что первая и вторая ячейки памяти парной ячейки имеют совместно либо раздельно используемый транзистор для операции уточнения состояния.
22. Магнитная память по п.1, отличающаяся тем, что соотношение сторон каждой ячейки находится между 1,1 и 3,0.
23. Магнитная память по п.22, отличающаяся тем, что первая и вторая ячейки памяти парной ячейки имеют одинаковое или различное соотношение сторон.
24. Магнитная память по п.1, отличающаяся тем, что магнитно-изменяемый ферромагнитный слой содержит сплав Ni, Fe и Со или их комбинацию.
25. Магнитная память по п.1, отличающаяся тем, что первая и вторая ячейки памяти имеют множество магнитно-изменяемых ферромагнитных слоев каждая, один из магнитно-изменяемых ферромагнитных слоев снизу конструкции и другой сверху конструкции.
26. Магнитная память по п.25, отличающаяся тем, что каждый магнитно-изменяемый ферромагнитный слой хранит один бит (разряд) двоичной информации.
27. Магнитная память по п.25, отличающаяся тем, что содержит две парных ячейки, в которых каждая парная ячейка хранит два разряда двоичной информации.
28. Магнитная память по п.27, отличающаяся тем, что содержит четыре парные ячейки, с двумя парами ячеек, уложенными поверх друг друга в перпендикулярном направлении, образуя структуру восьмиразрядной ячейки.
29. Магнитная память по п.28, отличающаяся тем, что ось поля прецессионного возбуждения спина для нижних четырех разрядов перпендикулярна верхним четырем разрядам, так что когда нижняя четырехразрядная ячейка возбуждается до прецессии, верхние четыре разряда не возбуждаются до прецессии.
30. Магнитная память по п.28, отличающаяся тем, что ось поля прецессионного возбуждения спина для нижних четырех разрядов перпендикулярна верхним четырем разрядам, так что, когда верхняя четырехразрядная ячейка возбуждается до прецессии, нижние четыре разряда не возбуждаются до прецессии.
31. Магнитная память по п.1, отличающаяся тем, что первая и вторая ячейки памяти парной ячейки имеют одинаковую или различную частоту прецессии спина.
32. Магнитная память по п.1, отличающаяся тем, что первая и вторая ячейки памяти парной ячейки имеют одинаковый или различный коэффициент затухания, чтобы предусматривать рассеяние магнитной энергии.
33. Способ записи для магнитной памяти, содержащей по меньшей мере одну парную ячейку, которая содержит первую и вторую ячейки памяти, заключающийся в том, что
прикладывают первое магнитное поле ниже поля перемагничивания парной ячейки вдоль длинных осей первой и второй ячеек памяти,
прикладывают второе магнитное поля перпендикулярно первому магнитному полю, причем второе магнитное поле имеет достаточную напряженность, чтобы создать угол прецессии спина, достаточно большой, чтобы переключить намагниченность первой ячейки памяти парной ячейки на противоположное направление, но недостаточную напряженность, чтобы переключить намагниченность второй ячейки памяти парной ячейки,
при этом второе магнитное поле выключают, как только намагниченность первой ячейки спрецессирует больше, чем почти до 1/2, но меньше, чем почти 3/4 цикла прецессии.
34. Способ записи по п.33, отличающийся тем, что первое магнитное поле выключается после того, как выключается второе магнитное поле.
35. Способ записи по п.33, отличающийся тем, что импульс первого магнитного поля имеет большую длительность, чем импульс второго магнитного поля.
36. Способ записи по п.33, отличающийся тем, что импульс второго магнитного поля имеет время нарастания, меньшее или равное 1 нс.
37. Способ записи по п.33, отличающийся тем, что одну из первой и второй ячеек памяти выбирают для записи посредством изменения полярности второго магнитного поля.
38. Способ записи по п.36, отличающийся тем, что импульс второго магнитного поля обладает формой, которая вызывает быстро нарастающее поле.
39. Способ записи по п.38, отличающийся тем, что форма выбрана из группы, состоящей из трапециевидной или экспоненциальной.
40. Способ записи по п.33, отличающийся тем, что дополнительно уточняют состояния хранящейся информации в каждой ячейке, используя магниторезистивный эффект.
41. Способ записи по п.33, отличающийся тем, что дополнительно снимают второе магнитное поле, когда намагниченность первой ячейки памяти достигнет до (n+1/2) периодов прецессии, где n – число периодов прецессии.
42. Способ записи по п.33, отличающийся тем, что намагниченность первой и второй ячеек памяти переключают посредством приложения внешнего магнитного поля, используя спин-поляризованный ток или их сочетание.
43. Способ записи по п.33, отличающийся тем, что интенсивность импульса первого магнитного поля является одинаковой или различной при перемагничивании каждого отдельного бита (разряда) в парной ячейке.
44. Способ записи по п.33, отличающийся тем, что длительность импульса первого магнитного поля находится в диапазоне около от 0,2 до 10 нс, тогда как длительность импульса второго магнитного поля находится в диапазоне около от 0,01 до 5 нс.
45. Способ записи магнитной памяти, содержащей по меньшей мере одну парную ячейку, заключающийся в том, что создают крутящий момент на ячейках посредством манипулирования по меньшей мере одним намагниченностью и углом эффективного поля ячеек, так что крутящий момент, приложенный к ячейке, которую необходимо перемагнитить, больше чем крутящий момент, приложенный к другой ячейке.
46. Способ записи по п.45, отличающийся тем, что крутящий момент, приложенный к ячейке, которую нужно перемагнитить, имеет момент, достаточный для того, чтобы образовать угол прецессии спина достаточно большой, чтобы переключить намагниченность ячейки на противоположное направление, но недостаточный, чтобы переключить намагниченность другой ячейки.
Приоритеты по пунктам:
27.10.2004 по пп.2-4, 8-10, 12, 17, 20, 21, 23-27, 31-33, 35, 37, 41, 42;
29.04.2005 по пп.1, 5-7, 11, 13-16, 18, 19, 22, 28-30, 34, 36, 38-40, 43-46.
РИСУНКИ
MM4A – Досрочное прекращение действия патента СССР или патента Российской Федерации на изобретение из-за неуплаты в установленный срок пошлины за поддержание патента в силе
Дата прекращения действия патента: 27.10.2009
Извещение опубликовано: 27.09.2010 БИ: 27/2010
|
|