|
|
(21), (22) Заявка: 2005116646/28, 31.05.2005
(24) Дата начала отсчета срока действия патента:
31.05.2005
(46) Опубликовано: 20.11.2007
(56) Список документов, цитированных в отчете о поиске:
RU 2236034 C2, 10.09.2004. RU 2174292 C1, 27.09.2001. SU 953630 A, 23.08.1982. RU 2240606 C2, 20.11.2004. WO 9619046 A, 20.06.1996. DE 19756104 A, 24.06.1999.
Адрес для переписки:
367015, г.Махачкала, пр. имама Шамиля, 70, ДГТУ, отдел интеллектуальной собственности
|
(72) Автор(ы):
Исмаилов Тагир Абдурашидович (RU), Евдулов Олег Викторович (RU), Мугудинов Радим Мугудинович (RU)
(73) Патентообладатель(и):
ГОСУДАРСТВЕННОЕ ОБРАЗОВАТЕЛЬНОЕ УЧРЕЖДЕНИЕ ВЫСШЕГО ПРОФЕССИОНАЛЬНОГО ОБРАЗОВАНИЯ “ДАГЕСТАНСКИЙ ГОСУДАРСТВЕННЫЙ ТЕХНИЧЕСКИЙ УНИВЕРСИТЕТ” (ДГТУ) (RU)
|
(54) УСТРОЙСТВО ДЛЯ ТЕРМОСТАБИЛИЗАЦИИ НЕСКОЛЬКИХ ОБЪЕКТОВ НА РАЗНЫХ ТЕМПЕРАТУРНЫХ УРОВНЯХ
(57) Реферат:
Изобретение относится к средствам термостабилизации объектов и может использоваться для одновременной стабилизации температуры нескольких объектов, имеющих разные оптимальные рабочие температуры. Изобретение направлено на повышение надежности термостабилизирующего устройства. Этот технический результат обеспечивается за счет того, что каждая металлическая емкость с термостабилизирующим веществом, с которой сопряжен объект термостабилизации, приведена в тепловой контакт с теплообменником, выполненным в виде тонкостенного металлического трубопровода, по которому протекает посредством компрессора охлаждающая жидкость. При этом очередность сопряжения трубопровода с металлическими емкостями такова, что первой с теплообменником приводится в тепловой контакт емкость с термостабилизирующим веществом, имеющим наименьшую температуру плавления, далее с теплообменником сопрягается емкость с термостабилизирующим веществом, имеющим более высокую температуру плавления, и так далее в порядке возрастания температуры плавления термостабилизирующих веществ. Причем теплообменник имеет основной участок теплосброса, где осуществляется отвод теплоты от нагретой жидкости и ее охлаждение тем или иным методом, и участки дополнительного промежуточного теплосброса теплообменника – между металлическими емкостями. 1 ил.
Изобретение относится к средствам термостабилизации объектов и может использоваться для одновременной стабилизации температуры нескольких объектов, имеющих разные оптимальные рабочие температуры.
Прототипом предлагаемого устройства является прибор, описанный в [1]. Прибор содержит термоэлектрическую батарею, питаемую электрическим током от источника электрической энергии, холодным спаем приведенную в тепловой контакт с тонкостенной металлической емкостью, заполненной термостабилизирующим веществом, а горячим с радиатором. Металлическая емкость разделена перегородками на отсеки по числу объектов термостабилизации, заполненные разными термостабилизирующими веществами, температуры плавления которых совпадают с оптимальными рабочими температурами объектов термостабилизации, установленных на верхней поверхности отсеков таким образом, чтобы оптимальная рабочая температура каждого объекта термостабилизации совпадала с температурой плавления термостабилизирующего вещества, заполняющего данный отсек
Недостатком устройства является низкое значение коэффициента теплоотдачи на границе холодный спай термоэлектрической батареи – металлическая емкость из-за наличия на границе только кондуктивного теплообмена, следствием чего является недостаточная интенсивность теплоотвода от термостабилизирующего вещества и недостаточная надежность функционирования термостабилизирующего устройства.
Целью изобретения является повышение интенсивности теплоотвода от металлической емкости с термостабилизирующим веществом и, следовательно, повышение надежности функционирования термостабилизирующего устройства.
Цель достигается тем, что каждая металлическая емкость с термостабилизирующим веществом, с которой сопряжен объект термостабилизации, приведена в тепловой контакт с теплообменником, выполненным в виде тонкостенного металлического трубопровода, по которому протекает посредством компрессора охлаждающая жидкость. При этом очередность сопряжения трубопровода с металлическими емкостями такова, что первой с теплообменником приводится в тепловой контакт емкость с термостабилизирующим веществом, имеющим наименьшую температуру плавления, далее с теплообменником сопрягается емкость с термостабилизирующим веществом, имеющим более высокую температуру плавления, и так далее в порядке возрастания температуры плавления термостабилизирующих веществ. Причем теплообменник имеет основной участок теплосброса, где осуществляется отвод теплоты от нагретой жидкости и ее охлаждение тем или иным методом, и участки дополнительного промежуточного теплосброса теплообменника – между металлическими емкостями.
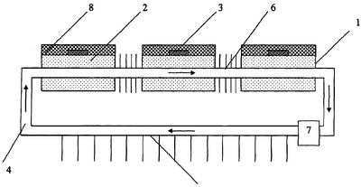
Конструкция устройства приведена на чертеже.
Устройство состоит из ряда тонкостенных металлических емкостей 1 с термостабилизирующими веществами 2 по числу объектов термостабилизации 3, приведенных с ними в хороший тепловой контакт. Температура плавления каждого термостабилизирующего вещества 2, находящегося в какой-либо металлической емкости 1, совпадает с необходимой температурой соответствующего объекта термостабилизации 3. Каждая металлическая емкость 1 с термостабилизирующим веществом 2 приведена в тепловой контакт с теплообменником 4, выполненным в виде тонкостенного металлического трубопровода, по которому протекает охлаждающая жидкость. При этом очередность сопряжения трубопровода 4 с металлическими емкостями 1 такова, что первой с теплообменником 4 приводится в тепловой контакт емкость 1 с термостабилизирующим веществом 2, имеющим наименьшую температуру плавления, далее с теплообменником 4 сопрягается емкость 1 с термостабилизирующим веществом 2, имеющим более высокую температуру плавления и так далее в порядке возрастания температуры плавления термостабилизирующих веществ 2. Теплообменник 4 имеет основной участок теплосброса 5, где осуществляется отвод теплоты от нагретой жидкости и ее охлаждение тем или иным методом, и участки дополнительного промежуточного теплосброса 6 теплообменника 4 – между металлическими емкостями. Циркуляция жидкости в теплообменнике осуществляется посредством компрессора 7. Теплоизоляция 8 применяется для снижения до минимума влияния колебаний температуры окружающей среды на объект термостабилизации.
Устройство работает следующим образом.
Тепло, поступающее от объектов термостабилизации 3, передается металлической емкости 1 и через поверхность соприкосновения термостабилизирующим веществам 2. Далее одновременно происходит прогрев термостабилизирующих веществ 2 до температуры плавления и процесс плавления. Температура объектов термостабилизации 3 будет поддерживаться при постоянном значении, равном температуре плавления термостабилизирующих веществ 2 до полного проплавления последних.
Циркулирующая в теплообменнике 4 за счет действия компрессора 7 жидкость отводит избыток тепла от термостабилизирующих веществ 2, сохраняя при этом оптимальную рабочую температуру объектов термостабилизации 3 до конца их работы. На участке 5 теплообменника 4 производится основное охлаждение нагретой жидкости, а на участках 6 между емкостями 1 от нее осуществляется дополнительный промежуточный теплоотвод.
Литература
1. Патент РФ на изобретение №2236034. Устройство для термостабилизации нескольких объектов на разных температурных уровнях / Исмаилов Т.А., Евдулов О.В., Аминов Г.И., Юсуфов Ш.А.
Формула изобретения
Устройство для термостабилизации нескольких объектов на разных температурных уровнях, содержащее тонкостенные металлические емкости с термостабилизирующими веществами по числу объектов термостабилизации, приведенных с ними в хороший тепловой контакт, причем температура плавления каждого термостабилизирующего вещества, находящегося в какой-либо металлической емкости, совпадает с необходимой температурой соответствующего объекта термостабилизации, отличающееся тем, что каждая металлическая емкость с термостабилизирующим веществом приведена в тепловой контакт с теплообменником, выполненным в виде тонкостенного металлического трубопровода, по которому протекает посредством компрессора охлаждающая жидкость, при этом очередность сопряжения трубопровода с металлическими емкостями такова, что первой с теплообменником приводится в тепловой контакт емкость с термостабилизирующим веществом, имеющим наименьшую температуру плавления, далее с теплообменником сопрягается емкость с термостабилизирующим веществом, имеющим более высокую температуру плавления, и так далее в порядке возрастания температуры плавления термостабилизирующих веществ, причем теплообменник имеет основной участок теплосброса, где осуществляется отвод теплоты от нагретой жидкости и ее охлаждение тем или иным методом, и участки дополнительного промежуточного теплосброса теплообменника – между металлическими емкостями.
РИСУНКИ
MM4A – Досрочное прекращение действия патента СССР или патента Российской Федерации на изобретение из-за неуплаты в установленный срок пошлины за поддержание патента в силе
Дата прекращения действия патента: 01.06.2008
Извещение опубликовано: 27.06.2010 БИ: 18/2010
|
|