|
|
(21), (22) Заявка: 2006116839/09, 16.05.2006
(24) Дата начала отсчета срока действия патента:
16.05.2006
(46) Опубликовано: 20.11.2007
(56) Список документов, цитированных в отчете о поиске:
RU 2054686 C1, 20.02.1996. RU 2143702 C1, 27.12.1999. SU 1493964 A1, 15.07.1989. EP 0457294 A, 21.11.1991.
Адрес для переписки:
620034, г.Екатеринбург, ул. Колмогорова, 66, УрГУПС, ОНТИ, Л.Б. Никулиной
|
(72) Автор(ы):
Белинский Станислав Олегович (RU), Кузнецов Константин Борисович (RU)
(73) Патентообладатель(и):
Государственное образовательное учреждение высшего профессионального образования “Уральский государственный университет путей сообщения” (УрГУПС) (RU)
|
(54) СПОСОБ ОПРЕДЕЛЕНИЯ ПАРАМЕТРОВ МАГНИТНОГО ПОЛЯ ЭЛЕКТРОУСТАНОВОК И УСТРОЙСТВО ДЛЯ ЕГО ОСУЩЕСТВЛЕНИЯ
(57) Реферат:
Использование: для индикации предельно допустимого уровня параметра магнитного поля на рабочих местах. Технический результат заключается в организации непрерывного контроля параметров магнитного поля с определением установленных предельно допустимых уровней его на рабочих местах, при упрощении оборудования. Способ состоит в том, что измеряют силу электрического тока, создаваемого электроустановкой, понижают ее, определяют параметр магнитного поля электроустановки в зависимости от измеренной силы электрического тока, сравнивают вышеуказанный параметр магнитного поля с заданными предельно допустимыми уровнями данного параметра и выводят результат на соответствующую сигнальную лампу. 2 н.п. ф-лы, 1 ил.
Изобретение относится к способам и устройствам контроля параметров магнитного поля, например электроустановок тяговых и трансформаторных подстанций, и может быть использовано для индикации предельно допустимого уровня параметра магнитного поля на рабочих местах.
Известен способ определения параметров магнитного поля (Измеритель параметров электрического и магнитного полей BE – МЕТР-АТ-002. Руководство по эксплуатации. МГФК 411173.004РЭ. М.: ООО «НТМ-защита», 2001. – С.3-5), включающий преобразование колебаний магнитных полей в колебания электрического напряжения, усиление этих колебаний с последующим их детектированием, аналого-цифровое преобразование этого сигнала и его анализ.
Недостатком известного способа является многоступенчатое преобразование сигнала.
Известно устройство определения параметров электромагнитного поля электроустановок (Измеритель параметров электрического и магнитного полей ВЕ-МЕТР-АТ-002. Руководство по эксплуатации. МГФК 411173.004РЭ. М.: ООО «НТМ-защита», 2001. – 13 с.), включающий датчик-измеритель параметров магнитного поля, усилитель, аналого-цифровой преобразователь, процессор, индикатор.
Недостатком известного устройства является использование сложных, дорогостоящих элементов оборудования, невозможность применения для непрерывного контроля параметров магнитного поля в электроустановках.
Цель изобретения – непрерывный контроль параметров магнитного поля электроустановок с определением и индикацией его уровней на рабочих местах.
Указанная цель достигается использованием элементов электроустановки в качестве датчика магнитного поля и источника питания.
Сущность изобретения по п.1 заключается в том, что измеряют силу электрического тока, создаваемого электроустановкой, понижают ее, определяют параметр магнитного поля электроустановки в зависимости от измеренной силы электрического тока, сравнивают вышеуказанный параметр магнитного поля с заданными предельно допустимыми уровнями данного параметра и выводят результат на соответствующую сигнальную лампу, а сущность изобретения по п.2 заключается в том, что в качестве датчика магнитного поля используют вторичную обмотку измерительного трансформатора тока электроустановки, к которой подключают два последовательно соединенных реле тока КА1 и КА2, причем у каждого реле по два блок-контакта, при этом в исходном состоянии один из блок-контактов каждого реле тока КА1 и КА2 нормально разомкнут, а второй из блок-контактов каждого реле тока КА1 и КА2 – нормально замкнут, нормально разомкнутый блок-контакт реле тока КА1 последовательно соединен с нормально замкнутым блок-контактом реле тока КА2 и с индикатором – желтой сигнальной лампой, а нормально разомкнутый блок-контакт реле тока КА2 соединен с индикатором – красной сигнальной лампой; к вторичной обмотке измерительного трансформатора напряжения электроустановки подключено реле напряжения KV с одним блок-контактом, при этом в исходном состоянии он нормально разомкнут и последовательно соединен с нормально замкнутым блок-контактом реле тока КА1 и с индикатором – зеленой сигнальной лампой.
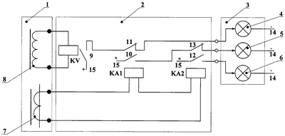
На чертеже представлена схема устройства для осуществления способа определения параметра магнитного поля электроустановок, состоящая из блока подключения 1, блока контроля и срабатывания 2 и блока сигнализации 3, включающая вторичную обмотку 7 измерительного трансформатора тока с подключенным к ней реле тока КА1 первой ступени контроля с нормально разомкнутым блок-контактом 10 и нормально замкнутым блок-контактом 11, реле тока КА2 второй ступени контроля с нормально разомкнутым блок-контактом 12 и нормально замкнутым блок-контактом 13, вторичную обмотку 8 измерительного трансформатора напряжения с подключенным к ней реле напряжения KV третьей ступени контроля с блок-контактом 9, а также индикаторы – зеленую 4, желтую 5 и красную 6 сигнальные лампы и источник для их питания: «-» шина 14 и «+» шина 15 (шины собственных нужд самой электроустановки).
Предлагаемый способ работает следующим образом.
В существующих способах определения параметров магнитного поля используют специальные, сложные и дорогостоящие измерительные приборы для единичных измерений параметра магнитного поля, который выводится на индикаторное устройство. Измерения осуществляют с определенной периодичностью (один раз в три года), согласно требованиям контроля параметров магнитного поля, создаваемого электроустановкой на рабочих местах. Однако параметры магнитного поля могут резко изменяться во времени из-за изменения токовой нагрузки и превышать предельно допустимые уровни, оказывать вредное воздействие на персонал электроустановки.
Предлагаемый способ определения параметров магнитного поля позволяет, прежде всего, осуществлять измерение и контроль параметров магнитного поля вблизи электроустановки непрерывно, так как определяет параметр магнитного поля электроустановки в зависимости от силы электрического тока, потребляемого электроустановкой и создающего это магнитное поле.
Так как не все уровни параметра магнитного поля, возникающего вблизи электроустановки, оказывают вредное воздействие на организм человека, то выбирают из непрерывных значений тот уровень параметров магнитного поля, когда его значение превышает предельно допустимый уровень параметра магнитного поля.
Информирование персонала на рабочих местах о превышении предельно допустимого уровня осуществляется световой индикацией.
Предлагаемое устройство работает следующим образом.
Протекание тока через первичную обмотку (на схеме не показана) измерительного трансформатора тока электроустановки обуславливает протекание тока во вторичной обмотке 7 измерительного трансформатора тока, который пропорционален параметрам магнитного поля, создаваемого вблизи электроустановки, при этом вторичная обмотка 7 измерительного трансформатора тока работает в качестве датчика магнитного поля.
При протекании тока электроустановки, создающего магнитное поле, превышающее первую ступень предельно допустимого уровня его параметра, срабатывает реле тока КА1 и его нормально разомкнутый блок-контакт 10 при нормально замкнутом блок-контакте 13 реле тока КА2 замыкает цепь и подается напряжение от шин 14, 15 для питания желтой сигнальной лампы 5, указывающей персоналу ограничение времени нахождения вблизи электроустановки.
При протекании тока электроустановки, создающего магнитное поле, превышающее вторую ступень предельно-допустимого уровня параметра, срабатывает реле тока КА2 и его нормально замкнутый блок-контакт 13 реле тока КА2 размыкает цепь питания желтой сигнальной лампы 5, а нормально разомкнутый блок-контакт 12 замыкает цепь и подается напряжение от шин 14, 15 для питания красной сигнальной лампы 6, указывающей персоналу опасное действие магнитного поля и запрет нахождения вблизи электроустановки.
При отсутствии тока электроустановки параметр магнитного поля равен нулю и в этом случае блок-контакт 10 реле тока КА1 и блок-контакт 12 реле тока КА2 будут нормально разомкнуты, что размыкает цепь от шин питания 14, 15 желтой 5 и красной 6 сигнальных ламп. В случае отсутствия электрического тока, но при наличии напряжения на электроустановке реле напряжения KV третьей ступени контроля срабатывает и его блок-контакт 9 через нормально замкнутый блок-контакт 11 замыкает цепь и подается напряжение от шин 14, 15 для питания зеленой сигнальной лампы 4, указывающей на то, что параметр магнитного поля на рабочем месте минимален, но электроустановка находится под напряжением.
Таким образом, применение предлагаемого способа контроля параметров магнитного поля и устройства для его осуществления обеспечивает трехступенчатый (зеленый, желтый, красный) контроль и предупреждение персонала соответственно о допустимом, вредном и опасном воздействии магнитного поля на рабочих местах электроустановок. Простота конструкции предлагаемого устройства, использование элементов оборудования самой электроустановки (вторичные обмотки измерительных трансформаторов и шины питания собственных нужд электроустановки) исключает использование специального датчика магнитного поля и дополнительного источника питания и позволяет осуществлять способ непрерывного контроля параметров магнитного поля в любых электроустановках, имеющих измерительные трансформаторы.
Формула изобретения
1. Способ определения параметров магнитного поля электроустановок, включающий измерение параметра, преобразование его в электрическое напряжение, вывод его на индикацию, отличающийся тем, что измеряют силу электрического тока, создаваемого электроустановкой, понижают ее, определяют параметр магнитного поля электроустановки в зависимости от измеренной силы электрического тока, сравнивают вышеуказанный параметр магнитного поля с заданными предельно допустимыми уровнями данного параметра и выводят результат на соответствующую сигнальную лампу.
2. Устройство для осуществления способа по п.1, включающее датчик магнитного поля, блок аналоговой обработки, блок цифровой обработки и индикатор, отличающееся тем, что в качестве датчика магнитного поля используют вторичную обмотку измерительного трансформатора тока электроустановки, к которой подключают два последовательно соединенных реле тока КА1 и КА2, причем у каждого реле по два блок-контакта, при этом в исходном состоянии один из блок-контактов каждого реле тока КА1 и КА2 нормально разомкнут, а второй из блок-контактов каждого реле тока КА1 и КА2 – нормально замкнут, нормально разомкнутый блок-контакт реле тока КА1 последовательно соединен с нормально замкнутым блок-контактом реле тока КА2 и с индикатором – желтой сигнальной лампой, а нормально разомкнутый блок-контакт реле тока КА2 соединен с индикатором – красной сигнальной лампой; к вторичной обмотке измерительного трансформатора напряжения электроустановки подключено реле напряжения KV с одним блок-контактом, при этом в исходном состоянии он нормально разомкнут и последовательно соединен с нормально замкнутым блок-контактом реле тока КА1 и с индикатором – зеленой сигнальной лампой.
РИСУНКИ
|
|