|
|
(21), (22) Заявка: 2006121286/06, 15.06.2006
(24) Дата начала отсчета срока действия патента:
15.06.2006
(46) Опубликовано: 20.11.2007
(56) Список документов, цитированных в отчете о поиске:
SU 1720355 A1, 30.01.1994. SU 1098331 A1, 30.01.1994. SU 726862 A1, 30.06.1992. SU 1112176 A, 07.09.1984. EP 0845634 A, 03.06.1998.
Адрес для переписки:
152934, Ярославская обл., г. Рыбинск, ул. Пушкина, 53, РГАТА, служба интеллектуальной собственности
|
(72) Автор(ы):
Пиралишвили Шота Александрович (RU), Гурьянов Александр Игоревич (RU)
(73) Патентообладатель(и):
Рыбинская государственная авиационная технологическая академия им. П.А. Соловьева (RU)
|
(54) ВИХРЕВАЯ ГОРЕЛКА
(57) Реферат:
Изобретение относится к устройствам для сжигания топливных ресурсов и может применяться для розжига камер сгорания ГТУ и стабилизации фронта пламени в них. Вихревая горелка содержит вихревую камеру, сопло, свечу зажигания, форсунку, обечайку, полусферическую крышку, резьбовой штуцер сжатого воздуха, завихритель, внутренняя оболочка корпуса вихревой камеры состоит из двух участков: цилиндрического и конического. Обечайка имеет один конический участок. Щелевые отверстия втулки обечайки имеют кольцевую форму. Вихревая горелка имеет диффузор, сопряженный с полусферической крышкой. Штуцер подачи сжатого воздуха крепится к внешней оболочке корпуса вихревой камеры. Штуцер подачи сжатого воздуха выполнен тангенциально к внешней оболочке корпуса вихревой камеры. Сопло выполнено профилированным. Внешняя поверхность сопла выполнена в виде шнекового закручивающего устройства. Изобретение обладает повышенной стабильностью горения и пониженной токсичностью продуктов сгорания, повышенной надежностью элементов конструкции, расширенным концентрационным диапазоном устойчивой работы, повышенной эффективностью охлаждения внутренней оболочки корпуса вихревой камеры, небольшими гидравлическими потерями, увеличенной скоростью истечения продуктов сгорания. 8 з.п. ф-лы, 5 ил.
Изобретение относится к устройствам для сжигания топливных ресурсов и может применяться для розжига камер сгорания ГТУ и стабилизации фронта пламени в них.
Известна вихревая горелка воспламенитель, предназначенная для сжигания жидкого или газообразного топлива, содержащая вихревую камеру, завихритель, сопло-диафрагму, корпус, штуцер подачи сжатого воздуха, форсунку, свечу зажигания, перфорированную камеру, крышку (см. Ш.А.Пиралишвили, В.М.Поляев, М.Н.Сергеев. Вихревой эффект. Эксперимент, теория, технические решения. – М.: УНПЦ Энергомаш, 2000. – с.310, рис.7.3).
Недостатком данной конструкции является низкая полнота сгорания, узкий диапазон устойчивости по коэффициенту избытка воздуха.
Наиболее близким по технической сущности к предлагаемому устройству является горелочное устройство для розжига камеры сгорания, содержащее вихревую камеру, сопло, свечу зажигания, форсунку, обечайку, полусферическую крышку, резьбовой штуцер сжатого воздуха, завихритель (SU 1720355 A1, F23 R3/28. Горелочное устройство для розжига камеры сгорания 13.11.89).
Недостатком данной конструкции является невысокая стабильность горения, низкая надежность элементов конструкции, узкий концентрационный диапазон устойчивой работы, низкая эффективность охлаждения, большие гидравлические потери, неудовлетворительные эмиссионные характеристики, низкая скорость истечения продуктов сгорания, недостаточная эффективность охлаждения сопла.
Техническим результатом изобретения является повышение стабильности горения и снижение токсичности продуктов сгорания, повышение надежности элементов конструкции, расширение концентрационного диапазона устойчивой работы, повышение эффективности охлаждения внутренней оболочки корпуса вихревой камеры, снижение гидравлических потерь, увеличение скорости истечения продуктов сгорания, повышение эффективности охлаждения сопла.
Сущность предлагаемого технического решения заключается в том, что вихревая горелка, содержащая вихревую камеру, сопло, свечу зажигания, форсунку, обечайку, полусферическую крышку, резьбовой штуцер сжатого воздуха, завихритель, имеет внутреннюю оболочку корпуса вихревой камеры, состоящую из двух участков:
цилиндрического и конического. Обечайка имеет один конический участок. Щелевые отверстия втулки обечайки имеют кольцевую форму. Вихревая горелка имеет диффузор, сопряженный с полусферической крышкой. Штуцер подачи сжатого воздуха крепится тангенциально к корпусу вихревой камеры. Сопло вихревого горелочного устройства выполнено профилированным, а его внешняя поверхность выполнена в виде шнекового закручивающего устройства.
В целях повышения стабильности горения и снижения токсичности продуктов сгорания, внутренняя оболочка корпуса вихревой камеры имеет цилиндрический и конический участки. Для повышения надежности элементов конструкции, обечайка имеет один конический участок. Кольцевая форма щелевых отверстий втулки обечайки и угол их наклона, равный углу наклона конического участка обечайки, а также наличие диффузора, сопряженного с полусферической крышкой, позволяют расширить концентрационный диапазон устойчивой работы вихревой горелки. Повышение эффективности охлаждения внутренней оболочки корпуса вихревой камеры и снижение гидравлических потерь обеспечивается креплением штуцера подачи сжатого воздуха к внешней оболочке корпуса вихревой камеры, выполненным тангенциально. Для повышения скорости истечения продуктов сгорания сопло выполнено профилированным. В целях повышения эффективности охлаждения сопла его внешняя поверхность выполнена в виде шнекового закручивающего устройства.
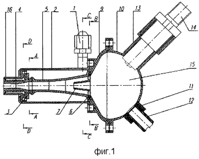
На фиг.1 изображен продольный разрез вихревой горелки;
на фиг.2 – разрез А-А на фиг.1;
на фиг.3 – разрез В-В на фиг.1;
на фиг.4 – разрез С-С на фиг.1;
на фиг.5 – разрез D-D на фиг.1.
Вихревая горелка (фиг.1) содержит резьбовой штуцер сжатого воздуха 1, который крепится тангенциально к внешней оболочке 2 корпуса вихревой камеры. Завихритель 3 установлен между соплом 4 и внутренней оболочкой 5 корпуса вихревой камеры. Завихретель 3 представляет собой цилиндрическое кольцо, соосное вихревой камере. Сопло 4 выполнено профилированным и имеет две части: дозвуковую и сверхзвуковую для разгона факела продуктов сгорания до сверхзвуковых скоростей. Внутренняя 5 и внешняя 2 оболочки корпуса вихревой камеры расположены коаксиально. Внутренняя оболочка 5 корпуса вихревой камеры состоит из цилиндрического и конического участков. Втулка 6 обечайки 7 крепится на резьбе к торцевой части конического участка внутренней оболочки корпуса вихревой камеры. Втулка 6 обечайки имеет щелевые отверстия 8, наклонные к оси обечайки под углом, равным углу конической поверхности обечайки. Диффузор 9 прикреплен к внешней оболочке 2 корпуса вихревой камеры винтами с одной стороны, а с другой стороны соединен болтами с полусферической крышкой 10. Угол раскрытия диффузора 9 определяет конечное значение диаметра полусферической крышки 10. К полусферической крышке 10 крепится патрубок 11, в который по резьбе закручивается топливная форсунка 12 и резьбовой патрубок 13, в котором установлена свеча зажигания 14. Полусферическая крышка 10 и диффузор 9 образуются область предкамеры 15. Сопло 4 имеет охлаждающую рубашку 16.
Вихревая горелка работает следующим образом. Сжатый воздух от компрессора через резьбовой штуцер 1, тангенциальное крепление которого осуществляет первоначальную закрутку потока, поступает в кольцевой канал, образованный внешней 2 и внутренней 5 оболочками корпуса вихревой камеры. Затем через завихритель 3 часть сжатого воздуха в качестве окислителя поступает во внутреннюю оболочку 5 корпуса вихревой камеры, и в виде периферийного интенсивно закрученного потока движется в направлении обечайки 7. Проходя через щелевые отверстия 8 втулки обечайки, с определенным искажением интенсивности и формы, периферийный поток поступает через диффузор 9 в предкамеру 15. За счет определенного угла раскрытия диффузора 9 и радиусного перехода к сферической крышке 10 в предкамере 15 образуется торовая область вторичной закрутки в плоскости, перпендикулярной направлению движения потока окислителя. В область формирующегося тора впрыскивается топливо через форсунку 12 и подводится факел разряда свечи зажигания 14. Продукты сгорания истекают из отверстия сопла 4 в виде приосевого потока, вращающегося по закону, близкому к =const. Закрученный поток окислителя, протекающий по кольцевому каналу между внешней 2 и внутренней 5 оболочками корпуса вихревой камеры, а также между соплом 4 и охлаждающей рубашкой 16, обеспечивает надежное конвективно-пленочное охлаждение элементов конструкции горелки. А периферийный поток – равномерное разбавление продуктов сгорания необходимыми для завершения реакций окисления массами воздуха. Такая организация процессов смесеподготовки, испарения и горения позволяет существенно расширить концентрационный диапазон устойчивой работы, а также понизить концентрацию окислов азота за счет снижения выхода быстрых NOX – рециркуляцией продуктов сгорания в зоне воспламенения и стабилизации фронта пламени, снижения образования термических NOX – каскадным разбавлением продуктов реакций массами окислителя из периферийного потока по длине зоны горения.
Конструкция вихревой горелки предусматривает удобство воспламенения, регулирования, поддержания необходимых соотношений топлива и окислителя при изменениях нагрузки и режимных параметров, обеспечивает пониженное содержание окислов азота NOX в продуктах сгорания.
Формула изобретения
1. Вихревая горелка, содержащая вихревую камеру, сопло, свечу зажигания, форсунку, обечайку, полусферическую крышку, резьбовой штуцер сжатого воздуха, завихритель, отличающаяся тем, что внутренняя оболочка корпуса вихревой камеры состоит из двух участков: цилиндрического и конического.
2. Вихревая горелка по п.1, отличающаяся тем, что обечайка имеет один конический участок.
3. Вихревая горелка по п.1, отличающаяся тем, что щелевые отверстия втулки обечайки имеют кольцевую форму.
4. Вихревая горелка по п.1, отличающаяся тем, что имеет диффузор, сопряженный с полусферической крышкой.
5. Вихревая горелка по п.1, отличающаяся тем, что штуцер подачи сжатого воздуха крепится к внешней оболочке корпуса вихревой камеры.
6. Вихревая горелка по п.1, отличающаяся тем, что штуцер подачи сжатого воздуха выполнен тангенциально к внешней оболочке корпуса вихревой камеры.
7. Вихревая горелка по п.1, отличающаяся тем, что сопло выполнено профилированным.
8. Вихревая горелка по п.1, отличающаяся тем, что внешняя поверхность сопла выполнена в виде шнекового закручивающего устройства.
РИСУНКИ
|
|