|
(21), (22) Заявка: 2006111839/06, 10.04.2006
(24) Дата начала отсчета срока действия патента:
10.04.2006
(46) Опубликовано: 20.11.2007
(56) Список документов, цитированных в отчете о поиске:
RU 2224172 C2, 20.02.2004. RU 98100564 A, 20.09.1999. SU 1751422 A1, 30.07.1992. SU 1548527 A1, 07.03.1990. EP 0150068 A, 31.07.1985.
Адрес для переписки:
191015, Санкт-Петербург, ул. Кавалергардская, 42, ГУП “Водоканал Санкт-Петербурга”, Департамент интеллектуальной собственности и стандартизации, директору Ю.А. Трухину
|
(72) Автор(ы):
Кармазинов Феликс Владимирович (RU), Беляев Анатолий Николаевич (RU), Волков Сергей Николаевич (RU), Кинебас Анатолий Кириллович (RU), Трухин Юрий Александрович (RU), Курганов Юрий Анатольевич (RU), Ильин Юрий Александрович (RU), Игнатчик Виктор Сергеевич (RU), Игнатчик Светлана Юрьевна (RU)
(73) Патентообладатель(и):
Государственное унитарное предприятие “Водоканал Санкт-Петербурга” (RU)
|
(54) СПОСОБ УПРАВЛЕНИЯ ЭНЕРГОПОТРЕБЛЕНИЕМ НАСОСНОЙ СТАНЦИИ
(57) Реферат:
Изобретение относится к способам управления энергопотреблением насосных станций систем водоснабжения. В способе в качестве перекачивающей установки применяют насосную станцию – систему параллельно работающих насосов, приводимых в действие от электродвигателей, в качестве управляемого параметра принимают энергопотребление Nнс насосной станции, в качестве контролируемого параметра – напор Нвых на входе в систему труб или в контрольной точке системы труб, в качестве передаваемых величин – электрические и/или цифровые величины, в качестве блока управления – регулятор и/или пульт диспетчера; в качестве управленческого воздействия – число и тип одновременно работающих насосов; на первом этапе дополнительно при помощи измерительного комплекса определяют фактические параметрические H-Q, N-Q, -Q характеристики насосов, характеристику максимально допустимого давления на входе в систему труб, характеристику минимально допустимого давления на входе в систему труб, где – максимальный напор на входе в систему труб, – минимальный напор на входе в систему труб, Н, Q – развиваемые напор и производительность насосов, N – потребляемая ими мощность, – кпд насосов; затем оптимизируют режим работы и состав насосного оборудования, во время которого сравнивают фактические параметрические характеристики насосов с параметрическими характеристиками этих насосов после обрезки рабочих колес, изменения скорости вращения ротора, с аналогичными параметрическими характеристиками новых насосов такого же типа, или насосов другого типа, повторяют операцию сравнения до определения оптимального кпд насосной станции, и на основании этого определяют оптимальный режим и состав насосного оборудования; регулировочную характеристику (R) определяют в зависимости от количества и типа одновременно работающих насосов в виде (Nнс-Нвых), которая изогнута таким образом, что все промежуточные точки минимального энергопотребления станции в направлении возрастающего энергопотребления (Nнс) лежат на характеристике максимально допустимого давления на входе в систему труб, а все промежуточные точки максимального энергопотребления станции в направлении возрастающего энергопотребления (Nнс) лежат на характеристике минимально допустимого давления на входе в систему труб; дополнительно вводят в блок управления характеристики максимально допустимого и минимально допустимого давления на входе в систему труб; при увеличении (уменьшении) измеренного в режиме реального времени значения (Nнсi) по отношению к предыдущему значению (Nнсi-1) и условии, что давление на входе в систему труб , число и тип насосов, работающих на станции, не меняется; при увеличении измеренного в режиме реального времени значения (Nнсi) по отношению к предыдущему значению (Nнсi-1) и условии, что давление на входе в систему , включается дополнительный насос определенного типа; при уменьшении измеренного в режиме реального времени значения (Nнсi) по отношению к предыдущему значению (Nнсi-1) и условии, что давление на входе в систему труб , энергопотребление станции регулируется посредством выключения работающего насоса определенного типа. Техническим результатом изобретения является снижение капитальных и эксплуатационных затрат. 4 з.п. ф-лы, 2 ил.
Изобретение относится к области водоснабжения городов и населенных мест, а точнее к способу управления энергопотреблением насосной станции, при помощи которой подают воду в систему распределительных труб.
Известен способ регулирования работы системы лопастных нагнетателей при переменной нагрузке, заключающийся в том, что проводят диагностику энергопотребления при работе группы параллельно включенных лопастных нагнетателей в условиях нестационарной нагрузки с учетом возможности регулирования подачи потребителю жидкой среды дросселированием сети трубопроводов и ступенчатым регулированием путем включения в одновременную работу одной или нескольких групп насосных агрегатов, каждая из которых включает несколько разнотипных лопастных нагнетателей с различными характеристиками и индивидуальным управлением каждым лопастным нагнетателем в группе с обеспечением совместимости работы разнотипных нагнетателей в группе, при этом определяют минимально возможные затраты электроэнергии при условии обеспечения требуемой потребителю подачи во всем возможном диапазоне ее изменения с минимально допустимыми напорами и максимальными значениями кпд, определяют величину минимального избыточного напора во всем диапазоне изменения нагрузки в напорном коллекторе при изменении нагрузки с оптимизацией режима работы, причем в процессе управления в режиме реального времени измеряют подачу каждого нагнетателя и суммарную подачу группы одновременно работающих нагнетателей, давление в напорном коллекторе или в контрольной точке сети, частоту вращения рабочего колеса каждого нагнетателя, давление на входе в каждый насос и мощность, потребляемую электродвигателем привода каждого нагнетателя, и путем применения частотно-регулируемого привода и изменения состава насосного оборудования устанавливают величину минимального избыточного напора в напорном коллекторе.
Возможен вариант развития, когда в процессе оптимизации режима работы и состава насосного оборудования проводят обрезку рабочих колес одного или нескольких нагнетателей.
Возможен вариант развития, когда в процессе оптимизации проводят полную или частичную замену насосного оборудования (см. патент RU №2230938, Способ регулировки работы системы лопастных нагнетателей при переменной нагрузке, F04D 15/00, 2004.06.20).
Данный способ имеет следующие недостатки:
Высокие капитальные и эксплуатационные затраты, поскольку для его реализации требуется:
– установка частотно-регулируемого привода на каждый насос;
– установка расходомера на каждый насос.
Ограниченная область применения, поскольку его невозможно применить на следующих насосных станциях:
– при однорядном расположении насосов параллельно продольной оси здания и однорядном расположении насосов в круглых зданиях, т.к. для этого требуется наличие на трубопроводах прямого участка длиной не менее 10 его диаметров. При строительстве подобных станций, где диаметры трубопроводов более 0,6 м, данное условие не выполняется, т.к. это требует увеличения пролета здания на 6 и более метров;
– 2-го и 3-го подъема, где геометрическая высота подъема воды Нг в системе при застройке 5 и более этажей составляет 20-30 м в.ст. В этом случае невозможно обеспечить максимальный коэффициент полезного действия (кпд) насосов, регулируя одновременно расход и напор каждого центробежного насоса частотно-регулируемым приводом, т.к. при изменении числа оборотов смещение максимума энергетической характеристики ( -Q) каждого из регулируемых насосов описывается параболой подобных режимов в виде (H-Q) характеристики при Hг=0, что не соответствует (H-Q) характеристике системы при Нг=20-30 м в.ст. Здесь, , Q, H – кпд, расход и напор, развиваемые насосом. По указанной причине кпд эксплуатируемых насосов не будет соответствовать максимуму
– 2-го и 3-го подъема при заборе воды из резервуаров, поскольку при одновременном регулировании каждого центробежного насоса частотно-регулируемым приводом их допустимая геометрическая высота всасывания понижается;
– 1-го подъема, где установка частотно-регулируемого привода на каждый насос является убыточной для эксплуатирующих предприятий, поскольку основная группа насосов подает равномерно расход на очистные сооружения в течение суток. При этом стоимость частотно-регулируемого привода превышает стоимость насоса в 5-6 раз, а срок окупаемости капиталовложений превышает жизненный цикл.
Наиболее близким аналогом к заявляемому изобретению (прототипом) является способ регулирования давления текучей среды, которую при помощи генератора давления, приводимого в действие от электродвигателя, перемещают в имеющей по меньшей мере одного потребителя системе труб. В этом способе сначала с учетом сопротивления потоку соответствующей системы (1) труб устанавливают точку (Р1) минимального давления и точку (Р2) максимального давления, затем для соответствующей системы (1) труб определяют регулировочную характеристику (R), которая проходит между точками (P1, P2) минимального и максимального давления равномерно изогнуто таким образом, что она в направлении возрастающего давления (Р) лежит выше прямой (G), соединяющей обе точки (Р1, P2), и в средней области между обеими точками (Р1, P2) имеет наибольшее расстояние от нее; регулировочную характеристику (R), отражающую номинальное значение давления среды в соответствующей системе (1) труб, затем запоминают в регуляторе (9), посредством которого регулируют число оборотов двигателя для регулирования давления (Р) в системе (1) труб; на регулятор (9) в качестве действительного значения давления постоянно подают пропорциональную количеству протекающей текучей среды или, соответственно, измеряемой датчиком (6) потока скорости (S) потока электрическую величину; при отклонении действительного значения от заданного соответственно регулировочной характеристике (R) номинального значения давления (Р) число оборотов двигателя регулируют с целью компенсации отклонения и дополнительно постоянно измеряют давление в системе (1) труб и тоже подают на регулятор (9) (см. патент RU №2224172, С2, Способ регулирования давления текучей среды, F17D 3/01, 1999.07.15).
Данный способ имеет следующие недостатки:
Высокие капитальные и эксплуатационные затраты, поскольку для его реализации требуется установка расходомера.
Ограниченную область применения, поскольку данный способ может быть применен только на насосных станциях, оборудованных одним работающим насосом.
Задачей настоящего изобретения является усовершенствование описанного выше способа, чтобы расширить область его применения, снизить капитальные и эксплуатационные затраты.
Эта задача решается посредством того, что в способе, в котором при помощи перекачивающей установки перекачивают воду в систему труб; устанавливают точку (N1) минимального и точку (N2) максимального значения управляемого параметра; затем для соответствующей системы труб определяют регулировочную характеристику (R), которая проходит между точкой (N1) минимального и точкой (N2) максимального значения управляемого параметра; регулировочную характеристику (R), отражающую номинальное значение управляемого параметра, запоминают в блоке управления; на блок управления постоянно подают пропорциональную значению контролируемого параметра или соответственно измеренному датчиком значению контролируемого параметра передаваемую величину; при отклонении действительного значения от заданного соответственно регулировочной характеристике (R) номинального значения управляемого параметра оказывают управленческое воздействие с целью компенсации отклонения и дополнительно постоянно измеряют значение управляемого параметра и тоже подают на блок управления, в соответствии с предлагаемым изобретением:
– в качестве перекачивающей установки применяют насосную станцию – систему параллельно работающих насосов, приводимых в действие от электродвигателей, в качестве управляемого параметра принимают энергопотребление Nнс насосной станции, в качестве контролируемого параметра – напор Нвых на входе в систему труб или в контрольной точке системы труб, в качестве передаваемых величин – электрические и/или цифровые величины, в качестве блока управления – регулятор и/или пульт диспетчера; в качестве управленческого воздействия – число и тип одновременно работающих насосов;
– на первом этапе дополнительно при помощи измерительного комплекса определяют фактические параметрические H-Q, N-Q, -Q характеристики насосов, характеристику максимально допустимого давления на входе в систему труб, характеристику минимально допустимого давления на входе в систему труб, где – максимальный напор на входе в систему труб, – минимальный напор на входе в систему труб, H,Q – развиваемые напор и производительность насосов, N – потребляемая ими мощность, – кпд насосов;
– затем оптимизируют режим работы и состав насосного оборудования, во время которого сравнивают фактические параметрические характеристики насосов с параметрическими характеристиками этих насосов после обрезки рабочих колес, изменения скорости вращения ротора, с аналогичными параметрическими характеристиками новых насосов такого же типа, или насосов другого типа, повторяют операцию сравнения до определения оптимального кпд насосной станции, и на основании этого определяют оптимальный режим и состав насосного оборудования;
– регулировочную характеристику (R) определяют в зависимости от количества и типа одновременно работающих насосов в виде (Nнс-Hвых), которая изогнута таким образом, что все промежуточные точки минимального энергопотребления станции в направлении возрастающего энергопотребления (Nнс) лежат на характеристике максимально допустимого давления на входе в систему труб, а все промежуточные точки максимального энергопотребления станции в направлении возрастающего энергопотребления (Nнс) лежат на характеристике минимально допустимого давления на входе в систему труб;
– дополнительно вводят в блок управления характеристики максимально допустимого и минимально допустимого давления на входе в систему труб;
– при увеличении (уменьшении) измеренного в режиме реального времени значения ( ) по отношению к предыдущему значению ( ) и условии, что давление на входе в систему труб , число и тип насосов, работающих на станции, не меняется;
– при увеличении измеренного в режиме реального времени значения ( ) по отношению к предыдущему значению ( ) и условии, что давление на входе в систему , включается дополнительный насос определенного типа;
– при уменьшении измеренного в режиме реального времени значения ( ) по отношению к предыдущему значению ( ) и условии, что давление на входе в систему труб энергопотребление станции регулируется посредством выключения работающего насоса определенного типа.
По п.2 формулы изобретения. В процессе оптимизации режима работы и состава станции обрезают рабочее колесо одного или нескольких насосов.
По п.3 формулы изобретения. В процессе оптимизации режима работы и состава станции на напорных трубопроводах устанавливают клапаны, регулирующие давление после себя по зависимости .
По п.4 формулы изобретения. В процессе оптимизации режима работы и состава станции проводят полную или частичную замену узлов местного сопротивления на напорных и всасывающих трубопроводах.
По п.5 формулы изобретения. В процессе оптимизации режима работы и состава станции на выходе из нее устанавливают напорные фильтры повторной очистки и/или установки обеззараживания воды.
Отличительными признаками заявляемого способа являются:
1. Применение в качестве перекачивающей установки насосной станции системы параллельно работающих насосов, приводимых в действие от электродвигателей.
2. Применение в качестве управляемого параметра энергопотребления Nнс насосной станции.
3. Применение в качестве контролируемого параметра напора Нвых на входе в систему труб или в контрольной точке системы труб.
4. Применение в качестве передаваемых на блок управления величин параметров процесса электрических и/или цифровых величин.
5. Применение в качестве блока управления регулятора и/или пульта диспетчера.
6. Применение в качестве управленческого воздействия числа и типа одновременно работающих насосов.
7. Введение дополнительного этапа, в течение которого при помощи измерительного комплекса определяют фактические параметрические H-Q, N-Q, -Q характеристики насосов.
8. Определение на дополнительном этапе характеристики максимально допустимого давления на входе в систему труб.
9. Определение на дополнительном этапе характеристики минимально допустимого давления на входе в систему труб.
10. Дополнительное проведение этапа оптимизации режим работы и состава насосного оборудования, во время которого сравнивают фактические параметрические характеристики насосов с параметрическими характеристиками этих насосов после обрезки рабочих колес, изменения скорости вращения ротора, с аналогичными параметрическими характеристиками новых насосов такого же типа, или насосов другого типа, повторяют операцию сравнения до определения оптимального кпд насосной станции, и на основании этого определяют оптимальный режим и состав насосного оборудования.
11. Определение регулировочной характеристики (R) в зависимости от количества и типа одновременно работающих насосов.
12. Определение регулировочной характеристики (R) в виде (Nнс-Hвых), которая изогнута таким образом, что все промежуточные точки минимального энергопотребления станции в направлении возрастающего энергопотребления (Nнс) лежат на характеристике максимально допустимого давления на входе в систему труб, а все промежуточные точки максимального энергопотребления станции в направлении возрастающего энергопотребления (Nнс) лежат на характеристике минимально допустимого давления на входе в систему труб.
13. Дополнительное введение в блок управления характеристики максимально допустимого и минимально допустимого давления на входе в систему труб.
14. Оставление без изменения числа и типа насосов, работающих на станции, при увеличении (уменьшении) измеренного в режиме реального времени значения ( ) по отношению к предыдущему значению ( ) и условии, что давление на входе в систему труб 
15. Включение дополнительного насоса определенного типа при увеличении измеренного в режиме реального времени значения ( ) по отношению к предыдущему значению ( ) и условии, что давление на входе в систему 
16. Выключение работающего насоса определенного типа при уменьшении измеренного в режиме реального времени значения ( ) по отношению к предыдущему значению ( ) и условии, что давление на входе в систему труб 
17. Обрезание в процессе оптимизации режима работы и состава станции рабочих колес одного или нескольких насосов.
18. Установка на напорных трубопроводах в процессе оптимизации режима работы и состава станции клапанов, регулирующих давление после себя по зависимости .
19. Проведение в процессе оптимизации режима работы и состава станции замены узлов местного сопротивления на напорных и всасывающих трубопроводах.
20. Установка в процессе оптимизации режима работы и состава станции на выходе из нее напорных фильтров повторной очистки и/или установки обеззараживания воды.
По сведениям, имеющимся у авторов, отличительные признаки 2, 6, 8, 9, 11, 12, 13, 16, 18-20 не известны, а остальные – известны. Однако совместное их применение в заявляемом способе позволяет получить два положительных и один новый эффект.
Первый положительный эффект заключается в том, что расширяется область его применения, т.к. данный способ может быть применен на насосных станциях, оборудованных более чем одним работающим насосом.
Второй положительный эффект заключается в том, что снижаются капитальные и эксплуатационные затраты, т.к. для его реализации не требуется установки расходомеров.
Новый эффект заключается в том, что повышается точность и достоверность управления, т.к. в отличие от прототипа в качестве управляющего параметра применяется не косвенное, а непосредственное значение электропотребления.
Таким образом, заявляемый способ отвечает критерию “изобретательский уровень”.
Графический материал, иллюстрирующий предлагаемый способ, представлен на следующих фигурах:
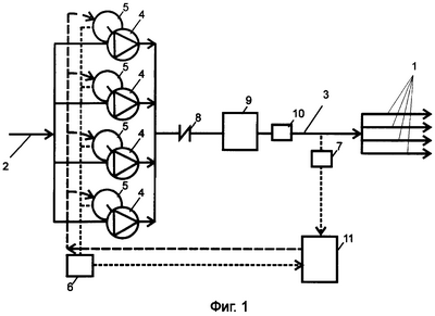
фиг.1 – блок-схема системы, в которой может быть использован способ согласно изобретению;
фиг.2 – используемая при реализации способа регулировочная характеристика.
На фиг.1 схематично показана насосная станция, подающая воду в распределительную водопроводную сеть, далее – система труб. Расположенная на территории жилой и/или производственной зоны система труб со своими потребителями – точками отбора – обозначена лишь четырьмя стрелками 1. Согласно настоящему изобретению исходная вода насосной станцией может забираться по поступающему трубопроводу 2 либо из резервуара, либо из источника водоснабжения, либо из подводящей водопроводной сети (на фиг.1 не показаны). Поступающую через трубопровод 2 воду при помощи параллельно работающих насосов 4 через трубу 3 подают под давлением в систему 1 труб. Насосы 4 приводят в действие при помощи электрических двигателей 5. Они в соответствии с настоящим изобретением могут быть с регулируемой и нерегулируемой скоростью вращения за счет применения статических преобразователей частоты, регулируемых гидравлических муфт и др. (на фиг.1 не показаны). К группе электрических двигателей 5 присоединяют измеритель потребляемой мощности 6, при помощи которого определяют энергопотребление Nнс насосной станции в целом. К трубе 3 присоединяют прибор 7 для измерения напора. В соответствии с настоящим способом прибор 7 может быть установлен и на контрольной точке в системе труб 1. Кроме того, на трубе 3 могут устанавливаться: обратный клапан или клапан 8, регулирующий давление после себя; напорные фильтры 9 повторной очистки и/или установки 10 обеззараживания воды. Измеритель потребляемой мощности 6, при помощи которого определяют энергопотребление Nнс насосной станции в целом, и прибор 7 для измерения напора соединяют с блоком управления 11, в который подают информацию от указанных приборов в виде электрической и/или цифровой величины. Блок управления 11 могут выполнять в виде регулятора и/или пульта диспетчера, при помощи которых отключают или включают в работу очередной насос 4.
Блоку управления 11 соответствует регулировочная характеристика R, изображенная на фиг.2. На фиг.2 напор Нвых (в метрах водяного столба – м в.ст.) воды в системе 1 труб является функцией энергопотребления насосной станции Nнс (в кВт·ч).
Регулировочная характеристика (R) в виде (Nнс-Нвых) изгибается таким образом, что все промежуточные точки ( ) минимального энергопотребления станции в направлении возрастающего энергопотребления (Nнс) лежат на характеристике максимально допустимого давления на входе в систему 1 труб, а все промежуточные точки максимального энергопотребления станции в направлении возрастающего энергопотребления (Nнс) лежат на характеристике минимально допустимого давления на входе в систему 1 труб.
Соответствующий вид регулировочной характеристики (R) определяют после этапа оптимизации режима работы и состава насосного оборудования исходя из гидравлического сопротивления обслуживаемой системы 1 труб и фактических параметрических характеристик насосов 4. Характеристики максимально допустимого давления и минимально допустимого давления на входе в систему 1 труб определяют на первом этапе при помощи измерительного комплекса.
Соответствующий изобретению способ работает, например, следующим образом:
Вначале определяют параметры способа и, соответственно, обслуживаемой системы. Для этого, на первом этапе при помощи измерительного комплекса определяют фактические параметрические H-Q, Н-Q, -Q характеристики насосов, характеристику максимально допустимого давления на входе в систему труб, характеристику минимально допустимого давления на входе в систему труб, точку (N1) минимального и точку (N2) максимального значения энергопотребление Nнс насосной станции.
Затем оптимизируют режим работы и состав насосного оборудования, во время которого сравнивают фактические параметрические характеристики насосов с параметрическими характеристиками этих насосов после обрезки рабочих колес, изменения скорости вращения ротора, с аналогичными параметрическими характеристиками новых насосов такого же типа, или насосов другого типа, повторяют операцию сравнения до определения оптимального кпд насосной станции, и на основании этого определяют оптимальный режим и состав насосного оборудования. В процессе оптимизации могут быть применены так же следующие мероприятия:
– обрезка рабочих колес одного или нескольких насосов;
– установка клапанов, регулирующих давление после себя по зависимости ;
– полная или частичная замена (с целью уменьшения сопротивлении) узлов местного сопротивления на напорных и всасывающих трубопроводах;
– установка (для улучшения качества питьевой воды) напорных фильтров повторной очистки и/или установок обеззараживания воды.
После этого для оптимальных режимов и состава насосного оборудования определяют регулировочную характеристику (R) и вместе с характеристиками максимально допустимого и минимально допустимого давления на входе в систему труб, вводят ее в блок управления 11 (см. фиг.1).
После этого способ может быть приведен в действие путем включения насосной станции с насосами 4 и электродвигателями 5. После включения насосов 4 воду под давлением подают в систему 1 труб. Энергопотребление Nнс насосной станции зависит от развиваемого ею напора и расхода. Энергопотребление Nнс измеряют измерителем потребляемой мощности 6 и в виде электрической и/или цифровой величины в качестве действительного значения передают на блок управления 11. Каждому значению энергопотребления Nнс через регулировочную характеристику (R) соответствует напор Нвых, который должна создавать насосная станция с насосами 4. Блок управления 11 постоянно выдает управленческое воздействие (число и тип одновременно работающих насосов), при помощи которого в зависимости от значения (R) при текущем энергопотреблении Nнс, либо число работающих насосов оставляют неизменным, либо подключают, либо выключают из работы один насос 4. Например, если (см. фиг.2) при текущем энергопотреблении Nнсi развиваемый напор то число и тип насосов, работающих на станции, не меняется. Если включается дополнительный насос определенного типа. Если энергопотребление станции регулируется посредством выключения работающего насоса определенного типа.
В моменты включения дополнительных насосов определенного типа в системе 1 труб могут возникнуть кратковременные «всплески» давления, что во многих случаях приводит к разрыву труб или мест их соединения. Повышенные давления могут возникать и в случаях понижения расхода воды. Для исключения этих явлений в данном изобретении служит клапан 8, регулирующий давление после себя по зависимости т.е. ограничивающий максимально допустимое давление в системе труб 1 значением , зависящим от Nнс.
В тех случаях, когда клапану 8 ввиду особенностей характеристик насосов и сетей приходится «гасить» существенный напор, наиболее рациональным является использование варианта развития изобретения, когда на выходе из насосной станции устанавливают напорные фильтры повторной очистки и/или установки обеззараживания воды. В этом случае избыточный напор не будет безвозмездно «сжигаться» на клапане 8, а использоваться для повышения качества перекачиваемой воды.
Формула изобретения
1. Способ управления энергопотреблением насосной станции, в котором при помощи перекачивающей установки перекачивают воду в систему труб; устанавливают точку (N1) минимального и точку (N2) максимального значений управляемого параметра; затем для соответствующей системы труб определяют регулировочную характеристику (R), которая проходит между точкой (N1) минимального и точкой максимального (N2) значения управляемого параметра; регулировочную характеристику (R), отражающую номинальное значение управляемого параметра, запоминают в блоке управления; на блок управления постоянно подают пропорциональную значению контролируемого параметра или соответственно измеренному датчиком значению контролируемого параметра передаваемую величину; при отклонении действительного значения от заданного соответственно регулировочной характеристике (R) номинального значения управляемого параметра оказывают управленческое воздействие с целью компенсации отклонения и дополнительно постоянно измеряют значение управляемого параметра и тоже подают на блок управления, отличающийся тем, что в качестве перекачивающей установки применяют насосную станцию – систему параллельно работающих насосов, приводимых в действие от электродвигателей, в качестве управляемого параметра принимают энергопотребление Nнс насосной станции, в качестве контролируемого параметра – напор Нвых на входе в систему труб или в контрольной точке системы труб, в качестве передаваемых величин – электрические и/или цифровые величины, в качестве блока управления – регулятор и/или пульт диспетчера; в качестве управленческого воздействия – число и тип одновременно работающих насосов; на первом этапе дополнительно при помощи измерительного комплекса определяют фактические параметрические H-Q, N-Q, -Q характеристики насосов, характеристику максимально допустимого давления на входе в систему труб, характеристику минимально допустимого давления на входе в систему труб, где – максимальный напор на входе в систему труб, – минимальный напор на входе в систему труб, Н, Q – развиваемые напор и производительность насосов, N-потребляемая ими мощность, – КПД насосов; затем оптимизируют режим работы и состав насосного оборудования, во время которого сравнивают фактические параметрические характеристики насосов с параметрическими характеристиками этих насосов после обрезки рабочих колес, изменения скорости вращения ротора с аналогичными параметрическими характеристиками новых насосов такого же типа или насосов другого типа, повторяют операцию сравнения до определения оптимального КПД насосной станции и на основании этого определяют оптимальный режим и состав насосного оборудования; регулировочную характеристику (R) определяют в зависимости от количества и типа одновременно работающих насосов в виде (Nнс-Нвых), которая изогнута таким образом, что все промежуточные точки минимального энергопотребления станции в направлении возрастающего энергопотребления (Nнс) лежат на характеристике максимально допустимого давления на входе в систему труб, а все промежуточные точки максимального энергопотребления станции в направлении возрастающего энергопотребления (Nнс) лежат на характеристике минимально допустимого давления на входе в систему труб; дополнительно вводят в блок управления характеристики максимально допустимого и минимально допустимого давления на входе в систему труб; при увеличении (уменьшении) измеренного в режиме реального времени значения (Nнс i) по отношению к предыдущему значению (Nнс i-1) и условии, что давление на входе в систему труб число и тип насосов, работающих на станции, не меняется; при увеличении измеренного в режиме реального времени значения (Nнс i) по отношению к предыдущему значению (Nнс i-1) и условии, что давление на входе в систему включается дополнительный насос определенного типа; при уменьшении измеренного в режиме реального времени значения (Nнс i) по отношению к предыдущему значению (Nнс i-1) и условии, что давление на входе в систему труб энергопотребление станции регулируется посредством выключения работающего насоса определенного типа.
2. Способ управления энергопотреблением насосной станции по п.1, отличающийся тем, что в процессе оптимизации режима работы и состава станции обрезают рабочее колесо одного или нескольких насосов.
3. Способ управления энергопотреблением насосной станции по п.1, отличающийся тем, что в процессе оптимизации режима работы и состава станции на напорных трубопроводах устанавливают клапаны, регулирующие давление после себя по зависимости 
4. Способ управления энергопотреблением насосной станции по п.1, отличающийся тем, что в процессе оптимизации режима работы и состава станции проводят полную или частичную замену узлов местного сопротивления на напорных и всасывающих трубопроводах.
5. Способ управления энергопотреблением насосной станции по п.1, отличающийся тем, что в процессе оптимизации режима работы и состава станции на выходе из нее устанавливают напорные фильтры повторной очистки и/или установки обеззараживания воды.
РИСУНКИ
|