|
|
(21), (22) Заявка: 2005138229/11, 08.12.2005
(24) Дата начала отсчета срока действия патента:
08.12.2005
(43) Дата публикации заявки: 27.06.2007
(46) Опубликовано: 20.11.2007
(56) Список документов, цитированных в отчете о поиске:
КУДРЯВЦЕВ В.Н. Планетарные передачи. – М.: Машиностроение, 1966, с.10, рис.5в. RU 2169868 С1, 27.06.2001. SU 332028 А, 24.04.1972.
Адрес для переписки:
427622, Удмуртская Республика, г. Глазов, ул. Кирова, 36, Ф.И. Плеханову
|
(72) Автор(ы):
Плеханов Федор Иванович (RU), Корепанов Леонид Витальевич (RU), Кузнецов Василий Сергеевич (RU), Кузнецова Татьяна Владимировна (RU)
(73) Патентообладатель(и):
Государственное образовательное учреждение высшего профессионального образования “Ижевский государственный технический университет” (RU)
|
(54) ЗУБЧАТАЯ ПЛАНЕТАРНАЯ ПЕРЕДАЧА
(57) Реферат:
Изобретение относится к области машиностроения, в частности к зубчатым механическим передачам, и может быть использовано во всех отраслях народного хозяйства. Передача состоит из быстроходной и тихоходной ступеней, имеющих общее водило (7). Водило (7) выполнено в виде оси, установленной в корпусе передачи на сферическом подшипнике (9) под углом к оси передачи. Изобретение позволяет повысить уровень технологичности зубчатой планетарной передачи. 1 ил.
Изобретение относится к области машиностроения, в частности к зубчатым механическим передачам, и может быть использовано во всех отраслях народного хозяйства.
Известна зубчатая планетарная передача, содержащая ведущее водило, выполненное в виде вала с эксцентриком, двухвенцовый или многовенцовый сателлит, неподвижное центральное колесо с внутренними укороченными зубьями и расположенное в нем коаксиально тихоходное центральное колесо с зубьями-перемычками [1].
Недостатком этой передачи является низкое передаточное отношение из-за одноступенчатого исполнения и нетехнологичность конструкции, что связано с наличием сложного в изготовлении водила.
Известна также зубчатая планетарная передача, состоящая из быстроходной планетарной ступени, содержащей солнечную шестерню, одновенцовый сателлит, центральное колесо с внутренними зубьями и тихоходной ступени, содержащей двухвенцовый сателлит, неподвижное и тихоходное центральные колеса с внутренними зубьями, а также водила, общего для быстроходной и тихоходной ступеней, причем водило выполнено в виде эксцентрикового вала со щекой, в которой расположено отверстие под ось сателлита [2] (прототип).
Недостатком этой конструкции является ее нетехнологичность, вызванная необходимостью высокоточного выполнения отверстия в щеке водила под ось сателлита и обеспечение точности межосевых расстояний эксцентрикового вала водила и оси сателлита.
Целью изобретения является повышение уровня технологичности зубчатой планетарной передачи. Поставленная цель достигается тем, что ведомое водило, общее для быстроходной и тихоходной ступеней, выполнено в виде оси, установленной в корпусе передачи на сферическом подшипнике под углом к оси передачи.
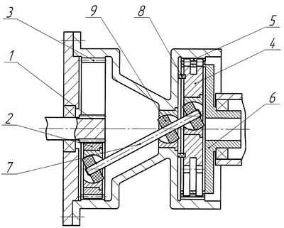
Суть технического решения поясняется чертежом, где изображен общий вид передачи в разрезе.
Передача состоит из быстроходной планетарной ступени, содержащей солнечную шестерню 1, одновенцовый сателлит 2, центральное колесо с внутренними зубьями 3, и тихоходной ступени, содержащей двухвенцовый сателлит 4, неподвижное центральное колесо с внутренними укороченными зубьями 5 и тихоходное центральное колесо с внутренними зубьями 6, а также водила 7, общего для быстроходной и тихоходной ступеней, полиамидного кольца 8, сферических подшипников 9. Водило 7, общее для быстроходной и тихоходной ступеней, выполнено в виде оси.
Передача работает следующим образом.
Вращательное движение передается от солнечной шестерни быстроходной ступени 1 сателлиту 2, а через него и через неподвижное центральное колесо 3 водилу 7. Водило 7, установленное на сферическом подшипнике 9, передает вращательное движение двухвенцовому сателлиту 4 тихоходной ступени, а через него и через неподвижное центральное колесо 5 тихоходному центральному колесу 6. Полиамидное кольцо 8 воспринимает осевую силу, действующую на двухвенцовый сателлит 4 со стороны водила 7.
Источники информации
1. Мысляков В.И., Плеханов Ф.И., Бутузов А.В., Плеханов Д.Ф. Планетарная передача. Пат.№2199684 РФ, МПК F16H 1/48.- 2001108477/28, БИ №6, 2002.
2. Кудрявцев В.Н. Планетарные передачи. – 2-е изд., перераб. и доп.- Л.: Машиностроение, 1966 (стр.10, рис.5в) – прототип.
Формула изобретения
Зубчатая планетарная передача, состоящая из быстроходной планетарной ступени, содержащей солнечную шестерню, одновенцовый сателлит, центральное колесо с внутренними зубьями, и тихоходной планетарной ступени, содержащей двухвенцовый сателлит, неподвижное и тихоходное центральные колеса с внутренними зубьями, а также водила, общего для быстроходной и тихоходной ступеней, отличающаяся тем, что водило, общее для быстроходной и тихоходной ступеней, выполнено в виде оси, установленной в корпусе передачи на сферическом подшипнике под углом к оси передачи.
РИСУНКИ
MM4A – Досрочное прекращение действия патента СССР или патента Российской Федерации на изобретение из-за неуплаты в установленный срок пошлины за поддержание патента в силе
Дата прекращения действия патента: 09.12.2007
Извещение опубликовано: 27.07.2009 БИ: 21/2009
|
|