|
(21), (22) Заявка: 2006103709/11, 08.02.2006
(24) Дата начала отсчета срока действия патента:
08.02.2006
(46) Опубликовано: 20.11.2007
(56) Список документов, цитированных в отчете о поиске:
RU 2083893 C1, 10.07.1997. RU 2001332 C1, 15.10.1993. RU 2091632 C1, 27.09.1997. GB 1399943 A, 02.07.1975. GB 892853 A, 04.04.1962.
Адрес для переписки:
241035, г.Брянск, ул. 3-го Интернационала, 23, кв.9, А.А. Реутову
|
(72) Автор(ы):
Реутов Александр Алексеевич (RU)
(73) Патентообладатель(и):
Общество с ограниченной ответственностью “РЕМКОН” (RU), Реутов Александр Алексеевич (RU)
|
(54) СПОСОБ ОБРАБОТКИ ПОВЕРХНОСТИ КОНЦА ЛЕНТЫ
(57) Реферат:
Изобретение относиться к конвейерному транспорту, а именно к способам обработки поверхности концов конвейерных лент при их соединении. Способ заключается в том, что конец ленты размещают на столе, прижимают к столу промежуточной и крайней поперечными балками, вдоль бортов конца ленты размещают ограничительные планки. Обрабатывают поверхность конца ленты между промежуточной и крайней поперечными балками, при этом ограничительные планки обрабатывают вместе с поверхностью конца ленты, а необработанную часть конца ленты под крайней балкой удаляют. Достигается повышение качества обработки поверхности конца ленты. 2 ил.
Изобретение относится к конвейерному транспорту, а именно к способам обработки поверхности концов конвейерных лент при их соединении.
Известен способ разделки концов резинотканевых конвейерных лент [1], заключающийся в том, что каждый конец ленты размещают на столе, прижимают к столу поперечной балкой и затем обрабатывают поверхность конца ленты, фрезеруя канавки.
Недостатком данного способа является низкое качество обработки поверхности концов ленты вследствие плохого их закрепления на столе. Поскольку конец ленты закреплен на столе одной поперечной балкой, то свободный торец конца остается незакрепленным и при обработке может смещаться, что приводит к искривлению обрабатываемой поверхности.
Наиболее близким к предлагаемому техническому решению является способ соединения концов лент [2], заключающийся в том, что соединяемые концы лент размещают на столе встык и прижимают к столу поперечными балками, вдоль бортов концов лент размещают ограничительные планки и затем обрабатывают поверхности концов лент, фрезеруя канавки.
Недостатком данного способа является низкое качество обработки поверхности концов ленты вследствие плохого их закрепления на столе. По данному способу каждый конец ленты закреплен на столе одной поперечной балкой и двумя ограничительными планками. Свободный торец конца, размещенный встык аналогичному торцу другого конца, остается незакрепленным и при обработке может смещаться. Это приводит к искривлению и снижению качества обрабатываемой поверхности.
Кроме того, расположение ограничительных планок вдоль бортов конца ленты требует точного позиционирования обрабатывающего инструмента относительно бортов конца ленты и ограничительных планок. Это приводит к увеличению времени и затрат на обработку поверхности конца ленты.
Задачей предлагаемого изобретения является повышение качества обработки поверхности конца ленты.
Способ обработки поверхности конца ленты, заключающийся в том, что конец ленты размещают на столе и прижимают к столу промежуточной и крайней поперечными балками, вдоль бортов конца ленты размещают ограничительные планки и затем обрабатывают поверхность конца ленты.
Согласно изобретению поверхность конца ленты обрабатывают между промежуточной и крайней поперечными балками, при этом ограничительные планки обрабатывают вместе с поверхностью конца ленты, а необработанную часть конца ленты под крайней балкой удаляют.
При осуществлении изобретения может быть получен технический результат, заключающийся в повышении качества обработки поверхности конца ленты.
Указанный технический результат достигается тем, что конец ленты во время обработки надежно закреплен на столе двумя поперечными балками и двумя ограничительными планками. Надежное крепление конца ленты не позволяет ему смещаться на столе и не допускает искривление обрабатываемой поверхности.
Обработка поверхности конца ленты вместе (заодно) с ограничительными планками исключает возможность оставления необработанных участков поверхности вдоль бортов конца ленты. При этом также сокращается время обработки, так как отпадает необходимость точного позиционирования обрабатывающего инструмента относительно бортов конца ленты и ограничительных планок.
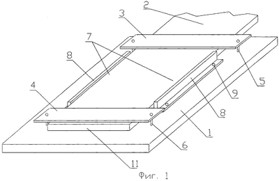
На фиг.1 изображен закрепленный на столе конец ленты до обработки поверхности; на фиг.2 – то же, после обработки поверхности.
Способ обработки поверхности конца ленты осуществляют следующим образом.
На столе 1 размещают конец ленты 2 и прижимают его к столу 1 промежуточной 3 и крайней 4 поперечными балками. Поперечные балки 3 и 4 крепят к столу 1 болтами 5 и 6, шайбами и гайками (на чертежах не показаны).
Вдоль бортов 7 конца ленты 2 вплотную размещают ограничительные планки 8 и крепят их к столу 1 болтами 9, шайбами и гайками (на чертежах не показаны).
Поперечные балки 3 и 4 препятствуют смещению конца ленты 2 в продольном направлении, а ограничительные планки 8 – в поперечном.
Затем поверхность конца ленты 2 между поперечными балками 3 и 4 обрабатывают, например фрезеруют ступени 10 (фиг.2).
Чтобы вдоль бортов 7 не оставались необработанные участки поверхности конца ленты 2, ограничительные планки 8 обрабатывают вместе с поверхностью конца ленты 2. При этом ограничительные планки 8 выполнены из легкообрабатываемого и дешевого материала, например дерева.
После окончания обработки поверхности конца ленты 2 крайнюю поперечную балку 4 снимают, предварительно открутив гайки болтов 6. Необработанную часть 11 конца ленты 2, находившуюся под крайней балкой 4, удаляют (отрезают).
После этого снимают промежуточную поперечную балку 3, предварительно освободив болты 5, и конец ленты 2 освобождают.
Технико-экономическое преимущество заявляемого изобретения заключается в повышении качества обработки поверхности конца ленты за счет уменьшения отклонений заданных размеров обработанной поверхности и исключения необработанных участков поверхности вдоль бортов конца ленты.
Источники информации
1. Патент РФ №2001332 МПК5 F16G 3/10, БИ №37-38, 1993 г. Способ разделки концов резинотканевых конвейерных лент и устройство для разделки концов резинотканевых конвейерных лент.
2. Патент РФ №2083893 МПК6 F16G 3/00, БИ №19, 1997 г. Способ соединения концов лент.
Формула изобретения
Способ обработки поверхности конца ленты, заключающийся в том, что конец ленты размещают на столе и прижимают к столу промежуточной и крайней поперечными балками, вдоль бортов конца ленты размещают ограничительные планки и затем обрабатывают поверхность конца ленты, отличающийся тем, что поверхность конца ленты обрабатывают между промежуточной и крайней поперечными балками, при этом ограничительные планки обрабатывают вместе с поверхностью конца ленты, а необработанную часть конца ленты под крайней балкой удаляют.
РИСУНКИ
|