|
|
(21), (22) Заявка: 2006114458/06, 28.04.2006
(24) Дата начала отсчета срока действия патента:
28.04.2006
(46) Опубликовано: 20.11.2007
(56) Список документов, цитированных в отчете о поиске:
RU 2162955 С2, 10.02.2001. RU 2250384 С2, 20.04.2005. US 5398499 A, 21.03.1995. US 5461856 A, 31.10.1995. EP 0060763 A1, 22.09.1983. RU 2095605 C1, 10.11.1997.
Адрес для переписки:
129301, Москва, ул. Касаткина, 13, НТЦ им. А. Люльки, ОАО “НПО “Сатурн”, патентный отдел
|
(72) Автор(ы):
Барамзин Михаил Васильевич (RU), Башкин Александр Сергеевич (RU), Дубровский Борис Викторович (RU), Долгомиров Борис Алексеевич (RU), Марчуков Евгений Ювенальевич (RU), Сладков Михаил Куприянович (RU)
(73) Патентообладатель(и):
Открытое акционерное общество “Научно-производственное объединение “Сатурн” (ОАО “НПО “Сатурн”) (RU)
|
(54) УСТРОЙСТВО ДЛЯ ПОВОРОТА РЕАКТИВНОГО СОПЛА ТУРБОРЕАКТИВНОГО ДВИГАТЕЛЯ
(57) Реферат:
Устройство для поворота реактивного сопла турбореактивного двигателя содержит неподвижный корпус с двумя дополнительными опорами Г-образной формы со стороны его наружной поверхности и подвижный корпус. Подвижный корпус шарнирно соединен с неподвижным корпусом в двух диаметрально противоположных местах шкворнями. Шкворни снабжены опорными буртиками, расположенными со стороны внутренней поверхности неподвижного корпуса, и неподвижно установлены в радиальных отверстиях неподвижного корпуса и дополнительной опоры. Между одним из торцов подвижного корпуса и торцом неподвижного корпуса или торцом дополнительной опоры установлена опорная шайба. На каждом шкворне со стороны другого торца подвижного корпуса установлена дополнительная опорная шайба. Между опорной шайбой и дополнительной опорной шайбой установлена распорная втулка и зафиксированные в отверстии подвижного корпуса две опорные втулки с буртиками, опирающимися на его торцевые поверхности. Между одним из буртиков опорных втулок подвижного корпуса и одной из опорных шайб выполнен торцевой зазор. Шкворень выполнен с резьбовым отверстием с противоположной стороны от его буртика, в котором установлен стяжной болт, торец которого контактирует с внешней поверхностью дополнительной опоры неподвижного корпуса. Изобретение позволяет уменьшить износ элементов шарнирного соединения, а также повысить ремонтопригодность всего узла. 3 з.п. ф-лы, 2 ил.
Изобретение относится к авиационному двигателестроению, а именно к устройствам для поворота реактивных сопел, устанавливаемых на турбореактивных двигателях (ТРД).
Известно устройство для поворота реактивного сопла турбореактивного двигателя, содержащее неподвижный корпус с двумя дополнительными опорами Г-образной формы со стороны его наружной поверхности и подвижный корпус, расположенный между ними, и шарнирно соединенный с неподвижным корпусом в двух диаметрально противоположных местах шкворнями. Каждый шкворень снабжен опорным буртиком, расположенным со стороны внутренней поверхности неподвижного корпуса. При этом каждый шкворень неподвижно установлен в радиальных отверстиях неподвижного корпуса и дополнительной опоры. Между одним из торцов подвижного корпуса и торцом неподвижного корпуса или торцом дополнительной опоры установлена опорная шайба. (См. патент РФ №2250384 по классу F02K 1/78, опубл. 20.04.2005 г.).
Недостаток известного устройства состоит в том, что оно в условиях высоких температур и больших осевых нагрузок, приходящихся на шарнирный узел со стороны сопла, а также при больших скоростях перекладки поворотного реактивного сопла, не обеспечивает заданный по техническому заданию ресурс и надежность всего узла. В данной конструкции происходит значительный износ и наволакивание металла в шарнирном соединении (шкворень – отверстие в подвижном корпусе), а также по торцевым поверхностям подвижного и неподвижного корпусов и дополнительным опорам при длительной циклической наработке. Это связано, в первую очередь, с тем, что используемые в конструкции жаропрочные титановые сплавы, предназначенные для снижения веса поворотного устройства, плохо работают в условиях «сухого» трения при высоких удельных давлениях и температурах. Кроме того, в данной конструкции трудно обеспечить торцевой зазор между неподвижным корпусом с дополнительной опорой и подвижным корпусом, в результате чего возникают дополнительные силы трения по торцевым поверхностям. Также к числу существенных недостатков конструкции следует отнести низкую ремонтопригодность всего узла.
Задачей изобретения является уменьшение износа элементов шарнирного соединения в условиях высоких температур и больших осевых нагрузок.
Дополнительной задачей является повышение ремонтопригодности всего узла за счет возможности замены износившихся в процессе эксплуатации пар трения без замены основных деталей конструкции.
Указанная задача достигается тем, что в известном устройстве для поворота реактивного сопла турбореактивного двигателя, содержащем неподвижный корпус с двумя дополнительными опорами Г-образной формы со стороны его наружной поверхности и подвижный корпус, расположенный между ними и шарнирно соединенный с неподвижным корпусом в двух диаметрально противоположных местах шкворнями, снабженными опорными буртиками, расположенными со стороны внутренней поверхности неподвижного корпуса, причем каждый шкворень неподвижно установлен в радиальных отверстиях неподвижного корпуса и дополнительной опоры, а между одним из торцов подвижного корпуса и торцом неподвижного корпуса или торцом дополнительной опоры установлена опорная шайба, согласно изобретению на каждом шкворне со стороны другого торца подвижного корпуса установлена дополнительная опорная шайба, между опорной шайбой и дополнительной опорной шайбой установлена распорная втулка, а в отверстии подвижного корпуса зафиксированы две опорные втулки с буртиками, опирающимися на его торцевые поверхности, причем между одним из буртиков опорных втулок подвижного корпуса и одной из опорных шайб выполнен торцевой зазор, а шкворень выполнен с резьбовым отверстием с противоположной стороны от его буртика, в котором установлен стяжной болт, торец которого контактирует с внешней поверхностью дополнительной опоры неподвижного корпуса.
Дополнительная опорная шайба установлена с целью устранения непосредственного контакта между любым из торцов подвижного корпуса и торцом неподвижного корпуса или его дополнительной опорой, что устраняет их износ.
Распорная втулка, установленная на шкворне между основной и дополнительной опорными шайбами, обеспечивает гарантированный торцевой зазор между одним из буртиков опорных втулок и одной из опорных шайб.
Торцевой зазор позволяет значительно уменьшить трение между буртиком опорной втулки подвижного корпуса и опорной шайбой, установленной со стороны дополнительной г-образной опоры, что уменьшает износ деталей конструкции.
Распорная втулка, установленная на шкворне между основной и дополнительной опорными шайбами, и две опорные втулки с буртиками, зафиксированные в отверстии подвижного корпуса, представляют собой шарнирную пару и исключают непосредственный контакт между шкворнем и отверстием в подвижном корпусе, выполненным из титанового сплава. Таким образом, обеспечивается свободное вращение подвижного корпуса относительно неподвижного корпуса и уменьшение силы трения как в самом шарнирном соединении, так и по его торцевым поверхностям. Кроме того, данная конструкция позволяет повысить ремонтопригодность всего узла за счет возможности замены износившихся в процессе эксплуатации пар трения без замены основных деталей конструкции.
Применение стяжного болта, установленного в резьбовом отверстии шкворня, торец которого контактирует с внешней поверхностью дополнительной опоры неподвижного корпуса, позволяет зажать распорную втулку через опорные шайбы между ответными поверхностями неподвижного корпуса и г-образной дополнительной опоры и тем самым обеспечить необходимый технологически заданный зазор между одним из буртиков опорных втулок и одной из опорных шайб. Момент затяжки резьбового соединения фиксирует распорную втулку от вращения, таким образом распорная втулка остается неподвижной относительно неподвижного корпуса и его дополнительной опоры на различных режимах эксплуатации устройства.
Выполнение фиксации шкворня от проворота, например, радиальными штифтами, установленными в отверстиях неподвижного корпуса и проходящими через пазы или отверстия в буртике шкворня, позволяет исключить износ в отверстиях неподвижного корпуса и его дополнительных опор.
Для уменьшения износа и наволакивания металла в шарнирном соединении распорные и опорные втулки с буртиками, а также опорные шайбы выполнены из износостойкого сплава (например, из сплава ВНС-32 по ТУ 14-1-2756-79), что позволяет существенно повысить надежность и ресурс всего узла.
Для уменьшения сил трения в шарнирном соединении на наружной поверхности распорной втулки и опорной шайбы дополнительно нанесено износостойкое покрытие (например, Молибден по ТУ 14-22-184-2003 методом плазменного напыления), что также повышает его надежность и ресурс.
Такое выполнение устройства позволяет существенно уменьшить износ и наволакивание металла в элементах шарнирного соединения в условиях высоких температур и больших циклических осевых нагрузках, а также позволяет повысить его надежность, ресурс и ремонтопригодность.
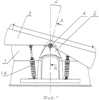
На фиг.1 показан общий вид на поворотное реактивное сопло в отклоненном положении;
на фиг.2 показан продольный разрез А-А по шарнирному соединению подвижного и неподвижного корпусов.
Устройство для поворота реактивного сопла турбореактивного двигателя содержит неподвижный корпус 1 с двумя дополнительными опорами Г-образной формы 2 со стороны его наружной поверхности и подвижный корпус 3, расположенный между ними, шарнирно соединенный с неподвижным корпусом 1 в двух диаметрально противоположных местах шкворнями 4, снабженными опорными буртиками 5, расположенными со стороны внутренней поверхности неподвижного корпуса 1. Каждый шкворень 4 неподвижно установлен в радиальных отверстиях неподвижного корпуса 1 и дополнительной опоры 2. Между торцами подвижного корпуса 3 и торцом неподвижного корпуса 1, а также торцом дополнительной опоры 2 установлены опорная шайба 6 и дополнительная опорная шайба 7. Между опорной шайбой 6 и дополнительной опорной шайбой 7 установлена распорная втулка 8. В отверстии подвижного корпуса жестко зафиксированы две опорные втулки с буртиками 9, опирающимися на его торцевые поверхности. Между одним из буртиков опорных втулок 9 подвижного корпуса 3 и одной из опорных шайб 6 или 7 выполнен торцевой зазор S . Шкворень 4 выполнен с резьбовым отверстием 10 с противоположной стороны от его буртика 5, в котором установлен стяжной болт 11, торец которого контактирует с внешней поверхностью дополнительной опоры 2 неподвижного корпуса 1. С целью надежной фиксации шкворня 4 от проворота установлены радиальные штифты 12 в неподвижном корпусе 1, которые проходят через пазы или отверстия 13 в буртике 5 шкворня 4. Устройство содержит управляющие цилиндры 14, соединенные одним концом с неподвижным корпусом 1, а другим с подвижным корпусом 3.
Устройство работает следующим образом.
При работе двигателя управляющие цилиндры 14 поворачивают подвижный корпус 3 поворотного устройства относительно осей шкворней 4 на заданный угол . При этом опорные втулки с буртиками 9 подвижного корпуса 3 проворачиваются относительно распорных втулок 8, которые неподвижно зафиксированы между двух опорных шайб 6 и 7, за счет момента затяжки всего пакета, создаваемого стяжным болтом 11. Таким образом, шарнирное соединение образовано распорной втулкой 8, зафиксированной относительно неподвижного корпуса 1 и его дополнительной опоры 2, и опорными втулками с буртиками 8 подвижного корпуса 3. В процессе эксплуатации двигателя с поворотным реактивным соплом, под воздействием аэродинамических и эволюционных нагрузок, подвижный корпус 3 может свободно перемещаться в пределах торцевого зазора S и прижиматься буртиком опорной втулки 9 к одной из опорных шайб 6 или 7.
Изобретение позволяет исключить в шарнирном соединении устройства для поворота реактивного сопла непосредственный контакт элементов конструкции, выполненных из титанового сплава, за счет введения дополнительных элементов из износостойкого сплава, имеющих значительно лучшие характеристики по фрикционной коррозии и коэффициенту трения, что приведет к уменьшению износа, наклепа и фрикционной коррозии и позволит повысить его долговечность, надежность, а также ремонтопригодность всей конструкции.
Формула изобретения
1. Устройство для поворота реактивного сопла турбореактивного двигателя, содержащее неподвижный корпус с двумя дополнительными опорами Г-образной формы со стороны его наружной поверхности, подвижный корпус, расположенный между ними и шарнирно соединенный с неподвижным корпусом в двух диаметрально противоположных местах шкворнями, снабженными опорными буртиками, расположенными со стороны внутренней поверхности неподвижного корпуса, причем каждый шкворень неподвижно установлен в радиальных отверстиях неподвижного корпуса и дополнительной опоры, а между одним из торцов подвижного корпуса и торцом неподвижного корпуса или торцом дополнительной опоры установлена опорная шайба, отличающееся тем, что на каждом шкворне со стороны другого торца подвижного корпуса установлена дополнительная опорная шайба, между опорной шайбой и дополнительной опорной шайбой установлена распорная втулка и зафиксированные в отверстии подвижного корпуса две опорные втулки с буртиками, опирающимися на его торцевые поверхности, причем между одним из буртиков опорных втулок подвижного корпуса и одной из опорных шайб выполнен торцевой зазор, а шкворень выполнен с резьбовым отверстием с противоположной стороны от его буртика, в котором установлен стяжной болт, торец которого контактирует с внешней поверхностью дополнительной опоры неподвижного корпуса.
2. Устройство для поворота реактивного сопла по п.1, отличающееся тем, шкворень зафиксирован от проворота, например, радиальными штифтами, установленными в отверстиях неподвижного корпуса и проходящими через пазы или отверстия в буртике шкворня.
3. Устройство для поворота реактивного сопла по п.1, отличающееся тем, что распорные и опорные втулки с буртиками, а также опорные шайбы выполнены из износостойкого сплава.
4. Устройство для поворота реактивного сопла по п.1, отличающееся тем, что на наружной поверхности распорной втулки нанесено износостойкое покрытие.
РИСУНКИ
PC4A – Регистрация договора об уступке патента СССР или патента Российской Федерации на изобретение
Прежний патентообладатель:
Открытое акционерное общество “Научно-производственное объединение “Сатурн”
(73) Патентообладатель:
Открытое акционерное общество “Научно-производственное объединение “Сатурн”
(73) Патентообладатель:
Открытое акционерное общество “Уфимское моторостроительное производственное объединение”
Договор № РД0033747 зарегистрирован 12.03.2008
Извещение опубликовано: 27.04.2008 БИ: 12/2008
|
|