|
| На основании пункта 3 статьи 13 Патентного закона Российской Федерации от 23 сентября 1992 г. № 3517-I патентообладатель обязуется передать исключительное право на изобретение (уступить патент) на условиях, соответствующих установившейся практике, лицу, первому изъявившему такое желание и уведомившему об этом патентообладателя и федеральный орган исполнительной власти по интеллектуальной собственности, – гражданину РФ или российскому юридическому лицу. |
|
(21), (22) Заявка: 2006121063/06, 13.06.2006
(24) Дата начала отсчета срока действия патента:
13.06.2006
(46) Опубликовано: 20.11.2007
(56) Список документов, цитированных в отчете о поиске:
RU 30397 U1, 27.06.2003. SU 464707 A1, 25.03.1975. RU 2193093 С2, 20.11.2002. GB 2107392 А, 27.04.1983. WO 88/01338 A1, 25.02.1988. US 2003/0213461 A1, 20.11.2003. JP 20052329987 А, 02.09.2005.
Адрес для переписки:
443112, г.Самара, ул. Крайняя, 18, кв.17, Н.Б. Болотину
|
(72) Автор(ы):
Солнцев Александр Юрьевич (RU), Федоров Юрий Николаевич (RU), Соловьев Владимир Анатольевич (RU)
(73) Патентообладатель(и):
Солнцев Александр Юрьевич (RU), Федоров Юрий Николаевич (RU), Соловьев Владимир Анатольевич (RU)
|
(54) ВИХРЕВАЯ ФОРКАМЕРА ДВИГАТЕЛЯ ВНУТРЕННЕГО СГОРАНИЯ
(57) Реферат:
Изобретение относится к двигателям внутреннего сгорания. В вихревой форкамере двигателя внутреннего сгорания, содержащей цилиндрический корпус с наружной и внутренней резьбами внутренней полостью, нижним отверстием и боковыми факельными каналами, боковые факельные каналы имеют три угла отклонения в пространстве. Нижнее отверстие может быть расположено асимметрично по отношению к вертикальной оси форкамеры. Нижнее отверстие имеет тот же диаметр или меньший, чем боковые факельные каналы. Факельные каналы могут иметь микроканалы типа «два в одном» или «три в одном», при этом микроканалы развернуты под углом друг к другу, что создает дополнительные условия для образования вихревого потока. Количество боковых факельных каналов от 3-х до 9-ти. Асимметрично выполненное нижнее отверстие форкамеры само имеет угол отклонения, что также создает дополнительные условия для создания вихревого движения потока. Форкамера имеет различную высоту в зависимости от типа двигателя и вида техники. Изобретение обеспечивает повышение экономичности двигателя, эффективность зажигания при низких температурах, использование низкооктановых бензинов. 5 з. п. ф-лы, 3 ил.
Изобретение относится к двигателям внутреннего сгорания.
Известна форкамера двигателя внутреннего сгорания по а. св. СССР №1370269, опубл. 30.01.88 г. Эта форкамера предназначена для установки свечи зажигания и содержит цилиндрический корпус с оребрением, внутреннюю полость и одно осевое отверстие.
Недостаток, вызванный малым диаметром отверстия, заключатся в том, что до полного прогрева двигателя применение такой форкамеры не дает результата, а после ее прогрева не исключен перегрев.
Известна форкамера двигателя внутреннего сгорания по а. св. СССР №1592534, которая содержит корпус с внутренней полостью и боковыми факельными каналами, выполненными тангенциально и одновременно под углом к оси корпуса. Кроме полости форкамера содержит переходный канал, сопряженный с полостью по радиусу.
Известна вихревая форкамера двигателя внутреннего сгорания, в которую устанавливаются свечи зажигания по патенту на полезную модель №30397, авторы Соловьев В.А. и Паршиков Ю.И. (прототип).
Эта форкамера содержит полость, осевой и боковые факельные каналы, которые выполнены под углом к продольной оси и одновременно под углом к радиусам, проходящим через ось камеры. Боковые факельные каналы выполнены под углом от 7 до 85° к оси. Боковые факельные каналы выполнены по часовой стрелке, если смотреть сверху свечи. Число боковых каналов находится в диапазоне от 2 до 8. Диаметр осевого факельного канала выполнен больше диаметра боковых факельных каналов.
Недостатками этого изобретения является то, что, как показали проведенные авторами эксперименты, он улучшает экономичность двигателя внутреннего сгорания, но незначительно, а также не позволяет использовать низкооктановые бензины.
Задачи создания изобретения: использование низкооктановых бензинов, повышение экономичности двигателя внутреннего сгорания, эффективности зажигания, особенно при низких температурах и в сырую погоду.
Решение указанных задач достигнуто в вихревой форкамере двигателя внутреннего сгорания, содержащей цилиндрический корпус с наружной и внутренней резьбами внутренней полостью, нижним отверстием и боковыми факельными каналами, за счет того, что боковые факельные каналы имеют три угла отклонения в пространстве форкамеры. Нижнее отверстие выполнено ассимметрично по отношению к вертикальной оси форкамеры. Нижнее отверстие имеет тот же диаметр или меньший, чем боковые факельные каналы. Факельные каналы имеют микроканалы типа «два в одном» или «три в одном», при этом микроканалы развернуты под углом друг к другу, что создает дополнительные условия для образования вихревого потока. Количество боковых факельных каналов от 3-х до 9-ти. Ассимметрично выполненное нижнее отверстие форкамеры само имеет угол отклонения, что также создает дополнительные условия для создания вихревого движения потока. Форкамера имеет различную высоту в зависимости от типа двигателя и вида техники.
Предложенное техническое решение обладает новизной, изобретательским уровнем и промышленной применимостью. Новизна подтверждается проведенными патентными исследованиями, изобретательский уровень тем, что новая совокупность существенных признаков позволила получить новый технический эффект, а именно использование низкооктановых бензинов, повышение экономичности двигателя внутреннего сгорания, эффективности зажигания, особенно при низких температурах и в сырую погоду.
Промышленная применимость обусловлена тем, что для реализации изобретения не требуется создания новых неизвестных из уровня техники деталей и узлов и новых технологий.
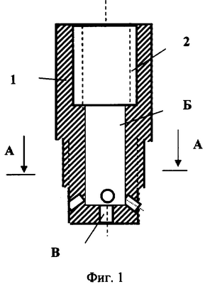
Сущность изобретения поясняется на фиг.1…3, где:
– на фиг.1 приведена вихревая форкамера в разрезе,
– на фиг.2 приведен поперечный разрез А-А,
– на фиг.3 график зависимости экономичности двигателя внутреннего сгорания от угла наклона нижнего отверстия и ассимметричного расположения.
Вихревая форкамера двигателя внутреннего сгорания содержит корпус 1 с внутренней резьбой 2, наружной резьбой 3, полостью «Б», нижним отверстием «В», боковыми факельными каналами «Г», которые расположены под углами (от 1 до 89°) ко всем трем осям координат Х-Х, УУ, Z-Z.
Кроме того, нижнее отверстие «В» может быть выполнено под углом (тоже от 1 до 89°), это также дает уменьшение расхода топлива (поз.4, фиг.3). Если дополнительно нижнее отверстие выполнить ассимметрично по отношению к оси форкамеры, это даст дополнительное уменьшение расхода топлива (поз.5 фиг.3). Нижнее отверстие имеет тот же диаметр или меньший, чем боковые факельные каналы. Факельные каналы могут иметь микроканалы типа «два в одном» или «три в одном», при этом микроканалы развернуты под углом друг к другу, что создает дополнительные условия для образования вихревого потока. Количество боковых факельных каналов от 3-х до 9-ти. Ассимметрично выполненное нижнее отверстие форкамеры само имеет угол отклонения, что также создает дополнительные условия для создания вихревого движения потока. Форкамера имеет различную высоту в зависимости от типа двигателя и вида техники.
Вихревая форкамера работает следующим образом.
Предварительно свечи зажигания вворачиваются внутрь форкамер по внутренней резьбе 2, потом сами корпуса форкамер вворачивают по внешней резьбе 3 в цилиндры двигателя внутреннего сгорания. При работе двигателя внутреннего сгорания часть топливо-воздушной смеси из камеры сгорания, образованной головкой цилиндра, цилиндром и поршнем, попадает в полость «Б» вихревой форкамеры, где воспламеняется. Из полости «Б» факелы через нижнее отверстие «В» и боковые факельные отверстия «Г» выходят в камеру сгорания, где воспламеняю топливо-воздушную смесь. Такое двухстадийное воспламенение повышает полноту сгорания топлива, следовательно, улучшает экономичность двигателя и уменьшает расход топлива, в некоторых случаях до 50%. Кроме того, при этом можно примянять низкооктановые бензины. Также применение форкамеры улучшает запуск двигателя внутреннего сгорания как в холодную, так и в сырую погоду. Применение изобретения позволило:
1) повысить экономичность двигателя внутреннего сгорания;
2) использование низкооктановые бензины;
3) улучшить эффективности зажигания, особенно при низких температурах и в сырую погоду.
Формула изобретения
1. Вихревая форкамера двигателя внутреннего сгорания, содержащая цилиндрический корпус с наружной и внутренней резьбами, внутренней полостью, нижним отверстием и боковыми факельными каналами, отличающаяся тем, что боковые факельные каналы расположены под углами от 1 до 89° ко всем трем осям координат.
2. Вихревая форкамера двигателя внутреннего сгорания по п.1, отличающаяся тем, что нижнее отверстие расположено асимметрично по отношению к вертикальной оси форкамеры.
3. Вихревая форкамера двигателя внутреннего сгорания по п.1, отличающаяся тем, что нижнее отверстие имеет тот же диаметр или меньший, чем боковые факельные каналы.
4. Вихревая форкамера двигателя внутреннего сгорания по п.1, отличающаяся тем, что количество боковых факельных каналов от 3 до 9.
5. Вихревая форкамера двигателя внутреннего сгорания по п.2, отличающаяся тем, что асимметрично выполненное нижнее отверстие форкамеры тоже имеет угол отклонения, что также создает дополнительные условия для создания вихревого движения потока.
6. Вихревая форкамера двигателя внутреннего сгорания по п.1, отличающаяся тем, что форкамера имеет различную высоту в зависимости от типа двигателя и вида техники.
РИСУНКИ
|
|