|
|
(21), (22) Заявка: 2006113958/02, 25.04.2006
(24) Дата начала отсчета срока действия патента:
25.04.2006
(46) Опубликовано: 20.11.2007
(56) Список документов, цитированных в отчете о поиске:
RU 2087588 C1, 20.08.1997. RU 2167955 C2, 27.05.2001. SU 1797629 A1, 23.02.1993. DD 205192 A, 21.12.1983. ЕР 0157573 А2, 30.12.1986. ЕР 0619380 А1, 09.10.1985.
Адрес для переписки:
119270, Москва, Фрунзенская наб., 38/1, кв.136, пат.пов. В.В.Коваленко, рег.№ 226
|
(72) Автор(ы):
Кошелевский Виктор Фадеевич (UA), Юркевич Игорь Николаевич (UA), Мисожников Лев Викторович (RU), Гевал Юрий Николаевич (RU)
(73) Патентообладатель(и):
Мисожников Лев Викторович (RU)
|
(54) УСТРОЙСТВО ДЛЯ НАНЕСЕНИЯ ПОРИСТЫХ ПОКРЫТИЙ НА ЛЕНТУ
(57) Реферат:
Изобретение относится к устройствам для нанесения пористых покрытий на ленту и может быть использовано при производстве электронных компонентов, магнитных носителей записывающих устройств, декоративных покрытий и т.д. Устройство содержит вакуумную камеру, испаритель, валы размотки и намотки, верхние, средние и нижние направляющие ролики и отклоняющие ролики для транспортирования ленты. Ролики выполнены в виде охлаждаемых цилиндров и установлены над испарителем с возможностью огибания лентой роликов по ломаной линии с образованием парных отрезков ленты между направляющими роликами. Парные отрезки ленты между направляющими роликами расположены симметрично относительно вертикали, проведенной из центра испарителя. Между нижними и средними роликами размещены дополнительные направляющие ролики, образующие парные отрезки ленты, расположенные под острым углом друг к другу. Все направляющие ролики установлены с возможностью прохождения между ними отрезков ленты с образованием угла между прямой, соединяющей центр испарителя с любой точкой этих отрезков, и нормалью к этой точке отрезка, равного 68-78°. При этом дополнительные направляющие ролики выполнены с возможностью создания регулируемого усилия натяжения на отрезках ленты. 3 з.п. ф-лы, 4 ил.
Изобретение относится к устройствам для нанесения покрытий на рулонные материалы и может быть использовано в различных областях, например при производстве электронных компонентов, магнитных носителей записывающих устройств, декоративных покрытий и т.д.
Известно устройство для напыления пористых покрытий на ленту, патент DD 205192, С23С 13/10, содержащее испаритель, направляющие и отклоняющие ролики, выполненные в виде охлаждаемых цилиндров и размещенные над испарителем таким образом, что огибающая их лента образует ломаную линию, включающую отрезки напыления между направляющими роликами.
Это устройство позволяет получать пористое покрытие на ленте, однако наклонная конденсация испаряемого материала на ленту не обеспечивает прочной связи между покрытием и подложкой, а также между частицами в покрытии, так как адсорбированные на ленте воздух, примеси и загрязнения, эффект затенения, недостаточная для термической активации температура и другие факторы, характерные для осаждения покрытия под острым углом на подложку, ослабляют процессы активации и химического взаимодействия, необходимые для установления прочных химических связей между атомами. Кроме того, на отрезках между нижними роликами холодная лента попадает в зону высокой температуры, где происходит ее интенсивный разогрев. При этом свободному линейному расширению ленты вдоль направляющих роликов под действием температурной нагрузки препятствуют значительные силы трения между лентой и роликами, определяемые поверхностью охвата роликов лентой, повышенном коэффициенте трения в вакууме и натяжением ленты при перемотке. Что приводит к образованию складок на ленте.
Наиболее близким к предлагаемому изобретению является устройство для напыления пористых покрытий на ленту, патент RU 2087588, С23С 14/56, содержащее вакуумную камеру, испаритель, верхние и нижние направляющие и отклоняющие ролики для транспортирования ленты, выполненные в виде охлаждаемых цилиндров и установленные над испарителем с возможностью огибания лентой роликов по ломаной линии с отрезками ленты между направляющими роликами, при этом верхние направляющие ролики размещены с возможностью прохождения между ними отрезков ленты в направлении, обеспечивающем образование угла между прямой, соединяющей центр испарителя с любой точкой любого из этих отрезков ленты, и нормалью к отрезку в этой точке 40-60°, а нижние направляющие ролики установлены над испарителем с возможностью прохождения отрезков ленты между ними в направлении, обеспечивающем образование угла между прямой, соединяющей центр испарителя с любой точкой любого из этих отрезков, и нормалью к отрезку в этой точке до 10°. При этом нижние направляющие ролики выполнены с пазами шевронной формы на цилиндрической поверхности роликов.
Это устройство обладает несколькими недостатками. Все отрезки ленты, расположенные над испарителем в зоне напыления, расположены таким образом, что угол, образующийся между прямой, проведенной от центра испарителя к любой точке этого отрезка, и нормалью к отрезку в этой точке, имеет одно направление. Такое размещение отрезков приводит к образованию на ленте однонаправленной столбчатой структуры с большим содержанием закрытых пор. Кроме того, в известном устройстве для устранения образования складок используются ролики с шевронными пазами на цилиндрической поверхности, позволяющие разглаживать ленту от середины к краям за счет составляющих силы натяжения ленты при ее перемотке, направленных от центра шеврона к его периферии. При этом, чтобы гарантировать прочность перемещающейся в вакуумном объеме ленты, необходимо принимать во внимание механические напряжения, обусловленные натяжением ленты. Тем не менее возможны следы текучести, местные пластические деформации или обрыв обрабатываемой ленты даже в тех случаях, когда силы натяжения меньше допустимых.
Технической задачей, на решение которой направлено заявляемое изобретение, является создание устройства для нанесения пористых покрытий, обеспечивающего напыление пористых покрытий с максимально открытой разветвленной пористостью, а также предотвращение складкообразования, деформаций и повреждений напыленного слоя.
Поставленная задача решается за счет того, что в устройстве для нанесения пористых покрытий на ленту, содержащем вакуумную камеру, испаритель, валы размотки и намотки, верхние, средние и нижние направляющие ролики и отклоняющие ролики для транспортирования ленты, выполненные в виде охлаждаемых цилиндров и установленные над испарителем с возможностью огибания лентой роликов по ломаной линии с образованием парных отрезков ленты между направляющими роликами, причем парные отрезки ленты между направляющими роликами расположены симметрично относительно вертикали, проведенной из центра испарителя, между нижними и средними направляющими роликами размещены дополнительные направляющие ролики, образующие парные отрезки ленты, расположенные под острым углом друг к другу, при этом все направляющие ролики установлены с возможностью прохождения между ними отрезков ленты с образованием угла между прямой, соединяющей центр испарителя с любой точкой этих отрезков, и нормалью к этой точке отрезка, равного 68-78°, причем угол, образованный с отрезком ленты между дополнительными и средними направляющими роликами, является обратным по направлению.
Кроме того, дополнительные направляющие ролики могут быть выполнены с возможностью создания регулируемого усилия натяжения на отрезках ленты.
При этом отрезки ленты между нижними и дополнительными направляющими роликами и между дополнительными и средними направляющими роликами расположены под углом 10°, а парные отрезки, расположенные между средними и верхними направляющими роликами, образуют угол 28°.
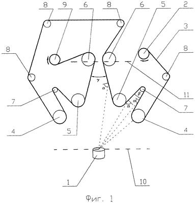
На фиг.1 изображено устройство для нанесения пористых покрытий на ленту; на фиг.2 – распределение силы натяжения на дополнительном направляющем ролике; на фиг.3 показана столбчатая структура покрытия; на фиг.4 представлена столбчатая структура покрытия, образующаяся в устройстве, которое представлено в прототипе.
Устройство для нанесения пористых покрытий на ленту содержит вакуумную камеру (не показана), испаритель 1, вал размотки 2, на котором размещен рулон ленты 3, нижние направляющие ролики 4, средние направляющие ролики 5, верхние направляющие ролики 6, дополнительные направляющие ролики 7, а также отклоняющие ролики 8 и вал намотки 9, на котором закреплен конец ленты 3. Кроме того, в устройстве имеются нижний 10 и верхний 11 защитные экраны, ограничивающие снизу и сверху зону напыления.
Нижние 4, средние 5, верхние 6 направляющие ролики и отклоняющие ролики 8 выполнены в виде охлаждаемых цилиндров.
Дополнительные направляющие ролики 7 выполнены с возможностью торможения и создания необходимых регулируемых усилий натяжения, например при помощи электромагнитных муфт (не показаны), только на отрезках между нижними 4 и дополнительными 7 направляющими роликами и между дополнительными 7 и средними 5 направляющими роликами, что позволяет снизить общее натяжение ленты 3, создаваемое валом размотки 2.
Направляющие ролики 4, 5, 6, 7 расположены таким образом, что парные отрезки ленты 3, расположенные между ними, ограничивают собой зону напыления. При этом зона напыления является симметричной относительно вертикальной оси, проведенной из центра испарителя 1.
Направляющие ролики 4, 5, 6, 7 расположены таким образом, что между прямой, проведенной из цента испарителя 1 к любой точке отрезков ленты 3, расположенных в зоне напыления, и нормалью, проведенной к этой точке, образуется угол =68÷78°. При этом угол , расположенный при прямой, проведенной от центра испарителя 1 к отрезку ленты 3, находящемуся между средними направляющими роликами 5 и дополнительными направляющими роликами 7, является обратным по направлению углам , расположенным при прямых, проведенных от центра испарителя 1 к отрезку ленты 3, находящемуся между нижними направляющими роликами 4 и дополнительными направляющими роликами 7, и отрезку ленты 3, находящемуся между средними направляющими роликами 5 и верхними направляющими роликами 6.
Одновременно нижние направляющие ролики 4, дополнительные направляющие ролики 7 и средние направляющие ролики 5 размещены так, что отрезки ленты 3, расположенные между ними, образуют угол =10°.
При этом средние направляющие ролики 5 и верхние направляющие ролики 6 установлены таким образом, что парные отрезки ленты 3, расположенные между ними, образуют между собой угол =28°.
Устройство для нанесения пористых покрытий на ленту работает следующим образом.
В вакуумной камере (не показана) испаритель 1 под действием нагрева, например электронно-лучевого, генерирует поток металлического пара, распространяющегося по объему зоны напыления над испарителем 1.
Лента 3 непрерывно перемещается, начиная движение с вала размотки 2, проходит по отклоняющему ролику 8 и, огибая нижний направляющий ролик 4, попадает в зону напыления. Затем, последовательно огибая дополнительный 7, средний 5 и верхний 6 направляющие ролики, выходит из зоны напыления. После чего, поочередно проходя три отклоняющих ролика 8, как бы переворачивается и, огибая другой нижний направляющий ролик 4, снова оказывается в зоне напыления, но противоположной своей стороной. Затем, последовательно огибая другие дополнительный 7, средний 5 и верхний 6 направляющие ролики, выходит из зоны напыления и наматывается на вал намотки 9.
В процессе перемотки ленты 3 необходимо обеспечить ее разглаживание. Дополнительные направляющие ролики 7 на отрезке между дополнительными 7 и средними 5 направляющими роликами создают силу натяжения ленты 3
Fн=Fn+Fo.
где Fн – сила натяжения ленты 3;
Fn – нормальная составляющая силы натяжения Fн;
Fo – осевая составляющая силы натяжения Fн.
Осевая составляющая силы натяжения направлена вдоль оси дополнительных направляющих роликов 7 и обеспечивает разглаживание ленты 3.
При изменении режимов нанесения покрытия необходимо менять силу натяжения ленты 3. Сила натяжения ленты 3 регулируется при помощи скорости перемещения ленты 3. Наличие дополнительных направляющих роликов 7 дает возможность регулировки силы натяжения ленты 3 не только при помощи скорости перемещения ленты 3.
Конденсация металлического пара в зоне напыления происходит следующим образом.
На отрезках ленты 3, расположенных на нижних направляющих роликах 4, осаждение металлического пара происходит преимущественно по нормали к этому отрезку ленты 3. В этих условиях температура конденсации
Тк>0,5Тпл,
где Тк – температура конденсации;
Тпл – температура плавления испаряемого материала.
При этой температуре конденсации на этом отрезке ленты 3 активно протекают процессы термической активации и химического взаимодействия между атомами металлического пара, выполняющими роль покрытия, и атомами самого отрезка ленты 3, выполняющими роль подложки. При этом устанавливаются прочные химические связи между этими атомами, что обеспечивает хорошую адгезию покрытия и ленты 3. Протяженность этого отрезка ленты 3 может быть невелика относительно всей длины зоны напыления.
На остальных отрезках ленты 3, находящихся в зоне напыления, осаждение металлического пара происходит под углом =68÷78° к нормали в точке напыления. При этом на отрезке между дополнительными 7 и средними 5 направляющими роликами угол меняет свое направление на противоположное. В этих условиях температура конденсации
Тк=0,25÷0,5Тпл,
где Тк – температура конденсации;
Тпл – температура плавления испаряемого материала.
Сочетание такой температуры конденсации с наклонной и разнонаправленной конденсацией обеспечивает получение высокопористого слоя столбчатой структуры из вытянутых кристаллитов и дендритов, разделенных порами в виде разветвленной сети каналов с преимущественно открытым выходом наружу. На этих отрезках ленты 3 последовательно получают высокопористый слой покрытия требуемой толщины.
Процесс нанесения покрытия на ленту 3 продолжается непрерывно до тех пор, пока на валу размотки 2 имеется лента 3.
На получение поверхности пористого покрытия на ленте 3 за счет формирования столбчатой структуры с максимально открытой пористостью и хорошей адгезией покрытия к ленте 3 влияет конструктивное размещение направляющих роликов 4, 5, 6, 7 над испарителем 1, обеспечивающее движение ленты 3 по ломаной траектории с образованием углов , , .
Для эффективного разглаживания ленты 3 без увеличения внутренних деформаций и перетяжек, которые, в свою очередь, приводят к ухудшению удельных характеристик ленты 3, в устройство введены дополнительные направляющие ролики 7, выполненные с возможностью торможения и создания необходимых регулируемых усилий натяжения на отрезке ленты 3 между дополнительными роликами 7 и средними направляющими роликами 5.
Все вышесказанное указывает на то, что техническая задача – создание устройства для нанесения пористых покрытий, обеспечивающего напыление пористых покрытий с максимально открытой разветвленной пористостью, а также предотвращение складкообразования, деформаций и повреждений напыленного слоя, решена.
Формула изобретения
1. Устройство для нанесения пористых покрытий на ленту, содержащее вакуумную камеру, испаритель, валы размотки и намотки, верхние, средние и нижние направляющие ролики и отклоняющие ролики для транспортирования ленты, выполненные в виде охлаждаемых цилиндров и установленные над испарителем с возможностью их огибания лентой по ломаной линии с образованием парных отрезков ленты между направляющими роликами, причем парные отрезки ленты между направляющими роликами расположены симметрично относительно вертикали, проведенной из центра испарителя, отличающееся тем, что между нижними и средними направляющими роликами размещены дополнительные направляющие ролики, образующие парные отрезки ленты, расположенные под острым углом друг к другу, при этом все направляющие ролики установлены с возможностью прохождения между ними отрезков ленты с образованием угла между прямой, соединяющей центр испарителя с любой точкой этих отрезков, и нормалью к этой точке отрезка, равного 68÷78°, причем угол, образованный с отрезком ленты между дополнительными и средними направляющими роликами, является обратным по направлению.
2. Устройство по п.1, отличающееся тем, что дополнительные направляющие ролики выполнены с возможностью создания регулируемого усилия натяжения на отрезках ленты.
3. Устройство по п.1 или 2, отличающееся тем, что нижние, средние и дополнительные направляющие ролики расположены таким образом, что отрезки ленты между нижними и дополнительными направляющими роликами и между дополнительными и средними направляющими роликами расположены под углом 10° друг к другу.
4. Устройство по любому из пп.1 и 2 отличающееся тем, что средние и верхние направляющие ролики расположены так, что парные отрезки ленты, расположенные между ними, образуют угол 28°.
РИСУНКИ
PC4A – Регистрация договора об уступке патента СССР или патента Российской Федерации на изобретение
Прежний патентообладатель:
Мисожников Лев Викторович
(73) Патентообладатель:
Закрытое акционерное общество “Опытно-конструкторское бюро “ТИТАН”
Договор № РД0039080 зарегистрирован 04.08.2008
Извещение опубликовано: 20.09.2008 БИ: 26/2008
|
|