|
|
(21), (22) Заявка: 2006114289/15, 26.04.2006
(24) Дата начала отсчета срока действия патента:
26.04.2006
(46) Опубликовано: 20.11.2007
(56) Список документов, цитированных в отчете о поиске:
SU 784386 А1, 30.07.1985. SU 972205 А1, 07.11.1982. RU 2223349 С1, 10.02.2004. RU 2260562 С1, 20.09.2005. ЕР 0759887 А1, 05.03.1997. GB 152401 А, 11.10.1920. US 4563339 А, 07.01.1986.
Адрес для переписки:
618421, Пермская обл., г. Березники, ул. Загородная, 29, “АВИСМА” филиал, И.А.Сизикову
|
(72) Автор(ы):
Тетерин Валерий Владимирович (RU), Михайлов Эдуард Федорович (RU), Бездоля Илья Николаевич (RU), Шундиков Николай Александрович (RU), Потеха Сергей Иванович (RU)
(73) Патентообладатель(и):
Открытое акционерное общество “Корпорация ВСМПО-АВИСМА” (RU)
|
(54) СПОСОБ ОБЕЗВОЖИВАНИЯ ХЛОРМАГНИЕВОГО СЫРЬЯ И УСТРОЙСТВО ДЛЯ ЕГО ОСУЩЕСТВЛЕНИЯ
(57) Реферат:
Изобретение относится к цветной металлургии, в частности к подготовке хлормагниевого сырья, к процессу электролитического получения магния из расплавленных солей. Способ обезвоживания хлормагниевого сырья включает подачу хлормагниевого сырья в многокамерную печь кипящего слоя, сжигание природного газа, воздуха и хлора в топке с получением топочных газов и подачу их в печь кипящего слоя, подачу воздуха в кессон газораспределительной решетки, возврат нагретого воздуха в смесительную камеру печи на смешивание с топочными газами, выгрузку готового продукта и улавливание отходящих газов в циклонах. Воздух на охлаждение кессона подают в каждую секцию кессона газораспределительной решетки, а нагретый воздух из кессона собирают в общем коллекторе и подают на смешивание с топочными газами в смесительную камеру печи последней камеры печи кипящего слоя при соотношении объемов топочных газов и нагретого воздуха не более 3:1. Устройство для обезвоживания хлормагниевого сырья включает корпус печи кипящего слоя, разделенный перегородками на камеры, патрубок для подачи хлормагниевого сырья, топки для сжигания природного газа, воздуха и хлора, газораспределительную решетку с отверстиями и кессоном, к которому подсоединен распределитель для подачи холодного воздуха, смесительную камеру печи, патрубок для вывода готового продукта и циклоны. Кессон разделен перегородками на секции, к каждой из которых подсоединен распределитель холодного воздуха, и размещены трубки для отвода нагретого воздуха, соединенные с коллектором, установленным под кессоном. Количество секций в кессоне под каждой камерой равно не менее трех. Распределитель выполнен в виде вилки и попарно соединен с секциями кессона. Изобретение позволяет улучшить качество получаемого карналлита и повысить производительность печи. 2 н. и 2 з.п. ф-лы, 1 ил.
Изобретение относится к цветной металлургии, в частности к подготовке хлормагниевого сырья к процессу электролитического получения магния из расплавленных солей.
Известно устройство для аппаратов кипящего слоя – газораспределительная решетка (а.с. СССР №940829, опубл. 07.07.1982, бюл. 25), установленная внутри аппарата кипящего слоя и выполненная в виде полого короба с патрубками для подвода и отвода охлаждающего воздуха и газоподводящими колпачками с боковыми отверстиями.
Недостатком данного устройства является нерациональное использование нагретого воздуха, который непосредственно направляют в атмосферу цеха.
Известны способ и устройство для обезвоживания хлормагиевых солей (патент РФ №2260562, опубл. 20.09.2005, бюл. 26). Способ обезвоживания хлормагниевых солей включает подачу сырья в печь кипящего слоя и последовательное обезвоживание его путем перехода из камеры в камеру топочными газами, которые получают при сжигании смеси природного газа, воздуха и хлора в выносной топке печи, охлаждение газораспределительной решетки путем подачи воздуха в кессон. Способ охлаждения газораспределительной решетки предусматривает подачу воздуха с одной стороны решетки и выход его с другой стороны. Устройство для обезвоживания хлормагниевого сырья представляет собой печь кипящего слоя, состоящую из корпуса, патрубков для ввода и вывода продуктов, перегородок, образующих камеры, газораспределительную решетку с отверстиями и кессоном, топок для сжигания смеси природного газа, воздуха и хлора, циклонов для улавливания пыли.
Недостатком данного способа и устройства для его осуществления является нерациональное использование нагретого воздуха, который непосредственно направляют в атмосферу цеха.
Известны способ и устройство для обезвоживания хлормагниевого сырья (а.с. СССР 784386, опубл. 30.07.1985 г., бюл. 28), по количеству общих признаков принятые за ближайшие аналоги-прототипы. Способ включает подачу сырья в печь кипящего слоя и его последовательное обезвоживание топочными газами, получаемыми при сжигании смеси природного газа, воздуха и хлора в выносной топке печи, подаваемых через отверстия газораспределительной решетки в кипящий слой. Газораспределительная решетка охлаждается путем подачи воздуха в кессон до разности температур греющих газов и поверхности, соприкасающейся со слоем, в пределах 170-500°С, при поддержании разности температур этой поверхности и слоя не выше 100°С. На охлаждение газораспределительной решетки подают 35-100% всего воздуха, расходуемого на приготовление греющих газов. Нагретый в кессоне воздух подают в смесительную камеру топки для разбавления топочных газов.
Устройство для осуществления способа включает печь кипящего слоя с газораспределительной решеткой, в которой выполнены отверстия и кессон, смесительную камеру печи и выносную топку для сжигания смеси природного газа, воздуха и хлора. Кессон охлаждают воздухом, подаваемым через распределитель воздуха, например воздуходувки.
Недостатком данного способа и устройства для обезвоживания хлормагниевого сырья является низкая производительность обезвоживания за счет недостаточного охлаждения подины, что ведет к увеличению спекания материала, кроме того, смешивание нагретого воздуха с топочными газами в смесительной камере печи приводит к повышению содержания воды в готовом продукте, что приводит к снижению качества готового продукта.
Технический результат направлен на устранение недостатков прототипа и позволяет предотвратить спекание материала на газораспределительной решетке печи кипящего слоя при повышении температуры греющих газов, а также за счет того, что при смешивании нагретого воздуха (с содержанием влаги 0,7% общ.) с топочными газами (содержание влаги 3,1%) происходит подсушка топочных газов и снижается количество воды, поступающей с газами на обезвоживание. Учитывая, что в последней камере печи кипящего слоя получают готовый обезвоженный продукт, содержание воды в топочных газах имеет большее значение, так как это позволяет улучшить качество готового продукта за счет снижения содержания воды – обезвоженного карналлита – и повысить производительность печи.
Технический результат достигается тем, что предложен способ обезвоживания хлормагниевого сырья, включающий подачу хлормагниевого сырья в многокамерную печь кипящего слоя, сжигание природного газа, воздуха и хлора в топке с получением топочных газов и подачу их в печь кипящего слоя, подачу воздуха в кессон газораспределительной решетки, возврат нагретого воздуха в смесительную камеру печи на смешивание с топочными газами, выгрузку готового продукта и улавливание отходящих газов в циклонах, новым является то, что воздух на охлаждение кессона подают в каждую секцию кессона газораспределительной решетки, а нагретый воздух из кессона собирают в общем коллекторе и подают на смешивание с топочными газами в смесительную камеру печи последней камеры печи кипящего слоя при соотношении объемов топочных газов и нагретого воздуха не более 3:1.
Для осуществления способа предложено устройство для обезвоживания хлормагниевого сырья, включающее корпус печи кипящего слоя, разделенный перегородками на камеры, патрубок для подачи хлормагниевого сырья, топки для сжигания природного газа, воздуха и хлора, газораспределительную решетку с отверстиями и кессоном, к которому подсоединен распределитель для подачи холодного воздуха, смесительную камеру печи, патрубок для вывода готового продукта и циклоны, новым является то, что кессон разделен перегородками на секции, к каждой из которых подсоединен распределитель холодного воздуха, и размещены трубки для отвода нагретого воздуха, соединенные с коллектором, установленным под кессоном. Кроме того, количество секций в кессоне под каждой камерой равно не менее трех.
Кроме того, распределитель выполнен в виде вилки и попарно соединен с секциями кессона.
Разделение кессона газораспределительной решетки на секции позволяет повысить производительность печи за счет интенсификации процесса.
Сбор нагретого воздуха в коллекторе позволяет исключить попадание влажного воздуха в камеры печи и тем самым улучшить качество обезвоженного сырья. При этом содержание воды в топочных газах снижается с 2,8 до 1,55%, а содержание гидрооксихлорида магния снижается с 1,7 до 0,6%.
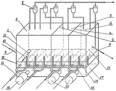
На чертеже показано устройство для обезвоживания хлормагниевых солей, состоящее из печи кипящего слоя 1, в которой выполнены перегородки 2 и 3, разделяющие печь на три камеры 4, 5, 6, загрузочное устройство 7, циклоны 8, выгрузочное устройство 9, газораспределительная решетка 10 с отверстиями 11 и кессоном 12, в котором выполнены секции 13, по три в каждой камере, к секциям подведены распределители воздуха 14, а внутри секций установлены трубки 15 для отвода горячего воздуха, соединенные с коллектором 16. Под газораспределительной решеткой выполнены смесительные камеры 17, соединенные с топками 18
Пример осуществления способа.
Шестиводный кристаллогидрат хлормагниевого сырья – карналлита – состава, мас.%: MgCl2 не менее 31,8; Н2 не более 3, CaSO4 не более 0,05 (обогащенный карналлит по ТУ 1714-0622-00209527-94), загружают в печь кипящего слоя 1, разделенную перегородками 2, 3 на камеры 4, 5, 6, через патрубок 7 с помощью забрасывателя на газораспределительную решетку 10 первой 4 камеры трехкамерной печи 1 кипящего слоя. Сырье поддерживают во взвешенном состоянии путем подачи через отверстия 11 топочных газов – смеси продуктов сгорания природного газа и вторичного воздуха. К смесительной камере 17 подсоединены топки 18, куда подают природный газ по ГОСТ 5542-87 в общем количестве 1030-2560 нм3/час. Общий объем топочных газов составляет 112000 нм3/час. По мере продвижения карналлита по камерам 4, 5, 6 печи происходит его постепенное обезвоживание за счет тепла топочных газов. Процесс обезвоживания идет в три стадии: в первой 4 камере происходит удаление гигроскопичной влаги и нагревание материала при температуре 120-150°С, во второй 5 камере при температуре 130-240°С шестиводный карналлит обезвоживается до двухводного, а в третьей 6 камере при температуре 190-350°С двухводный карналлит обезвоживается до содержания воды 2-5% и выгружается через патрубок 9. Для предотвращения спекания материала в кипящем слое при повышении температуры греющих газов газораспределительную решетку 10 охлаждают с помощью кессона 12 хладагентом, например воздухом. Кессон 12 разделен на секции 13 по три в каждой камере. В каждую секцию 13 подают распределителями 14 холодный воздух, который нагревается в секции и отводится с помощью трубок 15 в коллектор 16. В секции 13 кессона камеры 4 подают 6000 нм3/час, в секции кессона камеры 5 подают 3000 нм3/час и в секции кессона камеры 6 подают 3000 нм3/час холодного воздуха. Температуру поверхности газораспределительной решетки в 4 и 5 камерах поддерживают не более 200°С, в третьей камере 6 – не более 300°С. Топочные газы при температуре 350-650°С поступают в слой материала через отверстия 11. Из общего коллектора 16 воздух в количестве 20000 нм3/час направляют в смесительную камеру печи 17 последней камеры 6 печи кипящего слоя и смешивают с топочными газами в количестве 12-13000 нм3/час, что соответствует соотношению 1:1. При этом содержание воды в топочных газах снижается с 2,8 до 1,55%, а содержание гидрооксихлорида магния снижается с 1,7 до 0,6%. Отходящие из печи газы подвергают обеспыливанию в циклонах 8. Уловленную пыль возвращают в печь.
Это позволяет улучшить качество обезвоженного карналлита и повысить производительность печи.
Формула изобретения
1. Способ обезвоживания хлормагниевого сырья, включающий подачу хлормагниевого сырья в многокамерную печь кипящего слоя, сжигание природного газа, воздуха и хлора в топке с получением топочных газов и подачу их в печь кипящего слоя, подачу воздуха в кессон газораспределительной решетки, возврат нагретого воздуха в смесительную камеру печи на смешивание с топочными газами, выгрузку готового продукта и улавливание отходящих газов в циклонах, отличающийся тем, что воздух на охлаждение кессона подают в каждую секцию кессона газораспределительной решетки, а нагретый воздух отводят из каждой секции кессона, собирают в общем коллекторе, подают на смешивание с топочными газами в смесительной камере последней камеры печи кипящего слоя при соотношении объемов топочных газов и нагретого воздуха не более 3:1.
2. Устройство для обезвоживания хлормагниевого сырья, включающее корпус печи кипящего слоя, разделенный перегородками на камеры, патрубок для подачи хлормагниевого сырья, топки для сжигания природного газа, воздуха и хлора, газораспределительную решетку с отверстиями и кессоном, к которому подсоединен распределитель для подачи холодного воздуха, смесительную камеру печи, патрубок для вывода готового продукта и циклоны, отличающееся тем, что кессон разделен перегородками на секции, к каждой из которых подсоединен распределитель холодного воздуха, в каждой секции размещены трубки для отвода нагретого воздуха, соединенные с коллектором, установленным под кессоном.
3. Устройство по п.2, отличающееся тем, что количество секций в кессоне под каждой камерой равно не менее трех.
4. Устройство по п.2, отличающееся тем, что распределитель выполнен в виде вилки и попарно соединен с секциями кессона.
РИСУНКИ
|
|