|
|
(21), (22) Заявка: 2005131243/11, 11.10.2005
(24) Дата начала отсчета срока действия патента:
11.10.2005
(43) Дата публикации заявки: 20.04.2007
(46) Опубликовано: 20.11.2007
(56) Список документов, цитированных в отчете о поиске:
ЗАЛЕТАЕВ В.М., КАПИНОС Ю.В., СУРГУЧЕВ О.В. Расчет теплообмена космического аппарата. – М.: Машиностроение, 1979, с.21. RU 2092398 С1, 10.10.1997. RU 2168690 С2, 10.06.2001. GB 2190964 А, 02.12.1987. FR 2648517 A1, 09.06.1992.
Адрес для переписки:
141070, Московская обл., г. Королев, ул. Ленина, 4а, ОАО “РКК “Энергия” им. С.П. Королева”, отдел интеллектуальной собственности
|
(72) Автор(ы):
Попов Олег Анатольевич (RU)
(73) Патентообладатель(и):
Открытое акционерное общество “Ракетно-космическая корпорация “Энергия” имени С.П. Королева” (RU)
|
(54) СПОСОБ ТЕРМОРЕГУЛИРОВАНИЯ РАДИАЦИОННЫХ ПАНЕЛЕЙ КОСМИЧЕСКОГО АППАРАТА
(57) Реферат:
Изобретение относится к космической технике и может применяться для поддержания заданного температурного режима как всего КА, так и его отдельных элементов. Предлагаемый способ включает измерение температур в зонах панелей датчиками температуры и поддержание температур в пределах допустимого их диапазона. При этом изменяют температуры на интервалах времени, определяемых ориентацией космического аппарата относительно Солнца и планет. После каждого из изменений температур в данной зоне измеряют температуры в прилегающих к ней зонах, фиксируя разность измененных и измеренных температур. Определяют температурные зависимости между зонами с учетом количества тепла, подводимого от установленных рядом с зонами смежных элементов. Дальнейшее терморегулирование в зонах производят с учетом определенных зависимостей. При этом в случае выхода текущих температур в зонах за пределы допустимого диапазона их увеличивают или уменьшают за счет регулирования количеств тепла, подводимого к зонам от смежных элементов. В случае отказа элементов системы обеспечения теплового режима терморегулирование в зоне производят путем подвода к ней тепла от соседних зон с работоспособными элементами. При этом обеспечивают выполнение условий, при которых были ранее определены температурные зависимости в зонах панелей. Техническим результатом изобретения является повышение надежности системы обеспечения теплового режима путем экспериментального определения зависимостей температур между зонами панелей и обеспечения терморегулирования в зонах с отказавшими элементами системы путем использования тепла, подводимого от смежных элементов. 5 ил.
Изобретение относится к космической технике и предназначено для применения на космических аппаратах (КА) в условиях космического пространства, где необходимо поддерживать заданный температурный режим как всего КА, так и его отдельных элементов.
Известны способы пассивного терморегулирования радиационных поверхностей (см. [1], стр.6), которые осуществляются за счет использования материалов с определенными тепловыми характеристиками (радиационными и теплоизоляционными), за счет выбора соответствующей геометрической формы аппарата и его ориентации относительно Солнца и за счет использования теплоты фазовых переходов.
Основными элементами систем терморегулирования (СТР), построенных с использованием указанных способов, являются терморегулирующие покрытия и высокоэффективная экранно-вакуумная тепловая изоляция. Пассивное терморегулирование с использованием поверхностей с определенными радиационными характеристиками и высокоэффективной тепловой изоляцией позволяет снизить внешние тепловые потоки внутрь КА (или тепловые потери в космос) и уменьшить тепловую нагрузку на функционирующие системы. Главными критериями при выборе наружных терморегулирующих покрытий для практического использования их на КА являются коэффициент поглощения солнечного излучения AS и степень черноты Е, а также стабильность этих характеристик после длительного пребывания в условиях космического пространства под воздействием ультрафиолетового излучения Солнца и компонентов космической радиации.
К недостаткам пассивных систем терморегулирования относятся: низкая точность поддержания температуры, отсутствие возможностей выработки, подвода, отвода и равномерного распределения тепла.
Активные способы терморегулирования (см. [1], стр.8) как внутренних отсеков КА, так и их поверхностей могут поддерживать необходимый тепловой режим при изменении внешних и внутренних тепловых нагрузок в широком диапазоне. Причем точность поддержания температуры значительно выше, чем у систем, реализующих пассивные способы терморегулирования. Поэтому активные способы терморегулирования используются для обеспечения теплового режима жилых отсеков пилотируемых КА, а также для термостатирования приборных отсеков со сложной и точной электронной аппаратурой. При использовании активных способов терморегулирования применяются системы с циркуляцией хладагента, с изменением теплового сопротивления (между внутренним объемом отсеков и их оболочкой), нагреватели и термостаты, биметаллические приводы для управления жалюзи, термостатические и другие устройства.
В СТР с принудительной циркуляцией жидкости (или газа) в замкнутых контурах тепло от охлаждаемых источников передается к жидкости, которая затем охлаждается на радиационных поверхностях, сбрасывающих тепло излучениям в космическое пространство. Для чего часто в качестве радиационных поверхностей используются радиаторы-конденсаторы. Причем указанные радиаторы-конденсаторы могут быть выполнены как жидкостными, так и на основе тепловых труб (ТТ). Системы с ТТ более эффективны в тепловом отношении, более надежны и имеют меньший вес по сравнению с аналогичными системами без тепловых труб, поскольку сами ТТ, по сравнению с обычно применяемыми элементами СТР (теплообменниками, насосами и т.д.), имеют ряд существенных преимуществ: не требуются затраты энергии на прокачку теплоносителя; трубы более надежны и бесшумны в связи с отсутствием движущейся части; не требуются дополнительные регулирующие приборы, так как могут применяться саморегулирующие трубы; радиаторная панель с использованием тепловых труб более надежна (меньше уязвимость радиатора при попадании метеора); способны обеспечить высокую теплопроводность между источниками тепла и стоками, что дает возможность использовать меньше поверхности и, следовательно, снизить вес.
Обычная ТТ переменной теплопроводности способна поддерживать собственную температуру на постоянном уровне несмотря на то, что подводимая тепловая мощность и окружающие условия изменяются. Если тепловое сопротивление между ТТ и тепловым источником мало, то температура источника будет также примерно постоянной.
На практике это сопротивление нередко оказывается достаточно большим, вследствие чего температура источника будет изменяться в более широком диапазоне, чем температура ТТ.
Эти колебания температуры источника могут быть значительно уменьшены при регулировании по обратной связи. Наиболее часто применяемый способ регулирования по обратной связи – электрический. Системы регулирования с электрической обратной связью включают термистор, электронный блок управления и электронагреватель.
К недостаткам активных систем терморегулирования можно отнести низкую отказоустойчивость, обусловленную большим количеством элементов. При деградации хладагента, тепловых труб и других элементов системы, а также выходе их из строя невозможно равномерно распределять тепло.
Известен также способ терморегулирования радиационных панелей (РП), осуществляемый системой обеспечения теплового режима (СОТР) ([2], с.18), содержащей активные и пассивные системы. Активная система терморегулирования в составе СОТР играет роль регулятора тепловых взаимодействий, активно перераспределяет тепло, пассивная система уменьшает нагрузку на активную систему терморегулирования, повышает стабильность температур в условиях переменных внешних воздействий за счет применения ЭВТИ, термоизоляторов и терморегулирующих покрытий. Способ терморегулирования с помощью систем СОТР позволяет увеличить количество вариантов организации терморегулирования РП КА.
В качестве прототипа изобретения предлагается избрать способ терморегулирования различных радиационных поверхностей, реализуемый с помощью системы СОТР (см. [2], стр.21), имеющей в своем составе активную систему терморегулирования, состоящую из элементов – тепловых труб, электронагревателей, теплопередающих элементов, датчиков температур, позволяющую изменять и измерять температуру в зонах РП КА, отводить или подводить тепло, а также пассивную систему терморегулирования, сглаживающую возмущения от переменных внешних тепловых воздействий, обусловленных ориентацией КА относительно Солнца и планет.
Способ-прототип основан на измерении температур Тij в i-х зонах радиационных панелей, по показаниям j-х датчиков температур системы обеспечения теплового режима, где i=1,2… к – номер зоны радиационной панели, j=1,2…1 – номер датчика температур, на поддержании температур в пределах допустимого диапазона температур (Tminij; Tmaxij), путем изменения посредством терморегуляторов системы обеспечения теплового режима текущих температур в зонах радиационных панелей. К терморегуляторам относятся тепловые трубы, электронагреватели, теплопередающие и другие элементы, вырабатывающие, передающие и перераспределяющие тепло.
Недостаток способа-прототипа заключается в том, что при терморегулировании не учитываются температурные зависимости между зонами КА, установившиеся в процессе выполнения программы полета, что повышает вероятность выхода температур за пределы допустимого диапазона температур, а в случае отказа одного или нескольких датчиков температур понижает возможности оценки температур и терморегулирования в зоне неработоспособных датчиков. К недостаткам также можно отнести невозможность соблюдения допустимого диапазона температур с помощью активной системы терморегулирования при деградации средств пассивной системы терморегулирования (ЭВТИ), а также при отказе элементов СОТР.
Задачей, решаемой предлагаемым изобретением, является повышение надежности терморегулирования радиационных панелей КА за счет обеспечения терморегулирования в зонах с отказавшими элементами СОТР, а также за счет терморегулирования с помощью тепла, подводимого от смежных элементов.
Технический результат достигается тем, что в способе терморегулирования радиационных поверхностей КА, включающем измерение температур Тij в i-х зонах радиационных панелей j-ми датчиками температур системы обеспечения теплового режима, где i=1, 2…к – номер зоны радиационной панели, j=1, 2…1 – номер датчика температур, поддержание температур в пределах допустимого диапазона температур (Тminij; Тmaxij) путем изменения посредством терморегуляторов системы обеспечения теплового режима текущих температур в зонах радиационных панелей, в отличие от известного, производят n изменений температур в зонах радиационных панелей, на интервалах времени, определяемых ориентацией космического аппарата относительно Солнца и планет, где n=1, 2… – количество изменений температур Тij, на величину tn, зависящую от допустимого диапазона температур и количества датчиков в зоне радиационной панели, после каждого из изменений температур в i-й зоне, производят измерения температур в прилегающих к ней зонах, фиксируют разность измененных и измеренных температур, определяют температурные зависимости между зонами с учетом количества тепла, подводимого от установленных рядом с зонами смежных элементов, далее производят терморегулирование в зонах на определенных интервалах времени с учетом определенных зависимостей температур в зонах, в случае превышения текущими температурами верхнего предела допустимого диапазона температур Тmaxij для понижения температур в зонах уменьшают на определенных интервалах времени с учетом определенных температурных зависимостей в зонах количество тепла, подводимого от смежных элементов, в случае превышения текущими температурами нижнего предела допустимого диапазона температур Тminij для повышения температур в зонах увеличивают на определенных интервалах времени с учетом определенных температурных зависимостей в зонах количество тепла, подводимого от смежных элементов, при этом изменение количества тепла производят с учетом требований к режимам работы смежных элементов, а в случае отказа одного из элементов системы обеспечения теплового режима как датчика(ов) температур, так и терморегулятора(ов) для обеспечения требуемого температурного режима в зоне отказавшего(их) элемента(ов) производят терморегулирование путем изменения температур в зонах с работоспособными элементами, прилегающих к зонам с отказавшими элементами, для чего определяют количество и состав элементов, необходимых для терморегулирования, изменения температур производят на определенных интервалах времени с учетом определенных температурных зависимостей в зонах, при этом изменяют количества тепла, подводимого от смежных элементов для обеспечения выполнения условий, при которых были определены указанные температурные зависимости в зонах радиационных панелей.
Для объяснения сущности предлагаемого изобретения представлены фиг.1-3.
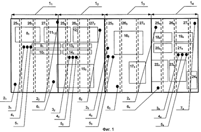
На фиг.1 условно изображена схема одной из радиационных панелей КА.
На фиг.2 представлены температуры, измеренные по показаниям датчиков температур одной из тепловых зон РП.
На фиг.3 изображен график изменения температуры радиационных панелей, обусловленный ориентацией КА относительно Солнца и планет, а именно количеством солнечного теплового потока, теплового потока, отраженного от планет, и собственного излучения планет, падающих на РП.
На фиг.4 представлена схема РП КА с отказавшими датчиками температур и условным тепловым полем в зоне отказавших датчиков температур.
На фиг.5 представлена функциональная блок-схема элементов, позволяющих реализовать предлагаемый способ терморегулирования.
На фиг.1 представлены зоны 11, 12, 13, 14 радиационной панели.
Датчики температур (ДТ) 21, 31, 41, 51, 61 – первый, второй, третий, четвертый, пятый и шестой датчики, установленные в 1-й зоне; 22, 32, 42, 52, 62 – второй, третий, четвертый и пятый датчики, установленные во 2-й зоне, и т.д.: 33, 43, 53, 63; 24, 34, 44, 54, 64, 74.
Аналогичным образом пронумерованы приборы и бортовая аппаратура 81, 91, 101 в первой зоне, 111,2 – бортовая аппаратура, расположенная в первой и во второй зоне, и т.д.: 122, 132, 142, 152; 163, 173; 184, 194, 204, 214, 224, 234.
Контурными линиями обозначены тепловые трубы 24i, 25i, 26i.
С помощью датчиков температур производится измерение текущих температур Тij, сравнение их с допустимым диапазоном температур и в случае выхода текущих температур за пределы допустимого диапазона производится изменение текущих температур.
Изменение температур в зоне РП осуществляется путем формирования управляющих воздействий для электронагревателей (ЭН), установленных над тепловыми трубами 24i, 25i, 26i. По управляющим воздействиям задаются параметры управления ЭН, включающие номинальную температуру, которую необходимо установить в данной зоне. Номинальная температура поддерживается с помощью обратной связи, элементами которой являются датчики температур (ДТ) 3i, 4i, 5i. В случае расхождения текущих температур в зоне с номинальной температурой происходит изменение текущих температур до уровня номинальных с помощью работы ЭН. В зоне также находятся датчики температур 2i, 6i, 7i, не участвующие в обратной связи при управлении ЭН.
В предлагаемом способе терморегулирования РП КА производят изменения температур Tij, т.е. формируют управляющие воздействия для ЭН данной зоны, учитывающие номинальную температуру, отличную от Тij на величину tn. Следствием изменения температуры является установление тестовой температуры , где n – количество изменений тестовой температуры, или количество изменений номинальной температуры, формируемой в управляющих воздействиях, для зоны , в которой устанавливается тестовая температура.
Величина tn зависит от нескольких факторов, одним из факторов является допустимый диапазон температур. Чем больше допустимый диапазон температур для данной зоны РП КА, тем большее количество изменений температур требуется провести, уменьшая величину tn, для обеспечения точности определяемых температурных зависимостей в зонах РП КА.
Величина tn зависит также от количества датчиков температур, установленных в зоне. На фиг.2 показаны значения температуры, полученные с датчиков температур 21, 31, 41, 51 61, установленных в зоне 1 РП КА, изображенной на фиг.1. Датчики температур 21 и 61 не участвуют в алгоритме управлении температурами в зоне, не являются элементами обратной связи, а являются информационными датчиками температур, температуры по показаниям подобных датчиков принимаются во внимание при формировании управляющих воздействий. Разница между долей участия датчиков температур в управлении ЭН обуславливает как разницу температур в зонах этих датчиков, так и необходимость уменьшения tn и, как следствие, увеличения количества изменений температур при увеличении количества датчиков температур в зоне для определения температурных зависимостей в самой зоне РП КА.
Изменения температур в зонах производятся на интервалах полетного времени, определяемых ориентацией КА относительно Солнца и планет.
На фиг.3 представлен график изменений средней температуры в зоне РП КА, зависящих от количества теплового потока от Солнца, падающего на данную зону РП КА, в разные времена полетного времени. Зависимость изменений температур в разные времена полетного времени обусловлена тем, что в разное время РП КА имеют различную, циклически повторяющуюся, ориентацию относительно Солнца и планет. Таким образом, необходимо определить периоды циклических изменений температур Тц, в соответствии определенным периодом Тц можно определить интервалы полетного tи времени, на которых будут производиться изменения температур, позволяющие определить температурные зависимости в зонах РП КА на различных этапах времени выполнения программы полета КА.
На фиг.3 изображены примерные интервалы времени для проведения установления тестовых температур, исходя из определенных периодов изменения температур Tij, зависящих от ориентации данной РП относительно Солнца. Таким образом, количество изменений температур зависит от определенных выше интервалов полетного времени, при этом также учитываются и количество датчиков температур в зоне РП КА. Также учитывается, что количество теплового потока от Солнца зависит от геометрических параметров РП КА (см. [2], с.36).
Изменения температур производятся в пределах допустимого диапазона температур (Тminij; Тmaxij), т.е. с выполнением условия

После каждого изменения температур производится m измерений температур в зонах прилегающих к зоне, в которой устанавливается тестовая температура а также в самой зоне При измерениях определяются температурные зависимости зон РП КА путем фикации разностей температур и также определяется

Одним из вариантов определения температурных зависимостей является оценка градиента изменения температур в зонах РП КА по зафиксированным разностям температур 

где – время.
При определении температурных зависимостей зон РП также фиксируется количество тепла, подводимое от смежных элементов.
В ходе выполнения программы полета происходят изменения характеристик системы обеспечения теплового режима (СОТР), а именно: изменение оптических свойств поверхностей, термического сопротивления ЭВТИ, изменение характеристик теплообменных устройств [2]. Изменения обусловлены деградацией СОТР с течением времени, выявляют необходимость новой оценки температурных зависимостей, а также объясняют невозможность удержания температур в пределах допустимого диапазона температур с помощью элементов СОТР (электронагревателей и тепловых труб) [3, 4].
Определенный вклад в теплоемкость РП КА вносит тепло, подводимое от смежных элементов, установленных рядом с зонами РП КА. Это следует из уравнения теплового баланса [5]:

где
mi, Сi, Тi – масса единицы поверхности элемента КА, его теплоемкость и температура соответственно;
Фсолнi, Фотрi, Фсобi – солнечный тепловой поток, тепловой поток, отраженный от планеты, и собственное излучение планеты, падающие на эту поверхность;
Фвнi – тепло, подведенное от смежных элементов;
– время;
– постоянная Стефана-Больцмана;
АSi – коэффициент поглощения солнечной радиации.
К смежным элементам относится аппаратура, установленная на борту, а также аккумуляторные батареи.
Установлено, что только 5-10% потребляемой аппаратурой мощности превращается в мощность полезных сигналов, остальная энергия переходит внутри прибора в тепло. В пилотируемых КА к этой тепловой нагрузке добавляется и тепловыделение экипажа ([2], с.13).
Исходя из уравнения (4), а также с учетом изменения характеристик СОТР в предлагаемом способе терморегулирования РП КА производятся изменения количества тепла, подводимого от смежных элементов, установленных в зонах РП КА, в которых производится изменение и измерение температур.
В случае превышения текущими температурами верхнего предела допустимого диапазона температур Тmaxij производится выключение аппаратуры на определенных интервалах времени с учетом требований к режимам работы смежных элементов, т.е. в соответствии с теплоемкостью аппаратуры и необходимостью работы ее для выполнения программы полета. Таким образом, достигается уменьшение количества тепла, подводимого от смежных элементов, и понижение температур в зонах.
В случае превышения текущими температурами нижнего предела допустимого диапазона температур Тmaxij производится включение аппаратуры на определенных интервалах времени в соответствии с ее теплоемкостью и необходимостью работы аппаратуры для выполнения программы полета, с учетом определенных температурных зависимостей в зонах. Таким образом достигается увеличение количества тепла, подводимого от смежных элементов, и повышение температур в зонах.
Одним из вариантов изменения количества тепла, подводимого от смежных элементов, является режим хранения аккумуляторных батарей (АБ) КА, при котором тепловыделение АБ минимально. Вследствие применения режима хранения температура в зонах, к которым прилегает АБ, понижается. А после отмены режима хранения тепловыделение АБ повышается, при этом повышаются температуры в зонах, к которым прилегает АБ.
На фиг.1 изображена аппаратура 111,2, расположенная рядом с двумя зонами 11 и 12 и рядом с двумя тепловыми трубами. Такое расположение расширяет возможности терморегулирования с помощью тепла, подводимого от аппаратуры 111,2. Таким образом с помощью тепловыделения аппаратуры 111,2 можно влиять на температуру в зонах 11 и 12 через межзонную конвекцию тепла и на температуру в соседних радиационных панелях через перенос тепла по тепловым трубам, расположенным рядом с указанной аппаратурой.
В случае отказа одного или нескольких элементов СОТР, например, датчиков температур (ДТ) для обеспечения требуемого температурного режима в зоне отказавших датчиков, производят терморегулирование путем изменения температур в зонах с работоспособными датчиками.
Терморегулирование производится путем подбора соответствий между текущими температурами и температурами, при которых были установлены зависимости температур между зонами. Изменения температур производят в соответствии с зафиксированными разностями температур в зонах, т.е. подбирают разность изменения температуры в зоне с работоспособными датчиками в соответствии с зафиксированными ранее разностями температур из условия (2), зная, насколько изменится температура в зоне с отказавшими датчиками. При этом изменяют количества тепла, подводимого от смежных элементов, для обеспечения выполнения условий, при которых были определены указанные температурные зависимости в зонах радиационных панелей
Также возможно изменение температур в зоне с отказавшими ДТ с учетом определенного градиента роста температур в соседних зонах с работоспособными датчиками по условию (3).
Одним из вариантов обеспечения требуемого температурного режима в зоне с отказавшими ДТ является установление условного теплового поля вокруг отказавших датчиков температур с помощью определенного количества и состава работоспособных ДТ.
Требуемая температура в пределах допустимого диапазона температур определяется как соотношение суммы температур с q-го количества датчиков температур и количества датчиков температур, используемых для определения температуры:

где q – количество датчиков температур, включающее и отказавшие датчики температур, зависящее от определенных ранее зависимостей температур и температур, полученных с работоспособных датчиков температур.
Из условия (5), зная требуемую температуру в зонах отказавших датчиков и определив состав датчиков, исходя из установленных зависимостей температур между зонами, определим количество датчиков, необходимых для установления теплового поля.

Учитывая определенные зависимости температур между зонами, изменяют количества тепла, подводимого от смежных элементов для обеспечения выполнения условий, при которых были определены указанные температурные зависимости в зонах.
На фиг.4 показан вариант установления теплового поля (ТП) с помощью определенного количества и состава ДТ при условии отказа датчика 22. Тепловое поле показано в виде области, заштрихованной линиями, и включает в себя работоспособные датчики температур 31, 41, 51, 32, 42, 52 и бортовую аппаратуру 81, 91, 101, 111,2, 122, 132, 142.
Все изменения температур производятся на определенных интервалах полетного времени с учетом определенных температурных зависимостей, в пределах допустимого диапазона температур с выполнением условия (1).
Реализацию предложенного способа можно осуществить, например, при помощи средств наземного контура управления (НКУ), бортового контура управления (БКУ) и системы обеспечения теплового режима (СОТР).
На фиг.5 представлена функциональная блок-схема элементов, обеспечивающих формирование, передачу, прием, преобразование и исполнение управляющих воздействий, необходимых для реализации данного способа, где:
28 – наземный комплекс управления, обеспечивающий формирование и передачу на борт управляющих воздействий (НКУ),
29 – бортовая аппаратура служебного канала управления (БАСКУ),
30 – бортовая цифровая вычислительная система (БЦВС),
31 – система бортовых измерений (СБИ),
32 – система управления бортовой аппаратурой (СУБА),
33 – бортовая аппаратура (БА),
34 – система обеспечения теплового режима (СОТР).
Полученные в СБИ 31 данные измерений текущих температур КА по показаниям датчиков температур СОТР 34 поступают в БЦВС 30, где преобразуются в массивы контрольно-измерительной информации и через средства БАСКУ 29 предаются в НКУ 28.
НКУ 28 обеспечивает прием контрольно-измерительной информации с борта космического аппарата и отображение ее в необходимой для анализа форме.
Полученная контрольно-измерительная информация служит основой для измерения текущих температур в зонах РП, определения ориентации КА относительно Солнца и планет, определения температурных зависимостей между зонами РП, определения количества тепла, подводимого от смежных элементов.
Используя средства НКУ 28, формируются управляющие воздействия, необходимые для изменения температур и для изменения количества тепла, подводимого от смежных элементов.
Сформированные на НКУ 28 управляющие воздействия для изменения температур через средства БАСКУ 29 поступают в БЦВС 30, где преобразуются в команды управления, соответствующие алгоритмам управления СОТР 34. Полученные команды управления из БЦВС 30 через СУБА 32 поступают в СОТР 34, включающую в себя электронагреватели (ЭН), тепловые трубы (ТТ) и т.д.
Сформированные на НКУ 28 управляющие воздействия для изменения количества тепла, подводимого от смежных элементов путем включений и отключений аппаратуры, через средства БАСКУ 29 поступают в БЦВС 30, где преобразуются в команды управления, соответствующие алгоритмам управления бортовой аппаратуры. Полученные команды управления из БЦВС 30 через СУБА 32 поступают в бортовую аппаратуру БА 33.
Оценка произведенных изменений температур, изменение количества тепла, подведенного от смежных элементов, измерения температур производятся на основе контрольно-измерительной информации на НКУ 28, полученной с СБИ 31 по цепи СБИ 31 – БЦВС 30 – БАСКУ 29 – НКУ 28.
Положительный эффект от предлагаемого способа терморегулирования прежде всего направлен на повышение надежности управления температурными режимами в зонах РП КА, в условиях деградации систем терморегулировании, отказа элементов систем терморегулирования (датчиков температур, электронагревателей, тепловых труб и т.д.).
Изменения и измерения температур в зонах РП на определенных интервалах времени позволяют определить экспериментальным путем температурные зависимости между зонами РП с учетом установившихся особенностей в ходе выполнения программы полета. Определить такие температурные зависимости между зонами РП, которые не могут быть определены расчетами при проектировании систем терморегулирования.
Изменения количества тепла, подводимого от смежных элементов, расширяет возможности терморегулирования, решает задачу обеспечения требуемого температурного режима в пределах допустимого диапазона температур, при невозможности решения указанной задачи элементами системы обеспечения теплового режима.
Использование предлагаемого способа позволяет также производить терморегулирование в пределах допустимого диапазона температур, в зонах с отказавшими датчиками температур и другими неработоспособными аппаратными средствами систем обеспечения теплового режима, используя определенные экспериментальным путем температурные зависимости между зонами РП вместе с изменениями количества тепла, подводимого от смежных элементов.
Литература
1. Системы терморегулирования космических аппаратов. Трепов Ю.Я., Логинов В.Д., Михеева А.А. Обзор ГОНТИ-4, 1973 г.
2. Расчет теплообмена космического аппарата. В.М.Залетаев, Ю.В.Капинос, О.В.Сургучев. Москва, Машиностроение, 1979 г.
3. Тепловые испытания космических аппаратов. Андрейчук О.Б., Малахов Н.Н. Москва, Машиностроение, 1982 г.
4. Космические аппараты. Под редакцией К.П.Феоктистова. Москва, Воениздат, 1983 г.
5. Система обеспечения теплового режима КА. 300ГК. 50Ю 0000 А202-0 ТО. РКК “Энергия” им.С.П.Королева, 2002 г.
Формула изобретения
Способ терморегулирования радиационных панелей космического аппарата, включающий измерение температур Тij в i-x зонах радиационных панелей j-ми датчиками температур системы обеспечения теплового режима, где i=1, 2… к – номер зоны радиационной панели, j=1, 2…1 – номер датчика температур, поддержание температур в пределах допустимого диапазона температур (Tminij; Tmaxij) путем изменения посредством терморегуляторов системы обеспечения теплового режима текущих температур в зонах радиационных панелей, отличающийся тем, что производят n изменений температур в зонах радиационных панелей на интервалах времени, определяемых ориентацией космического аппарата относительно Солнца и планет, где n=1, 2… – количество изменений температур Тij, на величину tn, зависящую от допустимого диапазона температур и количества датчиков в зоне радиационной панели, после каждого из изменений температур в i-й зоне, производят измерения температур в прилегающих к ней зонах, фиксируют разность измененных и измеренных температур, определяют температурные зависимости между зонами с учетом количества тепла, подводимого от установленных рядом с зонами смежных элементов, далее производят терморегулирование в зонах на определенных интервалах времени с учетом определенных зависимостей температур в зонах, причем в случае превышения текущими температурами в зонах их верхнего предела Tmaxij из допустимого диапазона температур эти температуры понижают путем уменьшения на определенных интервалах времени с учетом определенных температурных зависимостей, количества тепла, подводимого к зонам от смежных элементов, а в случае понижения текущих температур ниже их нижнего предела Tminij из допустимого диапазона температур эти температуры повышают путем увеличения на определенных интервалах времени с учетом определенных температурных зависимостей, количества тепла, подводимого к зонам от смежных элементов, при этом изменения количества подводимого к зонам тепла производят с учетом требований к режимам работы смежных элементов, причем в случае отказа одного из элементов системы обеспечения теплового режима, как одного или более датчиков температур, так и одного или более терморегуляторов, обеспечивающих требуемый температурный режим в зоне одного или более отказавших элементов, производят терморегулирование путем изменения температур в зонах с работоспособными элементами, прилегающих к зонам с отказавшими элементами, для чего определяют количество и состав элементов, необходимых для терморегулирования, а изменения температур в зонах производят на определенных интервалах времени с учетом определенных температурных зависимостей, при этом изменяют количества тепла, подводимого от смежных элементов к зонам, обеспечивая выполнение условий, при которых были ранее определены температурные зависимости в зонах радиационных панелей.
РИСУНКИ
|
|