|
(21), (22) Заявка: 2006106147/11, 27.02.2006
(24) Дата начала отсчета срока действия патента:
27.02.2006
(46) Опубликовано: 20.11.2007
(56) Список документов, цитированных в отчете о поиске:
SU 1667335 A3, 10.10.1992. RU 2116930 C1, 10.08.1998. GB 2177352 A, 21.01.1987. US 4185580 A, 29.01.1980.
Адрес для переписки:
690950, г.Владивосток, ГСП, ул. Суханова, 5а, ИПМТ ДВО РАН, отдел интеллектуальной собственности
|
(72) Автор(ы):
Рылов Николай Иванович (RU), Кожемяков Виктор Борисович (RU)
(73) Патентообладатель(и):
Институт проблем морских технологий Дальневосточного отделения Российской академии наук (ИПМТ ДВО РАН) (RU)
|
(54) ПОДВОДНЫЙ АППАРАТ
(57) Реферат:
Изобретение относится к подводным судам, преимущественно к подводным аппаратам, предназначенным для освоения и исследования морских глубин. Подводный аппарат содержит несущую конструкцию, по меньшей мере, два шпангоута, прочные корпуса, разъемные и неразъемные блоки плавучести и обтекатели. Несущая конструкция подводного аппарата выполнена в виде последовательно и жестко соединенных между собой с возможностью разъема и с возможностью различной ориентации относительно друг друга каркасов коробчатой формы. Шпангоуты установлены в носовой и кормовой частях подводного аппарата между каркасами коробчатой формы и жестко соединены с ними с возможностью разъема. Каждый шпангоут образован двумя силовыми кольцевыми дисками, жестко соединенными между собой посредством втулок. Прочные корпуса выполнены со съемными торцевыми крышками и установлены внутри каркасов коробчатой формы перпендикулярно продольной оси подводного аппарата. Разъемные блоки плавучести выполнены с отверстиями под прочные корпуса и установлены внутри каркасов коробчатой формы. Неразъемные блоки плавучести установлены снаружи каркасов коробчатой формы. Обтекатели установлены со стороны торцевых крышек прочных корпусов. Такое выполнение аппарата выявило надежность и удобство его эксплуатации, выразившиеся в повышении жесткости и надежности его конструкции, в повышении технологичности сборки и разборки аппарата. 12 ил.
Изобретение относится к подводным судам, преимущественно к подводным аппаратам.
Одной из многочисленных проблем, стоящих перед разработчиками подводных аппаратов, является проблема обеспечения надежности и удобства эксплуатации подводного аппарата, в частности обеспечение жесткости и надежности его конструкции, повышение технологичности сборки и разборки, обеспечение выполнения спуско-подъемных и погрузочно-разгрузочных операций, а также обеспечение удобства раскрепления подводного аппарата по-походному для его транспортировки.
Известен подводный аппарат «Скат-гео», содержащий несущую конструкцию в виде пространственной фермы с жесткостями, на которой закреплены два прочных корпуса и все забортные устройства, закрытые легкосъемными обтекателями (Автоматические подводные аппараты. / Агеев М.Д., Касаткин Б.А., Киселев Л.В. и др. – Л.: Судостроение, 1981, стр.193). Несмотря на присущие подводному аппарату «Скат-гео» технические и эксплуатационные достоинства, надежность и удобство его эксплуатации в достаточной степени не обеспечены.
Наиболее близким к заявляемому техническому решению по своему назначению и технической сущности является подводный аппарат, содержащий несущую конструкцию, прочные корпуса, разъемные и неразъемные блоки плавучести и обтекатели (Патент СССР №1667335, МПК 5 В63В 8/00). Несущая конструкция данного подводного аппарата выполнена в виде последовательно и жестко соединенных между собой в направлении продольной оси подводного аппарата с возможностью разъема и с возможностью различной ориентации относительно друг друга каркасов коробчатой формы. Прочные корпуса выполнены со съемными торцевыми крышками и установлены внутри каркасов коробчатой формы перпендикулярно продольной оси подводного аппарата. Разъемные блоки плавучести выполнены с отверстиями под прочные корпуса и установлены внутри каркасов коробчатой формы. Неразъемные блоки плавучести установлены снаружи каркасов коробчатой формы. Обтекатели установлены со стороны торцевых крышек прочных корпусов и совместно с неразъемными блоками плавучести формируют внешние обводы подводного аппарата.
Однако при всех присущих данному подводному аппарату технико-эксплуатационных достоинствах несущая конструкция его не обладает достаточной жесткостью и надежностью, сборка и разборка подводного аппарата связана со значительными неудобствами, выполнение спуско-подъемных и погрузочно-разгрузочных работ затруднено, раскрепление подводного аппарата по-походному для его транспортировки не обеспечено.
Заявляемый подводный аппарат не имеет указанных недостатков: несущая конструкция его обладает высокой жесткостью и надежностью, подводный аппарат надежен и удобен в эксплуатации, в частности в значительной степени обеспечена высокая технологичность сборки и разборки подводного аппарата, обеспечено выполнение спуско-подъемных и погрузочно-разгрузочных работ, обеспечены возможность и удобство раскрепления подводного аппарата по-походному для его транспортировки.
Заявляемый подводный аппарат содержит несущую конструкцию, по меньшей мере, два шпангоута, прочные корпуса, разъемные и неразъемные блоки плавучести и обтекатели.
Несущая конструкция подводного аппарата выполнена в виде последовательно и жестко соединенных между собой в направлении продольной оси подводного аппарата с возможностью разъема и с возможностью различной ориентации относительно друг друга каркасов коробчатой формы.
Шпангоуты установлены в носовой и кормовой частях подводного аппарата между каркасами коробчатой формы и жестко соединены с ними с возможностью разъема. Каждый шпангоут образован двумя силовыми кольцевыми дисками, жестко соединенными между собой посредством втулок, и снабжен съемным рымом, при этом ось каждого шпангоута совпадает с продольной осью подводного аппарата.
Прочные корпуса выполнены со съемными торцевыми крышками и установлены внутри каркасов коробчатой формы перпендикулярно продольной оси подводного аппарата.
Разъемные блоки плавучести выполнены с отверстиями под прочные корпуса и установлены внутри каркасов коробчатой формы.
Неразъемные блоки плавучести установлены снаружи каркасов коробчатой формы.
Обтекатели установлены со стороны торцевых крышек прочных корпусов и совместно с неразъемными блоками плавучести формируют внешние обводы подводного аппарата.
Заявляемый подводный аппарат имеет следующие общие с наиболее близким аналогом (прототипом) признаки:
1. Подводный аппарат.
2. Несущая конструкция, выполненная в виде последовательно и жестко соединенных между собой в направлении продольной оси подводного аппарата с возможностью разъема и с возможностью различной ориентации относительно друг друга каркасов коробчатой формы.
3. Прочные корпуса со съемными торцевыми крышками, установленные внутри каркасов коробчатой формы перпендикулярно продольной оси подводного аппарата.
4. Разъемные блоки плавучести, выполненные с отверстиями под прочные корпуса и установленные внутри каркасов коробчатой формы.
5. Неразъемные блоки плавучести, установленные снаружи каркасов коробчатой формы.
6. Обтекатели, установленные со стороны торцевых крышек прочных корпусов и совместно с неразъемными блоками плавучести формирующие внешние обводы подводного аппарата.
Отличительными от прототипа признаками заявляемого подводного аппарата, обеспечивающими совместно с их общими признаками получение указанного выше технического результата во всех случаях, на которые распространяется испрашиваемый объем правовой охраны, являются:
1. Два шпангоута, установленные в носовой и кормовой частях подводного аппарата между каркасами коробчатой формы и жестко соединенные с ними с возможностью разъема.
2. Каждый шпангоут образован двумя силовыми кольцевыми дисками, жестко соединенными между собой посредством втулок.
3. Каждый шпангоут снабжен съемным рымом.
4. Ось каждого шпангоута совпадает с продольной осью подводного аппарата.
Снабжение подводного аппарата, по меньшей мере, двумя шпангоутами, установленными в носовой и кормовой частях подводного аппарата между каркасами коробчатой формы и жестко соединенными с ними с возможностью разъема, обеспечило повышение жесткости и надежности несущей конструкции подводного аппарата.
Снабжение подводного аппарата, по меньшей мере, двумя шпангоутами, установленными в носовой и кормовой частях подводного аппарата между каркасами коробчатой формы и жестко соединенными с ними с возможностью разъема, а также снабжение каждого шпангоута съемным рымом, обеспечило возможность выполнения спуско-подъемных и погрузочно-разгрузочных операций.
Выполнение каждого шпангоута в виде двух силовых кольцевых дисков, жестко соединенных между собой посредством втулок, оси которых совпадают с продольной осью подводного аппарата, обеспечило повышение технологичности сборки и разборки подводного аппарата, а также возможность и удобство раскрепления подводного аппарата по-походному для его транспортировки.
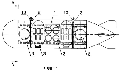
На фиг.1 изображен подводный аппарат (продольный разрез).
На фиг.2 изображен подводный аппарат (разрез по А-А на фиг.1).
На фиг.3 изображен подводный аппарат (вид по Б на фиг.2 при снятом обтекателе).
На фиг.4 изображен каркас коробчатой формы для размещения четырех прочных корпусов.
На фиг.5 изображен каркас коробчатой формы для размещения одного прочного корпуса.
На фиг.6 изображен разъемный блок плавучести.
На фиг.7 изображен неразъемный блок плавучести.
На фиг.8 изображен шпангоут подводного аппарата (вид сбоку).
На фиг.9 изображен шпангоут подводного аппарата (разрез по В-В на фиг.8).
На фиг.10 изображен подводный аппарат на сборочном стапеле в прямом положении.
На фиг.11 изображен подводный аппарат на сборочном стапеле с креном.
На фиг.12 изображен подводный аппарат на транспортном кильблоке в положении по-походному для его транспортировки.
Заявляемый подводный аппарат содержит несущую конструкцию 1, по меньшей мере, два шпангоута 2, прочные корпуса 3, разъемные 4 и неразъемные 5 блоки плавучести и обтекатели 6.
Несущая конструкция 1 подводного аппарата выполнена в виде последовательно и жестко соединенных между собой в направлении продольной оси подводного аппарата с возможностью разъема и с возможностью различной ориентации относительно друг друга каркасов коробчатой формы 7.
Шпангоуты 2 установлены в носовой и кормовой частях подводного аппарата между каркасами коробчатой формы 7 и жестко соединены с ними с возможностью разъема. Каждый шпангоут 2 образован двумя силовыми кольцевыми дисками 8, жестко соединенными между собой посредством втулок 9, и снабжен съемным рымом 10.
Прочные корпуса 3 выполнены со съемными торцевыми крышками 11 и установлены внутри каркасов коробчатой формы 7 перпендикулярно продольной оси подводного аппарата.
Разъемные блоки плавучести 4 выполнены с отверстиями под прочные корпуса 3 и установлены внутри каркасов коробчатой формы 7.
Неразъемные блоки плавучести 5 установлены снаружи каркасов коробчатой формы 7.
Обтекатели 6 установлены со стороны торцевых крышек 11 прочных корпусов 3 и совместно с неразъемными блоками плавучести формируют внешние обводы подводного аппарата.
Для повышения технологичности сборки и разборки подводный аппарат размещают на сборочном стапеле 12 с роликами 13.
Для транспортировки аппарат размещают на транспортном кильблоке 14 и крепят его по-походному посредством талрепов 15 и втулок 9 шпангоута 2.
Спуско-подъемные и погрузочно-разгрузочные операции осуществляют остропкой подводного аппарата за съемные рымы 10.
Монтаж и сборка подводного аппарата осуществляется в следующей последовательности.
Прочные корпуса 3 устанавливают внутрь каркасов коробчатой формы 7, со стороны торцевых крышек 11 устанавливают разъемные блоки плавучести 4 и стягивают их болтами. Снаружи каркасов коробчатой формы 7 с помощью болтов крепят неразъемные блоки плавучести 5. Образованные таким образом узлы соединяют между собой и со шпангоутами 2 болтовыми соединениями в необходимой последовательности в направлении продольной оси подводного аппарата и с необходимой ориентацией относительно друг друга. Со стороны торцевых крышек 11 прочных корпусов 3 устанавливают обтекатели 6, которые совместно с неразъемными блоками плавучести 5 формируют внешние обводы подводного аппарата. Для монтажа подводный аппарат устанавливают на роликах 13 кильблоков 12. В процессе монтажа на роликах 13 аппарат поворачивают вокруг его продольной оси в положение, удобное для выполнения работ.
Готовый к использованию подводный аппарат размещают на транспортном кильблоке 14, крепят его по-походному посредством талрепов 15 и втулок 9 шпангоута 2 и транспортируют аппарат к месту назначения.
Лабораторные и натурные испытания заявляемого подводного аппарата выявили надежность и удобство его эксплуатации, выразившиеся, в частности, в повышении жесткости и надежности его конструкции, в повышении технологичности сборки и разборки аппарата, в обеспечении выполнения спуско-подъемных и погрузочно-разгрузочных операций, а также в обеспечении удобства раскрепления подводного аппарата по-походному.
Формула изобретения
Подводный аппарат, содержащий несущую конструкцию, прочные корпуса, разъемные и неразъемные блоки плавучести и обтекатели, в котором несущая конструкция выполнена в виде последовательно и жестко соединенных между собой в направлении продольной оси подводного аппарата с возможностью разъема и с возможностью различной ориентации относительно друг друга каркасов коробчатой формы, прочные корпуса выполнены со съемными торцевыми крышками и установлены внутри каркасов коробчатой формы перпендикулярно продольной оси подводного аппарата, разъемные блоки плавучести выполнены с отверстиями под прочные корпуса и установлены внутри каркасов коробчатой формы, неразъемные блоки плавучести установлены снаружи каркасов коробчатой формы, обтекатели установлены со стороны торцевых крышек прочных корпусов и совместно с неразъемными блоками плавучести формируют внешние обводы подводного аппарата, отличающийся тем, что подводный аппарат дополнительно снабжен, по меньшей мере, двумя шпангоутами, установленными в носовой и кормовой частях подводного аппарата между каркасами коробчатой формы и жестко соединенными с ними с возможностью разъема, каждый шпангоут образован двумя силовыми кольцевыми дисками, жестко соединенными между собой посредством втулок, и снабжен съемным рымом, при этом ось каждого шпангоута совпадает с продольной осью подводного аппарата.
РИСУНКИ
|