|
|
(21), (22) Заявка: 2006110384/11, 03.04.2006
(24) Дата начала отсчета срока действия патента:
03.04.2006
(46) Опубликовано: 20.11.2007
(56) Список документов, цитированных в отчете о поиске:
RU 2119608 С1, 27.09.1998. RU 2107640 С1, 27.03.1998. US 5253602 А, 19.10.1993. US 3141438 A, 21.06.1964.
Адрес для переписки:
121467, Москва, ул. Молодогвардейская, 10, ФГУП “25 ГосНИИ Минобороны России”
|
(72) Автор(ы):
Овчинин Дмитрий Ильич (RU), Таран Владимир Михайлович (RU), Белохвостов Федор Валентинович (RU), Ерёмин Владимир Николаевич (RU), Дмитриев Сергей Викторович (RU), Ищенко Петр Николаевич (RU)
(73) Патентообладатель(и):
Федеральное государственное унитарное предприятие “25 Государственный научно-исследовательский институт Министерства обороны Российской Федерации (по применению топлив, масел, смазок и специальных жидкостей – ГосНИИ по химмотологии)” (RU)
|
(54) УСТРОЙСТВО ДЛЯ ЗАДЕЛКИ ПРОБОИН С РВАНЫМИ КРАЯМИ В СТЕНКЕ ЕМКОСТИ
(57) Реферат:
Изобретение относится к средствам ремонта стенок полых изделий, в частности жестких резервуаров, используемых для хранения и транспортирования различных жидкостей, и может быть использовано для заделки пробоин в корпусах судов и трубопроводов. Устройство для заделки пробоин с рваными краями в стенке емкости содержит внутренний и наружный уплотнительные элементы, связанные между собой стержнем, на котором размещены фиксаторы уплотнительных элементов. Внутренний и наружный уплотнительные элементы выполнены в виде полых торообразных емкостей, герметично закрепленных на эластичных полотнищах. В центре каждого полотнища выполнены отверстия, через которые проходит стержень, имеющий с наружной стороны резьбу для фиксации на нем уплотнительных элементов с помощью гаек. Внутренняя полость стержня служит каналом подачи воздуха через переключающий клапан в торообразные емкости. В эластичном полотнище наружного уплотнительного элемента установлен патрубок для подачи герметика в полость, образованную внутренним и наружным уплотнительными элементами, и патрубок для выпуска воздуха из этой полости. Технический результат изобретения – упрощение конструкции и обеспечение возможности многократного использования устройства. 3 ил.
Изобретение относится к средствам ремонта стенок полых изделий, в частности жестких резервуаров, используемых для хранения и транспортирования различных жидкостей, и может быть использовано для заделки пробоин в корпусах судов и трубопроводов.
Известно устройство для герметичного заделывания отверстий в корпусе судна, содержащее надувной блок с одной или несколькими надувными структурами. В надутом состоянии каждая структура образует жесткое торообразное кольцо. Кольца удерживают герметизирующий материал и непосредственно не контактируют с краями отверстия. Надувной блок смонтирован на конце штока, имеющего систему подачи газа (Патент GB №2374047 А1, кл. В63В 43/16, 09.10.2003 г.).
Недостатком этого устройства является то, что оно снабжено только одним надувным блоком, установленным с одной стороны пробоины, и то, что эластичный герметизирующий материал плотно прилегает к окраинам пробоины и даже частично размещается в ней, что в совокупности не позволяет заделать пробоину герметиком, который охватывал бы пробоину как с наружной, так и с внутренней стороны.
Известно устройство для заделки течи в борту судна, содержащее стержень с центральным отверстием. На одном конце стержня имеется конусная крышка и соответствующая размеру отверстия в борту, закрепленная через резиновую мембрану тороидальная воздушная подушка, складываемая вокруг стержня. На другом конце стержня имеется штуцер с клапаном для надувания подушки сжатым воздухом. В стержне и мембране имеются каналы для подачи воздуха. На стержне предусмотрена контропора для его фиксации на внутренней стороне борта судна (Патент DE №19957445 А1, кл. В63В 43/16, 05.05.2002 г.).
Недостатком этого устройства является то, что резиновая мембрана и контропора вплотную прижимаются к окраинам пробоины и не имеют приспособлений для заполнения пробоины герметиком.
Известно устройство для заделки пробоины с рваными краями в стенке емкости, состоящее их наружного уплотнительного узла в виде фигурной жесткой опоры с герметизирующей прокладкой по периметру, патрубком подачи герметика и дополнительной П-образной жесткой опорой, размещенной с наружной стороны фигурной жесткой опоры, насаженной на несущей подтягивающий стержень. На противоположном конце подтягивающего стержня закреплены с возможностью поворота ребра жесткости, на концах которых закреплена бесконечная гибкая тяга. На ребрах жесткости закреплен гибкий пластырь (Патент RU №2107640, кл. В63В 43/16, В65D 88/02, 27.03.1998 г.).
Недостатком этого устройства является сложность конструкции и трудоемкость в изготовлении. Кроме того, большинство элементов этого устройства после заполнения пробоины герметиком остаются в теле пробки и таким образом являются узлами разового использования.
Известно также герметизирующее устройство, содержащее заглушку со средством ее герметизации, выполненным в виде торообразного эластичного элемента, представляющего собой наполненную воздухом резиновую камеру с приклеенной к ее прижимной поверхности пористой резины. Торообразный эластичный элемент может быть выполнен из пористой резины. Заглушка имеет круглую форму и удерживается на днище судна с помощью постоянных магнитов, связанных с заглушкой с помощью тонких металлических полос (ПМ Патент RU №40987, кл. В63В 43/16, 16.03.2004 г.).
Недостатком этого устройства является то, что оно пригодно только для временной герметизации отверстия в днище судна при установке его с наружной стороны судна.
Наиболее близким к изобретению по технической сущности является устройство для ликвидации пробоин, содержащее трость с каркасом, выполненным в виде шарнирно соединенных между собой спиц. На внешней стороне каркаса закреплена внутренняя оболочка (уплотнительный элемент) с фиксаторами, выполненная из эластичного материала. Наружная оболочка выполнена в виде полого жесткого цилиндра с возможностью возвратно-поступательного движения по трости (стержню) с фиксаторами. Наружная оболочка имеет патрубки для подачи уплотняющей среды и патрубки для подачи сжатого воздуха. Устройство содержит также камеру, выполненную из эластичного материала, закрепленную на внешней поверхности наружной оболочки со стороны, обращенной к внутренней оболочке, и имеет два отверстия, соосные отверстиям наружной оболочки (RU. Патент №2119608, кл. F16L 55/10, В63В 43/16, 18.12.1996 г.).
Недостатком этого устройства является сложность конструкции и невозможность повторного использования большей части узлов и элементов конструкции устройства.
Технический результат изобретения – упрощение конструкции и снижение трудозатрат за счет создания возможности многократного использования устройства.
Этот технический результат достигается тем, что известное устройство для заделки пробоин с рваными краями в стенке емкости, содержащее внутренний и наружный уплотнительные элементы, связанные между собой стержнем, на котором размещены фиксаторы уплотнительных элементов, согласно изобретению внутренний и наружный уплотнительные элементы выполнены в виде полой торообразной емкости, герметично закрепленной на эластичном полотнище, в центре каждого из которых выполнены отверстия, сквозь которые проходит стержень, имеющий с наружной стороны резьбу для взаимодействия с фиксаторами уплотнительных элементов, а внутренняя полость этого стержня служит началом подачи воздуха через установленный на его входе переключающий клапан в торообразные емкости внутреннего и наружного уплотнительных элементов, при этом уплотнительные элементы размещены на стержне встречно относительно торообразных емкостей, а в эластичном полотнище наружного уплотнительного элемента выполнен патрубок для подачи герметика и патрубок выпуска воздуха.
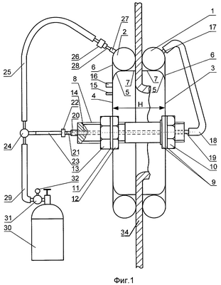
На фиг.1 представлено устройство для заделки пробоин с рваными краями в стенке емкости, установленное в пробоину;
фиг.2 – то же в момент установки устройства в пробоину;
фиг.3 – вид загерметизированной пробоины в разрезе.
Устройство для заделки пробоин с рваными краями в стенке емкости содержит внутренний и наружный уплотнительные элементы, выполненные в виде полых торообразных емкостей 1 и 2 соответственно, на которых герметично закреплены эластичные полотнища 3 и 4. Каждое эластичное полотнище состоит из внутреннего 5 и наружного 6 слоев, склеенных между собой. Внутренний 5 слой эластичного материала имеет выступающую часть 7, длина которой равна половине диаметра поперечного сечения торообразных емкостей 1 и 2.
В центре эластичных полотнищ 3 и 4 выполнены отверстия, сквозь которые проходит стержень 8, имеющий с наружной стороны резьбу для взаимодействия с фиксаторами уплотнительных элементов. Фиксатор внутреннего уплотнительного элемента включает шайбы 9 и гайку 10, а фиксатор наружного уплотнительного элемента включает шайбу 11 и гайки 12 и 13. Стержень 8 имеет внутри канал 14 для подачи сжатого воздуха в торообразную емкость 1.
Эластичное полотнище 4 снабжено патрубком 15 для подачи герметика в полость, образованную внутренним и наружным уплотнительными элементами, и патрубком 16 для выпуска воздуха из этой полости.
Полая торообразная емкость 1 снабжена штуцером 17, который через гибкий шланг 18 и штуцер 19 соединена с каналом 14 стержня 8. Штуцер 20 стержня 8 снабжен обратным клапаном 21 и с помощью накидной гайки 22 и полого удлинителя 23 соединен с переключающим клапаном 24, который через гибкий шланг 25 с помощью накидной гайки 26 соединен со штуцером 27 полой торообразной емкости 2. Штуцер 27 снабжен обратным клапаном 28. Переключающий клапан 24 через гибкий шланг 29 соединен воздушным баллоном 30, который снабжен редуктором 31 и манометром 32.
Внутренний и наружный уплотнительные элементы размещают на стержне 8 встречно, т.е. торообразные емкости 1 и 2 обращены друг к другу.
Полые торообразные емкости 1 и 2, наружный слой 6 эластичных полотнищ 3 и 4, а также гибкие шланги должны быть изготовлены из маслобензостойкой резины. Внутренний слой 5 эластичных полотнищ должен быть изготовлен из адгезионной резины.
Из практики известно, что минимальный диаметр пробоины в резервуаре от снаряда может составлять не менее 250 мм. Следовательно, диаметры полых торообразных емкостей 1 и 2 должны быть не менее 300 мм, а диаметр поперечного сечения торообразной емкости выбирают с таким расчетом, чтобы расстояние Н между эластичными полотнищами 3 и 4 было не менее 30 мм.
Как показала практика ремонта пробоин в стенке вертикальных резервуаров, указанная толщина герметика в образованной пробке обеспечивает надежную дальнейшую эксплуатацию резервуаров.
В качестве торообразных емкостей 1 и 2 для устройства можно, например, использовать велосипедные камеры. В качестве обратных клапанов 21 и 28 можно, например, использовать золотниковые краны от автомобильных камер. В качестве переключающего клапана рекомендуется использовать трехходовой кран. Редуктор 31 на воздушном баллоне 30 должен быть отрегулирован на давление не более 0,01 МПа (0,1 кгс/см2).
Удлинитель 23 необходим для того, чтобы можно было управлять переключающим клапаном 24 в свернутом состоянии наружного уплотнительного элемента.
В свернутом состоянии внутренний и наружный уплотнительные элементы располагаются вдоль осевой линии стержня 8 в противоположные стороны друг от друга, а полые торообразные емкости 1 и 2 складываются в гармошку и перевязываются тесьмой 33, при этом свободный конец тесьмы 33 горообразной емкости 1 должен быть по крайней мере в 2 раза длиннее внутреннего уплотнительного элемента в свернутом виде.
Таким образом, выполнение внутреннего и наружного уплотнительных элементов в устройстве для заделки пробоин с рваными краями в стенке емкости в виде полых торообразных емкостей, размещенных встечно друг к другу, в сочетании со стержнем, имеющим переключающий клапан, канал подачи воздуха и элементы фиксации эластичных полотнищ позволяет быстро загерметизировать пробоину, а затем заполнить полость, образованную внутренним и наружным уплотнительными элементами, жидким затвердевающим герметиком. В качестве герметика можно использовать пенополиуретан или металлополимеры.
Заделка пробоины производится следующим образом.
Перед заделкой пробоины из резервуара 34 откачивается жидкость до нижнего уровня пробоины. Воздушный баллон 30 с помощью гибкого шланга 29 подсоединяется к переключающему клапану 24. Внутренний уплотнительный элемент, находящийся в сложенном состоянии, вводится в пробоину таким образом, чтобы гибкий шланг 25 наружного уплотнительного элемента был в верхнем положении. За конец тесьмы 33 развязывается узел свернутой в гармошку полой торообразной емкости 1, переключающий клапан 24 устанавливается в положение для подачи воздуха в емкость 1 и открывается вентиль на воздушном баллоне 30. Сжатый воздух заполняет емкость 1 и она приобретает форму тора. Затем, после снятия тесьмы 33 с полой горообразной емкости 2, переключающий клапан 24 устанавливается в положение для подачи воздуха в емкость 2. Емкость 2, заполненная воздухом, приобретает форму тора, располагающегося с наружной стороны пробоины. Благодаря стержню 8 торообразные емкости 1 и 2 плотно прижимаются к стенке резервуара. К патрубку 15 эластичного полотнища 4 подсоединяется устройство для подачи герметика. Герметик заполняет пространство, образованное внутренним и наружным уплотнительными элементами, а воздух из этого пространства выходит через патрубок 16, при этом выступающая часть 7 внутреннего слоя эластичного полотнища 5 прижимается герметиком к полым торообразным емкостям 1 и 2. После отверждения герметика (примерно 3-4 ч) производят демонтаж внешнего уплотнительного элемента. Для этого отсоединяют гибкий шланг 25 от штуцера 27 с обратным клапаном 28, через который затем выпускают воздух из торообразной емкости 2. Отвертывают удлинитель 23 и гайку 13 от стержня 8 и внешний уплотнительный элемент снимают со стержня 8. Через обратный клапан 21 выпускают воздух из торообразной емкости 1. После этого резервуар можно заполнять жидкостью до установленного уровня.
Внутренний уплотнительный элемент вместе с гибким шлангом 18 можно вынуть из резервуара только после полного его опорожнения.
После демонтажа внутреннего уплотнительного элемента в пробке 35, образованной герметиком, должны остаться стержень 8 с шайбой 9, гайкой 12, штуцер 19 и штуцер 20 с обратным клапаном 21. Остальные демонтированные элементы устройства для заделки пробоин с рваными краями в стенке емкости (поз. №1-7, 10, 11, 13-18, 22-32) доукомплектовывают и готовят к повторному использованию.
Изобретение просто в изготовлении и позволяет надежно заделывать пробоины с рваными краями в стенке емкости. Кроме того, при заделке пробоин с рваными краями в стенке емкости за счет повторного использования большинства узлов снижаются трудозатраты.
Формула изобретения
Устройство для заделки пробоин с рваными краями в стенке емкости, содержащее внутренний и наружный уплотнительные элементы, связанные между собой стержнем, на котором размещены фиксаторы уплотнительных элементов, отличающееся тем, что внутренний и наружный уплотнительные элементы выполнены в виде полой торообразной емкости, герметично закрепленной на эластичном полотнище, в центре каждого из которых выполнены отверстия, сквозь которые проходит стержень, имеющий с наружной стороны резьбу для взаимодействия с фиксаторами уплотнительных элементов, а внутренняя полость этого стержня служит каналом подачи воздуха через установленный на его входе переключающий клапан в торообразные емкости внутреннего и наружного уплотнительных элементов, при этом уплотнительные элементы размещены на стержне встречно относительно торообразных емкостей, а в эластичном полотнище наружного уплотнительного элемента выполнен патрубок для подачи герметика и патрубок выпуска воздуха.
РИСУНКИ
Другие изменения, связанные с зарегистрированными изобретениями
Изменения:
Зарегистрирован переход исключительного права без заключения договора Дата и номер государственной регистрации перехода исключительного права: 02.04.2010/РП0000661 Патентообладатель: Федеральное автономное учреждение “25 Государственный научно – исследовательский институт химмотологии Министерства обороны Российской Федерации” Прежний патентообладатель: Федеральное государственное унитарное предприятие “25 Государственный научно – исследовательский институт Министерства обороны Российской Федерации” (по применению топлив, масел, смазок и специальных жидкостей ГосНИИ по химотологии)
Номер и год публикации бюллетеня: 32-2007
Извещение опубликовано: 10.05.2010 БИ: 13/2010
|
|