|
|
(21), (22) Заявка: 2006123582/11, 03.07.2006
(24) Дата начала отсчета срока действия патента:
03.07.2006
(46) Опубликовано: 20.11.2007
(56) Список документов, цитированных в отчете о поиске:
RU 494307 A1, 05.12.1975. EP 0382133 A2, 16.08.1990. EP 1314641 A2, 28.05.2003. FR 2813578 A1, 08.03.2002. DE 3432868 A1, 20.03.1986.
Адрес для переписки:
443076, г.Самара, ул. Партизанская, 173, В.В. Метилю
|
(72) Автор(ы):
Конев Михаил Петрович (RU), Метиль Виктор Викторович (RU), Репин Владимир Васильевич (RU)
(73) Патентообладатель(и):
Конев Михаил Петрович (RU), Метиль Виктор Викторович (RU)
|
(54) МАЛОМЕРНАЯ БУНКЕРОВОЧНАЯ СТАНЦИЯ
(57) Реферат:
Изобретение относится к плавучим топливозаправочным станциям и предназначено для заправки горючим маломерных судов, катеров и яхт. Маломерная бункеровочная станция содержит понтон с отсеками непотопляемости, с расположенным в трюме по меньшей мере одним двустенным резервуаром с системой контроля уровня, автоматическими датчиками контроля перелива и герметичности, по меньшей мере одной топливораздаточной колонкой, ванны сбора утечек. Резервуар снабжен блоком деаэрации, состоящим из дыхательного клапана, огневого предохранителя и запорной арматуры, а также линией возврата парогазовой смеси, кроме того, оборудован блоком обесшламливания, состоящим из трубопровода, штуцера с заглушкой, устройства забора подтоварной воды, и соединен с блоком перекачки и учета топлива, оборудованным последовательно клапаном электромагнитной отсечки, счетчиком, сепаратором, насосом, запорной арматурой, резинотканевыми рукавами и устройством запуска и приема снаряда, береговым модулем, а также воздушно-компрессорной станцией. В понтоне установлена по меньшей мере одна емкость сбора протечек, а береговой модуль и автоцистерна установлены на ковер сбора проливов, понтон снабжен по меньшей мере двумя заземленными палами. Достигается снижение затрат на обслуживание, ремонт и уменьшение загрязнения окружающей среды. 1 ил.
Изобретение относится к плавучим топливозаправочным станциям и предназначено для заправки горючим маломерных судов, катеров и яхт.
Известны топливозаправочные станции, расположенные на берегу или пирсе, включающие заправочные устройства и трубопроводы [Авторское свидетельство СССР №494307, кл. В63В 27/24, В65G 67/58, 1975].
Однако подобные топливозаправочные станции не предназначены для заправки судов разных классов и не отвечают современным экологическим требованиям.
Наиболее близким техническим решением к заявляемому являются плавучие топливозаправочные станции с резервуаром на борту, содержащие понтон с отсеками непотопляемости, с расположенным в трюме, по меньшей мере, одним двустенным резервуаром с системой контроля уровня, автоматическими датчиками контроля перелива и герметичности, по меньшей мере, одной топливораздаточной колонкой и ванны сбора утечек [Плавучая станция. – Современная АЗС. 2004, №07 (28), с.36-40].
Данные плавучие топливозаправочные станции не полностью отвечают современным экологическим нормам, так как не содержат блока деаэрации с дыхательным клапаном и линией возврата паров топлива в топливозаправщик, отсутствует собственная система приема и учета топлива.
Задачей, на решение которой направленно изобретение, является улучшение эксплуатационных свойств и охрана окружающей среды при заправке топливом маломерных судов.
Технический результат, который может быть получен при осуществлении изобретения, заключается в снижении затрат на обслуживание, ремонтных затрат и возможности автономной перекачки и учета топлива с берега в практически любом месте с последующим демонтажом соединения, что повышает безопасность эксплуатации. Сущность изобретения заключается в том, что в маломерной бункеровочной станции, содержащей понтон с отсеками непотопляемости, с расположенным в трюме, по меньшей мере, одним двустенным резервуаром с системой контроля уровня, автоматическими датчиками контроля перелива и герметичности, по меньшей мере, одной топливораздаточной колонкой, ванны сбора утечек, резервуар снабжен блоком деаэрации, состоящим из дыхательного клапана, огневого предохранителя и запорной арматуры, а также линией возврата парогазовой смеси, кроме того, оборудован блоком обесшламливания, состоящим из трубопровода, штуцера с заглушкой, устройства забора подтоварной воды, и соединен с блоком перекачки и учета топлива, оборудованным последовательно клапаном электромагнитной отсечки, счетчиком, сепаратором, насосом, запорной арматурой, резинотканевыми рукавами и устройством запуска и приема снаряда, береговым модулем, а также воздушно-компрессорной станцией, в понтоне установлена по меньшей мере одна емкость сбора протечек, а береговой модуль и автоцистерна установлены на ковер сбора проливов, понтон снабжен, по меньшей мере, двумя заземленными палами.
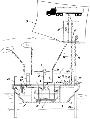
Для пояснения описываемой маломерной бункеровочной станции приведена схема на чертеже.
Маломерная бункеровочная станция содержит понтон 1 с отсеками непотопляемости 2, по меньшей мере, один двустенный резервуар 3, с установленной в нем системой контроля уровня 4, автоматические датчики контроля перелива 5 и герметичности 6, дыхательный клапан 7, огневой предохранитель 8, штуцер с заглушкой 9, устройство забора подтоварной воды 10. Блок перекачки и учета топлива 11 состоит из клапана электромагнитной отсечки 12, счетчика 13, сепаратора 14, насоса 15, резинотканевых рукавов 16, устройства запуска 17 и приема снаряда 18, берегового модуля 19, воздушно-компрессорной станции 20. На понтоне расположены, по меньшей мере, одна топливораздаточная колонка 21, ванна сбора утечек 22, по меньшей мере, одна емкость сбора утечек 23. Резервуар 3 оборудован линией возврата парогазовой смеси 24 в автоцистерну. На ковер сбора проливов 25 устанавливается береговой модуль 19 и автоцистерна. Понтон 1 снабжается, по меньшей мере, двумя заземленными палами 26.
Маломерная бункеровочная станция работает следующим образом. Для отпуска светлых жидких топлив в баки маломерных судов используется закрытый способ, при котором нефтепродукты подаются из резервуара 3 по трубам через топливораздаточную колонку 21 непосредственно в расходный бак судна. Для приема топлива используется береговой модуль 19, соединяемый с автоцистерной, при помощи насоса 15 топливо подается в резервуар 3. Учет закаченного топлива производится счетчиком 13. При заполнении требуемого количества топлива в резервуар 3, учитываемого счетчиком 13, поступает сигнал от контроллера и клапан электромагнитной отсечки 12 прекращает закачку топлива. Для очистки трубопроводов после прекращения перекачки используется зачистной снаряд, запускаемый из устройства запуска 17 на берегу и принимаемый устройством приема снаряда 18, установленным на понтоне 1. Запуск зачистного снаряда производится сжатым воздухом от компрессорной станции 20. Для сбора случайных проливов при сливе топлива используется на берегу ковер сбора проливов 25, на него устанавливается береговой модуль 19 и автоцистерна. Сбор случайных проливов при заправке судов производится в ванне сбора утечек 22 и далее самотеком попадает в емкость сбора протечек 23. Для защиты от статического электричества, молнии защиты используются, по меньшей мере, два пала 26, как заземлители.
В качестве топливораздаточной колонки могут использоваться топливораздаточные колонки «Север-1» модели С 222.
В качестве системы контроля уровня 4 нефтепродукта в резервуаре 3 может использоваться измерительная система «Струна». Система «Струна» предназначена для измерений уровня, температуры, плотности, объема и массы взрывоопасных жидкостей при учетно-расчетных и технологических операциях, а также для измерений уровня и наличия подтоварной воды.
В качестве ковра сбора проливов 25 может использоваться масло- и бензостойкая ткань.
В качестве палов могут использоваться стальные или железобетонные сваи, вбитые в дно.
Изобретение позволяет снизить затраты на обслуживание, ремонтные затраты и уменьшает загрязнение окружающей среды.
Формула изобретения
Маломерная бункеровочная станция, содержащая понтон с отсеками непотопляемости, с расположенным в трюме по меньшей мере одним двустенным резервуаром с системой контроля уровня, автоматическими датчиками контроля перелива и герметичности, по меньшей мере одной топливораздаточной колонкой, ванны сбора утечек, отличающаяся тем, что резервуар снабжен блоком деаэрации, состоящим из дыхательного клапана, огневого предохранителя, и запорной арматуры, а также линией возврата парогазовой смеси, кроме того, оборудован блоком обесшламливания, состоящим из трубопровода, штуцера с заглушкой, устройства забора подтоварной воды, и соединен с блоком перекачки и учета топлива, оборудованным последовательно клапаном электромагнитной отсечки, счетчиком, сепаратором, насосом, запорной арматурой, резинотканевыми рукавами и устройством запуска и приема снаряда, береговым модулем, а также воздушно-компрессорной станцией, в понтоне установлена по меньшей мере одна емкость сбора протечек, а береговой модуль и автоцистерна установлены на ковер сбора проливов, понтон снабжен по меньшей мере двумя заземленными палами.
РИСУНКИ
MM4A – Досрочное прекращение действия патента СССР или патента Российской Федерации на изобретение из-за неуплаты в установленный срок пошлины за поддержание патента в силе
Дата прекращения действия патента: 04.07.2008
Извещение опубликовано: 27.05.2010 БИ: 15/2010
TK4A – Поправки к публикациям сведений об изобретениях в бюллетенях “Изобретения (заявки и патенты)” и “Изобретения. Полезные модели”
Напечатано: Дата прекращения действия патента: 04.07.2008
Следует читать: Дата прекращения действия патента: 04.07.2009
Номер и год публикации бюллетеня: 15-2010
Код раздела: MM4A
Извещение опубликовано: 20.06.2010 БИ: 17/2010
NF4A – Восстановление действия патента СССР или патента Российской Федерации на изобретение
Дата, с которой действие патента восстановлено: 20.09.2010
Извещение опубликовано: 20.09.2010 БИ: 26/2010
|
|