|
(21), (22) Заявка: 2005123175/11, 21.07.2005
(24) Дата начала отсчета срока действия патента:
21.07.2005
(43) Дата публикации заявки: 27.01.2007
(46) Опубликовано: 20.11.2007
(56) Список документов, цитированных в отчете о поиске:
SU 1049321 А, 23.10.1983. RU 2238209 C2, 20.10.2004. US 2209508 A, 30.07.1940. US 3744811 A, 10.07.1973.
Адрес для переписки:
111578, Москва, ул. Саянская, 6, кв.200, Л.Ф. Федосееву
|
(72) Автор(ы):
Федосеев Леонид Федорович (RU), Уманский Вячеслав Львович (RU), Морозов Леонид Петрович (RU), Гречкин Андрей Александрович (RU)
(73) Патентообладатель(и):
Федосеев Леонид Федорович (RU)
|
(54) СНЕГОКАТ “УНИВЕРСАЛ”
(57) Реферат:
Изобретение относится к складным саням. Снегокат состоит из двух полозьев (1), на которых установлена рамка (2), состоящая из двух стоек (5), перевязанных между собой. Полозья (1) соединены арочными поперечинами, а верхняя из поперечин, перевязывающих стойки (5), имеет возможность служить сиденьем (6). Нижними концами стоек (5) рамка крепится к полозьям (1) через бракету (8) в двух точках. При этом переднее крепление (9) рамки – шарнирное болтовое, а заднее (10) – быстроразъемное, обеспечивающее закрепление рамки в различных положениях для катания – в вертикальном или с наклонами вперед или назад и в сложенном положении через соответствующие отверстия (11) на бракете (8). В частных случаях выполнения снегокат может быть снабжен поворотным сиденьем (12) для ребенка, шарнирно закрепленным на передней стороне рамки (2) ниже основного сиденья (6). В снегокате предусмотрена возможность изменения высоты стоек за счет верхних насадок в виде наконечников (13). При этом на задней стороне верхних насадок и на передней стороне стоек в зоне сиденья предусмотрены гнезда-втулки (15) для установки скобы-ручки (16). Снегокат может быть снабжен мягкой сумкой (14), закрепленной с задней стороны рамки под сиденьем (6) между стойками. На задней стороне стоек выше сиденья (6) предусмотрены скобки (17) для пристежки мягкой люльки и ремешка для безопасного катания ребенка. Изобретение расширяет функциональные возможности снегоката и повышает удобство в пользовании. 6 з.п. ф-лы, 11 ил.
Настоящее изобретение относится к средствам для катания с горок и по ровной местности.
Известен снегокат “Снежок”, выпускаемый ФГУП “Саранский механический завод”, содержащий два полоза с вытянутым сиденьем, опирающимся на полозья, впереди лыжа – руль и ножные тормоза.
Недостатком указанного снегоката являются малые функциональные возможности. На снегокате может кататься с горки (не крутой) практически один человек (не взрослый) и только сидя. Движение по ровной местности и завоз на горку возможен только за веревочку. В несложенном виде снегокат имеет неудобные габариты для переноски и хранения (складывание сезонное с применением инструмента).
Целью изобретения является расширение функциональных возможностей выпускаемого снегоката и повышения удобства в пользовании. Это достигается за счет того, что снегокат состоит из двух полозьев, на которых установлена рамка, состоящая из двух стоек, перевязанных между собой. Полозья соединены арочными поперечинами, а верхняя из поперечин, перевязывающих стойки, имеет возможность служить сиденьем. Нижними концами стоек рамка крепится к полозьям через бракету в двух точках, при этом переднее крепление рамки – шарнирное болтовое, а заднее – быстроразъемное, обеспечивающее закрепление рамки в различных положениях для катания – в вертикальном или с наклонами вперед или назад и в сложенном положении через соответствующие отверстия на бракете.
Снегокат может быть снабжен поворотным сиденьем для малого человека, шарнирно закрепленным на передней стороне рамки ниже основного сиденья. Может быть предусмотрена возможность изменения высоты стоек за счет верхних насадок. Снегокат может быть снабжен мягкой сумкой, закрепленной с задней стороны рамки под сиденьем между стойками. На задней стороне верхних насадок и на передней стороне стоек в зоне сиденья могут быть предусмотрены гнезда – втулки для установки скобы-ручки. На задней стороне стоек выше сиденья предусмотрены скобки для пристежки мягкой люльки и ремешка для безопасного катания малыша. На пересечении передней поперечины и продольных связей поперечин могут быть предусмотрены втулки-гнезда для установки штырей-растяжек мягкой емкости.
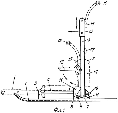
Фиг.1 – вид сбоку;
Фиг.2 – вид сверху;
Фиг.3 – узел крепления рамки на полозьях (вид сбоку);
Фиг.4 – узел крепления рамки на полозьях (вид сверху);
Фиг.5-7 – возможные варианты катания;
Фиг.8 – вариант размещения мягкой люльки для катания ребенка;
Фиг.9 – вариант закрепления малыша на сиденье;
Фиг.10 – вариант размещения различных грузов для перевозки;
Фиг.11 – вариант размещения мягкой емкости для перевозки снега.
“Универсал” состоит из 2-х полозьев 1 и рамки 2. Полозья могут быть соединены поперечинами 3, перевязанными продольными связями 4.
Рамка 2 состоит из 2-х стоек 5, соединенных между собой. Конструкция соединения может быть различной, но при условии, что верхняя поперечина 6 должна быть размещена на высоте, удобной для сидения человека.
Рамка устанавливается на полозья в зоне 2/3 длины, начиная с начала полозьев. Для закрепления рамки на нижних концах стоек предусмотрены, например, башмаки 7 с двумя обушками (передний и задний) с отверстиями, а на полозьях установлены бракеты 8 с соответствующими отверстиями. Переднее крепление 9 шарнирное (болтовое), а заднее 10 быстроразъемное. Для закрепления рамки в различных положениях катания (вертикальное, наклонное вперед или назад), а также для закрепления в сложенном положении на бракетах предусматриваются соответствующие отверстия 11.
На передней стороне рамки ниже основного сиденья устанавливается поворотное сиденье 12, крепление которого аналогично креплению рамки на полозьях.
На верхних концах стоек предусматривается установка наконечников 13, обеспечивающих изменение высоты стоек.
С задней стороны рамки, между стойками, ниже сиденья предусматривается размещение мягкой вещевой сумки 14. На наконечниках 13 (с задней стороны) и на стойках 5 (с передней стороны) предусмотрены втулки – гнезда 15 для установки скоб-ручки 16.
На стойках рамки с задней стороны выше сиденья предусмотрены скобки 17 для закрепления мягкой люльки 18 и ремешка 19.
На пересечении передней поперечины 3 и продольных связей 4 предусматриваются втулки – гнезда 20 для установки штырей – растяжек мягкой емкости 21, например, для вывозки снега, задняя кромка емкости закрепляется ремешком (веревочками), например, к сиденью 6.
Снегокат “Универсал” используют следующим образом.
Для перевода снегоката из сложенного положения (показанного на фиг.1 пунктиром) в положение для катания открываются задние крепления 10 и рамка 2 переводится из горизонтального положения в вертикальное (наклонное) с фиксацией креплениями 10 в нужных отверстиях 11. На “семейном” снегокате для катания двоих откидное сиденье 12 переводится из нижнего положения в горизонтальное.
Для катания ребенка (фиг.8) устанавливается мягкая люлька 18 на сиденьях 6 и 12 с закреплением ремешками на скобках 17, а также скоб-ручка с закреплением во втулках-гнездах 15 на наконечниках 13.
Для катания малыша на сиденье 6 (фиг.9) перед малышом устанавливается скоб-ручка 16 во втулках гнездах 15. Малыш притягивается ремешком 19 на скобках 17.
Для перевозки грузов (фиг.10) (в зависимости от формы и габаритов) последние устанавливаются на поперечинах 3 или продольных связях 4 и пристегиваются ремешком 19 к стойкам 15 или к тем же поперечинам или продольным связям.
Для перевозки снега (фиг.11) устанавливается мягкая емкость 21 со штырями-растяжками, с помощью которых закрепляется во втулках-гнездах 20. Задняя кромка мягкой емкости пристегивается ремешками, например, к сиденью 6. Переноска и хранение снегоката производится в сложенном виде. Складывание снегоката производится путем открытия задних креплений 10 и поворота рамки 2 в горизонтальное положение с фиксированием в верхних отверстиях 11.
Переноска снегоката: по типу “кейса” – производится одной рукой за продольную связь 4 или за полоз 1, по типу “рюкзака” – с помощью ремешка 19, зацепляемого за переднюю и заднюю поперечины 3.
Снегокат “Универсал” обладает многими преимуществами, в том числе:
– широким разнообразием катания с горок: на снегокате для детей до 8-10 лет, изготавливаемом на полозьях аналога, без откидного сиденья могут кататься 2-3 человека (один сидя, один – два стоя); на “Семейном” снегокате могут кататься с горки с несложном рельефом от одного до 3-4 человек, из них двое взрослых, один сидя, второй стоя) в различных вариантах (фиг.5-7) стоящий сзади может обеспечить разгон снегокату вначале движения и ускорение в процессе движения за счет отталкивания ногой; большой интерес представляет катание одного человека: во-первых, можно кататься на крутых горках с различным рельефом, во-вторых, на обычных горках можно кататься сидя, стоя в пассивном режиме, а также в активном режиме – сначала разгон снегоката до максимальной скорости бега, затем ускорение движения за счет отталкивания ногой, затем для снижения сопротивления позу стоящего изменить на позу сидящего и продолжать движение по курсу, управляя ногами и манипулируя центром тяжести тела, этот режим катания может представлять даже спортивный интерес (по типу спуска на санках по желобу);
– возможностью катания по ровной дороге и с малым уклоном, а также завозки снегоката на горку, за счет толкания сзади идущего (фиг.5);
– возможностью катания ребенка: для чего предусмотрена возможность установки мягкой люльки и скоб-ручки (фиг.8), а для катания малыша (2-4 года), сидящего на сиденье, предусматривается возможность пристегивания штатным ремешком и установка скоб-ручки (фиг.9);
– возможностью перевозки различных грузов, в том числе габаритных типа стиральной машины (фиг.10), а также снега при очистке дворовых тротуаров и подъездов, к дверям гаражей и укрытий. С этой целью на снегокате предусматривается возможность установки мягкой емкости (фиг.11);
– возможностью складывания (раскладывания) в течение нескольких секунд без использования инструмента;
– возможностью переноски по типу “кейса”, а также по типу “рюкзака”, используя штатный ремешок.
Формула изобретения
1. Снегокат, состоящий из двух полозьев, на которых установлена рамка, состоящая из двух стоек, перевязанных между собой, отличающийся тем, что полозья соединены арочными поперечинами, а верхняя из поперечин, перевязывающих стойки, имеет возможность служить сиденьем, нижними концами стоек рамка крепится к полозьям через бракету в двух точках, при этом переднее крепление рамки – шарнирное болтовое, а заднее – быстроразъемное, обеспечивающее закрепление рамки в различных положениях для катания – в вертикальном или с наклонами вперед или назад и в сложенном положении, через соответствующие отверстия на бракете.
2. Снегокат по п.1, отличающийся тем, что он снабжен поворотным сиденьем для малого человека, шарнирно закрепленным на передней стороне рамки ниже основного сиденья.
3. Снегокат по п.1, отличающийся тем, что в нем предусмотрена возможность изменения высоты стоек за счет верхних насадок.
4. Снегокат по п.1, отличающийся тем, что он снабжен мягкой сумкой, закрепленной с задней стороны рамки под сиденьем между стойками.
5. Снегокат по п.3, отличающийся тем, что на задней стороне верхних насадок и на передней стороне стоек в зоне сиденья предусмотрены гнезда-втулки для установки скобы-ручки.
6. Снегокат по п.1, отличающийся тем, что на задней стороне стоек выше сиденья предусмотрены скобки для пристежки мягкой люльки и ремешка для безопасного катания малыша.
7. Снегокат по п.1, отличающийся тем, что на пересечении передней поперечины и продольных связей поперечин, предусмотрены втулки-гнезда для установки штырей-растяжек мягкой емкости.
РИСУНКИ
|