|
|
(21), (22) Заявка: 2003110543/11, 15.04.2003
(24) Дата начала отсчета срока действия патента:
15.04.2003
(43) Дата публикации заявки: 20.11.2004
(46) Опубликовано: 20.11.2007
(56) Список документов, цитированных в отчете о поиске:
US 4337686 А, 06.07.1982. US 2957311 А, 25.10.1960. SU 1389672 A3, 15.04.1988. SU 1136988 A1, 30.01.1985.
Адрес для переписки:
101000, Москва, М.Златоустинский пер., 10, кв.15, “ЕВРОМАРКПАТ”, пат.пов. М.Б.Веселицкому, рег. № 0503
|
(72) Автор(ы):
Леонардо КАДЕДДУ (IT)
(73) Патентообладатель(и):
ВИТ С.П.А. ВАКУУМ ЭНД ХАЙДРОЛИК ПРОДАКТС ИТАЛИ (IT)
|
(54) ГИДРАВЛИЧЕСКОЕ ТОРМОЗНОЕ УСТРОЙСТВО С ПОВЫШЕННОЙ ЧУВСТВИТЕЛЬНОСТЬЮ
(57) Реферат:
Изобретение относится к области машиностроения, а именно к тормозным устройствам механических транспортных средств. Гидравлическое тормозное устройство содержит главный тормозной цилиндр и гидравлический усилитель тормозного привода, в корпусе которого расположен герметично перемещающийся в нем по скользящей посадке гидравлический поршень. Поршень разделяет рабочую полость усилителя на переднюю и заднюю камеры. Камеры в исходном положении сообщаются между собой и заполнены гидравлической тормозной жидкостью высокого давления, а при торможении соединяющая их магистраль перекрывается. Магистраль, соединяющая вторую камеру усилителя с главным тормозным цилиндром, открывается, и поршень усилителя приходит в движение. Тормозное устройство содержит сливную полость, соединяемую с передней камерой усилителя и рабочей полостью главного тормозного цилиндра. Достигается возможность обеспечения контроля усилия торможения и процесса торможения. 2 н. и 5 з.п. ф-лы, 3 ил.
Настоящее изобретение относится к обладающему высокой чувствительностью гидравлическому тормозному устройству (гидравлическому тормозному приводу) для самоходных механических транспортных средств, в частности сельскохозяйственных машин, например тракторов.
В настоящее время известно гидравлическое тормозное устройство, имеющее главный тормозной цилиндр, который имеет по меньшей мере один поршень, приводимый в действие управляющим стержнем, соединенным с педалью тормоза, приложенное к которой усилие увеличивается создающим способствующее торможению усилие “закрытым в центральном положении” гидравлическим усилителем тормозного привода с гидравлическим поршнем, а также имеющее гидравлический аккумулятор высокого давления. В известном гидравлическом тормозном устройстве подобного типа в исходном положении магистраль, соединяющая между собой “закрытый в центральном положении” гидравлический усилитель тормозного привода и аккумулятор, перекрывается до гидравлического поршня усилителя, который заполняется жидкостью при низком давлении. Во время торможения магистраль, соединяющая усилитель и аккумулятор, открывается, и в усилитель из аккумулятора поступает жидкость высокого давления, под действием которого гидравлический поршень усилителя перемещается вперед в направлении главного тормозного цилиндра и нагружает его поршень увеличенным в гидравлическом усилителе усилием торможения. Давление в аккумуляторе создается, например, гидравлическим насосом.
“Закрытый в центральном положении” усилитель обладает определенным недостатком, который связан с образованием при нажатии на педаль тормоза потока жидкости высокого давления, поступающей из аккумулятора в усилитель, и проявляется в том, что водитель не имеет возможности достаточно точно контролировать усилие торможения и весь слишком резкий процесс торможения.
Кроме того, срабатывание закрытого в центральном положении усилителя известной конструкции вызывает у водителя при нажатии на педаль тормоза крайне неприятное ощущение и создает определенное чувство дискомфорта.
Исходя из вышеизложенного, в основу настоящего изобретения была положена задача разработать гидравлическое тормозное устройство, которое обеспечивало бы возможность водителю более точно контролировать усилие торможения и весь процесс торможения.
Еще одна задача изобретения состояла в разработке гидравлического тормозного устройства, в котором передаваемая на педаль тормоза реакция от усилия торможения не вызывала бы у водителя неприятных ощущений и воспринималась им достаточно комфортно.
Поставленная в изобретении задача решается с помощью предлагаемого в нем гидравлического тормозного устройства, содержащего главный тормозной цилиндр и “закрытый в центральном положении” гидравлический усилитель тормозного привода, в котором (усилителе) магистраль, соединяющая гидравлический усилитель и источник жидкости высокого давления, перекрывается за поршнем гидравлического усилителя.
Иными словами, в настоящем изобретении предлагается гидравлическое тормозное устройство, которое содержит главный тормозной цилиндр и гидравлический усилитель тормозного привода, в корпусе которого (усилителя) расположен подвижный гидравлический поршень с уплотнением, который разделяет внутреннюю полость усилителя на первую и вторую камеры, которые в исходном положении сообщаются между собой и заполнены жидкостью высокого давления, при этом при торможении магистраль, соединяющая камеры усилителя, перекрывается, а магистраль, соединяющая вторую камеру усилителя с главным тормозным цилиндром, открывается, и поршень усилителя приходит в движение.
Преимущество предлагаемого в изобретении гидравлического тормозного устройства состоит в том, что при его применении имеющиеся в контуре торможения, в частности в колесных тормозных механизмах механического транспортного средства, рабочие зазоры выбираются непосредственно в первый момент торможения. При этом такие зазоры выбираются незаметно для водителя, у которого поэтому не возникает неприятного ощущения, что торможение происходит с определенным запаздыванием.
Основным объектом настоящего изобретения является гидравлическое тормозное устройство, содержащее главный тормозной цилиндр, который имеет по меньшей мере один гидравлический поршень, образующий соединенную с колесными тормозными механизмами транспортного средства рабочую полость главного тормозного цилиндра, в которой при торможении создается соответствующее давление, а также содержащее гидравлический усилитель тормозного привода с поршнем, разделяющим рабочую полость усилителя на первую и вторую камеры, устройство, которое открывает и перекрывает магистраль, соединяющую камеры усилителя, и источник гидравлической жидкости высокого давления, соединенный с гидравлическим усилителем, при этом такое тормозное устройство приводится в действие соединенным с педалью тормоза управляющим стержнем, соединенным с герметично перемещающимся в поршне усилителя по скользящей посадке управляющим плунжером, и отличающееся тем, что в исходном положении задняя и передняя камеры усилителя соединены между собой и заполнены гидравлической тормозной жидкостью, создающей в них давление, приблизительно равное давлению источника гидравлической жидкости высокого давления.
Другим объектом настоящего изобретения является тормозное устройство, отличающееся тем, что поршень усилителя состоит из собственно поршня и штока, который приводится в действие и перемещается управляющим стержнем.
В настоящем изобретении предлагается также тормозное устройство, отличающееся тем, что рабочая полость усилителя соединяется с рабочей полостью главного тормозного цилиндра соединительными каналами и системой клапанов.
Еще одним объектом настоящего изобретения является тормозное устройство, отличающееся тем, что система клапанов содержит первый клапан с седлом и запорным элементом, который открывается при перемещении расположенного внутри штока поршня усилителя управляющего плунжера упирающимся в него толкателем, и второй клапан с седлом и запорным элементом, который открывается под действием разности давлений в рабочей полости усилителя и рабочей полости главного тормозного цилиндра.
В настоящем изобретении предлагается также тормозное устройство, отличающееся тем, что шток гидравлического поршня усилителя имеет первый участок с относительно большим наружным диаметром, который расположен ближе к педали тормоза, и второй участок, который имеет меньший наружный диаметр и расположен в осевом направлении напротив первого участка.
Еще одним объектом настоящего изобретения является тормозное устройство, отличающееся наличием сливной полости, которую можно соединить с передней камерой усилителя первой соединительной магистралью и с рабочей полостью главного тормозного цилиндра второй соединительной магистралью.
Объектом настоящего изобретения является также тормозная система, отличающаяся наличием двух описанных выше тормозных устройств, соединенных между собой уравнителем давления.
Ниже настоящее изобретение более подробно рассмотрено со ссылкой на прилагаемые чертежи, на которых передняя и задняя камеры усилителя изображены соответственно слева и справа и на которых показано:
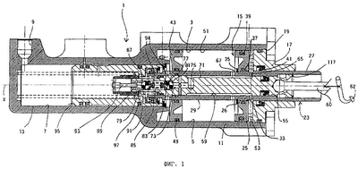
на фиг.1 – продольный разрез предлагаемого в изобретении гидравлического тормозного устройства в исходном положении,
на фиг.2 – продольный разрез показанного на фиг.1 гидравлического тормозного устройства на первой стадии торможения и
на фиг.3 – продольный разрез показанного на фиг.1 гидравлического тормозного устройства на второй стадии торможения.
На фиг.1 показано предлагаемое в настоящем изобретении гидравлическое тормозное устройство (гидравлический тормозной привод) D1 с несимметричным по форме корпусом 1 и продольной осью X. В корпусе 1 выполнено отверстие 3, которое образует расположенную в задней части корпуса первую полость 5 большого диаметра и расположенную в передней части корпуса вторую полость 7, диаметр которой меньше диаметра первой полости. В первой полости 5 расположен гидравлический усилитель тормозного привода, а во второй полости 7, которая через выполненное под прямым углом к оси Х отверстие 9 соединена по меньшей мере с одним колесным тормозным механизмом транспортного средства, расположен главный тормозной цилиндр 13. Гидравлический поршень 15 гидравлического усилителя 11, который имеет соответствующие уплотнения, проходит через направляющее отверстие втулки 17, которая закрывает заднюю часть 19 полости 5, и может перемещаться по скользящей посадке внутри этой полости вдоль оси X. Имеющий форму диска 25 поршень гидравлического поршня 15 усилителя неподвижно закреплен на штоке 23, выполненном в виде трубки, состоящей, если смотреть в продольном направлении от заднего конца к переднему, из первого участка 27 сравнительно большого диаметра и второго расположенного ближе к заднему концу участка 29 с меньшим диаметром, который соединен с первым участком 27 сравнительно большого диаметра сужающимся в направлении переднего конца трубки коническим участком 26, который входит в коническую часть 33 центрального внутреннего отверстия поршня 25. При сборке конический участок 26 штока 23 вставляется в отверстие 33 поршня 25, и отжатый в направлении переднего конца штока поршень крепится к штоку стопорным пружинным кольцом 35. Уплотнение усилителя осуществляется с помощью соответствующих уплотнительных элементов, при этом для создания уплотнения между штоком и поршнем можно использовать, например, уплотнительное кольцо 37 с круглым поперечным сечением, для создания уплотнения между поршнем 25 и внутренней поверхностью полости 7 можно использовать такое же уплотнительное кольцо 39, а для создания уплотнения между штоком и направляющей втулкой 17 можно использовать манжету 41. Рабочая полость 5 усилителя тормозного привода отделена от рабочей полости 7 главного тормозного цилиндра неподвижной герметично запрессованной в корпус перегородкой 43 с расположенным на ее внешнем диаметре уплотнительным элементом, например уплотнительным кольцом 49 с круглым поперечным сечением, и уплотнительным элементом, расположенным в ее внутреннем центральном отверстии 45, через которое проходит подвижный шток 23, передний конец которого при этом входит внутрь рабочей полости 7 главного тормозного цилиндра.
Поршень 25 делит рабочую полость 5 на первую заднюю камеру 53 и вторую переднюю камеру 51. В центральном отверстии 55 штока 23 расположен герметично перемещающийся в нем по скользящей посадке управляющий плунжер 59, первый – задний – конец которого соединен с управляющим стержнем 60, который в свою очередь соединен с соответствующим приводящим его в движение элементом, в частности с педалью 62 тормоза. В исходном положении передняя камера 51 и задняя камера 53 соединены между собой через отверстие 55 штока и через выполненные в нем отверстия 65, 67, оси которых расположены перпендикулярно продольной оси Х усилителя.
Управляющий плунжер 59 имеет предназначенную для соединения передней камеры 51 усилителя с рабочей полостью 7 главного тормозного цилиндра систему 69 каналов, которая состоит из расположенного на внешней поверхности управляющего плунжера 59 параллельного оси Х канала 71 и соединенного с ним радиальным отверстием 75 отверстия 73, выполненного в передней части управляющего плунжера 59. В отверстии 73, выполненном в передней части управляющего плунжера 59, расположены первый клапан 77 и второй клапан 79, выполненные в показанном на фиг.1, 2 и 3 не ограничивающем изобретения примере в виде гидравлически управляемого клапана (первый клапан 77) и механически управляемого клапана (второй клапан 79).
Первый клапан 77 состоит из седла 81, выполненного, например, в виде буртика на внутренней поверхности отверстия 73, и запорного элемента, выполненного, например, в виде шарика 83, который прижимается к седлу 81 пружиной 85. Второй клапан 79 состоит из седла 87, выполненного на первом в продольном направлении конце втулки 89, запрессованной в переднюю часть отверстия 73, и запорного элемента, выполненного, например, в виде шарика 91, прижатого к седлу 87 пружиной 85. Клапан 79 открывается толкателем 93, неподвижно связанным с гидравлическим поршнем 95 главного тормозного цилиндра 13. Между первым шариком 83 и вторым шариком 91 расположена пружина 85 сжатия, которая прижимается к шарикам через первый и второй опорные вкладыши 94. Главный тормозной цилиндр 13 имеет перемещающийся по скользящей посадке в рабочей полости 7 главного тормозного цилиндра гидравлический поршень 95, герметичность которого обеспечивается, например, с помощью уплотнительных колец с круглым поперечным сечением, которые расположены в канавках, выполненных на наружной поверхности поршня 95. По своей форме поршень напоминает стакан с внутренним кольцевым выступом 97, в котором по скользящей посадке перемещается передний конец управляющего плунжера 59. Кольцевой выступ 97, который имеет передний образующий буртик торец 99 и задний образующий буртик торец 101, делит внутреннюю полость стакана на переднюю часть 103 с относительно небольшим внутренним диаметром и заднюю часть 105, диаметр которой больше диаметра передней части стакана.
Толкатель 93, предназначенный для механического открытия второго клапана 79, расположенного в управляющем плунжере 59, закреплен на втулке 107, на заднем конце которой имеется буртик, прижатый расположенной в рабочей полости 7 главного тормозного цилиндра пружиной 96 сжатия к торцу 99 поршня главного тормозного цилиндра. Пружина 96 предназначена для возврата гидравлического поршня 95 в исходное положение, которое определяется положением упора 109, который выполнен, например, в виде стопорного пружинного кольца, расположенного в канавке на внутренней поверхности рабочей полости 7, и между которым и задним торцом поршня расположено уплотнение 111, выполненное, например, в виде плоской прокладки. Расположенная между задним торцом втулки 107 и буртиком 115, выполненным на внешней поверхности управляющего плунжера 59, пружина 113 предназначена для возврата управляющего плунжера в исходное положение, которое определяется положением упора 117, выполненного, например, в виде стопорного пружинного кольца, расположенного в канавке на внутренней поверхности задней части отверстия 55 штока 23.
В рабочей полости 5 усилителя имеется сливная полость или камера 119, расположенная между вторым направляющим диском 43 и тем участком корпуса 1, который входит внутрь полости 5 и образует задний конец рабочей полости 7. Сливную камеру 119 можно соединить с передней камерой 51 усилителя и рабочей полостью 7 главного тормозного цилиндра соответственно первой и второй соединительными магистралями 121 и 123. Первая соединительная магистраль 121 образована первым сливным отверстием 125, которое выполнено в управляющем плунжере 59 под прямым углом к оси Х и проходит от центрального отверстия 73 до внешней поверхности управляющего плунжера 59, и вторыми сливными отверстиями 127, которые выполнены в штоке 23 под прямым углом к оси Х и соединяют сливную камеру с отверстием 55 штока. На внутренней поверхности штока 23 выполнена канавка 128, в которой находится уплотнительный элемент 126, в частности уплотнительное кольцо с круглым поперечным сечением, которое предназначено для герметичного перекрытия канала, соединяющего между собой первое сливное отверстие 125 и второе сливное отверстие 127.
Во второй соединяющей сливную камеру 119 с рабочей полостью 7 главного тормозного цилиндра соединительной магистрали 123 расположена установленная в имеющей сравнительно большой диаметр задней части 105 внутренней полости поршня 95 главного тормозного цилиндра манжета 129, которая перекрывает соединительную магистраль на имеющем сравнительно большой диаметр заднем участке 131 переднего конца штока 23 и не перекрывает ее на переднем имеющем сравнительно небольшой диаметр и длину L участке 133 переднего конца штока. Крепление манжеты 129 осуществляется с помощью пакета регулировочных шайб 135 и соответствующего упора, выполненного, например, в виде стопорного пружинного кольца, установленного в канавке, выполненной на внутренней поверхности имеющей сравнительно большой диаметр задней части 105 внутренней полости гидравлического поршня 95. В сливной камере 119 имеется отверстие 137, через которое тормозная жидкость сливается из тормозного устройства обратно в бачок для тормозной жидкости (на чертежах не показан).
Описанное выше тормозное устройство D1 обычно используется вместе с другим таким же устройством D2, которые установлены соответственно на двух колесных осях A1, A2 и соединены с уравнителем В давления, который в этом случае уравнивает давление в тормозных устройствах D1 и D2. Выполненное в стенке рабочей полости 7 главного тормозного цилиндра под прямым углом к оси Х соединительное отверстие 139 и второе соединительное отверстие 141, выполненное на имеющем сравнительно небольшой диаметр участке 10 гидравлического поршня 95, предназначены для соединения первого и второго тормозного устройства D1 и D2 с уравнителем В давления, а установленные в канавках, выполненных на внешней поверхности поршня 95, два уплотнительных кольца 143 с круглым поперечным сечением герметично отделяют соединительное отверстие 139 от рабочей полости 7. При торможении установленные на поршне 95 уплотнительные кольца 143 перемещаются в осевом направлении вперед и удаляются от отверстия 137, и соединенная с отверстием 137 рабочая полость 7 через отверстие 141 соединяется с отверстием 139.
Первое и второе тормозные устройства D1 и D2 приводятся в действие обычным способом, в частности соединенными с их управляющими стержнями педалями 62, 64 тормоза, которые при наличии съемного соединительного устройства можно использовать одновременно. При движении трактора, оборудованного двумя тормозными устройствами D1, D2 и соответственно двумя педалями 62, 64 тормоза, по обычной дороге с твердым покрытием, а не по обработанной почве или полю соединенные между собой педали 62, 64 можно использовать для одновременного торможения осей A1, A2 обоих колес. При движении трактора по полю педалями 62, 64 тормоза можно пользоваться независимо друг от друга, нагружая при повороте трактора оси A1, A2 колес разными тормозными моментами.
Тормозное устройство имеет также источник (на чертежах не показан) жидкости высокого давления, равного приблизительно 15-30, предпочтительно 18-20 бар, которая подается из него в усилитель тормозного привода. В качестве такого источника можно использовать работающий от насоса аккумулятор, постоянно соединенный с задней камерой 53 усилителя. В исходном положении в заполненных жидкостью задней и передней камерах 53 и 51 усилителя создается одно и то же давление, которое по существу определяется давлением в источнике жидкости высокого давления.
Ниже более подробно рассмотрена работа предлагаемого в изобретении гидравлического тормозного устройства.
В исходном, показанном на фиг.1 положении управляющий плунжер 59 упирается в стопорное кольцо 117. При этом относительное положение управляющего плунжера 59 и штока 23, а точнее, поперечного отверстия 65 задней камеры 53 усилителя и продольного канала 71 управляющего плунжера 59 таково, что через отверстие 65 и 67 и канал 71 задняя камера 53 усилителя сообщается с его передней камерой 51. В это время магистраль, соединяющая переднюю камеру 51 усилителя с рабочей полостью 7 главного тормозного цилиндра 13, перекрыта системой клапанов 77, 79, расположенных в передней части управляющего плунжера 59.
Магистраль, соединяющая переднюю камеру 51 гидравлического усилителя 11 со сливной камерой 119, перекрыта установленным в выполненной на внутренней поверхности штока 23 канавке 128 уплотнительным кольцом 126, которое расположено между первым сливным отверстием 125, выполненным в управляющем плунжере 59, и вторым сливным отверстием 127, выполненным в штоке 23.
В исходном положении манжета 129 не прижимается к имеющему сравнительно большой диаметр заднему участку 131 и не перекрывает магистраль 123, соединяющую сливную камеру 119 с рабочей полостью 7 главного тормозного цилиндра.
При торможении водитель нажимает на педаль тормоза, которая перемещает управляющий стержень 58 и управляющий плунжер 59 вперед в осевом направлении. Перемещение управляющего плунжера 59 относительно штока 23 сопровождается перекрытием магистрали, соединяющей между собой заднюю и переднюю камеры 53, 51 усилителя. При движении управляющего плунжера 59 вперед его расположенный за каналом 71 участок перекрывает отверстие 65. При перемещении (в осевом направлении) плунжера 59 относительно поршня 95 главного тормозного цилиндра 13 закрепленный на неподвижной относительно поршня 95 втулке 107 толкатель 93 упирается в шарик второго клапана 79 и, сжимая пружину 85, отрывает шарик от седла 87, открывая тем самым второй клапан 79.
Под действием разности давлений в передней камере 51 гидравлического усилителя 11 и в рабочей полости 7 главного тормозного цилиндра шарик первого клапана 77, преодолевая усилие пружины 85, отходит от седла 81 клапана и открывает первый клапан 77. После открытия первого клапана жидкость, находящаяся в первой камере 51 усилителя под давлением, которое больше давления в рабочей полости 7, начинает перетекать из усилителя в рабочую полость 7 по системе 69 каналов, состоящей из отверстия 67, продольного канала 71, радиального отверстия 75, отверстия 73, выполненного в передней части управляющего плунжера 59, и открытых клапанов 77, 79.
Открытие клапанов сопровождается падением давления в передней камере 51 усилителя и перемещением вперед поршня 15 усилителя под действием разности давлений в задней и передней камерах 53 и 51 усилителя.
До этого момента магистраль 123, соединяющая рабочую полость 7 со сливной камерой 119, оставалась открытой, и при свободном сливе тормозной жидкости из тормозного цилиндра в камеру 119 слива давление в тормозном цилиндре не поднималось. При этом, однако, давление в рабочей полости 7 и во всем контуре торможения было достаточным для выборки в контуре торможения различных люфтов, препятствующих эффективному торможению.
При движении вперед поршня 15 усилителя его шток 23 перемещается относительно неподвижно установленной в гидравлическом поршне 95 главного тормозного цилиндра манжеты 129 и перекрывает вторую соединительную магистраль 123. При перемещении поршня 15 и штока 23 вперед манжета 129 прижимается к имеющему сравнительно большой диаметр заднему участку 131 переднего конца штока и герметично перекрывает магистраль, соединяющую рабочую полость 7 главного тормозного цилиндра со сливной камерой 119, в результате чего давление в рабочей полости 7 главного тормозного цилиндра 15 поднимается и создает приложенную к переднему торцу управляющего плунжера 59 реакцию от усилия торможения, которая суммируется с усилием пружины 116.
Таким образом, при торможении перемещающийся относительно управляющего плунжера 59 шток 23 поршня 15 гидравлического усилителя проходит большее по сравнению с управляющим плунжером 59 расстояние и через открытую магистраль, соединяющую между собой заднюю и переднюю камеры 53 и 51 усилителя, в переднюю камеру 51 поступает тормозная жидкость высокого давления.
Под действием возрастающего в рабочей полости 7 давления и усилия пружины 85 шарик 83 прижимается к седлу 81 и закрывает первый клапан 77.
При относительном перемещении поршня 15 усилителя и управляющего плунжера 59 первое сливное отверстие 125 управляющего плунжера соединяется со вторым сливным отверстием 127 штока 23, и первая соединительная магистраль 121 открывается. После открытия первой соединительной магистрали 121 находящаяся в передней камере 51 усилителя под высоким давлением тормозная жидкость сливается по открытой магистрали в камеру 119 слива. При этом давление в камерах 53 и 51 усилителя становится разным, и поршень 15 усилителя перемещается вперед. При перемещении поршня 15 усилителя вперед передний торец штока 23 упирается в задний торец 101 кольцевого выступа 97 поршня 95 главного тормозного цилиндра, который перемещается вперед и повышает давление в рабочей полости 7 главного тормозного цилиндра (и в контуре торможения) до давления торможения. Давление в рабочей полости 7 главного тормозного цилиндра 13 пропорционально усилию, приложенному водителем к педали тормоза, и связано с ним следующей зависимостью (1):

где F обозначает усилие, приложенное к педали, F2 обозначает усилие пружины 116, F3 обозначает усилие пружины 85, P3 обозначает давление в полости 7, А3 обозначает площадь поперечного сечения поршня 95, F1 обозначает усилие возвратной пружины 113, P53 обозначает давление в задней камере 53 усилителя, P51 обозначает давление в передней камере 51 усилителя, А7 обозначает площадь поперечного сечения рабочей полости 7, А51 обозначает площадь поперечного сечения передней камеры 51 и задней камеры 53, А29 обозначает площадь поперечного сечения имеющего относительно небольшой диаметр участка 29 штока 23, а А27 обозначает площадь поперечного сечения имеющего относительно большой диаметр участка 27 штока 23.
Гидравлический усилитель обеспечивает увеличение усилия F и давления в рабочей полости 7 главного тормозного цилиндра в соответствии с формулой (1) до тех пор, пока давление в передней камере 51 усилителя не сравняется с атмосферным. В этот момент тормозное устройство входит в режим насыщения. В режиме насыщения любое изменение F усилия, приложенного водителем к педали тормоза, приведет к изменению давления Р в рабочей полости 7 главного тормозного цилиндра, равному Р= F/А7.
Предлагаемое в настоящем изобретении тормозное устройство возвращается в исходное положение следующим образом. Водитель снимает усилие с педали тормоза, которая под действием пружины 116 возвращает в исходное положение управляющий плунжер 59 и закрывает второй клапан 79, в результате чего соединительная магистраль между задней и передней камерами 53 и 51 усилителя открывается, давления в камерах 53 и 51 выравниваются, и поршень 15 усилителя возвращается в исходное положение.
После этого предлагаемое в настоящем изобретении устройство можно опять использовать для торможения.
При появлении неисправности в источнике тормозной жидкости высокого давления предлагаемое в изобретении устройство работает как обычный главный тормозной цилиндр без усилителя. При нажатии водителем на педаль тормоза управляющий плунжер 59 упирается его задним концом в буртик, выполненный на внутренней поверхности отверстия 51 штока 23, и перемещает шток 23, конец которого с помощью манжеты 129 перекрывает магистраль между рабочей полостью 7 главного тормозного цилиндра и сливной камерой 119. Одновременно передний конец штока упирается в выполненный на внутренней поверхности поршня 95 задний торец 101 и перемещает поршень вперед. При закрытом из-за отсутствия перепада давлений клапане 77 и закрытой магистрали между рабочей полостью 7 главного тормозного цилиндра и сливной камерой 119 перемещение поршня в заполненном тормозной жидкостью главном тормозном цилиндре сопровождается увеличением давления в главном тормозном цилиндре и в соединенных с ним тормозных гидроцилиндрах.
Описанное выше тормозное устройство решает поставленную в изобретении задачу и обеспечивает возможность плавного торможения за счет подачи в рабочую полость 7 главного тормозного цилиндра, а из него через выходное отверстие 9 в контур торможения тормозной жидкости высокого давления в количестве, пропорциональном усилию торможения, приложенному к педали тормоза водителем, который при таком торможении не испытывает никаких неприятных ощущений.
Очевидно, что в предлагаемом в изобретении тормозном устройстве можно использовать не только шариковые клапаны 77 и 79, но и клапаны любого другого типа.
Определенная разница площадей поперечного сечения имеющего сравнительно большой диаметр первого участка 27 штока 23, расположенного за поршнем 25, и поперечного сечения имеющего сравнительно небольшой диаметр второго участка 29 штока 23, расположенного перед поршнем 25, позволяет создать приложенное к поршню 15 усилителя усилие, под действием которого поршень 15 усилителя возвращается в крайнее заднее исходное положение и удерживается в нем при снятом с педали тормоза усилии. За счет этого в предлагаемом в изобретении устройстве можно не только использовать более слабую возвратную пружину, но и вообще отказаться от ее применения.
Настоящее изобретение предназначено, в частности, для использования в различных механических транспортных средствах сельскохозяйственного назначения.
Основной областью применения настоящего изобретения являются тормозные системы механических транспортных средств, используемых в сельском хозяйстве.
Формула изобретения
1. Гидравлическое тормозное устройство, содержащее главный тормозной цилиндр (13), который имеет по меньшей мере один гидравлический поршень (95), образующий рабочую полость (7) главного тормозного цилиндра, которая соединена с колесными тормозными механизмами механического транспортного средства и в которой создается соответствующее давление, а также содержащее гидравлический усилитель (11) тормозного привода с поршнем (15), разделяющим рабочую полость (5) усилителя на первую и вторую камеры (53 и 51), средства (65, 67, 71) для открытия и перекрытия магистрали, соединяющей между собой камеры (53, 51) усилителя, и источник гидравлической жидкости высокого давления, соединенный с гидравлическим усилителем, при этом такое тормозное устройство приводится в действие соединенным с педалью тормоза (62) управляющим стержнем (60), соединенным с герметично перемещающимся в поршне (15) усилителя по скользящей посадке управляющим плунжером (59), причем в исходном положении задняя и передняя камеры (53) и (51) усилителя соединены между собой и заполнены гидравлической тормозной жидкостью, создающей в них давление, приблизительно равное давлению источника гидравлической жидкости высокого давления, отличающееся тем, что оно содержит сливную полость (119), соединяемую с передней камерой (51) усилителя и рабочей полостью (7) главного тормозного цилиндра.
2. Тормозное устройство по п.1, отличающееся тем, что поршень (15) усилителя состоит из собственно поршня (25) и штока (23), который приводится в действие и перемещается управляющим стержнем (60).
3. Тормозное устройство по п.1, отличающееся тем, что рабочая полость (5) усилителя соединяется с рабочей полостью (7) главного тормозного цилиндра соединительными каналами (71, 73, 75) и системой клапанов (77, 79, 93).
4. Тормозное устройство по п.3, отличающееся тем, что система клапанов содержит первый клапан (79) с седлом (87) и запорным элементом (91), который открывается при перемещении расположенного внутри штока (23) поршня (15) усилителя управляющего плунжера (59) упирающимся в него толкателем (93), и второй клапан (77) с седлом (81) и запорным элементом (83), который открывается под действием разности давлений в рабочей полости (5) усилителя и рабочей полости (7) главного тормозного цилиндра.
5. Тормозное устройство по любому из пп.2-4, отличающееся тем, что шток (23) гидравлического поршня усилителя имеет первый участок (27) с относительно большим наружным диаметром, который расположен ближе к педали тормоза (62), и второй участок (29), который имеет меньший наружный диаметр и расположен в осевом направлении против первого участка (27).
6. Тормозное устройство по п.1, отличающееся тем, что сливная полость (119), соединяется с передней камерой (51) усилителя первой соединительной магистралью (121), а с рабочей полостью (7) главного тормозного цилиндра – второй соединительной магистралью(123).
7. Тормозная система, отличающаяся наличием двух тормозных устройств по любому из предыдущих пунктов, соединенных между собой уравнителем давления.
РИСУНКИ
|
|