|
|
(21), (22) Заявка: 2005103831/11, 09.07.2003
(24) Дата начала отсчета срока действия патента:
09.07.2003
(30) Конвенционный приоритет:
15.07.2002 FR 0208929
(43) Дата публикации заявки: 10.08.2005
(46) Опубликовано: 20.11.2007
(56) Список документов, цитированных в отчете о поиске:
ЕР 0388178 А, 19.09.1990. FR 2744954 А, 22.08.1997. JP 06 191219 А, 12.07.1994. WO 9924270 А, 20.05.1999.
(85) Дата перевода заявки PCT на национальную фазу:
15.02.2005
(86) Заявка PCT:
EP 03/07366 (09.07.2003)
(87) Публикация PCT:
WO 2004/007220 (22.01.2004)
Адрес для переписки:
129010, Москва, ул. Б.Спасская, 25, стр.3, ООО “Юридическая фирма Городисский и Партнеры”, пат.пов. Е.И.Емельянову
|
(72) Автор(ы):
ФЕРЛЭН Оливье (FR)
(73) Патентообладатель(и):
СОСЬЕТЕ ДЕ ТЕКНОЛОЖИ МИШЛЕН (FR), МИШЛЕН РЕШЕРШ Э ТЕКНИК С.А. (CH)
|
(54) ПНЕВМАТИЧЕСКАЯ ШИНА ДЛЯ БОЛЬШЕГРУЗНОГО ТРАНСПОРТНОГО СРЕДСТВА
(57) Реферат:
Изобретение относится к пневматической шине, содержащей радиальную каркасную арматуру, над которой в радиальном направлении находится арматура гребня, состоящая, по меньшей мере, из двух рабочих слоев гребня, образованных металлическими усилительными элементами. Эти элементы пересекаются от одного слоя к следующему, образуя с окружным направлением углы, находящиеся в пределах от 10 до 35°. Также арматура гребня включает по меньшей мере одну дополнительную арматуру, образованную металлическими усилительными элементами, ориентированными в окружном направлении. Дополнительную арматуру выполняют, по меньшей мере, из двух пластов металлических элементов малого диаметра, не превышающего 0,6 мм. Металлические усилительные элементы дополнительной арматуры являются сборками типа 1×n, при этом n составляет от 2 до 5, из стали с высоким сопротивлением на разрыв SHT, а диаметр нитей находится в пределах от 12/100 до 30/100 мм. Технический результат – повышение прочности и износостойкости шины. 9.з.п. ф-лы, 3 ил.
Настоящее изобретение относится к пневматической шине с радиальной каркасной арматурой, закрепленной в каждом борте, по меньшей мере, на одном бортовом кольце и содержащей арматуру гребня, состоящую, по меньшей мере, из двух так называемых рабочих слоев, наложенных друг на друга в радиальном направлении и образованных усилительными элементами, параллельными между собой в каждом слое и пересекающимися от одного слоя к другому, образуя с окружным направлением пневматической шины угол, который может находиться в пределах от 10 до 35° по абсолютной величине.
Во многих случаях заявитель обнаружил, что некоторые аспекты качества рассматриваемой пневматической шины, в частности, используемой для большегрузных колесных транспортных средств, могут быть усовершенствованы за счет наличия в арматуре гребня дополнительного слоя, радиально расположенного между упомянутыми рабочими слоями гребня и образованного из металлических элементов, направленных, по существу, параллельно окружному направлению.
В заявке Франции 2 744 954 для понижения рабочей температуры пневматической шины грузового автотранспортного средства в качестве экономичного и эффективного решения предлагается использовать дополнительный слой круговых усилительных элементов, имеющий осевую ширину, по меньшей мере, равную 1,05 ширины самого широкого рабочего слоя, при этом усилительные элементы упомянутого дополнительного слоя имеют диаметр больший, чем диаметр элементов рабочих слоев.
В рамках этого решения дополнительный слой может состоять из сплошных стальных кордных нитей, называемых полуэластичными, то есть характеризующихся относительным удлинением при разрыве, превышающем 2%. Эти кордные нити позволяют получить уровень жесткости, обеспечивающий равномерное распределение по окружности натяжения между рабочими слоями гребня и дополнительными слоями. Упомянутые кордные нити предпочтительно называют «бимодулем», то есть они характеризуются кривой, выражающей напряжение растяжения в зависимости от относительного удлинения и содержащей пологие наклоны для небольших значений удлинения и, по существу, постоянный и крутой наклон для более высоких значений удлинения. Меньший модуль до вулканизации для значений удлинения менее 2% способствует увеличению окружного развертывания дополнительного слоя во время вулканизации пневматической шины.
Дополнительный слой может быть образован стальными кордными нитями, ориентированными в окружном направлении, разрезанными на отрезки длиной, намного меньшей окружной длины слоя, при этом разрывы между отрезками смещены в осевом направлении относительно друг друга. Такой вариант выполнения представляет собой простой способ придания дополнительному слою любой необходимой жесткости.
Выбор эластичных или разрезных кордных нитей для усиления дополнительного слоя не позволяет повысить усталостную прочность упомянутого слоя либо по причине снижения усилия разрыва эластичных кордных нитей либо вследствие наличия концентраций напряжения в смеси каландрирования разрезных кордных нитей.
В международной заявке WO 99/24270 отмечается, что повысить сопротивление расслоению между каркасным слоем и арматурой гребня, между слоями гребня и усталостную прочность круговых усилительных элементов дополнительного слоя можно благодаря использованию сплошных в окружном направлении и волнистых в плоскости слоя металлических элементов в качестве усилительных элементов дополнительного слоя, при этом упомянутые волнистые элементы параллельны друг другу по фазе и ориентированы в окружном направлении таким образом, что соотношение / между амплитудой и длиной волны уменьшается по мере удаления от центра к краям упомянутого слоя и становится минимальным на упомянутых краях.
Из вышеупомянутых двух документов вытекает, что усилительные элементы упомянутого дополнительного слоя предпочтительно являются стальными кордными нитями большего диаметра, чем усилительные элементы двух рабочих слоев, смежных в радиальном направлении. Если структура, описанная в первом упомянутом документе (использование полуэластичных или разрезных усилительных элементов), ухудшает прочность на растяжение и снижает износоустойчивость собственно дополнительного слоя, то описанная во втором упомянутом документе структура (волнистые усилительные элементы) является сложной в изготовлении и, в частности, приводит к повышению производственных затрат, поскольку упомянутый дополнительный слой получают путем спиралеобразной намотки усилительного элемента вокруг соответствующей формы вплоть до получения общей ширины слоя.
Задачей настоящего изобретения является устранение указанных недостатков и разработка решения, позволяющего повысить сопротивление расслоению и износоустойчивость по сравнению с упомянутыми решениями, использующими разрезные усилительные элементы, и в то же время устранить проблемы изготовления и снизить производственные затраты по сравнению с решением, в котором используют толстые волнистые элементы.
Пневматическая шина в соответствии с настоящим изобретением содержит радиальную каркасную арматуру с наложенной на нее в радиальном направлении арматурой гребня, состоящей, по меньшей мере, из двух рабочих слоев гребня, образованных металлическими усилительными элементами, пересекающимися от одного слоя к другому, образуя с окружным направлением углы в пределах от 10 до 35°, и, по меньшей мере, одну дополнительную арматуру, образованную металлическими усилительными элементами, ориентированными в окружном направлении, при этом упомянутую дополнительную арматуру выполняют, по меньшей мере, из двух слоев металлических элементов малого диаметра, не превышающего 0,6 мм.
Окружное направление пневматической шины или продольное направление является направлением, соответствующим периферии пневматической шины, и определено направлением качения пневматической шины.
Поперечное или осевое направление пневматической шины является направлением, параллельным оси вращения пневматической шины.
Дополнительная арматура может состоять, по меньшей мере, из двух слоев элементов малого диаметра, при этом каждый слой содержит два края, перекрывающих друг друга в окружном направлении. Она может быть также выполнена путем намотки одного слоя с образованием, по меньшей мере, двух пластов, при этом арматура имеет только два свободных края: в начале и в конце намотки. Свободные края представляют собой особые точки или зоны, которые в соответствии с настоящим изобретением не приводят к неравномерному износу пневматической шины благодаря диаметру усилительных элементов.
Предпочтительно радиально внутри и/или снаружи концов пластов усилительных элементов малого диаметра дополнительной арматуры размещают пласты резиновой смеси по осевой ширине упомянутых пластов усилительных элементов. Эти пласты резиновых смесей позволяют отделить друг от друга упомянутые концы слоев в направлении, радиальном относительно их контакта.
Преимуществом выполнения дополнительной арматуры из одного или нескольких слоев, имеющих ширину арматуры, является способ укладки упомянутой арматуры в несколько оборотов. В плане производительности и, следовательно, экономичности выяснилось, что изготовление пневматической шины в соответствии с настоящим изобретением является более простым и быстрым, чем изготовление шин, в которых используют укладку нити или полосок путем спиралевидного наматывания. Кроме того, в пневматической шине в соответствии с настоящим изобретением усилительные элементы круговой арматуры укладывают под абсолютно нулевым углом относительно окружного направления, а не под незначительным, но все же превышающим 0° углом.
Наиболее приемлемыми для реализации изобретения усилительными элементами являются сборки из стали SHT (Super High Tensile) типа 1хn, где n составляет от 2 до 5, а диаметр нитей находится в пределах от 12/100 до 30/100 мм и предпочтительно превышает 15/100 мм. Поэтому предпочтительно усилительные элементы должны быть прядями, состоящими из n мононитей, обладающих ранее перечисленными характеристиками.
Как и в случае любой арматуры из круговых элементов, для обеспечения возможности изготовления рассматриваемой пневматической шины наиболее простым способом и при наименьших производственных затратах, при незначительных усилиях растяжения, действующих параллельно направлению усилительных элементов, арматура в соответствии с настоящим изобретением должна обладать некоторым относительным удлинением, необходимым для обеспечения возможности большего кругового развертывания арматуры гребня во время операций изготовления, чистовой обработки и вулканизации пневматической шины.
В связи с этим согласно первому варианту осуществления изобретения дополнительную арматуру выполняют из фракционированных усилительных элементов, то есть разрезанных на отрезки или совокупности отрезков длиной, меньшей окружной длины слоя или пласта, при этом разрывы между отрезками или совокупностями отрезков смещены в окружном направлении относительно друг друга.
Согласно предпочтительному варианту выполнения усилительные элементы разрезают на 3-12 отрезков на один оборот.
Согласно этому варианту осуществления изобретения, поскольку укладку усилительных элементов производят в двух измерениях, из которых первым является осевое направление, а вторым – радиальное направление, то зоны, в которых усилительные элементы отсутствуют, распределены лучше, чем в случае, когда полоски или нити распределяются только в одном пласте. Точнее говоря, на одной и той же осевой или меридиональной линии пневматической шины оказывается меньше зон без усилительных элементов.
Согласно второму варианту выполнения настоящего изобретения длина усилительных элементов дополнительной арматуры по обороту в плоскости каждого пласта превышает на 0-3% длину укладки упомянутых элементов. Иначе говоря, остаточное удлинение на пневматической шине меньше 3%, при этом остаточным удлинением является отношение разности между длиной усилительных элементов на оборот и развертыванием укладки или длиной оборота к упомянутому развертыванию укладки. Эта разность между длиной усилительных элементов и длиной укладки предпочтительно распределяется периодично и равномерно по обороту. Длина по обороту усилительных элементов дополнительной арматуры в плоскости каждого пласта предпочтительно превышает на 0-2% и еще предпочтительнее на 1-1,4% длину укладки упомянутых элементов.
Согласно этому второму варианту дополнительная арматура образована элементами, волнистыми в плоскости каждого слоя или пласта, при этом элементы располагают по определенной синусоиде, длина волны которой находится в пределах от 20 до 100 мм.
Согласно этому второму варианту осуществления настоящего изобретения дополнительный слой предпочтительно выполняют из усилительных элементов, ориентированных в продольном направлении, а сам слой укладывают зигзагообразно так же, как было указано выше. Такую волнистость можно выполнять любыми известными специалистам способами.
Согласно другому варианту осуществления изобретения дополнительную арматуру выполняют из слоев металлических усилительных элементов, характеризующихся кривой напряжения растяжения в зависимости от относительного удлинения, содержащей пологие наклоны для небольших удлинений и, по существу, постоянный и крутой наклон для более значительных удлинений.
Согласно предпочтительному варианту осуществления изобретения дополнительную арматуру располагают между двумя рабочими слоями гребня.
Согласно этому варианту дополнительная арматура имеет толщину менее 2,4 мм. Свыше этого значения сжатие или расширение во время качения могут привести к ухудшению характеристик.
Согласно другому варианту осуществления изобретения дополнительную арматуру располагают над рабочими слоями гребня. По этому варианту дополнительный слой можно использовать вместо защитного слоя. Действительно, свойства дополнительного слоя и, в частности, диаметр его усилительных элементов способствуют проникновению резины или каучуковой массы между кордными нитями, образующими усилительные элементы таким образом, что дополнительный слой в достаточной степени способствует защите, в частности, от коррозии и заменяет защитный слой, если его наличие необходимо для обеспечения этого свойства.
Другие преимущества и отличительные признаки настоящего изобретения будут более очевидны из описания примеров выполнения со ссылками на фигуры 1-3:
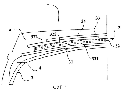
фиг.1 представляет схематический вид в меридиональном сечении арматуры гребня в соответствии с настоящим изобретением;
фиг.2 – вид в плане арматуры с показом отдельных слоев;
фиг.3 – вид сбоку дополнительной арматуры.
Для облегчения понимания фигуры представлены без соблюдения масштаба.
Пневматическая шина 1 размером 315 70 R22.5 X содержит радиальную каркасную арматуру, выполненную из одного слоя 2 нерастяжимых металлических кордных нитей, закрепленную в каждом борту, по меньшей мере, на одном бортовом кольце, образуя в намотанном виде вокруг бортового кольца оборот (не показан). Над упомянутой каркасной арматурой 2 в радиальном направлении укладывают арматуру 3 гребня, а над ней – протектор 5. Арматура 3 гребня содержит по направлению изнутри наружу:
– первый рабочий слой 31 гребня, выполненный из нерастяжимых бандажных металлических кордных нитей 27×23 (нерастяжимыми называют кордные нити, которые под действием усилия, равного 10% их прочности на разрыв, имеют относительное удлинение, не превышающее 2%), при этом упомянутые кордные нити имеют диаметр 1,3 мм, параллельны друг другу в слое и расположены с шагом 2,5 мм (измеренным перпендикулярно упомянутым кордным нитям). Упомянутые кордные нити образуют с окружным направлением угол (фиг.2), находящийся в пределах от 10 до 35°, и в описанном случае равный 18°. По своим краям упомянутый первый слой 31 отделен в радиальном направлении от находящейся непосредственно снизу каркасной арматуры профилями 4 из резиновой массы, имеющими, по существу, треугольную форму, что позволяет получить меридиональный профиль упомянутого слоя 31 практически нулевой кривизны;
– дополнительную арматуру 32, расположенную в радиальном направлении над первым рабочим слоем 31 и состоящую из трех пластов 321, 322, 323, выполненных путем намотки вокруг рабочего слоя 31 слоя 32, состоящего из совокупностей по пять отрезков нерастяжимых небандажных круговых кордных нитей, выполненных из стали SHT 3×18 (круговыми называют кордные нити, образующие с окружным направлением угол, находящийся в интервале 0±2,5°), малого диаметра, равного 0,4 мм, отделенных друг от друга шагом, равным 0,7 мм. На фиг.3 разрывы имеют явно преувеличенную и взятую произвольно длину, чтобы яснее показать упомянутые разрывы для трех оборотов намотки;
– при этом дополнительную арматуру 32 перекрывают вторым рабочим слоем 33 гребня, образованным бандажными металлическими кордными нитями 27×23, идентичными кордным нитям первого слоя 31, расположенными с таким же шагом и образующими с окружным направлением угол , противоположный углу кордных нитей первого слоя и в описанном случае равный упомянутому углу (хотя может и отличаться от упомянутого угла );
– при этом арматура 3 гребня дополнена слоем 34 так называемых эластичных стальных кордных нитей Е23, ориентированных относительно окружного направления под углом , имеющим то же направление, что и угол , и равный упомянутому углу (хотя может и отличаться от него), при этом упомянутый слой 34 является так называемым защитным слоем, и эластичные кордные нити являются нитями, обладающими при разрыве относительным удлинением, превышающим 4%.
Такую структуру легче реализовать благодаря использованию кордных нитей малого диаметра: слой, изготовленный каландрированием n параллельных кордных нитей, легко разрезается, легко наматывается, и, кроме того, учитывая лучшее пропитывание кордных нитей резиной для каландрирования, трещины в резине на концах кордных нитей в местах разрывов между отрезками появляются позже и распространяются медленнее, что значительно увеличивает пробег шины.
Отличные результаты могут быть также получены при замене трех пластов совокупностей отрезков тремя пластами кордных нитей, волнистых в плоскости каждого пласта. Например, в центре каждого пласта дополнительной арматуры упомянутые кордные нити имеют волнистость, соответствующую остаточному удлинению 0,5% и имеющую длину волны , равную 30 мм. Точно так же можно изменять в осевом направлении линейную жесткость растяжения пласта из отрезков кордных нитей, меняя число разрывов или длину отрезков, можно также изменять линейную жесткость путем уменьшения амплитуды волнистости: предпочтительно, чтобы амплитуда была меньше на краях пластов намотки, чем в центре упомянутых пластов.
Результаты, полученные благодаря изобретению, показывают, что пневматическая шина обладает свойствами, в частности, с точки зрения износоустойчивости, вполне сравнимыми с лучшими видами продукции, выпускаемыми в настоящее время, при значительно меньших производственных затратах. Действительно, использование усилительных элементов малого диаметра, а также выполнение слоя дополнительной круговой арматуры путем намотки только одного слоя или наложения друг на друга двух слоев и более, с одной стороны, позволяет упростить и удешевить изготовление и, с другой стороны, улучшает свойства износоустойчивости пневматических шин по сравнению с предшествующими технологиями.
Формула изобретения
1. Пневматическая шина Р, содержащая радиальную каркасную арматуру (1), над которой в радиальном направлении размещена арматура (3) гребня, состоящая, по меньшей мере, из двух рабочих слоев (31, 33) гребня, образованных металлическими усилительными элементами, пересекающимися от одного слоя (31) к следующему (33), образуя с окружным направлением углы, находящиеся в пределах от 10 до 35°, и по меньшей мере, из одной дополнительной арматуры (32), образованной металлическими усилительными элементами, ориентированными в окружном направлении, отличающаяся тем, что дополнительную арматуру (32) выполняют, по меньшей мере, из двух пластов (321, 322, 323) металлических элементов малого диаметра, не превышающего 0,6 мм, металлические усилительные элементы дополнительной арматуры (32) являются сборками типа 1×n, при этом n составляет от 2 до 5, из стали с высоким сопротивлением на разрыв SHT, а диаметр нитей находится в пределах от 12/100 до 30/100 мм.
2. Пневматическая шина по п.1, отличающаяся тем, что дополнительную арматуру (32) выполняют путем намотки только одного слоя с образованием, по меньшей мере, двух пластов металлических элементов.
3. Пневматическая шина по п.1, отличающаяся тем, что арматура гребня содержит пласты резиновой смеси радиально внутри и/или снаружи концов пластов усилительных элементов дополнительной арматуры по осевой ширине упомянутых пластов усилительных элементов.
4. Пневматическая шина по п.1, отличающаяся тем, что дополнительную арматуру (32) выполняют из пластов фракционированных металлических усилительных элементов, при этом отрезки или совокупности отрезков имеют длину(длины), меньшую(ие) окружной длины пласта, причем разрывы между отрезками или сборками отрезков смещены в окружном и осевом направлениях относительно друг друга.
5. Пневматическая шина по п.1, отличающаяся тем, что длина усилительных элементов дополнительной арматуры по обороту в плоскости каждого пласта превышает на 0-3% длину укладки упомянутых элементов, предпочтительно превышает на 0-2% или еще предпочтительнее на 1-1,4%.
6. Пневматическая шина по п.5, отличающаяся тем, что усилительные элементы дополнительной арматуры (32) выполняют волнистыми в плоскости каждого пласта, при этом длина волны зигзагов находится в пределах от 20 до 100 мм.
7. Пневматическая шина по п.1, отличающаяся тем, что дополнительную арматуру (32) выполняют из пластов металлических усилительных элементов, характеризующихся кривой напряжения растяжения в зависимости от относительного удлинения, содержащей пологие наклоны для небольших значений удлинения и по существу постоянный и крутой наклон для более высоких значений удлинения.
8. Пневматическая шина по п.1, отличающаяся тем, что дополнительную арматуру (32) позиционируют в радиальном направлении между двумя рабочими слоями (31) и (32).
9. Пневматическая шина по п.8, отличающаяся тем, что арматура (32) имеет толщину, меньшую 2,4 мм.
10. Пневматическая шина по п.1, отличающаяся тем, что дополнительную арматуру (32) позиционируют в радиальном направлении над самым наружным в радиальном направлении рабочим слоем (33).
РИСУНКИ
|
|