|
|
(21), (22) Заявка: 2005125206/12, 23.12.2003
(24) Дата начала отсчета срока действия патента:
23.12.2003
(30) Конвенционный приоритет:
24.01.2003 (пп.1-64) US 10/350,325
(43) Дата публикации заявки: 20.03.2006
(46) Опубликовано: 20.11.2007
(56) Список документов, цитированных в отчете о поиске:
FR 2488547 A1, 19.02.1982. US 5736173 A, 07.04.1998. US 5762970 A, 09.06.1998. RU 2127190 C1, 10.03.1999.
(85) Дата перевода заявки PCT на национальную фазу:
08.08.2005
(86) Заявка PCT:
CA 03/01995 (23.12.2003)
(87) Публикация PCT:
WO 2004/065097 (05.08.2004)
Адрес для переписки:
103735, Москва, ул. Ильинка, 5/2, ООО “Союзпатент”, пат.пов. Л.С.Кишкиной
|
(72) Автор(ы):
МИЛЛЕР Уильям Э. (US), ДОНГ Лингксин (CA), ФЭЙВОТ Фрэнк (CA), МАРШАЛЛ Майкл (US), ПЕГЕЛ Уолтер Х. (US), ЯКИМИШИН Рэнди (CA)
(73) Патентообладатель(и):
ХАСКИ ИНДЖЕКШН МОУЛДИНГ СИСТЕМЗ ЛТД. (CA)
|
(54) УСТРОЙСТВО ДЛЯ УДАЛЕНИЯ ОТЛИТОГО ИЗДЕЛИЯ ИЗ ФОРМЫ
(57) Реферат:
Заявленное изобретение относится к устройству для литья под давлением заготовок. В частности, данное изобретение относится к устройству для обеспечения изготовления улучшенного горлового кольца. Техническим результатом заявленного изобретения является создание устройства для удаления отлитого изделия из формы, которое обеспечивает быстрое, эффективное охлаждение горлышка при одновременном уменьшении времени цикла формирования с целью снижения стоимости изготовления пластмассовых заготовок. Технический результат достигается устройством для удаления пластмассового изделия из формы, содержащим горловое кольцо, которое имеет три части. Первая часть выполнена с возможностью соприкосновения с отлитым пластмассовым изделием вдоль линии, параллельной направлению подъема. Вторая часть выполнена с возможностью соприкосновения с внешним сегментом уплотнительной поверхности отлитого пластмассового изделия вдоль линии, перпендикулярной направлению подъема. При этом вторая часть выполнена так, чтобы не приходить в соприкосновение с внутренним сегментом уплотнительной поверхности отлитого пластмассового изделия. Третья часть расположена на противоположной первой части стороне второй части. При этом третья часть имеет конусную поверхность, имеющую острый угол менее 90° относительно второй части. Конусная поверхность третьей части выполнена с возможностью соприкосновения с концевой поверхностью отлитого пластмассового изделия вдоль линии, расположенной под острым углом относительно второй части, и герметизации сопряженной поверхности сердечника. 8 н. и 56 з.п. ф-лы, 9 ил.
Область техники, к которой относится изобретение
Данное изобретение относится к способу и устройству для литья под давлением заготовок, так что упрощается их последующее повторное нагревание и формование выдуванием в тару. В частности, данное изобретение относится к способу и устройству для обеспечения улучшенного горлового кольца или компонентов горловых прорезей формы для литья под давлением, которые обеспечивают более раннее выталкивание или извлечение заготовки из формы для литья под давлением, что приводит к уменьшению времени, необходимого для изготовления заготовки. Способ и устройство особенно хорошо подходят для термопластичных полиэфирных полимерных материалов, таких как полиэтилентерефталат.
Уровень техники
Для специалистов в данной области техники хорошо известно, что заготовка является трубой с обычно полой конфигурацией поперечного сечения, имеющей корпусную часть, часть закрытого конца с обычно полусферической конфигурацией и открытый конец. Около открытого конца и между открытым концом и корпусной частью находится обычно круговое горлышко. Конечная конфигурация тары определяет специальные детали размера и формы заготовки. Хотя возможны меньшие и большие размеры, изготавливаются специальные конфигурации заготовки для тары специальной конфигурации с емкостью обычно между 250 мл и 4 л.
Для приема укупорочного средства (т.е. крышки) горлышко имеет конфигурацию, обычно имеющую герметизирующую поверхность вблизи открытого конца, транспортировочное кольцо вблизи корпусной части, которое помогает упрощать изготовление формируемой выдуванием тары, и резьбовую часть между герметизирующей поверхностью и транспортировочным кольцом для крепления крышки. Для обеспечения правильного крепления крышки и герметизации, горлышко должно иметь достаточно устойчивые и точные размерные характеристики, обычно не имеющие искривлений или деформаций. Хотя винтовая резьба имеет обычную форму, резьбовая часть может иметь выступы любой формы, защелкивающиеся кольца или другие придатки для крепления крышки, такой как, но не ограничиваясь этим, стандартный крончатый колпачок.
Для специалистов в данной области техники хорошо известен также процесс литья под давлением. Процесс включает впрыскивание термопластичного полимера или другого пластичного материала при повышенной температуре расплава через небольшое отверстие или форсунку в форму для литья под давлением. Форма для литья под давлением является узлом из различных компонентов, создающих закрытую и герметизированную полость, которая обеспечивает формирование из расплавленного полимера заготовки без утечки между компонентами. После достаточного охлаждения и отвердевания впрыскиваемого полимерного материала выбранные компоненты формы для литья под давлением разъединяют для обеспечения выталкивания или удаления заготовки.
В обычно используем процессе для формирования выдуванием тары, печь выдувной формующей машины нагревает и размягчает полимерный материал корпусной части заготовки, но не горлышко. Выдувная машина, удерживая заготовку за транспортировочное кольцо ее горлышка, помещает нагретую заготовку в полость формы для выдувания, где затем сжатый воздух раздувает и расширяет заготовку для соответствия полости формы для выдувания, формируя тем самым тару. Конфигурация горлышка выдуваемой тары обычно остается неизменной и сохраняет форму, получаемую при первоначальном литье под давлением в качестве заготовки.
Время, необходимое для литья под давлением заготовки, обычно ограничено временем, необходимым для охлаждения и отвердевания впрыскиваемого полимерного материала, достаточного для удаления части из формы без деформации или искажения. Обычно часть заготовки, имеющая наибольший размер стенки поперечного сечения, определяет необходимое время охлаждения. Пластмассовый материал внутри части толстой стенки поперечного сечения требует больше времени для достаточного охлаждения и отвердевания, и горлышко часто имеет одну из частей с толстой стенкой поперечного сечения.
Для формирования открытого конца и полой круговой конфигурации поперечного сечения заготовки в узле формы для литья под давлением обычно используют сердечник, который является по существу стержнем с прямыми сторонами, имеющим продольную ось. Окружают сердечник или находятся вблизи него горловое кольцо или компоненты горловых прорезей. Горловое кольцо является парой полукруговых деталей, которые точно формируют размерные характеристики горлышка и способствуют удалению заготовки с сердечника.
Во время удаления заготовки устройство внутри формы для литья под давлением сначала вызывает согласованное перемещение компонентов горлового кольца в направлении, параллельном продольной оси стержня сердечника. Компоненты горлового кольца, опирающиеся на резьбовую часть и транспортировочное кольцо горлышка, вызывают скольжение заготовки в продольном направлении сердечника.
Расплавленный термопластичный полимерный материал с повышенной температурой обычно усаживается по мере охлаждения и отвердевания. В соответствии с этим во время изготовления заготовка обычно дает усадку к сердечнику при охлаждении материала. Поскольку сердечник сдерживает усадку, то возникают молекулярные силы, которые вызывают сцепление с боковой поверхностью сердечника. Силы, воздействующие на резьбовую часть и транспортировочное кольцо горлышка во время удаления, должны передаваться через стенку заготовки для преодоления фрикционного сопротивления, создаваемого сцеплением заготовки с сердечником. Другими словами, силы, прикладываемые к резьбовой части и транспортировочному кольцу горлышка, срезают сопротивление сцепления заготовки с сердечником.
Полимерный материал не затвердевает в один и тот же момент времени. Обычно материал в непосредственном контакте с поверхностями формы отвердевает быстрее, чем материал без непосредственного контакта. Если полимерный материал не достаточно отвердел в стенке поперечного сечения горлышка, то горлышко не будет иметь достаточную прочность для передачи силы и, таким образом, может деформироваться или искажаться во время удаления, что делает уплотнительную поверхность неравномерной и неспособной поддерживать правильную герметизацию крышки. Следовательно, операторы удлиняют время охлаждения для обеспечения отвердевания полимера горлышка с целью исключения деформации. Для термопластичных полиэфирных полимерных материалов время, обычно необходимое для инжекции и охлаждения полимера и удаления заготовки, составляет около 21-26 секунд.
Таким образом, в большинстве конструкций заготовки частью, ограничивающей наиболее раннее время снятия, является горлышко. На фиг.1 показан разрез узла 10 формы заготовки, имеющего канал 12 охлаждения сердечника, трубу 14 охлаждения сердечника, канал 16 охлаждения горлового кольца, компоненты 18а и 18b горлового кольца или горловых прорезей, сердечник 20, имеющий ось 21, блок 22 полости формы с поверхностью 23 полости, канал 24 охлаждения формы, который проходит по периметру вокруг блока 22 полости формы. На фиг.1 показана также заготовка 26, вкладыш 28 затвора формы и инжекционная форсунка 30. Узел 10 формы заготовки является узлом из многих компонентов, которые образуют закрытую и герметизированную полость, которая позволяет формировать расплавленный полимер, инжектируемый в полость, в заготовку 26 по существу без утечки между компонентами. На фиг.1 заготовка 26 имеет конфигурацию, которая по существу идентична закрытой полости.
Охлаждающий сердечник канал 12 включает охлаждающий вход 32 и охлаждающий выход 34. Компоненты 18а и 18b горлового кольца установлены на выталкивающей оправке 36а и 36b и скользят, соответственно, на несущей подушке 38 с помощью кулачков и прижимных планок (не изображены). Несущая подушка 38 прикреплена к протяжной плите 40. Держатель 41 сердечника удерживает сердечник 20. Заготовка 26 имеет открытый конец 50, закрытый конец 52, корпус 54 и горлышко 44. Горлышко 44 имеет уплотнительную поверхность 45, резьбовую часть 46 и транспортировочное кольцо 48. Компоненты 18а и 18b горлового кольца содержат пару полукруговых деталей, которые точно формируют размерные характеристики горлышка 44 и способствуют удалению заготовки 26 с сердечника 20.
Во время удаления или выталкивания заготовки 26 узел 10 формования заготовки сначала разделяется по линии 42 раздела, что позволяет одновременно перемещать сердечник 20, держатель 41 сердечника, компоненты 18а и 18b горлового кольца, заготовку 26 и другие связанные с ними компоненты в направлении, параллельном оси 21, и за счет этого извлекать заготовку 26 из блока 22 полости формы, вкладыша 28 затвора формы и форсунки 30, отделяя тем самым заготовку 26 от поверхности 23 полости. Затем приведение в действие протяжной плиты 40 приводит сначала к одновременному перемещению выталкивающей оправки 36а, 36b и компонентов 18а, 18b горлового кольца в направлении, параллельном оси 21, для удаления заготовки 26 с сердечника 20. Возможно, что компонент 18а горлового кольца и выталкивающая оправка 36а перемещаются в первом направлении, перпендикулярном и направленном от оси 21, на несущей подушке 38, и одновременно компонент 18b и выталкивающая оправка 36b перемещаются во втором и противоположном направлении (направлению перемещения компонента 18а горлового кольца и выталкивающей оправки 36а), перпендикулярном и направленном от оси 21, на несущей подушке 38, полностью выводя заготовку 26 из узла 10 формирования заготовки.
Дополнительно к указанной проблеме деформации, другой проблемой известных конструкций является то, что половинки горлового кольца не соприкасаются с сердечником, когда они смыкаются (собираются), и форма затем закрывается и зажимается. После открывания формы и выталкивания изделия половинки 18а и 18b горлового кольца, которые перемещаются вперед с помощью протяжной плиты 40, отделяются друг от друга. Прежде, чем можно начать следующий цикл формования, необходимо реверсировать механизм выталкивания для возвращения компонентов горлового кольца и протяжной плиты в их положения формования, показанные на фиг.1. Эта процедура реверсирования включает перемещение половинок горлового кольца в направлении друг друга, пока они не придут в соприкосновение друг с другом во время обратного хода протяжной плиты, так что когда протяжная плита полностью вернется в положение, показанное на фиг.1, половинки горлового кольца полностью смыкаются с взаимным соприкосновением разделяющих их поверхностей. Полное замыкание компонентов горлового кольца можно выполнять в любой точке во время возвратного хода протяжной плиты, поскольку в любой точке нет опасности соприкосновения компонентов горлового кольца с сердечником.
В конструкциях, где горловые кольца приходят в соприкосновение с сердечником в закрытом положении формы, предпочтительно, чтобы они сначала закрывались, так что когда они затем приходят в соприкосновение с сердечником, они являются собранной парой. В случае известной конструкции Хаски, горловые кольца имеют замыкающую цилиндрическую поверхность, которая проходит параллельно продольной оси сердечника и соприкасается с диаметром сердечника. Однако эта конструкция не является оптимальной, поскольку если имеется зазор между этими двумя цилиндрическими поверхностями более 0,005 дюйма (0,127 мм), то опасность утечки пластмассы через этот зазор во время инжекции является значительной. Следовательно, эта конструкция требует изготовления этих поверхностей с малыми допусками для обеспечения меньшей величины этого зазора. К сожалению, формы изнашиваются во время их использования, и такая конструкция может приводить к возникновению утечки. Другая известная конструкция Хаски имеет сужающуюся или коническую замыкающую поверхность, которая приходит в соприкосновение с соответствующей согласованной конусной поверхностью сердечника. Эти две поверхности прижимаются друг к другу во время литья под давлением, обеспечивая герметизацию, которая исключает утечку пластмассы. Однако эта конструкция не является оптимальной, поскольку заготовка все еще имеет деформации горлового кольца при снятии ее с сердечника.
На фиг.2 показан частичный разрез выбранных компонентов, показанных на фиг.1, а также заготовки 26, имеющей толщину 56 стенки, и сердечника 20, имеющего поверхность 58 сердечника. Блок 22 полости формы (не изображен на фиг.2) отделен от компонента 18b горлового кольца вдоль линии 42 разделения.
На фиг.3 показан частичный разрез, аналогичный фиг.2. Компонент 18b горлового кольца сначала перемещается в направлении А, параллельном оси 21, для начала удаления заготовки 26 с сердечника 20. Компонент 18b горлового кольца и компонент 18а, (не изображенный на фиг.3) отделяется от держателя 41 сердечника вдоль линии 64 предварительного отделения. Кроме того, заготовка 26 частично отделяется в месте 59 от поверхности 58 сердечника. Линия 64 предварительного разделения заканчивается у горлышка 44 вблизи и между герметизирующей поверхностью 45 и резьбовой частью 46 (смотри фиг.2).
Расплавленный термопластичный полимерный материал при повышенной температуре обычно подвергается усадке при своем охлаждении и отвердевании. Соответственно, заготовка 26 во время изготовления обычно подвергается усадке в направлении сердечника при охлаждении материала. Поскольку сердечник 20 сдерживает усадку, то возникают молекулярные силы, которые приводят к сцеплению заготовки 26 с поверхностью 58 сердечника. Силы, действующие через компонент 18b горлового кольца и компонент 18а (не изображенный на фиг.3) и, в конце концов, воздействующие на резьбовую часть 46 и транспортировочное кольцо 48 горлышка 44 во время удаления, должны передаваться через толщину 56 стенки заготовки 26 для преодоления сил трения, создаваемых сцеплением заготовки 28 с поверхностью 58 сердечника. Если полимерный материал не достаточно отвердел по толщине 56 стенки горлышка, то он не имеет достаточной прочности для обеспечения переноса усилий для преодоления трения заготовки, прилипшей вокруг сердечника 20, примерно в точке 60 поверхности 58 сердечника. Это в свою очередь вызывает деформацию 62 горлышка при перемещении компонента 18b горлового кольца (и компонента 18а, не изображенного на фиг.3) в направлении А. Деформация 62 вызывает неравномерность герметизирующей поверхности 45 (не изображена), так что прикрепляемая затем к горлышку 44 крышка (не изображена) не будет правильно герметизирована.
Для обеспечения достаточного отвердевания полимера внутри толщины 56 стенки и достаточной жесткости для передачи усилий, прилагаемых компонентами 18 а и 18b горлового кольца без деформации горлышка во время удаления, увеличивают время изготовления заготовки 26. Время, обычно необходимое для изготовления заготовки 26 из термопластичного полимерного материала, составляет около 21-26 секунд. Попытка устранения этой проблемы предпринималась в другой известной конструкции Хаски, в которой небольшая часть горлового кольца (менее 15%) приходила в соприкосновение с наружной частью периметра верхней уплотнительной поверхности заготовки. Однако эта конструкция имеет два недостатка. Во-первых, небольшая поверхность контакта между горловым кольцом и верхней уплотнительной поверхностью все еще требует значительного времени охлаждения для исключения деформация горлового кольца. Во-вторых, эта конструкция имеет цилиндрические сопрягающиеся поверхности горлового кольца, которые допускают утечку расплавленной пластмассы.
В патентах США №№4521177, 6176700, 6220850 и 6413075 показаны системы вставляемых узлов для формования заготовок. В патентах США №№4025022, 4125246, 4179254, 4632357, 4648834 и 5137442 показаны другие машины для литья под давлением с использованием различных снимающих устройств.
Поэтому имеется потребность в способе охлаждения горлышка и в устройстве, которое обеспечивает быстрое, эффективное охлаждение горлышка при одновременном уменьшении времени цикла формирования с целью снижения стоимости изготовления пластмассовых заготовок.
Сущность изобретения
Преимуществом данного изобретения является создание способа охлаждения и устройства для эффективного охлаждения формуемых пластмассовых заготовок.
Согласно первому аспекту данного изобретения, предлагаются структура и/или стадии для выталкивания отлитой пластмассовой заготовки из структуры формования. Подъемная структура содержит: (i) первую часть, выполненную с возможностью соприкосновения с отлитой пластмассовой заготовкой вдоль линии, по существу параллельной направлению подъема; (ii) вторую часть, выполненную с возможностью соприкосновения с внешним сегментом уплотнительной поверхности отлитого пластмассового изделия вдоль линии, по существу перпендикулярной направлению подъема, при этом вторая часть выполнена так, чтобы не приходить в соприкосновение с внутренним сегментом уплотнительной поверхности отлитого пластмассового изделия; поскольку заготовка поднимается на своем конце, то заготовка не должна быть отвердевшей внутри, что сокращает время цикла; и (iii) третью часть, расположенную на противоположной первой части стороне второй части, при этом третья часть имеет конусную поверхность, имеющую угол менее 90° относительно второй части.
Согласно второму аспекту данного изобретения, предлагаются структура и/или стадии для выталкивания отлитой пластмассовой заготовки из устройства формования. Подъемная часть расположена с возможностью соприкосновения по существу с половиной или более одного конца отлитой заготовки и приложения к нему силы сжатия. Предусмотрена уплотнительная часть горлового кольца, и она имеет конусную поверхность, расположенную ниже подъемной части горлового кольца, при этом конусная поверхность расположена под углом менее 90° относительно подъемной части горлового кольца. Предусмотрено устройство перемещения для обеспечения относительного перемещения между подъемной частью и устройством формования для выталкивания отлитой заготовки из устройства формования.
Согласно третьему аспекту данного изобретения, предлагаются структура и/или стадии для машины для литья под давлением, имеющей формовочную полость, выполненную с возможностью приема расплавленного материала и формования из него отлитой заготовки, и сердечник формы, выполненный с возможностью сцепления с отлитой заготовкой. Предусмотрена выталкивающая структура для выталкивания отлитой заготовки с сердечника формы посредством приложения силы сжатия к одному концу отлитой заготовки. Указанная структура горлового кольца выполнена с возможностью соприкосновения, по меньшей мере, с половиной наружного периметра горловой части отлитой заготовки в течение большей части хода открывания. Структура выталкивания горлового кольца имеет (i) подъемную поверхность, по существу перпендикулярную направлению подъема, и (ii) конусную уплотнительную поверхность, расположенную под острым углом относительно подъемной поверхности.
Согласно четвертому аспекту данного изобретения, предлагаются структура и/или стадии для устройства для удаления заготовки из формы для литья под давлением, при этом заготовка имеет горлышко, включающее транспортировочное кольцо, резьбовую часть и уплотнительную поверхность. Устройство содержит горловое кольцо, которое опирается на (i) сегмент транспортировочного кольца, (ii) сегмент резьбовой части, (iii) по меньшей мере, на половину уплотнительной поверхности во время удаления заготовки из формы для литья под давлением, и (iv) конусную часть сердечника формы, которая удерживает заготовку.
Согласно пятому аспекту данного изобретения, предлагаются структура и/или стадии для устройства для удаления заготовки с сердечника формы для литья под давлением, при этом заготовка имеет горлышко, включающее транспортировочное кольцо, резьбовую часть и уплотнительную поверхность. Устройство имеет горловое кольцо, которое формирует горлышко, включая сегмент транспортировочного кольца, резьбовую часть и первый сегмент уплотнительной поверхности, во время процесса литья под давлением заготовки в форме для литья под давлением, перед воздействием горлового кольца на транспортировочное кольцо, резьбовую часть и первый сегмент уплотнительной поверхности для удаления заготовки с сердечника. Первый сегмент соприкасается, по меньшей мере, с одной половиной уплотнительной поверхности и расположен под острым углом относительно конусного сегмента, расположенного ниже первого сегмента.
Согласно шестому аспекту данного изобретения, предлагаются структура и/или стадии для устройства для удаления термопластичной заготовки с сердечника формы для литья под давлением, при этом заготовка имеет термопластичное горлышко, содержащее транспортировочное кольцо, резьбовую часть и уплотнительную поверхность. Устройство включает горловое кольцо, которое формирует термопластичное горлышко, включая сегмент транспортировочного кольца, резьбовую часть и первый сегмент уплотнительной поверхности. Сердечник формирует второй сегмент уплотнительной поверхности во время процесса литья под давлением термопластичной заготовки из термопластичного полимера в форме для литья под давлением. Термопластичная заготовка сцепляется с сердечником при опоре горлового кольца на сегмент транспортировочного кольца, резьбовую часть и первый сегмент уплотнительной поверхности для преодоления силы трения, связанной со сцеплением термопластичной заготовки посредством временного сжатия термопластичного полимера внутри термопластичного горлышка, когда горловое кольцо удаляет термопластичную заготовку с сердечника. Первый сегмент соприкасается, по меньшей мере, с одной половиной уплотнительной поверхности и расположен под углом менее 90° относительно конусной поверхности, расположенной ниже первого сегмента.
Краткое описание чертежей
Предпочтительная конструкция и/или назначение данного изобретения следует из приведенного ниже подробного описания предпочтительных вариантов выполнения со ссылками на прилагаемые чертежи, на которых изображено:
фиг.1 – разрез известного узла формы для литья под давлением заготовки перед выталкиванием отлитой заготовки, имеющей горлышко и уплотнительную поверхность;
фиг.2 – частичный разрез выбранных компонентов узла, показанного на фиг.1, и горлышка заготовки перед перемещением горлового кольца для полного выталкивания заготовки;
фиг.3 – частичный разрез компонентов, показанных на фиг.2, с частично удаленной заготовкой, имеющей типичную деформацию горлышка;
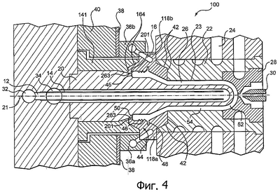
фиг.4 – разрез узла формы для литья под давлением заготовки, согласно предпочтительному варианту выполнения данного изобретения, перед выталкиванием отлитой заготовки;
фиг.5 – частичный разрез выбранных элементов узла, показанного на фиг.4, и горлышка заготовки перед перемещением измененного горлового кольца для полного выталкивания заготовки, при этом дополнительно показана конфигурация запирающего сердечник горлового кольца;
фиг.6 – частичный разрез элементов, показанных на фиг.5, с частично удаленной заготовкой, не имеющей типичной деформации горлышка;
фиг.7 – частичный разрез, аналогичный фиг.5, альтернативного варианта выполнения изобретения, имеющего конфигурацию запирающего полость горлового кольца;
фиг.8 – частичный разрез, аналогичный фиг.6, альтернативного варианта выполнения изобретения, имеющего конфигурацию запирающего полость горлового кольца, при этом заготовка частично удалена и не имеет типичной деформации горлышка;
фиг.9 – частичный разрез, аналогичный фиг.5, альтернативного варианта выполнения изобретения со ступенчатой конфигурацией вдоль уплотнительной поверхности заготовки.
Подробное описание предпочтительного варианта (вариантов) выполнения
Ниже приводится подробное описание данного изобретения на основе нескольких вариантов выполнения, в которых горловое кольцо прикладывает усилие сжатия к открытому круговому концу отлитой под давлением пластмассовой заготовки перед полным отвердеванием заготовки, что уменьшает время цикла, и в которых конические сопрягающиеся поверхности горлового кольца используются для исключения утечки. Однако данное изобретение применимо во многих технологиях литья, помимо литья под давлением пластмассовых заготовок, таких как литье контейнеров, ведер, подносов, банок для краски и аналогичных изделий, или других литых изделий, возможно с некруговой формой поперечного сечения и т.д.
Предпочтительные варианты выполнения данного изобретения обеспечивают перераспределение сил, воздействующих на горлышко во время удаления заготовки. Посредством изменения конфигурации горлового кольца или компонентов горловых прорезей для опоры не только на транспортировочное кольцо и резьбовую часть, но также на уплотнительную поверхность, предпочтительные варианты выполнения обеспечивают распределение сил на большой поверхности, что уменьшает опасность деформации и искажения горлышка во время извлечения заготовки. В этом случае сила, действующая на уплотнительную поверхность, приводит к сжатию некоторого количества полимера внутри горлышка. Кроме того, за счет непосредственного соприкосновения с компонентами формы материал, подвергаемый сжатию, с большей вероятностью отвердевает первым, так что он более пригоден для преодоления сопротивления, создаваемого сцеплением заготовки с сердечником. В соответствии с этим измененные компоненты горлового кольца позволяют удалять заготовку перед полным отвердеванием полимера. В испытаниях было достигнуто уменьшение времени изготовления заготовки на пять секунд без опасности деформации горлышка.
В основном, в предпочтительных вариантах выполнения используется устройство для удаления заготовки из формы для литья под давлением, при этом заготовка имеет горлышко, содержащее транспортировочное кольцо, резьбовую часть и уплотнительную поверхность. Устройство содержит горловое кольцо, которое опирается на сегмент транспортировочного кольца, сегмент резьбовой части и существенный сегмент уплотнительной поверхности во время удаления заготовки из формы для литья под давлением. Горловое кольцо удаляет заготовку с сердечника формы для литья под давлением. Горловое кольцо формирует горлышко, включая сегмент транспортировочного кольца, резьбовую часть и первый сегмент уплотнительной поверхности, во время процесса литья под давлением заготовки в форме для литья под давлением перед удалением заготовки с помощью горлового кольца. Сердечник формирует второй сегмент уплотнительной поверхности, в то время как горловое кольцо формирует первый сегмент. Горловое кольцо содержит также конусную, сужающуюся часть для соприкосновения с поверхностью сердечника и плотной герметизации половинок горлового кольца друг с другом.
Уплотнительная поверхность заготовки включает окружающую ступеньку, сформированную горловым кольцом, образующую первый сегмент в качестве второстепенной уплотнительной поверхности, сформированной горловым кольцом, и второй сегмент в качестве доминирующей уплотнительной поверхности, сформированной сердечником. Доминирующая уплотнительная поверхность, сформированная сердечником, и второстепенная уплотнительная поверхность, сформированная горловым кольцом, согласно предпочтительному варианту выполнения, имеют разницу высоты около 0,001-0,005 дюйма (0,025-0,125 мм). Горловое кольцо удаляет заготовку, выполненную из термопластичного полимера, такого как термопластичный сложный эфир.
На фиг.4 показан в разрезе узел 100 формы для заготовки, согласно предпочтительному варианту выполнения изобретения, перед выталкиванием отлитой заготовки 26. Узел 100 имеет элементы 118а и 118b горлового кольца или горловых прорезей, сердечник 120, имеющий ось 21, и держатель 141 сердечника. Элементы 118а и 118b горлового кольца, держатель 141 сердечника и сердечник 120 образуют промежуточную разделительную линию 164 с конечной точкой, заканчивающейся окружающим образом на уплотнительной поверхности 45 заготовки 26. Другие элементы измененного узла 100 формы для заготовки аналогичны указанным выше элементам узла 10 формы для заготовки.
На фиг.4 показаны два важных признака данного изобретения. Во-первых, подъемная часть 201 находится в соприкосновении с 50% или более наружной окружной части верхней уплотнительной поверхности для подъема заготовки с сердечника после некоторого отвердевания наружного слоя для уменьшения деформации горлышка. Во-вторых, половинки 118а, 118b горлового кольца имеют каждая сужающуюся, конусную поверхность 263, расположенную ниже и образующую острый угол относительно подъемной части 201 для плотного сцепления с наружной поверхностью сердечника и исключения утечки.
На фиг.4 показано, что наружные сужения 263 на половинках 118а, 118b горлового кольца у разделительных линий 164 и 42, обуславливают сохранение закрытого положения половинок горлового кольца и прижимание друг к другу, когда форма закрыта и подвергается усилию зажимания. Это же действие обеспечивает сохранение прижимания конусных уплотнительных поверхностей узла горлового кольца к сопряженной конусной поверхности 164 сердечника, как показано на фиг.5.
Узел 100 формы для заготовки выполняет аналогичную узлу 10 последовательность операций. То есть расплавленную пластмассу впрыскивают в полость формы через впрыскивающее сопло 30 через вкладыш 28 запора. Охлаждающие каналы формы 100 для литья под давлением и охлаждающие каналы сердечника 120 охлаждают расплавленную пластмассу с образованием заготовки 26 в форме 100 для литья под давлением.
На фиг.5-9 показаны более подробно улучшенные конструкции горлового кольца, которые позволяют выполнять действие выталкивания заготовки в более ранний момент времени, чем это было бы возможно для заданной конструкции заготовки. Как показано на фиг.5, половинка 118b горлового кольца увеличена по длине (высоте), так что ее формирующая поверхность включает подъемную часть 201, которая приходит в соприкосновение и поднимает соответствующую круговую верхнюю уплотнительную поверхность (часть соприкосновения) верхней поверхности заготовки (на открытом конце заготовки), когда горловое кольцо перемещается в направлении выталкивания по стрелке АА. Как показано на фиг.5, подъемная часть 201 соприкасается по меньшей мере с половиной, но не со всей верхней уплотнительной поверхностью верхней поверхности заготовки. Естественно, конструкцию можно модифицировать так, что подъемная часть 201 приходит в соприкосновение со всей верхней уплотнительной поверхностью.
Плоская подъемная часть 201 в качестве части формирующей поверхности горлового кольца, согласно данному изобретению, используется для обеспечения более раннего выталкивания заготовки во время цикла формования, чем в известных конструкциях. Как указывалось выше, впрыскиваемый полимер охлаждается снаружи внутрь за счет соприкосновения с охлаждаемыми поверхностями формы. Следовательно, часть верхней уплотнительной поверхности, формируемая горловым кольцом, также охлаждается от наружной поверхности внутрь. Образование твердого слоя, который может выдерживать усилия выталкивания без деформации, определяет, когда можно начинать процесс выталкивания. За счет включения плоской части 201 в горловое кольцо на отвердевшую часть заготовки можно воздействовать горловым кольцом при извлечении заготовки. Усилие выталкивания действует вдоль линии, параллельной центральной оси сердечника, которая перпендикулярна поверхности плоской подъемной части 201. Это является оптимальным условием. В известных конструкциях, которые не имели этой выступающей плоской части, любое перемещение выталкивания горлового кольца начинает действовать на радиус углов верхней уплотнительной поверхности. Приложение усилия к этой радиальной поверхности приводит к возникновению векторов, пытающихся толкать заготовку внутрь, при этом они могут вызывать уменьшение диаметра горлышка заготовки, за счет чего возникает опасность формования заготовки с размерами, не отвечающими спецификации. Следовательно, преимущества более раннего выталкивания связаны с риском и поэтому его осуществление является маловероятным при такой конструкции.
Половинки 118а, 118b горлового кольца также имеют конусные поверхности 263, которые формируют коническую уплотнительную поверхность для наружной поверхности сердечника, когда горловое кольцо замкнуто и сердечник введен в форму. Эти конусные поверхности образуют острый угол менее 90° относительно подъемной части 201. Комбинация из конусных поверхностей 263 и по существу плоской подъемной части 201 обеспечивает конструкцию горлового кольца, которая обеспечивает раннее выталкивание заготовки с минимальной утечкой. То, что острый угол между конусной поверхностью 263 и подъемной частью 201 расположен ближе к центру (или внутри) верхней уплотнительной поверхности 45, предотвращает утечку через разделительную линию 164 с одновременным обеспечением прямой подъемной силы сжатия на уже отвердевшем слое верхней уплотнительной поверхности.
Горловое кольцо имеет также плоскую поверхность 206, которая соприкасается с заготовкой вдоль линии, по существу параллельной направлению подъема. Кроме того, горловое кольцо имеет также резьбовую часть 208, которая находится в соприкосновении с резьбовой частью заготовки. На фиг.5 показаны также заготовка 26, имеющая толщину 56 стенки, и сердечник 120, имеющий поверхность 58 сердечника. Блок 22 полости формы (не изображен на фиг.5) отделен от половинки 118b горлового кольца вдоль разделительной линии 42. Как показано на фиг.5, подъемная часть 201 выполнена так, чтобы не приходить в соприкосновение с внутренней периферийной частью верхней поверхности отлитой пластмассовой заготовки.
На фиг.6 показан частичный разрез, аналогичный фиг.5. Половинка 118b горлового кольца сначала перемещается в направлении стрелки АА параллельно оси 21 для начала удаления заготовки 26 с сердечника 120. Половинка 118b горлового кольца и половинка 118а (не изображенная на фиг.6) отделяется от держателя 141 сердечника вдоль измененной промежуточной разделительной линии 164. Кроме того, заготовка 26 частично отделяется в месте 59 от поверхности 58 сердечника.
Преимущество включения подъемной части 201 явно проявляется при выполнении действия снятия, как показано на фиг.6. Подъемная часть 201 горлового кольца толкает непосредственно ту часть заготовки, которая ближе всего к сердечнику, где усадка заготовки вызывает сопротивление снятию.
Усилие выталкивания, оказываемое подъемной частью 201 на горлышко заготовки, является комбинацией срезающего усилия (обусловленного уплотнительной поверхностью, резьбовой частью и опорными выступающими поверхностями) и сжимающего усилия (обусловленного верхней поверхностью 21). Это последнее усилие прикладывается через затвердевший слой заготовки в месте 21 и поэтому может передавать свое действие для снятия заготовки, как только поверхностный слой достаточно отвердеет. Это отвердевание происходит быстрее в цикле литья под давлением, чем отвердевание части 18 сердечника, поскольку верхняя уплотнительная поверхность находится в непосредственном контакте с соответствующими охлаждаемыми компонентами формы, сердечником 10 и горловым кольцом 20. В противоположность этому, часть 18 сердечника должна ожидать прохождения своего тепла через окружающую пластмассу до достижения этих охлаждаемых поверхностей формы перед наступлением отвердевания. Следовательно, свободное от дефектов снятие заготовки можно начинать раньше в цикле литья под давлением. Можно достигнуть экономии времени цикла в 2-5 секунды в зависимости от конфигурации формы для литья заготовки.
Относительные размеры подъемной части 201 зависят от размеров конкретной охлаждаемой заготовки, температуры отливки заготовки, устройства охлаждения формы и т.д. Кроме того, подъемная часть 201 может быть плоской поверхностью или поверхностью, имеющей канавки, подушки или другие узоры, выполненные на ней, для содействия охлаждению и подъему заготовки. Подъемная часть 201 может быть выполнена из того же металла, что и горловое кольцо, из другого металла или пластмассы, выполненной с возможностью быстрого охлаждения и надежного подъема уплотнительной поверхности заготовки.
Таким образом, усилия удаления или выталкивания заготовки 26, действующие через измененную половинку 118b горлового кольца и половинку 118а (не изображенную на фиг.6), воздействуют не только на резьбовую часть 46 и транспортировочное кольцо 48, но также на уплотнительную поверхность 45 горлышка 44. Действующая в этом случае на уплотнительную поверхность 45 усилие подвергает сжатию некоторую часть полимера внутри горлышка 44. Кроме того, за счет нахождения в контакте с охлаждаемыми частями формы подвергаемый сжатию материал с большей вероятностью затвердевает сначала, так что он более пригоден для преодоления сопротивления, создаваемого сцеплением заготовки 26 с измененным сердечником 120.
За счет воздействия усилий на уплотнительную поверхность 45 уменьшается необходимость передачи усилий удаления полностью через толщину 56 стенки, где некоторая часть полимера может быть не полностью отвердевшей. В соответствии с этим стенка на толщине 56 не должна быть жесткой для преодоления трения, создаваемого сцеплением заготовки 26 с поверхностью 58 сердечника, что обеспечивает более раннее удаление заготовки 26 из измененного узла 100 формы без опасности искажений или деформаций. Испытания показали уменьшение полного времени изготовления заготовки 26 на 5 секунд.
Специалисты в данной области техники обычно называют систему горлового кольца, показанную на фиг.5, конфигурацией с запиранием сердечника. На фиг.7 показана альтернативная конфигурация горлового кольца с запиранием полости или вариант выполнения изобретения, содержащий альтернативный компонент 218b горлового кольца (альтернативный компонент 218а горлового кольца не изображен), альтернативный сердечник 220, альтернативный держатель 241 сердечника с альтернативной промежуточной разделительной линией 264.
На фиг.8 показан частичный разрез, аналогичный фиг.7. Альтернативный компонент 218b горлового кольца сначала перемещается в направлении ААА, параллельном оси 21, для начала удаления заготовки 26 с альтернативного сердечника 220. Альтернативный компонент 218b горлового кольца и альтернативный компонент 218а (не изображенный на фиг.8) отделяются от альтернативного держателя 241 сердечника и альтернативного сердечника 220 вдоль альтернативной промежуточной разделительной линии 264. Альтернативная промежуточная разделительная линия 264 заканчивается на уплотнительной поверхности 45 аналогичным окружающим образом как измененная промежуточная разделительная линия 164.
Усилия удаления или выталкивания заготовки 26, действующие через альтернативный компонент 218b горлового кольца и альтернативный компонент 218а (не изображенный на фиг.8) этой конфигурации горлового кольца с запиранием полости, воздействуют не только на резьбовую часть 46 и транспортировочное кольцо 48 горлышка 44, но также на уплотнительную поверхность 45 горлышка 44, аналогично конфигурации с запиранием сердечника.
На фиг.9 показан частичный разрез другого варианта выполнения, в котором на заготовке 26 создается слегка модифицированное горлышко 144, имеющее в профиле ступеньку 65 уплотнительной поверхности, расположенную вокруг модифицированного горлышка 144, которая соответствует концу измененной разделительной линии 164. Окружная ступенька 65 уплотнительной поверхности создает слегка модифицированную уплотнительную поверхность с двумя высотами, доминирующую уплотнительную поверхность 145а и второстепенную уплотнительную поверхность 145b, имеющие разницу высот в направлении, параллельном оси 21, равную приблизительно 0,001-0,005 дюйма, более предпочтительно 0,001-0,002 дюйма (0,025-0,050 мм). Доминирующая уплотнительная поверхность 145а первой приходит в соприкосновение с крышкой (не изображена) при креплении крышки.
Во время работы расплавленную пластмассу впрыскивают в форму, и заготовка формуется между сердечником и стенкой полости. После этого, для выталкивания заготовки с сердечника горловое кольцо поднимают в направлении стрелки АА. Как показано на фиг.5-8, подъемная часть 201 приходит в соприкосновение с верхней уплотнительной поверхностью и поднимает заготовку с сердечника. Предпочтительно, заготовка еще не отвердела внутри, хотя наружный слой верхней поверхности заготовки уже предпочтительно затвердел в этот момент времени.
Преимуществом данного варианта выполнения является то, что в нем имеется несколько действующих со стороны вставок (горлового кольца), которые остаются закрытыми (наподобие непрерывного кольца) для выталкивания (снятия) заготовки с сердечника посредством толкания в ее конец (уплотнительную поверхность). Однако затем в ходе выталкивания элементы горлового кольца перемещаются в сторону для освобождения наружных выступающих элементов (резьбы и опорного выступа) перед окончанием хода выталкивания. Это боковое перемещение вызывается кулачками, действующими на ролики, установленные на конце выталкивающих оправок (не изображены), на которых установлены компоненты горлового кольца. Поэтому в данном варианте выполнения осуществляется толкание в конец заготовки во время большей части (50-90%) хода выталкивания.
После отделения от сердечника заготовку можно перемещать на участок охлаждения после отливки или же заготовку можно выбрасывать в контейнер для транспортировки. Поскольку заготовка снимается с сердечника с помощью силы, действующей первично на верхнюю уплотнительную поверхность вместо резьбы, то внутренняя часть заготовки не должна полностью отвердевать, что позволяет выполнять снятие раньше и уменьшать время цикла на 2-5 секунд.
Предпочтительные признаки предпочтительных вариантов выполнения изобретения включают:
– конфигурацию формующей поверхности горлового кольца формы для заготовки, которая включает часть верхней поверхности формующей заготовку поверхности;
– конфигурацию горлового кольца формы для заготовки, которая прикладывает усилие снятия к поверхности заготовки, которая перпендикулярна направлению указанного усилия снятия.
Таким образом, представлены способ и устройство для эффективного выталкивания отлитых пластмассовых заготовок с сердечника с обеспечением уменьшения времени цикла изготовления и стоимости.
Хотя данное изобретение сокращает время изготовления тары посредством выдувания из заготовок, имеющих в целом круговую форму поперечного сечения, перпендикулярного ее оси, для специалистов в данной области техники понятно, что изобретение пригодно также для изготовления других отливаемых изделий, возможно с не круглой формой поперечного сечения, таких как ведра, банки для краски, производственная тара и другие аналогичные изделия, требующие аналогичной общей конфигурации и характеристик конструкции формы, как и форма для литья заготовки под давлением.
Отдельные элементы, показанные в общих чертах или в виде узлов на прилагаемых чертежах, являются хорошо известными в технике литья под давлением, и их специальная конструкция и работа не являются критичными для реализации данного изобретения.
Хотя данное изобретение было описано применительно к вариантам выполнения, которые в настоящее время считаются предпочтительными, необходимо понимать, что изобретение не ограничивается раскрытыми вариантами выполнения. Наоборот, изобретение должно охватывать различные модификации и эквивалентные системы, входящие в идею и объем прилагаемой формулы изобретения. Объем формулы изобретения следует интерпретировать самым широким образом для охвата всех таких модификаций и эквивалентных структур и функций.
Содержание всех указанных выше патентов США и заграничных патентов включается в подробное описание предпочтительных вариантов выполнения.
Формула изобретения
1. Устройство для выталкивания отлитого пластмассового изделия из узла (100) формы, содержащее горловое кольцо (118а), имеющее первую часть (46), выполненную с возможностью соприкосновения с отлитым пластмассовым изделием вдоль линии, по существу, параллельной направлению подъема; вторую часть (201), выполненную с возможностью соприкосновения с внешним сегментом уплотнительной поверхности отлитого пластмассового изделия вдоль линии, по существу перпендикулярной направлению подъема, при этом вторая часть выполнена так, чтобы не приходить в соприкосновение с внутренним сегментом уплотнительной поверхности отлитого пластмассового изделия; и третью часть (263), расположенную на противоположной первой части стороне второй части, при этом третья часть имеет конусную поверхность, имеющую острый угол менее 90° относительно второй части, при этом конусная поверхность третьей части выполнена с возможностью соприкосновения с концевой поверхностью отлитого пластмассового изделия вдоль линии, расположенной под острым углом относительно второй части и герметизации сопряженной поверхности сердечника (120).
2. Устройство по п.1, в котором вторая часть (201) выполнена с возможностью соприкосновения по меньшей мере с 50%, но менее 100% конца отлитого пластмассового изделия.
3. Устройство по любому из п.1 или 2, в котором вторая часть (201) является плоской.
4. Устройство по любому из п.1 или 2, в котором вторая часть (201) снабжена канавками.
5. Устройство по любому из п.1 или 2, в котором вторая часть (201) включает приливы.
6. Устройство по любому из п.1 или 2, в котором вторая часть является подъемной частью для подъема части конца отлитого пластмассового изделия.
7. Устройство по п.6, в котором первая часть является подъемной частью для подъема части конца отлитого пластмассового изделия.
8. Устройство по любому из пп.1, 2 или 7, в котором первая часть включает резьбовую часть (208).
9. Устройство по любому из пп.1, 2 или 7, в котором первая часть включает плоскую поверхность (206).
10. Устройство по любому из пп.1, 2 или 7, в котором первая часть включает опорную поверхность буртика.
11. Устройство по любому из п.1 или 2, в котором вторая часть (201) задает ступеньку (65) уплотнительной поверхности.
12. Устройство по п.11, в котором ступенька (65) уплотнительной поверхности включает доминирующую уплотнительную поверхность (145 а).
13. Устройство по любому по п.11, в котором ступенька (65) уплотнительной поверхности включает второстепенную уплотнительную поверхность (145b).
14. Устройство по п.11, в котором ступенька (65) уплотнительной поверхности включает доминирующую уплотнительную поверхность (145а) и второстепенную уплотнительную поверхность (145b), и их разница по высоте находится в диапазоне от 0,001 до 0,005 дюйма (0,025-0,125 мм).
15. Устройство по п.11, в котором ступенька (65) уплотнительной поверхности включает доминирующую уплотнительную поверхность (145а) и второстепенную уплотнительную поверхность (145b), и их разница по высоте находится в диапазоне от 0,001 до 0,002 дюйма (0,025-0,050 мм).
16. Устройство по любому из п.1 или 2, в котором горловое кольцо (118а) дополнительно включает четвертую часть (64) для соприкосновения с сопряженной поверхностью держателя (141) сердечника для герметизации и центрирования горлового кольца (118а) относительно держателя (141) сердечника.
17. Устройство по п.16, в котором четвертая часть (64) является сужающейся конусной поверхностью (263), образующей острый угол с первой частью (201).
18. Устройство по любому из п.1 или 2, в котором горловое кольцо дополнительно содержит пятую часть (42) для соприкосновения с сопряженной поверхностью блока (22) полости формы для герметизации и центрирования горлового кольца (118b) относительно блока (22) полости формы.
19. Устройство по п.18, дополнительно содержащее блок (22) полости формы с поверхностью для соприкосновения с пятой частью (42).
20. Устройство по любому из пп.1, 2 или 7, дополнительно содержащее второе горловое кольцо (118b), образующее пару кольцевых колец (118а, 118b).
21. Устройство по п.20, дополнительно содержащее пару выталкивающих оправок (36а, 36b), при этом первая выталкивающая оправка (36а) служит для сцепления с горловым кольцом (118а), а вторая выталкивающая оправка (36b) – для сцепления с горловым кольцом (118b).
22. Устройство по п.21, дополнительно содержащее протяжную плиту (40), находящуюся в зацеплении с выталкивающими оправками (36а, 36b).
23. Устройство по п.22, дополнительно содержащее несущую подушку (38), расположенную между протяжной плитой (40) и выталкивающими оправками (36а, 36b).
24. Устройство по любому из п.1 или 2, в котором узел (100) формы включает несколько пар горловых колец (118а, 118b); несколько держателей (141) оправки; несколько оправок (120) и несколько узлов (22) полости формы.
25. Устройство для выталкивания отлитого пластмассового изделия из узла формы, содержащее горловую кольцевую подъемную структуру, имеющую первую часть, выполненную с возможностью соприкосновения с резьбовой горловой частью отлитого пластмассового изделия; вторую часть, выполненную с возможностью соприкосновения с концом отлитого пластмассового изделия вдоль линии, существенно перпендикулярной направлению подъема, при этом вторая часть выполнена так, чтобы не приходить в соприкосновение с внутренней периферийной частью конца отлитого пластмассового изделия; и третью часть, расположенную на противоположной стороне от второй части, при этом третья часть и вторая часть имеют линию раздела между ними, существенно параллельную направлению подъема, причем третья часть отделяется ступенчато от второй части в направлении, существенно параллельном направлению подъема.
26. Устройство по п.25, в котором пластмассовое изделие представляет собой прессформу, укрепленную на литейном стержне.
27. Устройство по п.26, в котором заготовка имеет горловую часть, имеющую буртик, спиральную резьбу и круговую уплотняемую поверхность, причем круговая уплотняемая поверхность имеет круговую часть соприкосновения, существенно перпендикулярную направлению подъема, и в котором вторая часть подъемной структуры выполнена с возможностью контакта, по существу, с пятьюдесятью процентами круговой части соприкосновения.
28. Устройство по п.25, в котором подъемная структура имеет части, которые входят в соприкосновение соответственно с буртиком горловой части заготовки и резьбой горловой части заготовки.
29. Устройство по п.25, дополнительно содержащее перемещающуюся движущую структуру для перемещения подъемной структуры в направлении подъема.
30. Устройство по п.25, в котором первая часть подъемной структуры прилагает сдвигающее усилие к отлитому пластмассовому изделию в направлении подъема и в котором вторая часть подъемной структуры прилагает сжимающее усилие к отлитому пластмассовому изделию в направлении подъема.
31. Структура для выталкивания отлитой пластмассовой заготовки, содержащая подъемную часть горлового кольца, которая выполнена с возможностью (i) приходить в соприкосновение с резьбой горловой частью отлитой заготовки и (ii) контактировать по существу с половиной уплотнительной поверхности отлитой заготовки, и прикладывать к нему усилие сжатия; уплотнительную часть горлового кольца, имеющую конусную поверхность, расположенную ниже указанной подъемной части горлового кольца, при этом конусная поверхность расположена под углом, существенно равным 90° относительно подъемной части горлового кольца; и устройство перемещения, которое вызывает относительное перемещение между подъемной частью и устройством формирования для выталкивания отлитой заготовки из устройства формирования, при этом устройство перемещения удерживает подъемную часть в соприкосновении с концом отлитой заготовки в течение большей части хода открывания.
32. Структура по п.31, в которой устройство перемещения вызывает относительное перемещение перед отвердеванием отлитой заготовки.
33. Структура по п.31, в которой устройство перемещение вызывает относительное перемещение после отвердевание наружного слоя на конце отлитой заготовки.
34. Структура по п.32, в которой подъемная часть включает резьбовую часть, выполненную с возможностью сцепления с резьбой в отлитой заготовке; цилиндрическую часть, выполненную с возможностью вхождения в соприкосновение с поверхностью отлитой заготовки, которая, по существу, параллельна направлению подъема; и концевую часть, выполненную с возможностью вхождения в соприкосновение с поверхностью отлитой заготовки, которая, по существу, перпендикулярна направлению подъема.
35. Структура по п.34, в которой концевая часть прикладывает усилие сжатия к отлитой заготовке, и в которой резьбовая часть прикладывает как усилие сжатия, так и усилие сдвига к отлитой заготовке.
36. Структура по п.31, в которой подъемная часть расположена на горловом кольце.
37. Структура по п.31, в которой подъемная часть прикладывает к отлитой заготовке как усилие сдвига, так и усилие сжатия.
38. Машина для литья под давлением, содержащая формовочную полость, выполненную с возможностью приема расплавленного материала и формования из него отлитой заготовки; сердечник формы, выполненный с возможностью сцепления с отлитой заготовкой; и выталкивающую структуру горлового кольца, выполненную с возможностью выталкивания отлитой заготовки с сердечника формы посредством приложения усилия сжатия к одному концу отлитой заготовки, при этом структура горлового кольца выполнена с возможностью (i) соприкосновения с резьбовой частью горловой поверхности отлитой заготовки, и (ii) контакта, по существу, с половиной наружной круговой части уплотнительной части отлитой заготовки в течение большей части хода открывания, при этом структура выталкивания горлового кольца имеет (i) подъемную поверхность, по существу, перпендикулярную направлению подъема, и (ii) уплотнительную поверхность, расположенную существенно параллельно направлению подъема, причем подъемная поверхность горлового кольца и сердечник формы выполнены такими, чтобы обеспечивать доминирующую уплотнительную поверхность заготовки и второстепенную уплотнительную поверхность заготовки, которые расположены ступенчато по отношению друг к другу.
39. Способ выталкивания отлитой пластмассовой заготовки из структуры формования, содержащий стадии соприкосновения с боковой частью круговой горловой части отлитой пластмассовой заготовки; соприкосновения по меньшей мере с 50% концевой части круговой горловой части отлитой пластмассовой заготовки подъемной поверхности, расположенной, по существу, перпендикулярно направлению выталкивания для формирования ступенчатой уплотнительной поверхности на открытом конце заготовки; и приложения усилия сжатия к концевой части горловой части отлитой пластмассовой заготовки в течение большей части хода открывания для выталкивания отлитой пластмассовой заготовки из структуры формования.
40. Способ по п.39, в котором стадия соприкосновения и стадия приложения усилия выполняются с помощью горлового кольца.
41. Способ по п.40, в котором с помощью горлового кольца во время стадии приложения усилия прикладывают также усилие сдвига к отлитой пластмассовой заготовке.
42. Способ по п.39, в котором стадия соприкосновения представляет собой стадию соприкосновения с конусной частью сердечника формы с конусной поверхностью, которая образует острый угол относительно подъемной поверхности.
43. Способ по п.39, в котором стадия приложения усилия представляет собой стадию приложения усилия сжатия в то время, когда внутренняя часть отлитой пластмассовой заготовки не затвердела.
44. Способ по п.39, в котором стадия соприкосновения, по меньшей мере, с 50% поверхности представляет собой стадию соприкосновения, по меньшей мере, с 50% наружной периферийной части круговой части открытого конца пластмассовой заготовки.
45. Отлитая пластмассовая заготовка, содержащая корпусную часть, являющуюся трубой, и имеющую закрытый конец и открытый конец и продольную ось; горловую часть с резьбой на открытом конце; уплотнительную поверхность, расположенную на открытом конце и существенно перпендикулярную продольной оси, уплотнительная поверхность имеет доминирующую уплотнительную поверхность и второстепенную уплотнительную поверхность, которые смещены относительно друг друга в направлении, существенно параллельном продольной оси.
46. Отлитая заготовка по п.45, у которой уплотнительная поверхность является существенно круговой и у которой второстепенная уплотнительная поверхность располагается вблизи доминирующей поверхности.
47. Отлитая заготовка по п.45, у которой уплотнительная поверхность является существенно круговой и у которой второстепенная уплотнительная поверхность располагается ближе к резьбовой части горловины, чем доминирующая уплотнительная поверхность.
48. Отлитая заготовка по п.45, дополнительно содержащая угловую поверхность, соединяющую доминирующую уплотнительную поверхность и второстепенную уплотнительную поверхность, причем угловая поверхность составляет острый угол по отношению к продольной оси.
49. Отлитая заготовка по п.45, у которой доминирующая уплотнительная поверхность и второстепенная уплотнительная поверхность сконфигурированы с возможностью формирования уплотнительной поверхности.
50. Отлитая заготовка по п.45, у которой доминирующая уплотнительная поверхность и второстепенная уплотнительная поверхность отстоят друг от друга на расстоянии от 0,001 до 0,005 дюйма (0,025-0,125 мм).
51. Отлитое изделие, содержащее корпусную часть, имеющую продольную ось и открытый конец; механизм установки крышки, сформированный на поверхности открытого конца корпусной части; уплотнительную поверхность, расположенную на открытом конце в направлении, существенно перпендикулярном продольной оси, причем уплотнительная поверхность имеет внутреннюю уплотнительную поверхность и внешнюю уплотнительную поверхность, которые сдвинуты относительно друг друга в осевом направлении, внешняя уплотнительная поверхность располагается ближе к механизму установки крышки, чем внутренняя уплотнительная поверхность в направлении, перпендикулярном продольной оси.
52. Отлитое изделие по п.51, у которого внутренняя уплотнительная поверхность проходит дальше, чем внешняя уплотнительная поверхность, в направлении, проходящем наружу от открытого конца.
53. Отлитое изделие по п.51, у которого корпусная часть представляет собой трубчатую цельную пластмассовую заготовку, имеющую полусферический закрытый конец, противоположный открытому концу.
54. Отлитое изделие по п.51, у которого указанная внутренняя уплотнительная поверхность и указанная внешняя уплотнительная поверхность отстоят друг от друга на расстоянии от 0,001 до 0,005 дюйма (0,025-0,125 мм).
55. Отлитое изделие по п.51, дополнительно содержащее ступенчатую поверхность, соединяющую внутреннюю уплотнительную поверхность и внешнюю уплотнительную поверхность.
56. Отлитое изделие по п.55, у которого ступенчатая поверхность формируется под острым углом по отношению к продольной оси.
57. Отлитое изделие по п.51, у которого часть установки крышки содержит спиральную резьбу, выполненную на корпусе.
58. Отлитое изделие по п.51, у которого корпусная часть, механизм установки крышки и уплотнительная поверхность выполнены заодно, как единое пластмассовое изделие.
59. Отлитое изделие по п.51, у которого внешняя уплотнительная поверхность располагается ближе к механизму установки крышки, чем внутренняя уплотнительная поверхность в направлении, параллельном продольной оси.
60. Центральная интегрированная отлитая пластмассовая заготовка, содержащая корпусную часть, выполненную в виде трубы, и имеющую продольную ось, полусферический закрытый конец и открытый конец; участок со спиральной резьбой, расположенный на внешней поверхности цилиндрического корпуса у открытого конца; выступающую часть, расположенную на внешней поверхности цилиндрического корпуса между частью со спиральной резьбой и закрытым концом; круговую уплотнительную поверхность, расположенную на открытом конце в плоскости, перпендикулярной продольной оси, причем уплотнительная поверхность имеет доминирующую уплотнительную поверхность и второстепенную уплотнительную поверхность, которые находятся на расстоянии друг от друга в направлении, существенно параллельном продольной оси.
61. Отлитая пластмассовая заготовка по п.60, у которой доминирующая уплотнительная поверхность располагается с внутренней стороны второстепенной уплотнительной поверхности в направлении, перпендикулярном продольной оси.
62. Отлитая пластмассовая заготовка по п.60, у которой доминирующая уплотнительная поверхность и второстепенная уплотнительная поверхности отстоят друг от друга на расстоянии от 0,001 до 0,005 дюйма (0,025-0,125 мм).
63. Отлитая пластмассовая заготовка по п.60, дополнительно содержащая ступенчатую поверхность, соединяющую указанную доминирующую уплотнительную поверхность и указанную второстепенную уплотнительную поверхность.
64. Отлитая пластмассовая заготовка по п.63, в которой ступенчатая поверхность формируется под острым углом в отношении к продольной оси.
РИСУНКИ
|
|