|
|
(21), (22) Заявка: 2006107101/03, 26.02.2006
(24) Дата начала отсчета срока действия патента:
26.02.2006
(46) Опубликовано: 20.11.2007
(56) Список документов, цитированных в отчете о поиске:
DE 2534216 А, 03.02.1977. SU 1761516 А1, 15.09.1992. SU 613911 А1, 09.06.1978. SU 1115882 А1, 30.09.1984. SU 1087342 А2, 23.04.1984. SU 990695 A1, 23.01.1983. RU 2008220 C1, 28.02.1994. RU 2024396 C1, 15.12.1994.
Адрес для переписки:
450064, г.Уфа, ул. Комарова, 18/1, кв.58, Г.К. Микрюкову
|
(72) Автор(ы):
Микрюков Геннадий Кузьмич (RU)
(73) Патентообладатель(и):
Микрюков Геннадий Кузьмич (RU)
|
(54) КАМНЕОБРАБАТЫВАЮЩИЙ СТАНОК
(57) Реферат:
Изобретение относится к области обработки твердых природных и синтетических материалов и может быть использовано в камнеобработке на дисковых станках для распиловки блоков. Техническим результатом является улучшение качества обработки, повышение производительности, расширение технологических возможностей обработки, повышение КПД механизма рабочей подачи заготовок. Для этого станок содержит две горизонтальные режущие головки с инструментом, привод шпинделей и механизм рабочей подачи заготовки. Станок снабжен двумя соосно расположенными выдвижными режущими головками, смонтированными в корпусе станка. Причем осевое перемещение каждой головки осуществляется винтом, вынесенным за пределы внутреннего пространства станка. 7 з.п. ф-лы, 4 ил.
Изобретение относится к области обработки твердых природных и синтетических материалов и может быть использовано в камнеобработке на дисковых станках для распиловки блоков.
Известно устройство для обработки поверхностей изделий, преимущественно из естественного и искусственного камня, включающее установленный на валу барабан с зажимными приспособлениями и соосно расположенные шлифовальные диски, причем зажимные приспособления включают в себя расположенные по образующей барабана угольники, на которых закреплены силовые цилиндры, и распределитель, установленный на конце вала барабана, причем в валу барабана выполнены каналы, соединенные с одной стороны трубопроводами силовыми цилиндрами, а с другой – с распределителем [1].
Недостатком известного устройства является невозможность резки камней произвольной формы и отсутствие системы охлаждения инструмента.
Наиболее близким техническим решением к предложенному изобретению является машина для распиловки драгоценных камней, содержащая станину с установленным на ней шпиндельным узлом с отрезным диском и электроприводом, ходовой винт рабочей подачи заготовки и круглые направляющие, по которым от механизма рабочей подачи перемещается суппорт с зажимным приспособлением, в котором закрепляется заготовка [2].
Недостатком известной машины является низкая производительность, необходимость переустановки заготовки для обработки со второй, третьей и четвертой сторон, низкая размерная точность обработанных блоков.
Цель изобретения – улучшение качества обработки, повышение производительности, расширение технологических возможностей обработки.
Указанная цель достигается тем, что камнеобрабатывающий станок, содержащий два горизонтальных соосных выдвижных шпинделя с инструментом, приводы валов, механизм рабочей подачи заготовки, снабжен устройством для вакуумного закрепления заготовки и возможностью ее поворота на 360° вокруг вертикальной оси с фиксацией углового положения через каждые 90°.
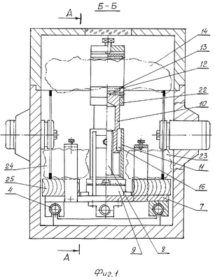
На фиг.1 изображен общий вид станка спереди; на фиг.2 – общий вид станка в плане без крышки; на фиг.3 – общий вид станка в боковой проекции; на фиг.4 – общий вид режущей головки.
Камнеобрабатывающий станок состоит из крыши 1 с окном из прозрачного материала, корпуса (станины) 2, на котором неподвижно установлены соосно две режущие головки 3, ходовой винт 3 и гидростатические направляющие 4, по которым при помощи гидростатической пары ходовой винт 5 – гайка 6 перемещается каретка 7 с вакуумным зажимным приспособлением, которое представляет собой винтовой домкрат, винт 8 которого неподвижно закреплен на поворотном столе 9, а шток 10 может перемещаться в стакане 11 в вертикальном направлении на необходимую высоту, причем на свободном конце штока 10 имеется выточка 12, соединенная трубопроводом с цеховой вакуумной установкой (не показана) и вместе с кольцевой плоскостью 13 заготовки 14 образующая вакуумную камеру; при этом шток 10 вместе с закрепленной на нем заготовкой 14 имеет установочное угловое перемещение и фиксируется в положениях 0°, 90°, 270° и 360° фиксатором 15 через шпонку 16 и стакан 11, который центрируется внизу по основанию винта 8, а вверху по четырем ребрам жесткости 17 с регулируемыми антифрикационными колодками 18, причем ребра жесткости 17 неподвижно закреплены на плите каретки 7.
Заготовка 14 может дополнительно крепиться винтом 19 в приспособлении рамной конструкции, верхняя балка 20 которого съемная, а нижняя балка 21 неподвижно соединена с кольцом 22, которое может свободно поворачиваться на 360° вокруг штока 10.
Две нижние заготовки 23 и 24 устанавливаются на деревянных брусках 25 и крепятся винтами 26 в приспособлениях рамной конструкции, верхние балки 27 и боковые тяги 28 которых съемные.
В режущей головке 3 на подшипниках качения 29 смонтирован шпиндель 30 с инструментом 31, который приводится во вращение электроприводом 32; режущая головка 3 со шпинделем 30 и инструментом 31 может перемещаться в корпусе 2 станка вдоль своей оси при помощи винта 33.
Система охлаждения инструмента и заготовки состоит из насоса и подводящих трубопроводов (не показаны), штуцера 34, двух телескопических трубопроводов 35, приваренных к плоским пустотелым секциям 36 п-образной формы с отверстиями 37, причем секции 36 винтами 38 закреплены на корпусе режущей головки 3 и вместе с ней и инструментом 31 могут перемещаться вдоль оси головки.
Станок работает следующим образом.
Заготовки 23 и 24 устанавливают на деревянные бруски 25 и крепят винтами 26 в приспособлениях. Заготовку 14 с кольцевой выточкой устанавливают на шток 10 с выточкой 12 и зажимают ее, включив вакуумную установку. При необходимости заготовку 14 дополнительно крепят винтом 19 через тарелку 39 с деревянным вкладышем 40; при обработке заготовки 14 за один проход шток 10 устанавливают в крайнем нижнем положении. При многопроходном методе обработки шток 10 вместе с заготовкой 14 поднимают на определенную высоту, обеспечивая требуемую глубину резания. Подъем штока с заготовкой осуществляют поворотом круглого стола 9 вручную или электроприводом (не показан), при этом фиксатор 15 завернут до упора. Режущие головки 3 настраивают на обрабатываемый размер заготовок 14, 23 и 24, перемещая головки в осевом направлении при помощи винтов 33; закрывают крышку 1 станка, включают систему смазки и охлаждения инструмента, при этом СОЖ подается в замкнутую полость каждого из секторов 36 и через отверстия 37 СОЖ орошает с обеих сторон поверхность инструмента 31 и его режущую кромку. Включают электрический привод 32 режущих головок 3, включают электрический привод 41 рабочей подачи каретки 7 с установленными и закрепленными на ней заготовками 14, 23 и 24; при этом одновременно работают нижняя и верхняя части инструмента 31. По окончании каждого прохода концевой выключатель 42 отключает рабочую подачу каретки 7 и она возвращается в исходное положение. Отключают электрические приводы 32 режущих головок 3 и настраивают инструмент 31 на следующий обрабатываемый размер. Включают электрические приводы 32 и 41. По окончании всех проходов отключают все электрические приводы, систему подачи СОЖ, открывают крышку 1 станка, открепляют все заготовки и снимают их со станка. В результате при нижнем положении заготовки 14 после первого прохода получают две заготовки 23 и 24, обработанные с одной стороны и заготовку 14 с двумя обработанными с высокой точностью параллельными плоскостями, расположенными с противоположных сторон заготовки. Для обработки 3- и 4-й боковых сторон заготовки 14 шток 10 зажимного вакуумного приспособления вместе с заготовкой поворачивают на угол 90°, предварительно вывернув фиксатор 15, и цикл повторяют без переустановки и перезакрепления заготовки, чем обеспечивают высокую точность выполняемого углового размера. После обработки 3- и 4-й сторон получают из заготовки 14 блок камня, обработанный с одной установки без перезакрепления со всех четырех боковых сторон.
Источники информации
1. Авторское свидетельство СССР №683915, кл. B28D 1/00, 1979.
2. Патент Германии №2534216, кл. B28B 11/06.
Формула изобретения
1. Камнеобрабатывающий станок для распиловки твердых камней, содержащий две горизонтальные режущие головки с инструментом, привод шпинделей и механизм рабочей подачи заготовки, отличающийся тем, что, с целью повышения производительности, улучшения качества обработанных блоков и для повышения удобства настройки станка на отрезание следующей пластины, станок снабжен двумя соосно расположенными выдвижными режущими головками, смонтированными в корпусе станка, причем осевое перемещение каждой головки осуществляется винтом, вынесенным за пределы внутреннего пространства станка.
2. Станок по п.1, отличающийся тем, что снабжен устройством для вакуумного закрепления заготовки, которое расположено на каретке продольной подачи и может поворачиваться вместе с заготовкой на любой угол вокруг вертикальной оси, причем одна из деталей устройства является штоком винтового домкрата, который может быть установлен в нужном положении по высоте при настройке инструмента на глубину резания и может поворачиваться вокруг своей оси на 360°, причем фиксируется неподвижно в положениях 0°, 90°, 270° и 360°, что позволяет установленную на штоке заготовку обрабатывать с четырех сторон без переустановки и перезакрепления.
3. Станок по п.1 или 2, отличающийся тем, что снабжен механическим зажимным приспособлением для дополнительного крепления заготовки, установленной и закрепленной в устройстве для вакуумного закрепления.
4. Станок по п.1, отличающийся тем, что снабжен гидростатической передачей винт-гайка, при помощи которой осуществляется рабочая подача заготовки.
5. Станок по п.1, отличающийся тем, что снабжен круглыми гидростатическими направляющими продольной подачи заготовки.
6. Станок по п.1, отличающийся тем, что снабжен двумя подвижными вдоль своей оси режущими головками, в которых смонтированы инструментальные шпиндели.
7. Станок по п.1, отличающийся тем, что снабжен двумя механическими устройствами зажима двух заготовок, устанавливаемых на плите каретки.
8. Станок по п.1, отличающийся тем, что снабжен двумя секторами П-образной формы, в полость которых подается СОЖ через телескопический трубопровод, причем секторы установлены диаметрально противоположно относительно оси инструмента и каждый из них неподвижно закреплен на корпусе режущей головки и вместе с ней может перемещаться в осевом направлении.
РИСУНКИ
|
|