|
|
(21), (22) Заявка: 2005136900/02, 28.11.2005
(24) Дата начала отсчета срока действия патента:
28.11.2005
(43) Дата публикации заявки: 10.06.2007
(46) Опубликовано: 20.11.2007
(56) Список документов, цитированных в отчете о поиске:
RU 2224647 C1, 27.02.2004. SU 1450990 A2, 15.01.1989. DE 4310470 A, 27.01.1994. US 4563840 A, 14.01.1986. US 4984396 A, 15.01.1991. US 4020596 A, 03.05.1977.
Адрес для переписки:
129366, Москва, а/я 702, пат.пов. Н.Г.Макарову, рег.№859
|
(72) Автор(ы):
Крючков Виктор Петрович (RU), Бугаев Владимир Стефанович (RU), Кулаков Вячеслав Васильевич (RU), Клестов Юрий Максимович (RU), Клепиков Сергей Александрович (RU)
(73) Патентообладатель(и):
Крючков Виктор Петрович (RU), Бугаев Владимир Стефанович (RU), Клепиков Сергей Александрович (RU)
|
(54) УСТРОЙСТВО ДЛЯ АБРАЗИВНО-СТРУЙНОЙ ОБРАБОТКИ ПОВЕРХНОСТИ
(57) Реферат:
Изобретение относится к области струйно-абразивной обработки и может быть использовано в технологических процессах обработки поверхностей. Устройство содержит корпус, в котором размещен сопловой блок, отводящий канал и канал подвода абразивосодержащей смеси. Сопловой блок выполнен в виде внутренней и внешней оболочек и имеет кольцевое сопло с проточной частью. Срединная поверхность проточной части имеет форму конуса, вершина которого лежит за пределами соплового блока. Внутренняя оболочка соплового блока выполнена в виде конфузорного сопла. Внешняя оболочка соплового блока и корпус выполнены с возможностью образования между ними кольцевого канала эжекции. В результате улучшается эвакуация отработавшего абразива из рабочей зоны, снижается пылевыделение в окружающую среду и уменьшается уровень шума. 3 з.п. ф-лы, 2 ил.
Изобретение относится к технике воздействия на поверхность материала высокоэнергетическими абразивосодержащими струями и может быть использовано в технологических процессах обработки поверхностей, например, с целью их очистки от загрязнений или старых покрытий.
Известно устройство для абразивно-струйной обработки поверхности, содержащее конический корпус с размещенным в нем сопловым блоком, выполненным в виде втулки (имеющей форму цилиндрической камеры) для подачи абразива, и штуцер для подачи сжатого воздуха; втулка выполнена в форме диффузора с образующей внутренней поверхности, составляющей угол с осью вращения диффузора 1,5-5°, при этом корпус на 3/4 длины выполнен в форме конуса с образующей, составляющей угол 15-20° с его осью вращения, причем выходное отверстие диффузора выполнено на срезе сопла (см. патент РФ №2146997, кл. В24С 5/04, оп. 27.03.2000 г.).
Недостатком известного устройства является недостаточно активная эвакуация отработавшего абразива из рабочей зоны, а также высокое пылевыделение в окружающую среду и высокая шумность устройства при его работе.
Наиболее близким к заявленному является устройство для абразивно-струйной обработки поверхности, содержащее размещенный в корпусе сопловой блок и канал подвода абразивосодержащего потока (см. патент РФ №2224647, кл. B28D 1/00, оп. 27.02.2004 г.).
Недостатком известного устройства является также недостаточно активная эвакуация отработавшего абразива из рабочей зоны, высокое пылевыделение в окружающую среду и высокая шумность устройства при его работе.
Технический результат, достигаемый настоящим изобретением, заключается в улучшении эвакуации отработавшего абразива из рабочей зоны за счет использования энергии абразивосодержащей смеси (например, воздушно-абразивной) при одновременном снижении пылевыделения в окружающую среду и уменьшении шумности при работе устройства.
Указанный технический результат достигается тем, что в устройстве для абразивно-струйной обработки поверхности, содержащем размещенный в корпусе сопловой блок, канал подвода абразивосодержащей смеси, сопловой блок включает кольцевое сопло с проточной частью, срединная поверхность которой имеет форму конуса, вершина которого находится за пределами соплового блока, внутренняя оболочка соплового блока образует конфузорное сопло, а сопловой блок и корпус образуют кольцевой канал эжекции, при этом корпус снабжен отводящим каналом.
Указанный результат достигается также тем, что корпус снабжен ограничителем его осевых перемещений.
Указанный результат достигается и тем, что корпус снабжен уплотнительным элементом.
Указанный результат достигается также тем, что кольцевое сопло выполнено сверхзвуковым.
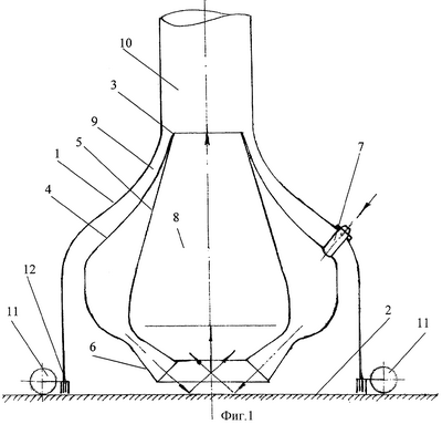
На фиг.1 показана конструктивная схема устройства для абразивно-струйной обработки поверхности (в разрезе).
На фиг.2 показана конструктивная схема устройства для абразивно-струйной обработки поверхности (в разрезе) в конкретной форме его выполнения, которая предполагает размещение системы подвода абразивной смеси непосредственно в сопловом блоке.
Устройство для абразивно-струйной обработки поверхности содержит корпус 1, например, колоколообразной формы с широкой частью, открытой в сторону обрабатываемой поверхности 2, как показано на фиг.1 и 2. Вместе с тем, колоколообразная форма корпуса не является единственно возможной в рамках настоящего изобретения и приведена исключительно как одна из возможных форм конкретного выполнения. В полости корпуса размещен сопловой блок 3, образованный наружной 4 и внутренней 5 оболочками. В состав соплового блока 3 входит кольцевое сопло 6, которое по его входу подключено к каналу подвода абразивосодержащей (например, воздушно-абразивной) смеси, выполненного, например, в виде патрубка 7, герметично введенного через стенку корпуса 1 в полость между наружной 4 и внутренней 5 оболочками кольцевого блока 3. Кольцевое сопло 6 своим выходом (срезом) обращено к обрабатываемой поверхности 2. Внутренняя оболочка 5 соплового блока 3 образует конфузорное сопло 8. Элементы крепления соплового блока 3 к корпусу 1 и оболочек 4 и 5 друг к другу на чертежах не показаны. Сопловой блок 3 и корпус 1 образуют кольцевой канал эжекции 9. Корпус 1 со стороны его сужающейся части снабжен отводящим каналом 10. Отводящий канал 10 соединяется с корпусом 1 за пределами (по ходу потока) кольцевого канала 9 эжекции и может быть выполнен конструктивно в виде любого известного элемента, допускающего соединение с отводящим трубопроводом (не показан), например в виде отверстия (в том числе резьбового) в корпусе, патрубка (в том числе приваренного к корпусу или изготовленного зацело с последним), штуцера, фланца и т.п.
Корпус 1 может быть снабжен ограничителем 11 его осевых перемещений. В частном случае, ограничитель 11 может быть выполнен в виде системы регулируемых роликовых или шаровых (сферических) опор (по меньшей мере, трех), закрепленных на корпусе и, преимущественно, равномерно расположенных по периметру его торцевой части, обращенной к обрабатываемой поверхности 2. Такой ограничитель осевых перемещений является односторонним, т.е. в рабочем состоянии устройства он ограничивает осевые перемещения корпуса 1 с сопловым блоком 3 по направлению к обрабатываемой поверхности 2 и, одновременно, не препятствует удалению корпуса 1 с сопловым блоком 3 от обрабатываемой поверхности. Вместе с тем, может быть использован и двухсторонний ограничитель осевых перемещений, например вакуумный или магнитный прижим. Корпус 1 в его торцевой части, обращенной к обрабатываемой поверхности 2, может быть оснащен (преимущественно, по всему его периметру) уплотнительным элементом 12. Наиболее предпочтительно использование упругого уплотнительного элемента, например уплотнительного элемента щеточного типа. Роликовые или шаровые (сферические) опоры целесообразно размещать с наружной стороны корпуса и, одновременно, с внешней стороны уплотнительного элемента 12, чтобы не подвергать их эрозионному износу.
В частном случае выполнения кольцевое сопло 6 может быть выполнено сверхзвуковым.
В примере конкретного выполнения устройства, показанном на фиг.2, канал подвода абразивной смеси размещен непосредственно в сопловом блоке между его наружной 4 и внутренней 5 оболочками и включает в себя кольцевую камеру 13 подачи абразива с патрубком 14 подвода абразива в эту камеру, кольцевую камеру 15 подачи носителя абразива (например, воздуха) с подводящим патрубком 16, кольцевую камеру 17 смешения абразива и носителя абразива (воздуха). Кольцевая камера 13 подачи абразива сообщается с кольцевой камерой 17 смешения посредством кольцевого канала 18.
Геометрия кольцевого сопла 6 выбрана так, что срединная поверхность 19 его проточной части имеет форму конуса, вершина 20 которого находится за пределами соплового блока 3 (т.е. вне объема соплового блока 3 и за пределами усеченного конуса, образованного конической поверхностью 21 среза кольцевого сопла 6), а угол при вершине указанного условного конуса может составлять от 5 до 85 градусов. При этом под термином «срединная поверхность» понимается некая условная поверхность, которая представляет собой геометрическое место точек, равноудаленных от наружной и внутренней поверхностей стенок кольцевого сопла 6. Понятие «срединная поверхность» широко используется в технике и, в данном случае, дает исчерпывающую характеристику геометрии проточной части кольцевого сопла 6. При работе устройства наилучший эффект достигается, когда вершина 20 конуса расположена на его оси. Однако вполне допустимы отклонения положения вершины 20 конической срединной поверхности 19, лежащие в пределах общепринятых значений допусков на изготовление и сборку подобных конструкций. В показанных на фиг.1 и 2 примерах конкретного выполнения устройства условная срединная поверхность 19 проточной части кольцевого сопла 6 является поверхностью кругового конуса (в частности, прямого кругового конуса).
Заявленное устройство работает следующим образом.
Устройство для абразивно-струйной обработки поверхности подводится к обрабатываемой поверхности 2 и путем поджатия к последней (например, вручную или с помощью известных механических приспособлений) позиционируется относительно нее ограничителем 11 (например, регулируемым) таким образом, чтобы обеспечить примерно одинаковое расстояние между торцевой кромкой корпуса и обрабатываемой поверхностью по всему периметру корпуса. При наличии упругого уплотнительного элемента 12 по всему периметру торцевой части корпуса эта задача существенно облегчается, поскольку такой уплотнительный элемент способствует самовыравниванию корпуса 1 относительно обрабатываемой поверхности 2.
При позиционировании устройства относительно обрабатываемой поверхности 2 расстояние «L» между ней и условной плоскостью 22, проведенной через наружную кромку конической поверхности 21 среза кольцевого сопла 6, стараются минимизировать, соблюдая при этом соотношения:
L=H-A и 0<А<Н
где Н – проектное (расчетное) для данного конического кольцевого сопла 6 расстояние между вершиной 20 конической срединной поверхности 19 и упомянутой условной плоскостью 22;
А – расстояние между вершиной 20 конической срединной поверхности 19 и обрабатываемой поверхностью.
После этого устройство готово к работе.
При выполнении устройства по схеме, показанной на фиг.1, абразивосодержащий поток (рассмотрим на примере с воздушно-абразивной смесью) от внешнего источника (выполненного, например, в виде смесителя-дозатора с псевдоожиженным слоем, как описано в патенте РФ №2118587, кл. В24С 1/00, оп. 10.09.1998, или в виде инжектора, как описано в патенте РФ №2070507, кл. В24С 3/06, оп. 1995.06.20) по каналу подвода абразивосодержащей смеси, выполненному, например, в виде патрубка 7, под избыточным давлением подается в пространство между наружной 4 и внутренней 5 оболочками соплового блока, откуда она попадает в кольцевое сопло 6. В кольцевом сопле 6 воздушно-абразивная смесь разгоняется и увеличивает свою кинетическую энергию, после чего истекает из него в направлении обрабатываемой поверхности 2.
Частицы абразива, обладающие высокой кинетической энергией, откалывают микрочастицы загрязнений или старых покрытий с обрабатываемой поверхности и большая их часть, отражаясь от обрабатываемой поверхности, уносится воздушным потоком через конфузорное сопло 8 в отводящий канал 10, связанный, например, с системой пылеулавливания пассивного типа (воздушный циклон). В месте слияния конфузорного сопла 8 и кольцевого канала 9 возникает эффект эжекции, благодаря которому частицы отработавшего абразива и микрочастицы загрязнений или покрытий, по каким-либо причинам не увлеченные воздушным потоком в кольцевое сопло 8, попадают в кольцевой канал эжекции 9 и, таким образом, все же эвакуируются из рабочей зоны также в отводящий канал 10. Наличие в заявленном устройстве пары «конфузорный канал – кольцевой канал эжекции» позволяет без дополнительных источников энергии (дополнительных отсосов) эвакуировать из рабочей зоны предельное количество загрязненного отработавшего абразива и максимально снизить пылевыделение в окружающую среду, что наиболее актуально при работе с токсичными покрытиями (отложениями) или радиоактивными загрязнениями на обрабатываемой поверхности. Замкнутость корпуса и наличие уплотнительного элемента 12 значительно снижают не только пылевыделение в окружающую среду, но также и шумность устройства.
При выполнении устройства по схеме, показанной на фиг.2, работа устройства протекает аналогично за исключением того, что подготовка воздушно-абразивной смеси происходит не за пределами устройства, а внутри его корпуса. Это позволяет снизить гидравлические потери при подаче воздушно-абразивной смеси в кольцевое сопло 6. По патрубку 14 абразив подводится в кольцевую камеру 13 подачи абразива. По патрубку 16 подается воздух в кольцевую камеру 15 подачи носителя абразива. Через кольцевой канал 18 частицы абразива попадают в кольцевую камеру 17 смешения, где захватываются потоком воздуха и увлекаются в кольцевое сопло 6. Остальные процессы аналогичны вышеописанным для устройства по схеме, показанной на фиг.1.
Выполнение кольцевого сопла 6 сверхзвуковым позволяет значительно увеличить кинетическую энергию потока воздушно-абразивной смеси при ее подаче к обрабатываемой поверхности.
Формула изобретения
1. Устройство для абразивно-струйной обработки поверхности, содержащее корпус, в котором размещен сопловой блок, и канал подвода абразивосодержащей смеси, отличающееся тем, что оно снабжено размещенным в корпусе отводящим каналом, сопловой блок выполнен в виде внутренней и внешней оболочек и имеет кольцевое сопло с проточной частью, срединная поверхность которой имеет форму конуса, вершина которого лежит за пределами соплового блока, внутренняя оболочка соплового блока выполнена в виде конфузорного сопла, а сопловой блок и корпус выполнены с возможностью образования между ними кольцевого канала эжекции.
2. Устройство по п.1, отличающееся тем, что оно снабжено расположенным в корпусе ограничителем осевых перемещений.
3. Устройство по любому из п.1 или 2, отличающееся тем, что оно снабжено расположенным в корпусе уплотнительным элементом.
4. Устройство по п.1, отличающееся тем, что кольцевой блок выполнен со сверхзвуковым кольцевым соплом.
РИСУНКИ
|
|