|
|
(21), (22) Заявка: 2005123411/02, 14.07.2005
(24) Дата начала отсчета срока действия патента:
14.07.2005
(43) Дата публикации заявки: 20.01.2007
(46) Опубликовано: 20.11.2007
(56) Список документов, цитированных в отчете о поиске:
RU 2147505 C1, 20.04.2000. US 3623278 А, 30.11.1971. US 2218353 А, 22.05.1939.
Адрес для переписки:
195067, Санкт-Петербург, Пискаревский пр-кт, 48, к.1, кв.28, С.В. Портнову
|
(72) Автор(ы):
Портнов Сергей Владимирович (RU), Ильин Михаил Иванович (RU), Ефремов Борис Викторович (RU)
(73) Патентообладатель(и):
Ильин Михаил Иванович (RU), Портнов Сергей Владимирович (RU), Ефремов Борис Викторович (RU)
|
(54) УСТРОЙСТВО ДЛЯ ОБРАБОТКИ ДЕТАЛЕЙ В ЦЕНТРОБЕЖНО-УПЛОТНЕННОМ ПОТОКЕ СВОБОДНОГО АБРАЗИВА
(57) Реферат:
Изобретение относится к области машиностроения и может быть использовано при обработке деталей в центробежно-уплотненном потоке свободного абразива. В корпусе устройства размещен с возможностью вращения ротор, заполненный свободным абразивом. С эксцентриситетом по отношению к валу ротора расположен дополнительный вал с тормозным устройством. Дополнительный вал установлен с возможностью наклона и изменения его положения в процессе обработки в плоскости, параллельной оси вращения ротора, и поворота его в плоскости, перпендикулярной упомянутой плоскости. На конце дополнительного вала установлена оправка для крепления диска с размещенными на нем деталями. Такая конструкция исключает поштуточную установку и съем деталей, повышает производительность и качество обработки и расширяет технологические возможности. 4 ил.
Изобретение относится к области машиностроения, точнее к устройствам для обработки деталей в центробежно-уплотненном потоке свободного абразива (ЦУПСА).
Сущность изобретения: в корпусе устройства размещен ротор, заполненный свободным абразивом.
Использование изобретения возможно в машиностроительной и аэрокосмической промышленности. Его применение даст увеличение производительности и расширение функциональных возможностей устройства. Известны устройства для обработки деталей в ЦУПСА [1, 2, 3, 4, 5], рассмотренные нами в качестве аналогов. Из рассмотренных аналогов ближе всего по технической сущности и достигаемому эффекту является устройство по патенту [3], принятое в качестве прототипа. Упомянутое устройство включает корпус с размещенным в нем с возможностью вращения ротором, заполненным свободным абразивом. Недостатком устройства [3] является сравнительно невысокая производительность, так как детали устанавливаются и снимаются поштучно.
Предлагаемое изобретение позволяет устранить отмеченный недостаток прототипа.
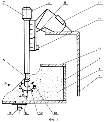
На фиг.1, 2, 3, 4 показано предлагаемое устройство. Устройство включает корпус 1, ротор 2, вал 3, свободный абразив 4, дополнительный вал 5, оправку 6, тормозное устройство 7 с задатчиком частоты вращения 8, привод 10 наклона вала 5, привод 11 поворота вала 5, диск 12 с размещенным на нем множеством деталей 13 (например, турбинных лопаток), крышку 14 ротора 2. На фиг.2, 3, 4 показаны возможные положения диска 12 с деталями 13.
Устройство работает следующим образом. Диск 12 комплектуется деталями 13 и закрепляется на оправке 6 вала 5, поднятого в верхнее нерабочее положение поворотом вокруг шарнира 9 с помощью привода 10. После чего вал 5 с диском 12 опускается поворотом вокруг шарнира 9 в нижнее рабочее положение и устанавливается относительно вала 3 с эксцентриситетом е. При вращении вала 3 с ротором 2 в последнем формируется ЦУПСА, который воздействует на обрабатываемую поверхность деталей 13. При помощи привода 11, существует возможность в процессе обработки изменять положение диска 12 в плоскости, перпендикулярной оси вращения ротора. Обрабатываемые детали последовательно погружаются в ЦУПСА, как показано на фиг.2, 3, 4, за счет чего достигается улучшение контакта ЦУПСА с обрабатываемой поверхностью и как следствие равномерная обработка изделий со всех сторон. Для расширения возможностей устройства по требованиям технологии дополнительный вал с диском 12 и деталями 13 можно так же наклонять в плоскости, параллельной оси вращения ротора, используя для этого привод наклона вала 10. По окончании обработки вал 5 с диском 12 с помощью привода 10 поднимается вверх, диск 12 снимается и заменяется новым.
К достоинствам предлагаемого устройства следует отнести высокую производительность и расширение функциональных возможностей.
Источники информации
1. Авторское свид. СССР №1423355, 1989 г.
2. Авторское свид. СССР №1448736, 1991 г.
3. Патент РФ №2147505, 2000 г.
4. Патент РФ №2049746, 2000 г.
5. Ящерицын П.И., Мартынов А.Н., Гридин А.Д. Финишная обработка деталей уплотненным потоком свободного абразива. Минск. Наука и техника, 1989 г.
Формула изобретения
Устройство для обработки деталей в центробежно-уплотненном потоке свободного абразива, содержащее корпус с размещенными в нем с возможностью вращения ротором, заполненным свободным абразивом, валом ротора и расположенным с эксцентриситетом по отношению к валу ротора дополнительным валом с тормозным устройством, отличающееся тем, что дополнительный вал установлен с возможностью наклона и изменения его положения в процессе обработки в плоскости, параллельной оси вращения ротора, и поворота его в плоскости, перпендикулярной упомянутой плоскости, при этом на конце дополнительного вала установлена оправка для крепления диска с размещенными на нем деталями.
РИСУНКИ
|
|