|
|
(21), (22) Заявка: 2005137679/02, 02.12.2005
(24) Дата начала отсчета срока действия патента:
02.12.2005
(43) Дата публикации заявки: 20.06.2007
(46) Опубликовано: 20.11.2007
(56) Список документов, цитированных в отчете о поиске:
БАНКЕТОВ А.Н. и др., Кузнечно-штамповочное производство. – М.: Машиностроение, 1970, с.410, рис.178. SU 1776236 A1, 15.11.1992. SU 904859 A1, 15.02.1982. GB 191567 A1, 18.01.1923. JP 10156472 А1, 16.06.1998.
Адрес для переписки:
390042, г.Рязань, ул. Промышленная, 5, ОАО “Тяжпрессмаш”
|
(72) Автор(ы):
Сафонов Анатолий Васильевич (RU), Аюпов Тафкил Хаматдинович (RU), Володин Алексей Михайлович (RU), Сорокин Владислав Алексеевич (RU), Петров Николай Павлович (RU), Никитин Василий Васильевич (RU), Ляпин Владимир Васильевич (RU)
(73) Патентообладатель(и):
Открытое акционерное общество “Тяжпрессмаш” (RU)
|
(54) ГОРИЗОНТАЛЬНО-КОВОЧНАЯ МАШИНА
(57) Реферат:
Изобретение относится к машинам, предназначенным для изготовления различных поковок методом горячей объемной штамповки из стали и цветных сплавов в разъемных матрицах. Машина содержит станину, в направляющих которой установлен штамповочный ползун, связанный шатуном с коленчатым валом, который соединен передачей с промежуточным валом, маховик, связанный передачей с электродвигателем, муфту, тормоз и электродвигатель управления. Она снабжена винтовым шариковым механизмом, винт которого установлен с возможностью вращения на опорном валу, жестко связанном с приводным валом машины и передачей с электродвигателем управления. Гайка соединена рычагами с маховиком и тягами через опоры вращения с нажимным диском сблокированных муфты и тормоза, установленных на маховике. В результате обеспечивается повышение эффективности работы, повышение эффективного кпд, уровня техники безопасности при работе на машине за счет повышения быстродействия системы управления, надежности эксплуатации и стабильности работы. 3 ил.
Изобретение относится к области кузнечно-прессового машиностроения, а конкретно к конструкции горизонтально-ковочных машин.
Известна конструкция горизонтально-ковочной машины, содержащей станину, в направляющих которой установлен ползун, связанный шатуном с коленчатым валом, боковой и зажимной ползуны. Привод машины осуществляется от электродвигателя, связанного ременной передачей с маховиком, на котором расположены сблокированные муфта и тормоз, привод которых осуществляется от пневмоцилиндра, питаемого сжатым воздухом через распределители от цеховой или заводской пневмосети [1].
Горизонтально-ковочная машина с пневматической системой управления обладает рядом недостатков, основным из которых является необходимость использования для работы машины двух энергоносителей: электрической энергии для привода главного электродвигателя и сжатого воздуха для включения и отключения муфты и тормоза.
Для подготовки и использования сжатого воздуха в системе управления необходимы мощные заводские или цеховые компрессорные станции, трубопроводы для подвода сжатого воздуха в производственные цеха и к машине.
На машине необходимо устанавливать дополнительную пневмоаппаратуру: пневмораспределители с электромагнитным управлением; ресивер для аккумулирования необходимого количества сжатого воздуха; трубопроводы цепей наполнения и опоражнивания, обеспечивающие подвод и отвод сжатого воздуха к пневмораспределителям, силовым цилиндрам муфты и тормоза и ресиверу; регулирующую и очистную аппаратуру для создания необходимого рабочего давления и очистки воздуха от загрязнений и конденсата и аппаратуру ввода в пневмоцилиндры смазки.
При работе машины сжатый воздух выбрасывается в атмосферу цеха, вместе с которым выбрасываются в атмосферу масляные пары и создается высокая шумовая нагрузка при работе машины, что приводит к тяжелым санитарным условиям эксплуатации, обслуживания и управления машины.
Применение в системе управления сжатого воздуха существенно снижает эффективный кпд машины. Например, только при выбросе сжатого воздуха в атмосферу теряется энергия, величина которой составляет 10…15% от энергии главного привода машины.
Система управления с применением сжатого воздуха снижает безопасность работы на машине и надежность ее работы из-за большого времени срабатывания и низкой надежности работы пневмоаппаратуры.
Известен также кривошипный пресс, содержащий станину, в направляющих которой установлен ползун, связанный шатуном с коленчатым валом, и маховик, связанный передачей с электродвигателем. В конструкции пресса система управления выполнена электромеханической, в которой включение и отключение муфты осуществляется от электродвигателя управления, связанного с нажимным диском муфты механизмом преобразования крутящего момента электродвигателя управления в силу, воздействующую на нажимной диск муфты. Электромеханическая система управления позволяет устранить недостатки пневматической системы управления: ликвидировать шумовую нагрузку вследствие отсутствия выхлопов сжатого воздуха; ликвидировать выбросы масляных паров в атмосферу цеха; повысить эффективный кпд пресса на 10…15% за счет отсутствия потерь энергии с выхлопом сжатого воздуха; повысить уровень техники безопасности при работе на прессе за счет повышения быстродействия системы управления при отсутствии пневматических распределителей; ликвидировать систему трубопроводов подвода воздуха; ликвидировать мощные компрессорные станции; ликвидировать регулирующую и очистную пневматическую аппаратуру; повысить надежность эксплуатации и стабильность работы кривошипных прессов.
Недостатком существующей системы управления является невозможность ее применения для включения и отключения сблокированных муфты и тормоза. Это связано с особенностью условий работы электродвигателя управления, при работе которых для обеспечения температурного режима вал должен постоянно вращаться со скоростью, превышающей критическую скорость вращения. При сблокированных муфты и тормоза при включенном тормозе и отключенной муфте нажимной диск не вращается, что не позволяет обеспечить нормальные условия работы электродвигателя управления при включении и отключении муфты и тормоза. В известной конструкции пресса электромеханическая система применена для управления муфты, а управление работой тормоза сохранено пневматическое, что не позволило полностью устранить недостатки пневматической системы управления.
Указанные недостатки устраняются в предлагаемой конструкции горизонтально-ковочной машины.
Задачей изобретения является повышение эффективности управления работой горизонтально-ковочной машиной со сблокированными муфтой и тормозом, позволяющее ликвидировать: шумовую нагрузку вследствие отсутствия выхлопов сжатого воздуха, выбросы масляных паров в атмосферу цеха, систему трубопроводов подвода воздуха, мощные компрессорные станции, регулирующую и очистную пневматическую аппаратуру; повысить эффективный кпд пресса на 10…15% за счет отсутствия потерь энергии с выхлопом сжатого воздуха, уровень техники безопасности при работе на машине за счет повышения быстродействия системы управления при отсутствии пневматических распределителей, надежность эксплуатации и стабильность работы горизонтально-ковочной машины.
Указанная задача достигается тем, что горизонтально-ковочная машина, содержащая станину, в направляющих которой установлен штамповочный ползун, связанный шатуном с коленчатым валом, который соединен передачей с приводным валом, маховик, связанный передачей с электродвигателем, муфту, тормоз и электродвигатель управления, снабжена винтовым шариковым механизмом, винт которого установлен с возможностью вращения на опорном валу, жестко связанном с приводным валом машины и ременной передачей с электродвигателем управления, а гайка соединена рычагами с маховиком и тягами через опоры вращения с нажимным диском сблокированных муфты и тормоза, установленных на маховике.
Сопоставимый анализ с прототипом показывает, что заявляемая горизонтально-ковочная машина отличается наличием новых конструктивных элементов: винтовым шариковым механизмом, винт которого установлен с возможностью вращения на опорном валу, жестко связанном с приводным валом машины и ременной передачей с электродвигателем управления, а гайка соединена рычагами с маховиком и тягами через опоры вращения с нажимным диском установленных на маховике сблокированных муфты и тормоза.
Таким образом, заявляемая горизонтально-ковочная машина соответствует критерию изобретения “новизна”.
Сравнение заявляемого решения с другими техническими решениями в данной области техники показывает, что отличительные признаки предлагаемой конструкции машины не известны, поэтому предложение соответствует критерию «существенные отличия».
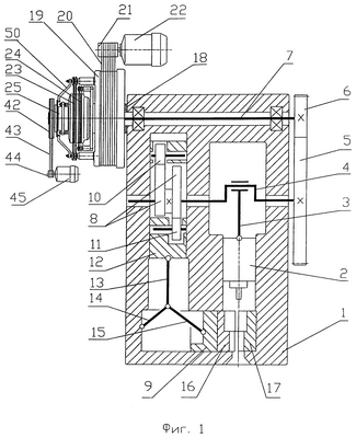
Конструкция и работа горизонтально-ковочной машины поясняется чертежами, где на фиг.1 изображен общий вид машины с разрезами; на фиг.2 – общий вид сблокированных муфты тормоза с механизмом преобразования крутящего момента в силу; на фиг.3 – общий вид механизма преобразования момента в силу.
Горизонтально-ковочная машина (фиг.1) содержит станину 1, в направляющих которой установлен штамповочный ползун 2, связанный шатуном 3 с коленчатым валом 4, который соединен зубчатой передачей 5 и 6 с приводным валом 7. На коленчатом валу 4 расположены кулаки 8 прямого и обратного хода привода зажимного ползуна 9. Кулаки 8 кинематически связаны с роликами 10 и 11, расположенными в боковом ползуне 12, который через шатун 13 и рычаги 14 и 15 осуществляет привод зажимного ползуна 9. На зажимном ползуне 9 установлена подвижная матрица 16, а на станине 1 закреплена неподвижная матрица 17. На станине 1 с возможностью вращения на втулке 18 установлен маховик 19, который связан ременной передачей 20 со шкивом 21 электродвигателя 22, установленного на станине 1 (крепление к станине условно не показано).
На маховике 19 установлены сблокированные муфта 23, тормоз 24 и механизм преобразования крутящего момента в силу 25 управления включением и отключением муфты 23 и тормоза 24. Муфта 23 (фиг.2) содержит ведущие диски 26, связанные пальцами 27 с маховиком 19, ведомый диск 28 и опорный диск 29, связанные через шлицевой корпус 30 с приводным валом 7. Тормоз 24 содержит неподвижные диски 31, связанные пальцами 32 с опорой 33, закрепленной на втулке 18, установленной на станине 1. Подвижный диск 34 связан шлицевым соединением с опорным диском 35 тормоза 24 и нажимным диском 36 муфты 23 и тормоза 24. Нажимной диск 36 подпружинен пружинами 37, которые обеспечивают тормозной момент тормоза 24.
Механизм преобразования крутящего момента в силу (фиг.3) содержит опорный вал 38 и крепится фланцем 39 к корпусу 30 (фиг.2), связанному с приводным валом 7. На опорном валу 38 на подшипниках 40 установлен винт 41 шариковой винтовой передачи, на котором закреплен шкив 42, связанный ременной передачей 43 (фиг.1) со шкивом 44 электродвигателя управления 45, установленного на станине 1 (крепление к станине условно не показано). Винт 41 шариками 46 связан с гайкой 47, которая соединена через жестко связанные с ней фланцы 48 и 49 рычагами 50 (фиг.2) с пальцами 27 и маховиком 19, а также через подшипники 51 и фланец 52 тягами 53 с нажимным диском 36.
Горизонтально-ковочная машина работает следующим образом.
Перед началом работы главный электродвигатель 22 и электродвигатель управления 45 отключены, штамповочный 2, зажимной 9 и боковой 12 ползуны занимают положение, показанное на фиг.1, нажимной диск 36 под действием пружин 37 занимает крайнее правое положение, обеспечивая включение тормоза 24 и отключение муфты 23. Для осуществления работы горизонтально-ковочной машины включается главный электродвигатель 22, который через ременную передачу 20 разгоняет маховик 19. При разгоне маховика 19 одновременно с ним разгоняется гайка 47, так как она связана с маховиком 19 рычагами 50. Винт 41 и шкив 42 вращаются в том же направлении и с той же скоростью, что гайка 47 и маховик 19. Через ременную передачу 43 приводится принудительно во вращательное движение ротор отключенного от сети электродвигателя управления 45.
Для осуществления машинного цикла включается в сеть электродвигатель управления 45. На его валу возникает крутящий момент, под действием которого скорость вращения шкива 42 и связанного с ним винта 41 увеличивается относительно гайки 47 и маховика 19. Гайка 47 начинает перемещаться влево и перемещает жестко связанный с ней тягами 53 нажимной диск 36. Нажимной диск 36 сжимает пружины 37, между дисками 31, 34 и 35 возникает зазор и тормоз 24 отключается. При дальнейшем вращении винта 41 относительно гайки 47 нажимной диск сжимает диски 26, 28 и 29 и включает муфту 23. Под действием крутящего момента муфты 23 приводной вал 7 начинает вращательное движение и через зубчатую передачу 5 и 6 приводит во вращательное движение коленчатый вал 4 и кулаки 8. Боковой ползун 12 через шатун 13 и рычаги 14 и 15 осуществляет привод зажимного ползуна 9. Зажимной ползун перемещается вправо и подвижной 16 и неподвижной 17 матрицами зажимает заготовку (не показана). Штамповочный ползун 2 осуществляет пуансоном (не показан) деформирование заготовки. В конце возвратного хода штамповочного 2 и бокового 12 ползунов электродвигатель управления 45 отключается, крутящий момент на его валу, шкиве 44, шкиве 42 и винте 41 за счет сил трения и сопротивления в ременной передаче 43 становится отрицательным. Тормозной момент вращению винта 41 создает также крутящий момент в резьбе от силы пружин 37, действующей на гайку 47 через нажимной диск 36, тяги 53 и фланец 52. Скорость вращения винта 41 относительно гайки 47 уменьшается и гайка 47 перемещается вправо. Между дисками 26, 28, 29 и нажимным диском 36 возникает зазор и муфта 23 отключается. При дальнейшем движении гайки 47 и связанного с ней нажимного диска 36 вправо нажимной диск 36 воздействует силой пружин 37 на диски 31, 34 и 35 и включает тормоз 24. Приводной вал 7 затормаживается и останавливается, остановив коленчатый вал и ползуны. Цикл одиночного хода заканчивается. Все элементы конструкции, установленные на маховике 19, вращаются со скоростью вращения маховика 19.
Конструкция горизонтально-ковочной машины позволяет осуществлять автоматические ходы, при которых электродвигатель управления 45 подключен к электросети постоянно и отключается по завершении автоматических ходов машины. При наладочном режиме работы машины при вращающемся маховике 19 включение и отключение электродвигателя управления 45 осуществляются непосредственно с пульта управления, что обеспечивает толчковый режим перемещения штамповочного ползуна 2 и других элементов конструкции машины.
Источники информации
1. Патент РФ №1776236, В30В, 1/06, заявл. 4829912/27 от 29.05.90., опубл. Бюл. №42, 15.11.92.
Формула изобретения
Горизонтально-ковочная машина, содержащая станину, в направляющих которой установлен штамповочный ползун, связанный шатуном с коленчатым валом, который соединен передачей с промежуточным валом, маховик, связанный передачей с электродвигателем, муфту, тормоз и электродвигатель управления, отличающаяся тем, что она снабжена винтовым шариковым механизмом, винт которого установлен с возможностью вращения на опорном валу, жестко связанном с приводным валом машины и ременной передачей с электродвигателем управления, а гайка соединена рычагами с маховиком и тягами через опоры вращения с нажимным диском сблокированных муфты и тормоза, установленных на маховике.
РИСУНКИ
|
|