|
(21), (22) Заявка: 2005133144/02, 28.10.2005
(24) Дата начала отсчета срока действия патента:
28.10.2005
(43) Дата публикации заявки: 10.05.2007
(46) Опубликовано: 20.11.2007
(56) Список документов, цитированных в отчете о поиске:
РУДОВИЧ А.О. и др. Технология и оборудование поперечно-клиновой прокатки. Технический альманах “НМ-оборудование”, 2005, №3, с.45-48. SU 617140 A1, 30.07.1978. SU 518243 A1, 25.06.1976. SU 1810192 A1, 23.04.1993. SU 484910 A1, 25.09.1975. US 3587268 А, 28.06.1971. US 3798942 A, 26.03.1974.
Адрес для переписки:
220121, г.Минск, ул. Притыцкого, 52, кв.25, В.А. Клушину
|
(72) Автор(ы):
Рудович Александр Олегович (BY), Клушин Валерий Александрович (BY)
(73) Патентообладатель(и):
Черкас Виктор Иванович (RU)
|
(54) СПОСОБ ПОПЕРЕЧНО-КЛИНОВОЙ ПРОКАТКИ ИЗДЕЛИЯ С УДЛИНЕННОЙ ОСЬЮ
(57) Реферат:
Изобретение относится к обработке металлов давлением и может быть использовано при производстве деталей с удлиненной осью. Исходную заготовку нагревают и подают в прокатную клеть. При этом контролируют температуру на позиции начала деформирования. Осуществляют профилирование изделия в заданном температурном интервале. Затем изделие удаляют из прокатной клети. Причем осуществляют дополнительный контроль температуры заготовки при ее деформировании и после удаления из прокатной клети. Измеряют величину фактического температурного интервала прокатки, которую сравнивают с заданным интервалом. Затем в зависимости от величины изменения температурного интервала прокатки увеличивают или уменьшают скорость деформирования и/или уменьшают температуру нагрева исходной заготовки в пределах заданного температурного интервала. Изменение скорости деформирования при плоско-клиновой схеме прокатки осуществляют в пределах 28-150 м/мин в соответствии с изменением температуры прокатываемой заготовки. В результате обеспечивается повышение качества прокатки изделий и исключение возможности вскрытия полости в осевой зоне. 1 з.п. ф-лы, 2 ил.
Изобретение относится к обработке металлов давлением, в частности к поперечно-клиновой прокатке, и может быть использовано при производстве деталей с удлиненной осью, получаемых непосредственно прокаткой, а также для предварительного профилирования заготовок под последующую малоотходную штамповку.
Известен способ поперечно-клиновой прокатки, включающий предварительный нагрев исходной заготовки, подачу нагретой заготовки в прокатную клеть и прокатку, при которой повышение точности прокатываемых изделий достигается за счет поддержания постоянного теплового режима в прокатной клети [1].
Недостаток способа заключается в том, что, стабилизируя тепловое состояние прокатной клети, не учитывают и ничем не компенсируют потери тепла прокатываемой заготовки при контакте с инструментами прокатки. Изменение температурного состояния прокатываемой заготовки в процессе ее деформации снижает точность прокатки.
Известен способ прокатки металлов, при котором изменяют температуру нагрева исходной заготовки в зависимости от изменения выходного параметра – расстояния между инструментами, измеряемого в процессе прокатки [2].
Известный способ позволяет повысить точность прокатки за счет учета погрешностей прокатки, вызванных разогревом инструмента и деталей прокатной клети.
Недостаток известного способа [2], так же как и способа [1], заключается в том, что в процессе прокатки не учитывается изменение теплового состояния прокатываемой заготовки, которое приводит к снижению точности из-за разброса величины температурной усадки и может явиться причиной вскрытия полости, например, при значительном понижении температуры отдельного участка прокатываемой заготовки.
Проблема повышения точности прокатки решена в способе поперечно-клиновой прокатки изделия с удлиненной осью, включающем нагрев исходной заготовки, подачу нагретой заготовки в прокатную клеть на позицию начала деформирования, входной контроль температуры нагрева исходной заготовки на позиции начала деформирования, профилирование изделия в заданном температурном интервале и удаление прокатанного изделия из прокатной клети. Указанный способ поперечно-клиновой прокатки изделия с удлиненной осью, принятый в качестве прототипа, реализован на автоматических линиях горячей поперечно-клиновой прокатки компании “АМТ инжиниринг” [3].
Известный способ [3] позволяет повысить точность прокатки благодаря осуществлению входного контроля температуры нагрева исходной заготовки пирометром, адаптированным к условиям наличия на заготовке окалины, и уменьшению времени термодинамической стабилизации процесса прокатки за счет интенсивного водяного охлаждения всех деталей прокатного стана, контактирующих с горячей заготовкой.
Недостаток прототипа заключается в том, что прокатку осуществляют в заданном контролируемом температурном режиме горячего или полугорячего деформирования, но при этом контролируют температурный интервал нагрева исходной заготовки и не контролируют температуру прокатываемой заготовки и прокатанного изделия. Отсутствие контроля температуры прокатываемой заготовки в процессе ее деформации не может гарантировать высокой точности прокатываемых изделий из-за возможности значительного разброса величины температурной усадки (температура прокатанного изделия, в зависимости конструктивных особенностей инструмента и технологических режимов прокатки, может значительно отличаться от температуры исходной заготовки – до 300°С).
Кроме того, при прокатке труднодеформируемых и малопластичных сплавов прокатку необходимо осуществлять в оптимальном, узком интервале температуры деформации. Снижение температуры прокатываемой заготовки за пределы оптимального интервала температуры деформации приводит к уменьшению пластичности и увеличению сопротивления деформированию металла заготовки, что, в свою очередь, уменьшает запас пластичности, остающийся в заготовке, для завершения процесса формообразования изделия. Процесс поперечно-клиновой прокатки вследствие накопления значительных деформаций в осевой части заготовки и уменьшения пластичности материала из-за уменьшения температуры заготовки в процессе ее прокатки может привести к осевому разрушению металла в виде вскрытия полости в осевой зоне заготовки, известной как “эффект Маннесмана”.
В основу изобретения положена задача повышения качества прокатки изделия с удлиненной осью за счет повышения размерной точности и исключения возможности вскрытия полости в осевой зоне.
Поставленная задача достигается тем, что в способе поперечно-клиновой прокатки изделия с удлиненной осью, включающем нагрев исходной заготовки, подачу нагретой заготовки в прокатную клеть на позицию начала деформирования, входной контроль температуры нагрева исходной заготовки на позиции начала деформирования, профилирование изделия в заданном температурном интервале и удаление прокатанного изделия из прокатной клети, согласно изобретению профилирование изделия поперечно-клиновой прокаткой осуществляют в изотермическом режиме с дополнительным контролем температуры прокатываемой заготовки при ее деформировании и прокатанного изделия после его удаления из прокатной клети и измерением величины фактического температурного интервала прокатки, который сравнивают с заданным интервалом, и в зависимости от величины изменения температурного интервала прокатки увеличивают или уменьшают, соответственно, скорость деформирования и/или уменьшают температуру нагрева исходной заготовки в пределах заданного температурного интервала.
В способе изменение скорости деформирования при плоскоклиновой схеме прокатки осуществляют в пределах 28-150 м/мин адекватно изменению температуры прокатываемой заготовки.
Отличительные признаки и технический результат находятся между собой в причинно-следственной связи, т.е. совокупность новых признаков с не очевидностью позволяет улучшать качество изделия за счет повышения размерной точности и исключения возможности вскрытия полости в осевой зоне, что свидетельствует о соответствии способа критерию “изобретательский уровень”.
Для лучшего понимания изобретения его поясняют чертежами, где
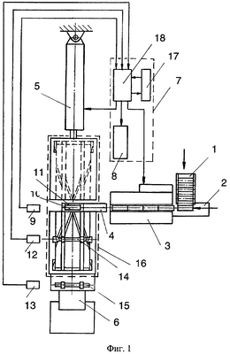
фиг.1 – схема технологической линии горячей поперечно-клиновой прокатки,
фиг.2 – график динамики изменения температуры прокатываемой заготовки в процессе ее деформации с разными скоростями прокатки.
Способ осуществляют на примере работы технологической линии горячей поперечно-клиновой прокатки по фиг.1, которая содержит устройство 1 для накопления и выдачи заготовок, механизм 2 передачи заготовок в индуктор, индукционный нагреватель 3, механизм 4 подачи нагретой заготовки в прокатную клеть стана на позицию начала деформирования, стан 5 поперечно-клиновой прокатки, механизм 6 удаления прокатанного изделия из прокатной клети и систему 7 автоматического управления линией.
Система 7 автоматического управления включает пульт 8 управления работой линии, датчик 9 входного контроля температуры нагрева исходной заготовки 10 на позиции 11 начала деформирования и датчики 12 и 13 дополнительного контроля, соответственно, температуры прокатываемой заготовки 14 при ее деформировании и прокатанного изделия 15 после его удаления из прокатной клети 16, задатчик 17 заданного температурного интервала прокатки и устройство 18 сравнения (контроля изменения) температурного интервала прокатываемой заготовки и формирования управляющей команды на изменение скорости деформирования и/или температуру нагрева исходной заготовки.
Датчики 9, 12 и 13 температуры нагрева заготовки (исходной и прокатываемой) и изделия подключены совместно с задатчиком 17 температурного интервала прокатки на вход устройства 18 сравнения, а выходы связаны с исполнительными элементами стана 5 поперечно-клиновой прокатки, изменяющими скорость прокатки, и индукционного нагревателя 3, изменяющего температуру нагрева исходной заготовки.
Изменение скорости деформирования осуществляют, например, пропорциональным распределителем потока жидкости, подаваемой на силовой гидроцилиндр стана 5 поперечно-клиновой прокатки.
Изменение температуры нагрева исходной заготовки осуществляют регулированием режима нагрева, например, за счет изменения напряжения индуктора индукционного нагревателя 3, в котором нагреваются заготовки.
Технологическая линия горячей поперечно-клиновой прокатки по фиг.1 работает следующим образом.
Исходные заготовки из устройства 1 для накопления и выдачи заготовок в автоматическом режиме механизмом 2 поштучно подают в индуктор индукционного нагревателя 3. По мере прохождения через индуктор заготовки разогревают до температуры максимального значения заданного температурного интервала нагрева исходной заготовки и механизмом 4 осуществляют подачу нагретой заготовки 10 в прокатную клеть 16 стана 5 на позицию 11 начала деформирования, где осуществляют входной контроль температуры нагрева исходной заготовки датчиком 9 температуры.
Затем исходную заготовку прокатывают в изотермическом режиме, выдерживая заданный температурный интервал, путем дополнительного контроля температуры прокатываемой заготовки 14 при ее деформировании датчиком 12 температуры и прокатанного изделия 15 после его удаления из прокатной клети 16 датчиком 13 температуры. Электрические сигналы от датчиков 9, 12 и 13 температуры поступают в устройство 18 сравнения (контроля изменения) температурного интервала прокатываемой заготовки с заданным температурным интервалом. Разница соответствующих сигналов, определяющая величину изменения температурного интервала, поступает в систему управления пропорциональным распределителем потока жидкости, подаваемой на силовой гидроцилиндр стана 5 поперечно-клиновой прокатки, что приводит к увеличению или уменьшению, соответственно, скорости деформирования.
Поперечно-клиновая прокатка деталей с удлиненной осью из штучных заготовок на станах с плоским инструментом и скоростью деформирования 28-40 м/мин, как правило, сопровождается снижением температуры нагрева заготовки в основном за счет теплоотдачи инструменту и в окружающую среду. В этом случае разница электрических сигналов, определяющая величину изменения температурного интервала, будет формировать управляющую команду на увеличение скорости прокатки, что в свою очередь уменьшит тепловые потери заготовки за счет сокращения времени деформирования и увеличит температуру прокатываемой заготовки за счет теплового эффекта пластической деформации.
Изменение скорости деформирования при плоскоклиновой схеме прокатки в соответствии с предлагаемым способом осуществляют в пределах 28-150 м/мин адекватно изменению температуры прокатываемой заготовки.
Таким образом, входной контроль температуры нагрева исходной заготовки на позиции начала деформирования и дополнительный контроль температуры прокатываемой заготовки при ее деформировании и прокатанного изделия после его удаления из прокатной клети позволяют осуществлять измерения величины заданного температурного интервала прокатки.
В зависимости от величины изменения температурного интервала изменяют – увеличивают или уменьшают, соответственно, скорость деформирования прокатываемой заготовки для осуществления изотермического режима прокатки заготовки в заданном интервале температур.
Изменением скорости деформирования можно не только добиться значительного уменьшения интервала температуры нагрева прокатываемой заготовки, но и, в идеале, сохранить исходное значение температуры нагрева заготовки в процессе ее деформирования.
Уменьшение интервала температуры нагрева прокатываемой заготовки в свою очередь позволяет уменьшить температуру нагрева исходной заготовки в пределах заданного температурного интервала адекватно его уменьшению (уменьшить максимальное значение температуры нагрева исходной заготовки в пределах заданного температурного интервала).
В технологической линии горячей поперечно-клиновой прокатки по фиг.1 уменьшение температуры нагрева исходной заготовки осуществляют регулированием режима нагрева за счет изменения напряжения индуктора индукционного нагревателя 3, в котором нагреваются заготовки, по команде, формируемой устройством 18 сравнения (контроля изменения) температурного интервала прокатываемой заготовки с заданным температурным интервалом. Температуру нагрева исходной заготовки уменьшают адекватно фактическому уменьшению интервала температуры нагрева прокатываемой заготовки.
Опытно-промышленные испытания заявленного способа осуществляли при прокатке изделий из латуни ЛС 59-1 с оптимальным интервалом температур деформирования 690-750°С.
Прокатывали изделия “Шток крана” из латунных заготовок 12×65 мм по известной и заявляемой технологиям.
По известной технологии прокатку осуществляли на стане поперечно-клиновой прокатки плоским инструментом с постоянной скоростью деформирования в пределах 28-40 м/мин.
Исходную заготовку нагревали до температуры 750°С и прокатывали в автоматическом режиме. Прокатка сопровождалась понижением температуры прокатываемой заготовки за пределы оптимального интервала температуры (фиг.2, кривая 1), что приводило к браку по причине вскрытия полости в осевой зоне прокатанного изделия. Вскрытие полости наблюдалось в каждом втором прокатанном изделии.
Прокатка на предельной для данного оборудования скорости деформирования 40 м/мин снизило количество бракованных изделий, но не исключило возможность вскрытия полости, так как потери тепла в прокатываемой заготовке оставались значительными. При прокатке можно было визуально наблюдать, как при переходе на прокатку последующей ступени изделия с большей степенью обжатия прокатываемая заготовка темнела, уменьшалась температура ее нагрева. Максимально уменьшить брак удалось лишь после изменения геометрии инструмента прокатки.
По заявляемой технологии исходную заготовку также нагревали до температуры 750°С и прокатывали в автоматическом режиме с возможностью изменения скорости деформирования в пределах 28-150 м/мин и температуры нагрева исходной заготовки.
В процессе прокатки в соответствии с заявленным способом осуществляли входной контроль температуры нагрева исходной заготовки на позиции начала деформирования и дополнительный контроль температуры прокатываемой заготовки при ее деформировании и прокатанного изделия после его удаления из прокатной клети. В зависимости от величины изменения температурного интервала прокатываемой заготовки изменяли скорость деформирования и температуру нагрева исходной заготовки.
Стабилизация температурного режима прокатки была достигнута при скорости прокатки 80 м/мин (фиг.2, кривая 2) и температуре нагрева исходной заготовки до 750°С, при этом интервал нагрева заготовки в процессе ее деформации уменьшился до (750-720)°С при заданном температурном интервале прокатки – (750-690)°С.
В соответствии с заявленным способом уменьшали температуру нагрева исходной заготовки в пределах заданного температурного интервала адекватно уменьшению интервала нагрева прокатываемой заготовки до 720°С, при этом температура прокатываемой заготовки в процессе ее деформации сохранялась в пределах (720-700)°С (фиг.2, кривая 3).
В партии прокатанных изделий (500 шт.) все изделия в полной мере соответствовали чертежу. Профилирование изделий было осуществлено в режиме изотермической поперечно-клиновой прокатки заготовки в интервале температур 720-700°С.
Как следует из сопоставительного анализа известного и заявленного способов профилирование изделий в режиме изотермической поперечно-клиновой прокатки позволяет повысить качество изделий с удлиненной осью за счет повышения размерной точности, благодаря уменьшению интервала температуры прокатки и, следовательно, величины температурной усадки и исключения возможности вскрытия полости в осевой зоне.
Заявляемый способ поперечно-клиновой прокатки изделий с удлиненной осью позволяет также снизить затраты на нагрев исходной заготовки, так как уменьшение интервала температуры нагрева прокатываемой заготовки позволяет, соответственно, снизить значение верхнего интервала температуры нагрева исходной заготовки.
Промышленное использование способа предполагается в РБ и СНГ.
Источники информации.
1. А.с. 617140 СССР, М. Кл.2 В21Н 1/18, В21В 37/10. Стан для поперечно-клиновой прокатки.
2. А.с. 747548 СССР, М. Кл.2 В21В 37/08, В21Н 1/18. Способ прокатки металлов.
Формула изобретения
1. Способ поперечно-клиновой прокатки изделия с удлиненной осью, включающий нагрев исходной заготовки, подачу нагретой заготовки в прокатную клеть на позицию начала деформирования, входной контроль температуры нагрева исходной заготовки на позиции начала деформирования, профилирование изделия в заданном температурном интервале и удаление прокатанного изделия из прокатной клети, отличающийся тем, что профилирование изделия поперечно-клиновой прокаткой осуществляют в изотермическом режиме с дополнительным контролем температуры прокатываемой заготовки при ее деформировании и прокатанного изделия после его удаления из прокатной клети и измерением величины фактического температурного интервала прокатки, который сравнивают с заданным интервалом, и в зависимости от величины изменения температурного интервала прокатки увеличивают или уменьшают скорость деформирования и/или уменьшают температуру нагрева исходной заготовки в пределах заданного температурного интервала.
2. Способ по п.1, отличающийся тем, что изменение скорости деформирования при плоскоклиновой схеме поперечно-клиновой прокатки осуществляют в пределах 28-150 м/мин в соответствии с изменением температуры прокатываемой заготовки.
РИСУНКИ
|