|
(21), (22) Заявка: 2005125123/02, 08.08.2005
(24) Дата начала отсчета срока действия патента:
08.08.2005
(43) Дата публикации заявки: 20.02.2007
(46) Опубликовано: 20.11.2007
(56) Список документов, цитированных в отчете о поиске:
RU 2191648 C1, 27.10.2002. RU 2210445 С2, 27.02.2003. SU 517336 A, 15.06.1976. US 2018247 A, 22.10.1935.
Адрес для переписки:
620012, г.Екатеринбург, пл. Первой пятилетки, ООО “УралмашСпецсталь”
|
(72) Автор(ы):
Соколов Петр Борисович (RU), Шарафутдинов Равиль Яковлевич (RU)
(73) Патентообладатель(и):
Общество с ограниченной ответственностью “УралмашСпецсталь” (RU)
|
(54) СОСТАВНОЙ ПРОКАТНЫЙ ВАЛОК
(57) Реферат:
Валок решает задачу повышения технологичности изготовления его составных частей, уменьшения растягивающих напряжений и увеличения срока его эксплуатации. Валок включает несущую профилированную ось с ограничительным буртом и сопрягаемый с ней по посадке бандаж с профилированной внутренней поверхностью. Внутренняя поверхность бандажа выполнена ответной формы. Исключение прокручивания бандажа относительно оси и его разрушения в процессе эксплуатации достигается за счет того, что несущая ось выполнена не менее чем из двух цилиндрических участков, а продольные оси смежных участков смещены в радиальном направлении на величину е, определяемую из неравенства 0,5(D-d)<е<0,5(D· Т· t+D-d- ), где D – наибольший диаметр цилиндрического участка бандажа; d – наименьший диаметр цилиндрического участка бандажа; Т – температура нагрева бандажа; t – коэффициент линейного расширения металла бандажа; – натяг. 1 ил.
Изобретение относится к прокатному производству, а именно к валкам рабочих клетей листовых и сортовых станов горячей и холодной прокатки.
Известен составной валок с креплением бандажа на оси за счет пружинного кольца, расположенного посередине бочки, при этом бандаж и ось сопряжены по посадке с гарантированным зазором (Полухин В.П., Полухин П.И., Николаев В.А. Составной рабочий инструмент прокатных станов. М.: Металлургия, 1977. С.27-28, фиг.4).
Недостатком этого валка является возможность прокручивания бандажа относительно несущей оси из-за отсутствия необходимого натяга по всей длине их сопрягаемых поверхностей.
Известна конструкция составного валка, принятая в качестве прототипа, содержащего несущую профилированную ось с буртом и с профилированной внутренней поверхностью бандаж, насаживаемый с натягом с возможностью свободного перемещения его участков меньшего диаметра в нагретом состоянии вдоль несущей оси через участки с большим диаметром по длине к бурту, при этом образующие посадочных поверхностей оси и бандажа выполнены криволинейными (Составной валок. Патент России №2191648. МПК В21В 27/03).
Недостатком этого валка является сложность изготовления посадочных поверхностей его составных частей, а также возможность разрушения бандажа в процессе эксплуатации от значительных растягивающих напряжений (более 200 МПа), что вызвано необходимостью создания большого натяга, обеспечивающего надежное сцепление его с несущей осью. Для повышения прочностных свойств бандажа необходимо увеличивать толщину его стенки и соответственно снимать большие объемы металла при изготовлении оси из отработанного валка, вследствие чего существенно повышается расходный коэффициент валков.
Задача, решаемая предлагаемым изобретением, заключается в уменьшении величины натяга и исключении прокручивания бандажа относительно несущей оси.
Эта задача решается следующим образом.
В известном составном валке, включающем несущую профилированную ось с ограничительным буртом и сопрягаемый с ней по посадке бандаж с профилированной внутренней поверхностью, согласно изобретению несущая ось выполнена не менее чем из двух цилиндрических участков, а продольные оси смежных участков смещены в радиальном направлении на величину е, определяемую из неравенства
0,5(D-d)<е<0,5(D· Т· t+D-d- ),
где D – наибольший диаметр цилиндрического участка бандажа;
d – наименьший диаметр цилиндрического участка бандажа;
Т – температура нагрева бандажа;
t – коэффициент линейного расширения металла бандажа;
– натяг,
при этом внутренняя поверхность бандажа выполнена ответной формы.
Данное профилирование сопрягаемых поверхностей несущей оси и бандажа исключает их взаимное прокручивание, при этом соединение бандажа с несущей осью может осуществляться с небольшим натягом, что позволит легко заменить бандаж и исключить его разрушение от растягивающих напряжений натяга.
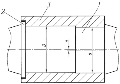
На чертеже изображен общий вид составного валка.
Валок состоит из несущей оси 1, на которой выполнен ограничительный бурт 2, и бандажа 3. Несущая ось 1 выполнена не менее чем из двух цилиндрических участков, а продольные оси смежных участков смещены в радиальном направлении на величину е, определяемую из неравенства:
0,5(D-d)<е<0,5(D· Т· t+D-d- ),
где D – наибольший диаметр цилиндрического участка бандажа;
d – наименьший диаметр цилиндрического участка бандажа;
Т – температура нагрева бандажа;
t – коэффициент линейного расширения металла бандажа;
– натяг.
Сопрягаемая внутренняя поверхность бандажа 3 выполнена ответной формы, т.е. продольные оси смежных цилиндрических поверхностей внутреннего пространства бандажа смещены аналогичным образом в радиальном направлении на величину е, определяемую из неравенства
0,5(D-d)<е<0,5(D· Т· t+D-d- ),
где D – наибольший диаметр цилиндрического участка бандажа;
d – наименьший диаметр цилиндрического участка бандажа;
Т – температура нагрева бандажа;
t – коэффициент линейного расширения металла бандажа;
– натяг.
В результате смещения продольных осей смежных цилиндрических участков несущей оси на величину, определяемую вышеприведенными неравенствами, их наружные контуры (окружности) перекрываются с образованием частей, имеющих серповидную в поперечном сечении фигуру. Эти части и препятствуют прокручиванию бандажа относительно оси даже при малом натяге. Кроме того, они исключают продольное смещение бандажа относительно несущей оси.
При е<0,5(D-d) окружности поперечных сечений смежных цилиндрических участков не будут пересекаться, и на несущей оси и бандаже не будет частей с уступом, которые бы противодействовали прокручиванию бандажа относительно несущей оси.
При е>0,5(D· Т· t+D-d- ) невозможно свободное перемещение несущей оси вдоль нагретого до посадочной температуры бандажа.
При равенстве диаметров всех цилиндрических участков несущей оси, т.е. D=d, неравенство упрощается до следующего:
0T· t– ).
Пример.
Требуется изготовить составной прокатный валок с габаритами бочки 1600×2000 для прокатной клети стана 2000 горячей прокатки. В качестве исходной заготовки для несущей оси выбирают отработанный валок, позволяющий выточить из него ось, состоящую из двух цилиндрических участков номинальным диаметром 1300 мм каждый. Заготовку для бандажа изготавливают из стали 90ХФ методом отливки в кокиль.
Коэффициент линейного расширения металла бандажа t для этой стали составляет 1,4·10-5°C-1. Расчетная температура нагрева бандажа под посадку на ось при сборке составного валка 350°С. Для обеспечения передачи крутящего натяга от оси к бандажу при данных размерах несущей оси и традиционном способе ее выполнения потребовался бы натяг не менее 1,3 мм. Однако величину натяга выбирают равную 0,2 мм.
Величину смещения в радиальном направлении продольных осей смежных цилиндрических участков определяем из неравенства
0,5(D-d)<е<0,5(D· Т· t+D-d- ).
После подстановки вышеуказанных значений параметров получаем:
0,5(1300-1300)<е<0,5(1300·350·1,4·10-5+1300-1300-0,2)
или 0<е<3,085 мм.
Для обеспечения свободного прохождения оси вдоль внутреннего пространства нагретого до температуры 350°С бандажа выбирают величину смещения продольных осей смежных участков в радиальном направлении равную 2 мм.
На первом этапе токарной обработки с одной установки в центрах производят съем металла с отработанного валка по всей его посадочной длине до диаметра не менее 1302,2 мм. На втором этапе с той же установки обтачивают примыкающий к ограничительному бурту участок несущей оси до диаметра 1300,2 мм. После этого полуфабрикат смещают в радиальном направлении на 2 мм и второй участок также обтачивают до диаметра 1300,2 мм. В результате на несущей оси получаются асимметричные ступеньки в виде выступающих за контур частей, которые препятствуют прокручивания бандажа относительно несущей оси даже при малом натяге, а также предотвращают его продольное смещение относительно оси. Максимальный размер между наружными контурами в плоскости смещения окружностей смежных участков несущей оси составляет 1302,2 мм.
Внутреннюю посадочную поверхность бандажа выполняют ответной формы, т.е. сначала растачивают с учетом натяга первый участок бандажа, примыкающий к ограничительному бурту, до диаметра 1300 мм, а после смещения продольной оси бандажа в радиальном направлении на 2 мм растачивают и второй участок до такого же диаметра.
Для обеспечения правильности монтажа сходственные участки несущей оси и бандажа предварительно метят термостойкой краской. Бандаж нагревают в камерной печи до температуры 350°С, при этом внутренние диаметры смежных цилиндрических участков бандажа увеличиваются до 1306,37 мм. Максимальный внутренний размер просвета в плоскости их смещения составляет 1304,37 мм, что превышает максимальный размер (1302,2 мм) между наружными контурами смещенных участков несущей оси на 2,17 мм и позволяет свободно переместить вдоль внутреннего пространства бандажа несущую ось при сборке валка.
После извлечения бандажа из печи его устанавливают в специальное приспособление на торец (в вертикальное положение). Несущую ось, подвешенную с торца буртом вверх, с помощью крана подводят к нагретому бандажу, добиваясь совмещения меток несущей оси и бандажа, и заводят ее внутрь бандажа до упора в ограничительный бурт. В процессе остывания на воздухе до окружающей температуры цеха выбирается зазор между несущей осью и бандажом, при этом бандаж с натягом облегает несущую ось. Величина натяга при этом составляет 0,2 мм.
Предложенная конструкция позволит повысить технологичность изготовления составных частей валка, увеличить срок эксплуатации составного валка за счет исключения прокручивания бандажа относительно несущей оси и его разрушения в процессе эксплуатации от значительных растягивающих напряжений натяга. Уменьшение толщины бандажа позволит существенно снизить расходный коэффициент валков, обеспечить более равномерный его нагрев под закалку и снизить разброс значений твердости бочки валка вдоль его образующей и по толщине закаленного слоя.
Формула изобретения
Составной прокатный валок, включающий несущую профилированную ось с ограничительным буртом и сопряженный с ней по посадке бандаж с профилированной внутренней поверхностью, отличающийся тем, что несущая ось выполнена не менее чем из двух цилиндрических участков, а продольные оси смежных участков смещены в радиальном направлении на величину е, определяемую из неравенства
0,5(D-d)<е<0,5(D· Т· t+D-d- ),
где D – наибольший диаметр цилиндрического участка бандажа, мм;
d – наименьший диаметр цилиндрического участка бандажа, мм;
Т – температура нагрева бандажа, °С;
t – коэффициент линейного расширения металла бандажа, °С-1;
– натяг, мм,
при этом внутренняя поверхность бандажа выполнена ответной формы к оси.
РИСУНКИ
PC4A – Регистрация договора об уступке патента СССР или патента Российской Федерации на изобретение
Прежний патентообладатель:
Общество с ограниченной ответственностью “УралмашСпецсталь”
(73) Патентообладатель:
Общество с ограниченной ответсвенностью “Уралмаш-Инжиниринг”
Договор № РД0039433 зарегистрирован 11.08.2008
Извещение опубликовано: 20.09.2008 БИ: 26/2008
|