|
|
(21), (22) Заявка: 2006116851/12, 16.05.2006
(24) Дата начала отсчета срока действия патента:
16.05.2006
(46) Опубликовано: 20.11.2007
(56) Список документов, цитированных в отчете о поиске:
RU 2177375 С2, 27.12.2001. SU 1553216 A1, 30.03.1990. US 5082518 A, 21.06.1992.
Адрес для переписки:
350044, г.Краснодар, Калинина, 13, КГАУ, Патентно-информационный отдел
|
(72) Автор(ы):
Потапенко Иосиф Андреевич (RU), Ададуров Евгений Анатольевич (RU), Харченко Павел Михайлович (RU), Винников Анатолий Витальевич (RU), Дробот Андрей Игоревич (RU)
(73) Патентообладатель(и):
Федеральное государственное образовательное учреждение высшего профессионального образования Кубанский государственный аграрный университет (RU)
|
(54) УСТРОЙСТВО ДЛЯ ОЧИСТКИ ИЗДЕЛИЙ
(57) Реферат:
Изобретение относится к области очистки изделий, в частности деталей моторов и механизмов тракторов, автомобилей и сельхозмашин. Устройство состоит из моечной ванны, в днище которой установлена пористая керамическая полусфера, емкости с изделиями, центробежного шарикового вибровозбудителя с приводом от сжатого воздуха, при этом трубопровод отвода сжатого воздуха снабжен индуктором для получения озоно-воздушной смеси и установлен на входе в керамическую полусферу. Изобретение обеспечивает повышение эффективности очистки, снижение расхода воздуха и электроэнергии и является простым в изготовлении. 1 ил.
Изобретение относится к области очистки изделий, в частности деталей моторов и механизмов тракторов, автомобилей и сельхозмашин.
Известно устройство для очистки изделий – см. авторское свидетельство СССР №442261, кл. В08В 3/12, где с помощью ультразвуковых колебаний осуществляют очистку изделий.
Недостатком известного способа является необходимость применения сложного электронного оборудования, что в свою очередь приводит к значительным материальным затратам.
Известна установка для мойки изделий – см. авторское свидетельство СССР №1553216, кл. В08В 3/10, содержащая моечную ванну, вибратор и емкость с изделиями.
Недостатком изобретения является конструктивная сложность и низкая надежность работы установки.
В качестве прототипа выбран патент России №2177375, кл. 7 В08В 3/10 «Устройство для очистки изделий» (разработка сотрудников Кубанского государственного аграрного университета).
Изобретение показало высокую эффективность в работе, но оно имеет серьезный недостаток – как и в других разработках, предназначенных для мойки, требуется значительный расход достаточно дорогостоящих химических реагентов, что во многих случаях сдерживает широкое практическое внедрение.
Техническим решением задачи является повышение эффективности очистки за счет улучшения качества, снижение энергозатрат и времени на очистку деталей машин и механизмов, снижение расхода химических реагентов и в конечном счете серьезное снижение экономических затрат.
Задача достигается тем, что устройство для очистки изделий, состоящее из моечной ванны, в днище которой установлена пористая керамическая полусфера, емкости с изделиями, центробежного шарикового вибровозбудителя с приводом от сжатого воздуха, отличается тем, что трубопровод отвода сжатого воздуха снабжен индуктором для получения озоно-воздушной смеси и установлен на входе в керамическую полусферу.
Новизна предложенного технического решения заключается в комплексном использовании мелкодисперсных пузырьков озона и окислов азота (NO, NO3, и NO5) в воде с одновременной воздействием вибрации, создаваемой центробежным шариковым вибровозбудителем со спектром частот до 400 Гц (см. И.П.Кривопишин. Озон в промышленном птицеводстве; М.; Росагропромиздат. 1988. См. справочник Вибрации в технике. Т.4, Машиностроение. 1987. С.296-297).
По данным патентной и научно-исследовательской литературы не обнаружена заявленная совокупность признаков, что позволяет судить об изобретательском уровне предложения.
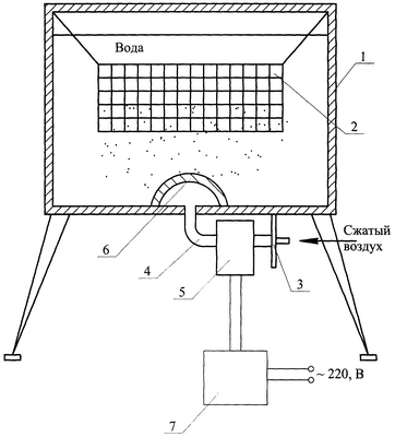
Сущность изобретения поясняется чертежом, где изображено предлагаемое устройство.
Устройство состоит из моечной ванны 1 с размещенной в ней корзиной 2 из металлической сетки, служащей для размещения деталей или изделий, подлежащих очистке (не показаны), в нижней части днища ванны установлен центробежный шариковый вибровозбудитель 3 с приводом от сжатого воздуха, отработанный воздух от которого по трубопроводу 4 поступает в индуктор 5 для производства озоновоздушной смеси, из которого озоно-воздушная смесь, а именно О3 и окислы азота NO, NO3, и NO5, через отверстие в днище ванны поступает в керамическую полусферу 6. Индуктор 5 подключен к регулируемому источнику высокого напряжения 7.
Устройство работает следующим образом. Детали или изделия, подлежащие очистке, помещают в корзину 2 из металлической сетки и заполняют моечную ванну 1 водой. От компрессора (не показанного) подается сжатый воздух в центробежный шариковый вибровозбудитель 3, который начинает вибрировать с частотой порядка 400 Гц, вследствие чего водное пространство ванны 1, а следовательно, и детали, размещенные в корзине 2, подвергаются вибрационному воздействию, вызывая эффект очистки. Одновременно включается источник высокого напряжения 7, вследствие чего сжатый воздух, поступающий из вибровозбудителя 3 по трубопроводу 4 в индуктор 5, преобразуется в озоно-воздушную смесь (О3 и окислы азота NO, NO3, и NO5) и далее через отверстие в днище ванны поступает в керамическую полусферу 6, где дробится на мелкодисперсные газовые пузырьки, которые вместе с водой эффективно очищают поверхность деталей, учитывая, что озон является сильнейшим окислителем как в воздушной, так и в водной среде.
Комплексное воздействие мелкодисперсных пузырьков озона и окислов азота и вибрации упругих колебаний, передающихся в водную среду через днище ванны 1, приводят к существенно более эффективной очистке, чем в известных конструкциях, при этом достижение поставленной задачи происходит при значительно более меньших расходах сжатого воздуха, а следовательно и электрической энергии, учитывая, что индуктор озона 5 потребляет не более 20 Вт.
Предложенное техническое решение не требует серьезных экономических затрат и может быть легко изготовлено силами инженерных служб сельскохозяйственных предприятий и фермерскими хозяйствами.
Формула изобретения
Устройство для очистки изделий, состоящее из моечной ванны, в днище которой установлена пористая керамическая полусфера, емкости с изделиями, центробежного шарикового вибровозбудителя с приводом от сжатого воздуха, отличающееся тем, что трубопровод отвода сжатого воздуха снабжен индуктором для получения озоновоздушной смеси и установлен на входе в керамическую полусферу.
РИСУНКИ
MM4A – Досрочное прекращение действия патента СССР или патента Российской Федерации на изобретение из-за неуплаты в установленный срок пошлины за поддержание патента в силе
Дата прекращения действия патента: 17.05.2008
Извещение опубликовано: 10.01.2010 БИ: 01/2010
|
|