|
|
(21), (22) Заявка: 2005131138/28, 07.10.2005
(24) Дата начала отсчета срока действия патента:
07.10.2005
(43) Дата публикации заявки: 20.04.2007
(46) Опубликовано: 20.11.2007
(56) Список документов, цитированных в отчете о поиске:
SU 1165487 A1, 07.07.1985. SU 1535644 A1, 15.01.1990. SU 1752448 A1, 07.08.1992. RU 35012 U1, 20.12.2003.
Адрес для переписки:
150000, г.Ярославль, Советская пл., 1/19, ЯрТПП, пат.пов. Ю.А.Кузьмину
|
(72) Автор(ы):
Масленников Владимир Сергеевич (RU), Мизернов Евгений Владимирович (RU), Сонин Константин Викторович (RU)
(73) Патентообладатель(и):
Открытое акционерное общество “Ярославский завод “Красный маяк” (RU)
|
(54) УПРАВЛЯЕМЫЙ ДЕБАЛАНСНЫЙ УЗЕЛ
(57) Реферат:
Изобретение относится к вибрационной технике, а именно к электромеханическим регулируемым вибраторам (вибровозбудителям), используемым в строительстве, в производстве строительных материалов и других отраслях промышленности. Задачей предлагаемого изобретения является обеспечение надежной и устойчивой работы управляемого дебалансного узла вибратора. Техническим результатом изобретения является упрощение конструкции, а также увеличение быстродействия при установке подвижного дебаланса на нужный угол. Это достигается тем, что в магнитную систему управляемого дебалансного узла введены постоянные магниты и генераторные обмотки переменного тока, подключенные к управляемому приемнику электрической энергии. На подвижном дебалансе установлены постоянные магниты, которые при вращении дебалансов удерживают подвижный и неподвижный дебалансы в сведенном состоянии. В воздушном зазоре постоянных магнитов располагается неподвижная генераторная обмотка, закрепленная на корпусе дебалансного узла. Нагрузкой для генераторных обмоток является управляемый приемник электрической энергии, который может содержать регулируемые активные и реактивные (частотно-зависимые) элементы. 8 з.п. ф-лы, 3 ил.
Изобретение относится к вибрационной технике, а именно к электромеханическим регулируемым вибраторам (вибровозбудителям), используемым в строительстве, в производстве строительных материалов и других отраслях промышленности.
Известен вибровозбудитель с изменяемым статическим моментом, содержащий основной и дополнительный выдвижные дебалансы, шарнирно закрепленные на кронштейнах, расположенных на приводном валу (Патент РФ №2184623, опубл. 10.07.2002, МПК 7 В06В 1/16). Дебалансы снабжены пружинами возврата их в исходное положение, причем пружины основного и дополнительного дебалансов имеют разные усилия настройки. Эта конструкция позволяет получить большую амплитуду колебаний при меньшей частоте вращения вала вибровозбудителя и меньшую амплитуды – при большей частоте вращения.
Известен также управляемый дебалансный вибровозбудитель, содержащий приводной двигатель, на валу которого размещены неподвижный и подвижный дебалансы и управляющее устройство взаимного положения дебалансов (Патент Узбекистана №3272, опубл. 30.12.95, бюл. №4). Управляющее устройство в этом вибровозбудителе выполнено в виде соединенного с неподвижным дебалансом посредством пружины металлического диска и закрепленных на корпусе приводного двигателя электромагнитов постоянного тока, охватывающих своими полюсами диск по окружности. Электромагниты постоянного тока запитываются от регулируемого источника постоянного тока и регулировкой тока устанавливается угол поворота подвижного дебаланса относительно неподвижного дебаланса. Таким образом, изменяется значение вибросилы (вынуждающей силы).
Данная конструкция вибровозбудителя по числу совпадающих признаков является наиболее близкой к заявляемому изобретению и принята в качестве прототипа.
Недостатками вышеперечисленных конструкций является наличие в управляемом дебалансном узле вибровозбудителя относительно малонадежного пружинного элемента, имеющего к тому же высокую колебательность, что снижает быстродействие при установке подвижного дебаланса в нужное положение.
Задачей предлагаемого изобретения является обеспечение надежной и устойчивой работы управляемого дебалансного узла вибратора. Техническим результатом изобретения является упрощение конструкции, а также увеличение быстродействия при установке подвижного дебаланса на нужный угол.
Это достигается тем, что в магнитную систему управляемого дебалансного узла введены постоянные магниты и генераторные обмотки переменного тока, подключенные к управляемому приемнику электрической энергии в отличие от прототипа, в котором обмотки электромагнитов питаются от управляемого источника электрической энергии.
Конструктивно, например, на подвижном дебалансе установлены постоянные магниты, которые при вращении дебалансов удерживают подвижный и неподвижный дебалансы в сведенном состоянии. В воздушном зазоре постоянных магнитов располагается неподвижная генераторная обмотка, закрепленная на корпусе дебалансного узла. Нагрузкой для генераторных обмоток является управляемый приемник электрической энергии, который может содержать регулируемые активные и реактивные (частотно-зависимые) элементы.
Когда цепь обмотки не замкнута на нагрузку, подвижный дебаланс под действием силы притяжения постоянных магнитов вращается вместе с неподвижным дебалансом в сведенном состоянии. Благодаря вращению магнитного поля постоянных магнитов в неподвижных обмотках генерируется ЭДС. При подключении нагрузки в обмотках наводится ток и возникает тормозной момент, воздействующий на подвижный дебаланс с закрепленными на нем постоянными магнитами. Подвижный дебаланс отстает от неподвижного на угол, определяемый величиной управляемой нагрузки. Выбором частотно-зависимой нагрузки можно получить, в частности, требуемую характеристику изменения величины вибросилы (вынуждающей силы) от частоты виброколебаний.
Обмотки могут быть выполнены как с ферромагнитным сердечником, так и без него, например, печатным способом на пластмассовой плате. Постоянные магниты, выполняющие функции сведения дебалансов и генерации ЭДС в обмотках, могут быть конструктивно разделены. Постоянные магниты, обеспечивающие генерацию ЭДС в обмотках, выполняются многополюсными по отношению к воздушному зазору, а постоянные магниты, предназначенные для сведения дебалансов, могут выполняться по отношению к воздушному зазору как многополюсными, так и однополюсными. В последнем случае восстанавливающий сведенное положение дебалансов момент является более равномерным, т.к. отсутствуют межполюсные изменения величины магнитной индукции в воздушном зазоре. Выполняющие функцию сведения постоянные магниты могут располагаться как на подвижном, так и на неподвижном дебалансе.
Для снижения величины осевой силовой нагрузки, воздействующей на подвижный дебаланс и неблагоприятно нагружающей подшипники, предлагаются конструкции с двумя постоянными магнитами, расположенными по обе стороны подвижного дебаланса, находящегося в этом случае между магнитопроводами, образованными неподвижным дебалансом и закрепленным на корпусе дебалансов ферромагнитным сердечником, несущим на себе обмотки.
Для снижения величины осевой силовой нагрузки предназначена также дифференциальная конструкция с разделенными постоянными магнитами, выполняющими функции сведения дебалансов и генерации ЭДС. Неподвижный дебаланс в этом случае выполнен из двух одинаковых половин и расположен по обе стороны подвижного дебаланса. На поверхностях половин неподвижного дебаланса, обращенных к подвижному дебалансу, размещены однополюсные, по отношению к воздушным зазорам, постоянные магниты, выполняющие функцию сведения дебалансов. Подвижный дебаланс состоит из двух половин, на внутренних поверхностях которых закреплены постоянные магниты, генерирующие ЭДС в печатных обмотках, расположенных в промежутке между половинами подвижных дебалансов.
Конец вала, на котором располагаются дебалансы, может быть выполнен эксцентрично по отношению к основной его части. Такое расположение дебалансов создает дополнительные возможности по формированию требуемой зависимости вибросилы (вынуждающей силы) от частоты вращения, а в момент пуска позволяет за счет инерционного отставания подвижного дебаланса на 180 градусов от неподвижного кратковременно снижать суммарный статический момент дебалансного узла и, следовательно, необходимый пусковой момент приводного двигателя.
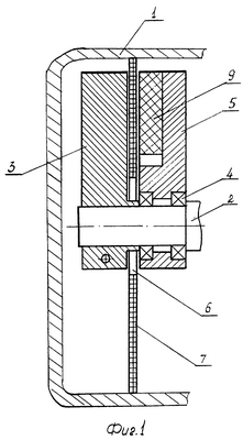
На фиг.1 представлен продольный разрез управляемого дебалансного узла с многополюсными постоянными магнитами, совмещающими функции сведения дебалансов и генерации ЭДС в обмотках, выполненных печатным способом, на фиг.2 – продольный разрез дебалансного узла с разделенными функциями постоянных магнитов, с частичной компенсацией осевых сил притяжения и с размещенной на ферромагнитном магнитопроводе обмоткой, на фиг.3 – продольный разрез дифференциальной конструкции управляемого дебалансного узла с разделенными функциями постоянных магнитов и эксцентрично смещенным концом вала, на котором расположены дебалансы.
Управляемый дабаласный узел имеет корпус 1 (показан условно). На приводном валу 2 закреплен неподвижный дебаланс 3, а на подшипниках 4 установлен подвижный дебаланс 5. Неподвижный 3 и подвижный 5 дебалансы могут быть установлены и на эксцентричном конце 21 приводного вала 2 (фиг.2, 3). В корпусе 1 закреплена печатная плата 6 с обмоткой 7 (фиг.1, 3) или ферромагнитный магнитопровод 8 с обмоткой 7 (фиг.2). Обмотка 7 известным образом подключена к управляемому приемнику электрической энергии, например, к переменному резистору (не показан).
На поверхности подвижного дебаланса, обращенной к обмоткам 7, закреплены, например, с помощью клея мнополюсные постоянные магниты 9. Постоянные магниты 10 могут быть установлены на противоположной поверхности подвижного дебаланса 5, обращенной к неподвижному дебалансу 3 (фиг.2), а также на поверхностях неподвижных дебалансов 31 и 32 (фиг.3). Эти магниты 10 могут иметь один полюс, обращенный к воздушному зазору. На фиг.3 многополюсные магниты 9 установлены напротив друг друга на внутренних поверхностях половин подвижного дебаланса 5, образуя кольцевой зазор, в котором расположена печатная плата 6 с обмотками. На поверхностях половин неподвижного дебаланса 31 и 32, обращенных к поверхностям подвижного дебаланса 5, установлены постоянные магниты 10, которые могут иметь один полюс, обращенный в сторону зазора.
Управляемый дебалансный узел работает следующим образом.
В начале вращения приводного вала 2 и при незамкнутой на нагрузку обмотке 7 дебалансы 3 и 5 вращаются в сведенном состоянии за счет силы притяжения постоянных магнитов 9. При установке дебалансов 3 и 5 на эксцентричном конце 21 вала 2, в пусковой момент времени подвижный дебаланс 5 разворачивается по отношению к неподвижному 3 под углом 180°, а при выходе приводного вала 2 на номинальные обороты занимает близкое к сведенному с неподвижным дебалансом 3 положение.
При подключении к обмотке 7 нагрузки в виде управляемого приемника электрической энергии благодаря генерируемой при вращении многополюсных магнитов ЭДС в обмотках появляется ток и создается тормозной момент, вызывающий отставание подвижного дебаланса 5 от неподвижного 3 на угол, зависящий как от величины нагрузки, так и от момента, создаваемого постоянными магнитами 9 в направлении сведения дебалансов 3 и 5 в согласованное положение. Вид зависимости угла смещения дебалансов 3 и 5, а, следовательно, и величины вибросилы (вынуждающей силы) от частоты вращения определяется также частотной зависимостью нагрузки и эксцентриситетом вала, на котором находятся дебалансы. Все это позволяет формировать в целях упрощения управления разнообразные характеристики зависимости вибросилы (вынуждающей силы) от частоты вращения дебалансов.
В конструкции управляемого дебалансного узла на фиг.2 уменьшена, а в конструкции узла на фиг.3 практически исключена дополнительная к центробежной нагрузка на подшипники 4 подвижного дебаланса 5, вызванная осевым усилием притяжения постоянных магнитов 9, 10. Благодаря однополюсному исполнению постоянных магнитов 10, выполняющих функцию сведения дебалансов, в конструкции на фиг.3 в угловой характеристике вибросилы (вынуждающей силы) отсутствуют провалы, связанные с неравномерностью величины индукции в зазоре многополюсных постоянных магнитов.
Ввиду наличия современных материалов с различными магнитными свойствами, например самарий-кобальтовые магниты (SmCo), магниты неодим-железо-боровые (NdFeB), ферритовые магниты (керамика), магнитопласты конструкция управляемого дебалансного узла осуществима и в настоящее время на предприятии-заявителе проводятся опытно-конструкторские работы по созданию вибраторов с предлагаемым дебалансным узлом.
Формула изобретения
1. Управляемый дебалансный узел, содержащий корпус, приводной вал с неподвижным и подвижным дебалансами, магнитную систему с обмоткой, закрепленной на корпусе дебалансов и подключенной к управляющему устройству взаимного положения дебалансов, отличающийся тем, что магнитная система включает в себя постоянные магниты, установленные на поверхностях дебалансов, в том числе и ответных обмотке, а управляющее устройство взаимного положения дебалансов выполнено в виде управляемого приемника электрической энергии.
2. Управляемый дебалансный узел по п.1, отличающийся тем, что обмотка снабжена ферромагнитным сердечником.
3. Управляемый дебалансный узел по п.1, отличающийся тем, что постоянный магнит установлен на подвижном дебалансе.
4. Управляемый дебалансный узел по п.1, отличающийся тем, что постоянный магнит установлен на неподвижном дебалансе в районе постоянного магнита подвижного дебаланса.
5. Управляемый дебалансный узел по п.1, отличающийся тем, что обмотка расположена в кольцевом пазу подвижного дебаланса, а постоянные магниты установлены на плоскостях кольцевого паза, обращенных к обмотке.
6. Управляемый дебалансный узел по п.1, отличающийся тем, что подвижный и неподвижный дебалансы установлены на эксцентричном конце приводного вала.
7. Управляемый дебалансный узел по п.1, отличающийся тем, что управляемый приемник электрической энергии выполнен в виде регулируемой активной нагрузки.
8. Управляемый дебалансный узел по п.1, отличающийся тем, что управляемый приемник электрической энергии выполнен в виде регулируемой реактивной нагрузки.
9. Управляемый дебалансный узел по п.1, отличающийся тем, что постоянные магниты, ответные обмотке, выполнены многополюсными, а постоянные магниты, ответные дебалансам, выполнены однополюсными.
РИСУНКИ
|
|