|
| На основании пункта 3 статьи 13 Патентного закона Российской Федерации от 23 сентября 1992 г. № 3517-I патентообладатель обязуется передать исключительное право на изобретение (уступить патент) на условиях, соответствующих установившейся практике, лицу, первому изъявившему такое желание и уведомившему об этом патентообладателя и федеральный орган исполнительной власти по интеллектуальной собственности, – гражданину РФ или российскому юридическому лицу. |
|
(21), (22) Заявка: 2006101520/15, 20.01.2006
(24) Дата начала отсчета срока действия патента:
20.01.2006
(46) Опубликовано: 20.11.2007
(56) Список документов, цитированных в отчете о поиске:
СТРАУС В., Промышленная очистка газов, Москва, Химия, 1981, с.531-532. SU 893227 А, 30.12.1981. SU 682252 А, 30.08.1979. GB 1421025 А1, 14.01.1976. JP 2004108332 А, 08.04.2004. МОРГУЛИС М.Л. и др., Рукавные фильтры, Москва, Машиностроение, 1977, с.104, 202-209.
Адрес для переписки:
123458, Москва, ул. Твардовского, 11, кв.92, О.С. Кочетову
|
(72) Автор(ы):
Кочетов Олег Савельевич (RU), Кочетова Мария Олеговна (RU), Стареев Михаил Евгеньевич (RU), Львов Геннадий Васильевич (RU)
(73) Патентообладатель(и):
Кочетов Олег Савельевич (RU)
|
(54) УСТАНОВКА ПЫЛЕУЛАВЛИВАЮЩАЯ ДВУХСТУПЕНЧАТАЯ
(57) Реферат:
Изобретение относится к технике пылеулавливания. Установка содержит циклон и тонкий фильтр. Циклон содержит корпус, периферийный ввод газового потока, осевой выходной патрубок очищенного газа и соединен с акустической колонкой. Акустическая колонка в своей нижней части связана с периферийным вводом газового потока циклона. Генератор звуковых колебаний связан с блоком управления. Тонкий фильтр выполнен в виде рукавного фильтра с системой регенерации, содержащего единый корпус с крышей, в котором размещены блок фильтров с фильтрующими элементами рукавного типа, короба для входа загрязненного и выхода чистого воздуха, бункерный накопитель с устройством непрерывной выгрузки пыли. В корпусе блока фильтров установлен датчик температуры, в бункере для сбора пыли – аварийный датчик уровня пыли, в выходном коробе – тепловой автоматический датчик-извещатель, выходы которых соединены с общим микропроцессором, размещенным в шкафу управления, а в выходном коробе установлен коллектор с форсунками для подключения к системе пожаротушения, блок управления которой соединен с общим микропроцессором, а система регенерации фильтрующих элементов выполнена в виде рамы встряхивания с вибратором и содержит блок управления, который связан электронной связью с общим микропроцессором. Технический результат – повышение эффективности пылеулавливания. 1 з.п. ф-лы, 2 ил.
Изобретение относится к технике пылеулавливания и может применяться в химической, текстильной, пищевой, легкой и других отраслях промышленности для очистки запыленных газов.
Наиболее близким техническим решением к заявляемому объекту является установка пылеулавливания, содержащая циклон и фильтр, связанные между собой воздуховодом таким образом, что выход циклона соединен со входом фильтра, причем циклон включает корпус, состоящий из цилиндрической и конической частей, входной и выходной патрубки, выхлопную трубу, а фильтр содержит корпус с крышкой, фильтровальную секцию, бункер, входной и выходной патрубки, систему регенерации и блок управления регенерацией (кн. Моргулис М.Л. и др. Рукавные фильтры. М.: Машиностроение, 1977, c.104 – прототип).
Недостатком прототипа является сравнительно невысокая эффективность пылеулавливания за счет частичного возврата мелкодисперсной пыли в осевой патрубок.
Технический результат – повышение эффективности пылеулавливания.
Это достигается тем, что в установке акустической пылеулавливающей, содержащей циклон и фильтр, связанные между собой воздуховодом таким образом, что выход циклона соединен со входом фильтра, причем циклон включает корпус, состоящий из цилиндрической и конической частей, входной и выходной патрубки, выхлопную трубу, а фильтр содержит корпус с крышкой, фильтровальную секцию, бункер, входной и выходной патрубки, систему регенерации и блок управления регенерацией, циклон содержит корпус, состоящий из цилиндрической и конической частей, расположенные в его верхней части периферийный ввод газового потока и осевой выходной патрубок очищенного газа, акустическую колонку с расположенным в верхней части генератором звуковых колебаний, акустическая колонка в своей нижней части связана с периферийным вводом газового потока, причем генератор звуковых колебаний связан с блоком управления, а тонкий фильтр выполнен в виде рукавного фильтра с системой регенерации, содержащий единый корпус с крышей, в котором размещены блок фильтров с фильтрующими элементами рукавного типа, короб для входа загрязненного воздуха в установку и короб для выхода чистого воздуха из установки, бункерный накопитель с устройством непрерывной выгрузки отходов, содержащий бункер, шлюз, шнековый механизм выгрузки, систему регенерации фильтрующих элементов, выполненную в виде рамы встряхивания с вибратором, а в корпусе блока фильтров установлен датчик температуры, в бункере для сбора пыли – аварийный датчик уровня пыли, в выходном коробе – тепловой автоматический датчик-извещатель, выходы которых соединены с общим микропроцессором, размещенным в шкафу управления, а в выходном коробе установлен коллектор с форсунками для подключения к системе пожаротушения, блок управления которой соединен с общим микропроцессором, а система регенерации рукавных фильтров содержит блок управления, который связан электронной связью с общим микропроцессором.
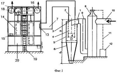
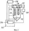
На фиг.1 изображен общий вид установки акустической пылеулавливающей, на фиг.2 – схема обеспечения пожаровзрывобезопасности работы фильтра.
Установка акустическая пылеулавливающая состоит из циклона 5 и тонкого 17 фильтров, связанных между собой упругим воздуховодом 7 таким образом, что выход 2 предварительного фильтра соединен со входом 13 тонкого фильтра. Циклон содержит корпус, состоящий из цилиндрической 5 и конической 6 частей, расположенные в его верхней части периферийный ввод 1 газового потока и осевой выходной патрубок 4 очищенного газа, акустическую колонку 8 с расположенным в верхней части генератором звуковых колебаний, акустическая колонка в своей нижней части связана байпасным отводом с периферийным вводом 1 газового потока, причем генератор звуковых колебании 8 связан связью 11 с блоком управления 12, а вход загрязненного воздуха осуществляется через патрубок 10.
Оптимальными параметрами для звуковой обработки являются: уровень звукового давления в диапазоне 130…145 дБ, частота звуковых колебаний в диапазоне 900…2000 Гц, время озвучивания в диапазоне 1,5…2,5 с, концентрация пыли в воздушном потоке – не менее 2 г/м3, а для вибрационной обработки: уровень вибрации в диапазоне 70…85 дБ, частота колебаний в диапазоне 31,5…125 Гц, время воздействия 5 с с интервалом 30 с, концентрация пыли в воздушном потоке – не менее 0,5 г/м3.
Тонкий фильтр выполнен как фильтр рукавный с системой регенерации и содержит единый корпус с крышей 17, в котором размещены блок фильтров 14 с фильтрующими элементами 15 рукавного типа, короб 13 для входа загрязненного воздуха в установку и короб 16 для выхода чистого воздуха из установки, бункерный накопитель 20 с устройством непрерывной выгрузки отходов, содержащий бункер, шлюз, шнековый механизм выгрузки, систему регенерации фильтрующих элементов 18 рукавного типа, выполненную в виде рамы встряхивания с вибратором, а также лестницу 19 и площадку для обслуживания фильтра. Устройство выгрузки может быть двух типов: выгрузка на базе шнекового транспортера и выгрузка на основе цепного транспортера. Установка комплектуется шкафом управления и выносным пультом управления системой выгрузки и системой подачи воды при возгорании и дублирующей системой порошкового пожаротушения (на чертеже не показаны).
В корпусе блока фильтров установлен датчик 21 температуры, в бункере для сбора пыли – аварийный датчик уровня пыли 22, в выходном коробе – тепловой автоматический датчик-извещатель 23, выходы которых соединены с общим микропроцессором 24, размещенным в шкафу управления 25 (фиг.2), а в выходном коробе установлен коллектор 26 с форсунками 27 для подключения к системе пожаротушения, блок управления 28 которой соединен с общим микропроцессором 24, а система регенерации 29 рукавных фильтров содержит блок управления 30, который связан электронной связью с общим микропроцессором 24.
Корпусные детали и детали ограждения выполнены из конструкционных композиционных или полимерных материалов, например полиэтилена, капрона, полиуретана с помощью литья, штамповки, сварки, формования, причем на поверхности деталей ограждения нанесен слой мягкого вибродемпфирующего материала, например типа мастики «ВД-17» или «Герлен-Д», а соотношение между толщиной материала и вибродемпфирующего покрытия находится в оптимальном интервале величин: 1/(2,5…4), причем поверх вибродемпфирующего слоя закрепляется слой звукопоглощающего материала, например типа «винипор», «акмигран» с защитной акустически прозрачной пленкой типа «повиден».
Бункер для сбора пыли выполнен конической или пирамидальной формы с углом наклона стенок, превышающим угол естественного откоса улавливаемой пыли, а в блоке фильтров фильтрующие элементы рукавного типа располагаются прямыми рядами или в шахматном порядке, причем отношение длины рукава L к его диаметру D находится в оптимальном интервале величин: L/D=15…40, который обусловлен оптимальными условиями регенерации фильтрующих элементов рукавного типа.
В качестве материала фильтрующих рукавных элементов используются как тканые материалы со способами переплетения: полотняные, саржевые, сатиновые; с видами волокон в нити: штапельные, филаментные, текстурированные; с обработкой поверхности: гладкие и ворсованные, так и нетканые со способами закрепления волокон: иглопробивные, холстопрошивные и клееные, полученные вышеперечисленными способами из естественных волокон животного и растительного происхождения, искусственных органических волокон (лавсан, нитрон, капрон, хлорин, оксалон, полипропилен, поливинилхлорид, фторопласт, тефлон и др.), искусственных неорганических волокон (например, стеклянное волокно).
Установка акустическая пылеулавливающая работает следующим образом.
Запыленный газовый поток подается через патрубок 10 в акустическую колонку 8, параметры звуковых колебаний которой настраиваются от блока управления 12. В звуковой колонке 8 происходит отделение от воздуха пылевых частиц, так как под действием звукового поля и связанных с ним колебательных процессов, происходящих в воздушной среде, пылевые частицы коагулируются, а крупные частицы оседают вниз колонны, откуда воздушный поток поступает на вторичную очистку в циклоне через воздуховод 9 на ввод 1. Здесь он закручивается за счет тангенциального периферийного ввода и винтообразной крышки 3. Затем направляется по нисходящей винтовой линии вдоль стенок аппарата. В результате чего частицы пыли под действием центробежной силы движутся от центра аппарата к периферии и, достигая стенок аппарата, транспортируются вниз в коническую часть 6 корпуса для сбора уловленной пыли. Предварительно очищенный воздух выводится из циклона через выходной патрубок 4. При этом легкие, мелкодисперсные фракции частиц пыли, не уловленные в конической части корпуса, задерживаются на тонком фильтре 17, связанном с ним воздуховодами 2 и 7.
После предварительной очистки в циклоне 5 газ поступает в короб 13 для входа загрязненного воздуха в тонкий фильтр 17, затем в блок фильтров 14 с фильтрующими элементами 15 рукавного типа. Пыль осаждается на внутренней поверхности рукавов и периодически сбрасывается с них системой регенерации 18 фильтрующих элементов, выполненной в виде рамы встряхивания с вибратором. Пыль ссыпается в бункер 20, откуда через шлюз посредством шнекового механизма выгрузки удаляется из фильтра. Для обслуживания фильтра предусмотрены лестница 19 и площадка. Устройство выгрузки может быть двух типов: выгрузка на базе шнекового транспортера и выгрузка на основе цепного транспортера. Установка комплектуется шкафом управления с микропроцессором, управляемым системами регенерации, выгрузки и пожаротушения.
Сигналы от датчика 21 температуры, аварийного датчика уровня пыли 22, теплового автоматического датчика-извещателя 23 поступают на вход общего микропроцессора 24, размещенного в шкафу управления 25 (фиг.2); при этом блок управления 28 системой пожаротушения и блок управления 30 системой регенерации рукавных фильтров также связаны электронной связью с общим микропроцессором 24. При отклонениях контролируемых параметров технологического процесса, зарегистрированных соответствующими датчиками, общий микропроцессор 24 вырабатывает управляющие сигналы для блока управления системой пожаротушения и блока управления системой регенерации рукавных фильтров.
Удельная газовая нагрузка на фильтр выбирается с учетом физико-химических свойств пылегазового потока для каждого конкретного технологического процесса.
В аппарате происходит снижение виброакустической энергии, так как фильтрующие элементы одновременно являются аэродинамическим глушителем шума активного (сорбционного) типа. Пылеулавливающие аппараты данного типа предназначены для центральных систем аспирации.
Гидравлическое сопротивление фильтрующего элемента составляет 15…25% от гидравлического сопротивления всего аппарата, а материал фильтрующего элемента обладает повышенными звукопоглощающими свойствами.
Формула изобретения
1. Установка акустическая пылеулавливающая, содержащая циклон и тонкий фильтр, связанные между собой воздуховодом таким образом, что выход циклона соединен со входом фильтра, отличающаяся тем, что циклон содержит корпус, состоящий из цилиндрической и конической частей, расположенные в его верхней части периферийный ввод газового потока и осевой выходной патрубок очищенного газа, и соединен с акустической колонкой с расположенным в ее верхней части генератором звуковых колебаний, при этом акустическая колонка в своей нижней части связана с периферийным вводом газового потока циклона, генератор звуковых колебаний связан с блоком управления, тонкий фильтр выполнен в виде рукавного фильтра с системой регенерации, содержащего единый корпус с крышей, в котором размещены блок фильтров с фильтрующими элементами рукавного типа, короб для входа загрязненного воздуха и короб для выхода чистого воздуха, бункерный накопитель с устройством непрерывной выгрузки пыли, содержащий бункер, шлюз, шнековый механизм выгрузки, в корпусе блока фильтров установлен датчик температуры, в бункере для сбора пыли – аварийный датчик уровня пыли, в выходном коробе – тепловой автоматический датчик-извещатель, выходы которых соединены с общим микропроцессором, размещенным в шкафу управления, а в выходном коробе установлен коллектор с форсунками для подключения к системе пожаротушения, блок управления которой соединен с общим микропроцессором, а система регенерации фильтрующих элементов выполнена в виде рамы встряхивания с вибратором и содержит блок управления, который связан электронной связью с общим микропроцессором.
2. Установка акустическая пылеулавливающая по п.1, отличающаяся тем, что бункер для сбора пыли тонкого фильтра выполнен конической или пирамидальной формы с углом наклона стенок, превышающим угол естественного откоса улавливаемой пыли, а в блоке фильтров фильтрующие элементы рукавного типа располагаются прямыми рядами или в шахматном порядке, причем отношение длины рукава L к его диаметру D находится в оптимальном интервале величин L/D=15÷40, а в качестве материала фильтрующих рукавных элементов используются как тканые материалы со способами переплетения: полотняные, саржевые, сатиновые; с видами волокон в нити: штапельные, филаментные, текстурированные; с обработкой поверхности: гладкие и ворсованные, так и нетканые со способами закрепления волокон: иглопробивные, холстопрошивные и клееные, полученные вышеперечисленными способами из естественных волокон животного или растительного происхождения, искусственных органических волокон: лавсан, нитрон, капрон, хлорин, оксалон, полипропилен, поливинилхлорид, фторопласт, тефлон или искусственных неорганических волокон, например стеклянного волокна.
РИСУНКИ
|
|