|
|
(21), (22) Заявка: 2006119761/15, 05.06.2006
(24) Дата начала отсчета срока действия патента:
05.06.2006
(46) Опубликовано: 20.11.2007
(56) Список документов, цитированных в отчете о поиске:
US 4876016 А, 24.10.1989. SU 715143 А, 15.02.1980. RU 2040979 C1, 09.08.1995. ЕР 0470946 A1, 12.02.1992. US 4279743 A, 21.07.1981.
Адрес для переписки:
400131, г.Волгоград, пр-т Ленина, 28, ВолгГТУ, отдел интеллектуальной собственности
|
(72) Автор(ы):
Яблонский Владимир Олегович (RU)
(73) Патентообладатель(и):
Государственное образовательное учреждение высшего профессионального образования Волгоградский государственный технический университет (ВолгГТУ) (RU)
|
(54) ГИДРОЦИКЛОН-ФЛОТАТОР
(57) Реферат:
Изобретение предназначено для разделения неоднородных жидких систем под действием центробежных сил. Гидроциклон-флотатор содержит цилиндрический корпус с пористой проницаемой боковой стенкой и кольцевой коллектор для подачи газа в корпус, патрубок подачи газа в коллектор, патрубок подачи суспензии в корпус гидроциклона, патрубок для отвода пены и разгрузочное устройство. В кольцевом коллекторе установлено устройство для распределения давления газа, выполненное в виде кольцевых элементов, установленных коаксиально корпусу с возможностью независимого перемещения в осевом направлении, имеющих форму круга в сечении, проходящем через ось корпуса гидроциклона. Диаметр сечения кольцевых элементов возрастает, а расстояние между соседними кольцевыми элементами уменьшается по мере уменьшения расстояния от патрубка подачи суспензии в корпус. Патрубок подачи газа в коллектор установлен тангенциально и снабжен регулирующей заслонкой. Технический результат: повышение разделительной способности за счет распределения объемной доли пузырьков газа, подаваемого через пористую проницаемую боковую стенку корпуса, соответствующего распределения давления газа в осевом направлении в кольцевом коллекторе для подачи газа в корпус гидроциклона. 1 з.п. ф-лы, 2 ил.
Изобретение относится к области разделения неоднородных жидких систем под действием центробежных сил, в частности к гидроциклонам для разделения суспензий флотацией, и может быть использовано в химической, нефтехимической, микробиологической, целлюлозно-бумажной и других отраслях промышленности.
Известен гидроциклон-флотатор (А.с. 973174 СССР, МПК В04С 9/00, опубл. 15.11.82, БИ №42), содержащий цилиндроконический корпус с тангенциальным входным патрубком, в котором цилиндрическая камера снабжена тангенциально установленным сужающимся коническим насадком, расположенным соосно с входным патрубком. За счет эжекции в насадок подсасываются газы, выделяющиеся при электролизе жидкости в кольцевом пространстве между корпусом и цилиндрической камерой, которые используются для флотации.
В данной конструкции гидроциклона-флотатора подсасываемые за счет эжекции пузырьки вторичного газа обладают низкой дисперсностью, что снижает эффективность процесса флотации и разделительную способность гидроциклона.
Известен гидроциклон для отделения газа от жидкости (А.с. 1526836 СССР, МПК В04С 5/02, опубл. 07.12.89, БИ №45), содержащий тангенциальный входной патрубок с конфузором, снабженным статическим завихрителем, выполненный в виде трубы с периодическими расширениями и сужениями сечения. В сужениях входного патрубка из-за резкого понижения давления происходит увеличение размеров микропузырьков и их частичная коагуляция.
Выполнение входного патрубка гидроциклона в виде трубы с периодическими расширениями и сужениями сечения ведет к резкому возрастанию гидравлического сопротивления аппарата и повышению энергозатрат на проведение процесса. Кроме того, увеличение размеров микропузырьков неблагоприятно воздействует на кинетику процесса флотации мелких частиц.
Известен гидроциклон-флотатор (А.с. 1607960 СССР, МПК В04С 9/00, опубл. 23.11.90, БИ №43), включающий аэратор и электроды, присоединенные к источнику постоянного тока, в котором с целью повышения эффективности в работе электроды выполнены в виде установленных соосно с корпусом вертикальных пластин, размещенных с зазором и с углом наклона в направлении, противоположном направлению подачи исходной смеси. Размещение пластин позволяет регулировать общую площадь электродов, что дает возможность оптимизировать условия аэрации и флотации.
В данной конструкции гидроциклона-флотатора установка пластин затрудняет транспорт флотокомплексов к поверхности суспензии и снижает разделительную способность гидроциклона. Кроме того, для проведения процесса электролиза воды требуются дополнительные энергозатраты.
Известен газожидкостный сепаратор (Патент 2071838 РФ, МПК В04С 3/06, В01D 43/00, опубл. 20.01.97, БИ №2), содержащий цилиндроконический корпус гидроциклона, эжектор с патрубками подвода обрабатываемой жидкости и газа, соединенный с расположенной соосно над гидроциклоном камерой смешения, выходной конец которой расположен внутри гидроциклона и оснащен направляющим аппаратом и коническим раструбом под ним, примыкающим к корпусу гидроциклона и перфорированным тангенциальными отверстиями.
При разделении суспензий флотацией в сепараторе данной конструкции применение эжекции газа жидкостью и установка раструба, примыкающего к корпусу гидроциклона, перфорированного тангенциальными отверстиями, приводят к значительному увеличению общего гидравлического сопротивления аппарата и повышению энергозатрат на проведение процесса разделения.
Известен гидроциклон с подачей газа (Патент 0473566 США, МПК В03D 1/14, В04С 5/10; В04С 5/103; В04С 5/14, опубл. 04.03.92, Бюл. 92/10), содержащий первую вихревую камеру с пористой стенкой в виде поверхности вращения, через которую из коллектора, разделенного в осевом направлении на две секции, подаются газ и жидкость, насыщенная газом для образования пузырьков малого размера. Вторая вихревая камера образована коническим участком корпуса и кожухом в виде перевернутого конуса с осевым отверстием для прохода газа, установленным на кронштейнах, соединяющих его с корпусом, который интенсифицирует разделение во второй вихревой камере.
В данной конструкции гидроциклона предусмотрена раздельная подача по зонам в первую вихревую камеру газа и жидкости, насыщенной газом, что обусловливает присутствие в одной зоне пузырьков только крупного размера, а во второй зоне – пузырьков только мелкой фракции, следовательно, в гидроциклоне данной конструкции не обеспечивается высокое значение кинетических констант флотации и при разделении суспензий, содержащих полидисперсную твердую фазу, не может быть достигнута высокая разделительная способность.
Известен гидроциклон с регулируемой диафрагмой (Патент 5560818 США, МПК В03D 1/24; В04С 5/16; В04С 5/181, опубл. 1.10.96), имеющий цилиндрический корпус, в который для образования пены по всей высоте подается газ из коллектора, имеющего по крайней мере один вход газа, через пористую диафрагму, выполненную в виде поверхности вращения. В нижней части гидроциклона имеется конусообразная пробка, которая перекрывает боковое отверстие для выхода обработанной суспензии. Скорость потока в гидроциклоне регулируется путем изменения размеров бокового отверстия при перемещении пробки и таким образом поддерживаются многие режимные параметры гидроциклона.
Одновременное воздействие на многие режимные параметры гидроциклона путем изменения размеров отверстия для выхода обработанной суспензии не обеспечивает оптимального режима работы гидроциклона и высокой разделительной способности.
Наиболее близким к предлагаемой конструкции гидроциклона-флотатора по технической сущности и достигаемому техническому результату является метод контроля эффективности сепарации в гидроциклоне (Патент 4876016 США, МПК С02F 1/38; В01D 17/038; В04С 5/18; В04С 11/00, опубл. 24.10.89), заключающийся в регулировании количества воздуха, подаваемого в гидроциклон через перфорированную стенку корпуса с облицовкой из пористого материала, из коллектора в зависимости от концентрации нефтепродуктов в очищенной воде. Сепарация нефтепродуктов из воды происходит путем флотации при прохождении пузырьков воздуха через воду, насыщенную нефтепродуктами.
В соответствии с данным методом регулирование осуществляется без учета распределения концентрации нефтепродуктов в воде по высоте гидроциклона и предусматривает равномерную подачу воздуха в гидроциклон через перфорированную стенку корпуса с облицовкой из пористого материала, что не обеспечивает высоких значений степени извлечения нефтепродуктов в зонах со значительной их концентрацией в воде. В результате разделительная способность гидроциклона данной конструкции невысока.
Задачей изобретения является создание конструкции гидроциклона-флотатора для разделения суспензий, обеспечивающей высокую разделительную способность.
Техническим результатом, который может быть получен при осуществлении изобретения, является повышение разделительной способности гидроциклона-флотатора за счет распределения объемной доли пузырьков газа, подаваемого через пористую проницаемую боковую стенку корпуса в гидроциклон, в осевом направлении пропорционально объемной доле частиц твердой фазы, связанных в комплексы, в суспензии путем соответствующего распределения давления газа в осевом направлении в кольцевом коллекторе для подачи газа в корпус гидроциклона.
Указанный технический результат достигается тем, что в гидроциклоне-флотаторе, содержащем цилиндрический корпус с пористой проницаемой боковой стенкой и кольцевой коллектор для подачи газа в корпус гидроциклона, патрубок подачи газа в коллектор, патрубок подачи суспензии в корпус гидроциклона, патрубок для отвода пены и разгрузочное устройство, причем в кольцевом коллекторе установлено устройство для распределения давления газа, выполненное в виде кольцевых элементов, установленных коаксиально корпусу гидроциклона с возможностью независимого перемещения в осевом направлении, имеющих форму круга в сечении, проходящем через ось корпуса гидроциклона, причем диаметр сечения кольцевых элементов возрастает, а расстояние между соседними кольцевыми элементами уменьшается по мере уменьшения расстояния от патрубка подачи суспензии в корпус гидроциклона, а патрубок подачи газа в коллектор установлен тангенциально и снабжен регулирующей заслонкой. Кольцевые элементы закреплены на телескопических тягах, представляющих собой набор пустотелых цилиндров, жестко соединенных с соответствующими кольцевыми элементами.
Выполнение устройства для распределения давления газа в виде кольцевых элементов, имеющих форму круга в сечении, проходящем через ось корпуса гидроциклона, позволяет снизить перепад давления газа на гидравлическом сопротивлении, образованном кольцевым элементом, и уменьшить завихрения при обтекании кольцевого элемента потоком газа в коллекторе и таким образом повысить равномерность распределения давления газа в коллекторе и объемной доли пузырьков газа, поступивших через пористую проницаемую боковую стенку корпуса в гидроциклон, в осевом направлении, что приводит к повышению его разделительной способности.
Возрастание диаметра сечения кольцевых элементов, проходящего через ось корпуса гидроциклона, и уменьшение расстояния между соседними кольцевыми элементами по мере уменьшения расстояния от патрубка подачи суспензии в корпус гидроциклона обеспечивают возрастание градиента давления газа в коллекторе в осевом направлении по мере уменьшения расстояния от патрубка подачи суспензии в корпус гидроциклона и создают распределения давления газа в коллекторе и объемной доли пузырьков газа, поступивших через пористую проницаемую боковую стенку корпуса в гидроциклон, в осевом направлении, пропорциональные объемной доле частиц твердой фазы, связанных в комплексы, в суспензии, что приводит к повышению разделительной способности гидроциклона.
Установка кольцевых элементов в коллекторе с возможностью независимого перемещения в осевом направлении и установка регулирующей заслонки в патрубке подачи газа в коллектор обеспечивают возможность гибкого регулирования распределений давления газа в коллекторе и объемной доли пузырьков газа, поступивших через пористую стенку корпуса в гидроциклон, в осевом направлении, в соответствии с режимными параметрами гидроциклона и повышение его разделительной способности.
Тангенциальная установка патрубка подачи газа в коллектор улучшает равномерность распределения потока газа из коллектора через пористую проницаемую боковую стенку корпуса в гидроциклон в окружном направлении и повышает разделительную способность гидроциклона.
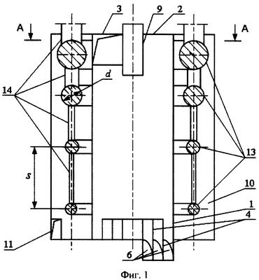
На фиг.1 изображен гидроциклон-флотатор предлагаемой конструкции, общий вид; на фиг.2 – разрез по А-А.
Гидроциклон-флотатор содержит цилиндрический корпус 1, имеющий пористую проницаемую боковую стенку, с крышкой 2 и патрубком для подачи суспензии 3, установленным тангенциально в верхней части корпуса, разгрузочное устройство, выполненное в виде двух концентрично установленных кольцевых вертикальных перегородок 4 и стенок 5, образующих каналы 6 для прохода осветленнных продуктов разделения, на выходе из которых установлены регулирующие устройства 7, имеющие возможность поворота относительно осей 8, и патрубок 9 для отвода пены, насыщенной частицами отделяемого продукта. Подача газа в гидроциклон осуществляется из кольцевого коллектора 10 через пористую стенку корпуса 1. В коллектор 10 газ поступает через патрубок 11, установленный тангенциально в его нижней части и снабженный регулирующей заслонкой 12. В коллекторе 10 установлено устройство для распределения давления газа, выполненное в виде кольцевых элементов 13, установленных коаксиально корпусу 1 гидроциклона с возможностью независимого перемещения в осевом направлении, имеющих форму круга в сечении, проходящем через ось корпуса гидроциклона. Диаметр d сечения кольцевых элементов возрастает, а расстояние между соседними кольцевыми элементами s уменьшается по мере уменьшения расстояния от патрубка 3 подачи суспензии в корпус гидроциклона. Кольцевые элементы 13 закреплены на телескопических тягах 14, представляющих собой набор пустотелых цилиндров, жестко соединенных с соответствующими кольцевыми элементами.
Гидроциклон-флотатор предназначен для проведения процесса двухстадийной напорной флотации и работает следующим образом. Исходный поток, содержащий предварительно насыщенную газом при повышенном (до 0,8 МПа) давлении суспензию, подается в корпус 1 гидроциклона, имеющий пористую проницаемую боковую стенку, из патрубка 3, установленного тангенциально в верхней части корпуса гидроциклона. При снижении давления в корпусе гидроциклона до атмосферного создается перенасыщение растворенного газа и суспензия “вскипает”. Поступившая в корпус 1 гидроциклона суспензия стекает, образуя вращающуюся пленку, по его стенкам вниз. Частицы твердой фазы под действием центробежной силы инерции движутся к стенке корпуса гидроциклона, а пузырьки газа под действием выталкивающей центростремительной силы Архимеда – навстречу им к поверхности пленки. На первой стадии напорной флотации при столкновении частиц твердой фазы с выделившимися из суспензии пузырьками газа происходит образование флотокомплексов, выносящих частицы твердой фазы на поверхность пленки в пенный слой.
Через пористую боковую стенку корпуса 1 в гидроциклон подаются пузырьки вторичного газа из коллектора 10. Пузырьки вторичного газа, имеющие на порядок больший диаметр, чем пузырьки газа, выделяющегося из суспензии при снижении давления, имеют значительно большую скорость всплывания к поверхности пленки, чем образовавшиеся комплексы. На второй стадии флотации пузырьки вторичного газа, сталкиваясь со всплывающими комплексами, образуют с ними вторичные комплексы, в которых частица составляет мостик между пузырьками, которые быстро устремляются к поверхности пленки и извлекаются в пенный слой. Пена удаляется из гидроциклона через патрубок 9, а осветленные продукты – через каналы 6 разгрузочного устройства.
Ввиду того, что диаметр пузырьков вторичного газа, подаваемого через пористую проницаемую боковую стенку корпуса 1 гидроциклона, на порядок превышает диаметр пузырьков газа, выделяющихся из суспензии на первой стадии напорной флотации, и в значительно большей мере превышает диаметр частиц твердой фазы, эффективность столкновения свободных частиц твердой фазы с пузырьками вторичного газа согласно известным методикам ее расчета мала и ей можно пренебречь. Кроме того, концентрация свободных частиц твердой фазы достаточно быстро убывает и становится пренебрежимо малой после подачи суспензии в корпус гидроциклона вследствие образования флотокомплексов с пузырьками газа, выделяющимися из суспензии на первой стадии флотации.
Объемная доля частиц твердой фазы, образовавших флотокомплексы с пузырьками газа, выделившегося из суспензии, изменяется в направлении оси гидроциклона согласно известным закономерностям, зависящим от конструктивных и режимных параметров гидроциклона, согласно которым градиент объемной доли частиц твердой фазы, связанных в комплексы, возрастает в осевом направлении по мере уменьшения расстояния от патрубка 3 подачи суспензии в корпус гидроциклона. Следовательно, разделительная способность гидроциклона может быть повышена путем распределения объемной доли пузырьков вторичного газа, поступившего через пористую стенку корпуса 1, пропорционально объемной доле частиц твердой фазы, связанных в комплексы в суспензии, в результате чего согласно кинетическому уравнению процесса флотации возрастет объемная доля частиц твердой фазы, извлекаемых из суспензии пузырьками вторичного газа. Принимая во внимание, что в осевой зоне верхней части корпуса 1 гидроциклона поддерживается разрежение, а центробежное давление в пленке суспензии на стенке падает по мере увеличения расстояния от патрубка 3 подачи суспензии в корпус гидроциклона в связи с затуханием окружной составляющей скорости в осевом направлении, изменением давления в пленке суспензии на стенке можно пренебречь, полагая, что распределение объемной доли пузырьков газа, поступивших в гидроциклон через пористую стенку корпуса 1, пропорционально распределению давления газа в коллекторе 10 в осевом направлении. Следовательно, необходимое распределение объемной доли пузырьков вторичного газа может быть достигнуто путем изменения распределения давления газа в коллекторе 10 в осевом направлении. Для этого в коллекторе 10 установлено устройство для распределения давления газа, выполненное в виде кольцевых элементов 13, установленных коаксиально корпусу 1 гидроциклона с возможностью независимого перемещения в осевом направлении, имеющих форму круга в сечении, проходящем через ось корпуса гидроциклона. Диаметр сечения кольцевых элементов d возрастает, а расстояние между соседними кольцевыми элементами s уменьшается по мере уменьшения расстояния от патрубка 3 подачи суспензии в корпус гидроциклона. Кольцевые элементы 13 закреплены на телескопических тягах 14, представляющих собой набор пустотелых цилиндров, 4 жестко соединенных с соответствующими кольцевыми элементами 13.
Выполнение устройства для распределения давления газа в виде кольцевых элементов 13, имеющих форму круга в сечении, проходящем через ось корпуса гидроциклона, позволяет снизить перепад давления газа на гидравлическом сопротивлении, образованном кольцевым элементом, и уменьшить завихрения при обтекании кольцевого элемента потоком газа в коллекторе, таким образом повысив равномерность распределения давления газа в коллекторе 10 и объемной доли пузырьков газа, поступивших через пористую стенку корпуса в гидроциклон, в осевом направлении, что приводит к повышению его разделительной способности.
Возрастание диаметра d сечения кольцевых элементов 13, проходящего через ось корпуса 1 гидроциклона, по мере уменьшения расстояния от патрубка 3 подачи суспензии в корпус гидроциклона приводит к увеличению перепадов давления на гидравлических сопротивлениях, образованных кольцевыми элементами, по мере уменьшения расстояния от патрубка 3 подачи суспензии в корпус гидроциклона. Закономерности изменения диаметра d сечения кольцевых элементов 13 и расстояния s между соседними кольцевыми элементами обеспечивают возрастание градиента давления в коллекторе 10 в осевом направлении по мере уменьшения расстояния от патрубка 3 подачи суспензии в корпус гидроциклона и позволяют получить распределения давления газа в коллекторе 10 и объемной доли пузырьков газа, поступивших через пористую стенку корпуса 1 в гидроциклон, в осевом направлении, пропорциональные распределению объемной доли частиц твердой фазы, связанных в комплексы, в суспензии, что приводит к повышению разделительной способности гидроциклона.
Кольцевые элементы 13 установлены в коллекторе 10 с возможностью независимого перемещения в осевом направлении, что совместно с установкой регулирующей заслонки 12 в патрубке 11 подачи газа в коллектор создает возможность гибкого регулирования распределения давления газа в коллекторе 10 в осевом направлении в соответствии с режимными параметрами гидроциклона.
Патрубок 11 подачи газа в коллектор 10 установлен тангенциально, что улучшает равномерность распределения потока газа из коллектора 10 через пористую стенку корпуса 1 в гидроциклон в окружном направлении и повышает разделительную способность гидроциклона.
Таким образом, предлагаемая конструкция гидроциклона-флотатора позволяет создать распределения давления газа в коллекторе и объемной доли пузырьков газа, поступившего через пористую стенку корпуса в гидроциклон, в осевом направлении, пропорциональные распределению объемной доли частиц твердой фазы, связанных в комплексы, в суспензии и обеспечивает возможность гибкого регулирования распределения давления газа в коллекторе в соответствии с режимными параметрами гидроциклона, что приводит к повышению его разделительной способности.
Формула изобретения
1. Гидроциклон-флотатор, содержащий цилиндрический корпус с пористой проницаемой боковой стенкой и кольцевой коллектор для подачи газа в корпус гидроциклона, патрубок подачи газа в коллектор, патрубок подачи суспензии в корпус гидроциклона, патрубок для отвода пены и разгрузочное устройство, отличающийся тем, что в кольцевом коллекторе установлено устройство для распределения давления газа, выполненное в виде кольцевых элементов, установленных коаксиально корпусу гидроциклона с возможностью независимого перемещения в осевом направлении, имеющих форму круга в сечении, проходящем через ось корпуса гидроциклона, причем диаметр сечения кольцевых элементов возрастает, а расстояние между соседними кольцевыми элементами уменьшается по мере уменьшения расстояния от патрубка подачи суспензии в корпус гидроциклона, а патрубок подачи газа в коллектор установлен тангенциально и снабжен регулирующей заслонкой.
2. Гидроциклон-флотатор по п.1, отличающийся тем, что кольцевые элементы закреплены на телескопических тягах, представляющих собой набор пустотелых цилиндров, жестко соединенных с соответствующими кольцевыми элементами.
РИСУНКИ
MM4A – Досрочное прекращение действия патента СССР или патента Российской Федерации на изобретение из-за неуплаты в установленный срок пошлины за поддержание патента в силе
Дата прекращения действия патента: 06.06.2008
Извещение опубликовано: 20.06.2010 БИ: 17/2010
|
|