|
|
(21), (22) Заявка: 2006107795/15, 13.03.2006
(24) Дата начала отсчета срока действия патента:
13.03.2006
(46) Опубликовано: 20.11.2007
(56) Список документов, цитированных в отчете о поиске:
SU 1542584 A1, 15.02.1990. SU 865411 A, 25.09.1981. SU 417676 A, 18.07.1974. RU 2026725 C1, 20.01.1995. GB 2285234 A, 05.07.1995. DE 10129098 A, 09.01.2003. JP 60038006 A, 27.02.1985. US 4622132 A, 11.11.1986.
Адрес для переписки:
614038, г.Пермь, ул. Акад. Веденеева, 28, ОАО НПО “Искра”
|
(72) Автор(ы):
Бузмаков Михаил Ефимович (RU), Бурдюгов Сергей Иванович (RU), Пономарев Сергей Юрьевич (RU)
(73) Патентообладатель(и):
Открытое акционерное общество Научно-производственное объединение “Искара” (RU)
|
(54) УСТРОЙСТВО ДЛЯ ОТДЕЛЕНИЯ ЧАСТИЦ ЖИДКОСТИ ИЗ ГАЗОЖИДКОСТНОГО ПОТОКА
(57) Реферат:
Изобретение относится к устройствам для отделения аэрозолей и парообразной фазы жидкости из газожидкостного потока. Устройство содержит корпус с патрубками слива жидкости, подвода и отвода газов и размещенные в нем экран и перегородку, образующие камеру конденсации, тракт отвода очищенного газа. Перегородка выполнена проницаемой в виде цилиндрической спирали и установлена соосно с патрубком подвода газов. Межвитковое пространство в ней сообщено с трактом отвода очищенного газа. Изобретение позволяет эффективно отделять капельные, аэрозольные и парообразные частицы жидкости из газожидкостного потока. 1 ил.
Изобретение относится к устройствам для отделения аэрозолей и парообразной фазы жидкости из газожидкостного потока и может быть использовано в системах суфлирования газотурбинных двигателей, компрессоров для отделения капельных, аэрозольных и парообразных частиц жидкости из газожидкостного потока.
Известен вертикальный сепаратор, взятый за ближайший аналог, для отделения капельной жидкости из газожидкостного потока, содержащий корпус, патрубки подвода и отвода газов, камеру для сбора и стока отделенной жидкости, перегородку в виде центральной трубы, образующую со стенками корпуса вертикальный кольцевой газоход очищенного газа, конусный стабилизатор, камеру витания (а.с. №1542584 А1, Кл. В01D 45/06, 1987).
Основным недостатком этого вертикального сепаратора является нечувствительность к отделению аэрозольной и парообразной фаз жидкости.
Технической задачей настоящего изобретения является, наряду с эффективным отделением капельной фазы жидкости, повышение чувствительности устройства к отделению аэрозольной и парообразной фаз жидкости из газожидкостного потока посредством мягкой турбулизации газожидкостного потока и многократного его просеивания через проницаемую сетчатую перегородку.
Технический результат достигается тем, что устройство для отделения частиц жидкости из газожидкостного потока, содержащее корпус с патрубками слива жидкости, подвода и отвода газов и размещенные в нем экран и перегородку, образующие камеру конденсации, тракт для отвода очищенного газа, выполнено таким образом, что перегородка выполнена в виде цилиндрической спирали с проницаемыми стенками, установлена соосно с патрубком подвода газов, при этом межвитковое пространство в ней сообщено с трактом отвода очищенного газа.
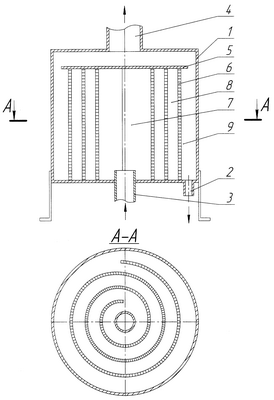
На чертеже представлено устройство для отделения частиц жидкости из газожидкостного потока.
Устройство содержит корпус 1, патрубок слива жидкости 2, патрубок подвода газа 3, патрубок отвода газа 4, экран 5, перегородку 6, камеру конденсации 7, межвитковое пространство 8, тракт отвода газа 9.
Устройство работает следующим образом.
Газожидкостный поток через патрубок подвода газа 3 попадает в камеру конденсации 7, где теряет начальную скорость из-за резкого увеличения проходного сечения. В камере конденсации 7 часть капельных частиц, потеряв скорость, осядет на днище корпуса 1. Далее поток попадает в межвитковое пространство 8, где начинает двигаться в тангенциальном и радиальном направлениях, теряя скорость и температуру, а частицы жидкости осаждаются на стенках спиральной перегородки 6 и на экране 5 за счет сил вязкости. Скорость потока при движении от внутренних витков к внешним виткам проницаемой спиральной перегородки 6 в тангенциальном и радиальном направлениях уменьшается пропорционально радиусу витков, и более мелкие частицы жидкости, движущиеся с меньшей скоростью, будут более интенсивно осаждаться на внешних витках спиральной перегородки 6. Воздушный поток, освобожденный от частиц жидкости, через тракт отвода газа 9 и патрубок отвода газа 4 истекает в атмосферу, а частицы жидкости, накапливаясь на стенках спиральной перегородки 6, стекают вниз и сливаются по патрубку слива жидкости 2.
Таким образом, предлагаемое устройство просто по конструкции и позволяет эффективно отделять капельные, аэрозольные и парообразные частицы жидкости из газожидкостного потока.
Формула изобретения
Устройство для отделения частиц жидкости из газожидкостного потока, содержащее корпус с патрубками слива жидкости, подвода и отвода газов и размещенные в нем экран и перегородку, образующие камеру конденсации, тракт отвода очищенного газа, отличающееся тем, что перегородка выполнена в виде цилиндрической спирали с проницаемыми стенками, установлена соосно с патрубком подвода газов, при этом межвитковое пространство в ней сообщено с трактом отвода очищенного газа.
РИСУНКИ
MM4A – Досрочное прекращение действия патента СССР или патента Российской Федерации на изобретение из-за неуплаты в установленный срок пошлины за поддержание патента в силе
Дата прекращения действия патента: 14.03.2008
Извещение опубликовано: 20.02.2010 БИ: 05/2010
|
|