|
|
(21), (22) Заявка: 2006137636/15, 25.10.2006
(24) Дата начала отсчета срока действия патента:
25.10.2006
(46) Опубликовано: 20.11.2007
(56) Список документов, цитированных в отчете о поиске:
RU 2268772 С1, 27.01.2006. SU 1517987 А1, 30.10.1989. WO 8300446 А1, 17.02.1983. WO 0042303 А1, 20.07.2000. ЕР 0675322 В, 04.10.1995.
Адрес для переписки:
390504, г.Рязань, п. Божатково, 43, А.В. Медведеву
|
(72) Автор(ы):
Медведев Анатолий Васильевич (RU)
(73) Патентообладатель(и):
Овченкова Оксана Анатольевна (RU), Раднюк Александр Михайлович (RU), Куканов Вячеслав Алексеевич (RU)
|
(54) СПОСОБ ТЕПЛОМАССОЭНЕРГООБМЕНА И УСТРОЙСТВО ДЛЯ ЕГО ОСУЩЕСТВЛЕНИЯ
(57) Реферат:
Изобретение относится к акустическим способам тепломассоэнергообмена жидких, газовых, газожидкостных смесей, взвесей и дисперсий. Способ включает формирование раздельных непересекающихся вихревых потоков, последующее частичное соприкосновение встречно направленных наружных слоев потоков в кольцевом пространстве и концентрирование энергии акустического возбуждения в выходной акустической камере путем частичного пересечения с акустической камерой по образующим вихревых потоков. В устройстве производят акустическое резонансное возбуждение вихревых продуктовых потоков с помощью сообщенных между собой вихревых труб. Вихревые трубы направлены по ходу течения продукта, расположены по окружности, входные части их выполнены раздельными, а выходные сообщены друг с другом и с акустической камерой. Возбужденные потоки, объединенные в общей акустической камере, концентрируют энергию акустического возбуждения в центре и выводят обработанные звуком продукты на использование. Технический результат состоит в увеличении мощности акустического вихревзаимодействия и дополнительном резонансном возбуждении потоков в выходной камере. 2 н. и 1 з.п. ф-лы, 6 ил.
Изобретение относится к акустическим (например, ультразвуковым) способам тепломассоэнергообмена жидких, газовых, газожидкостных смесей, взвесей и дисперсий в механо-физико-химических процессах превращения, кроме этого, таким способом воздействуют на воду с целью нагрева ее как теплоносителя.
Известны способы тепломассоэнергообмена при акустическом возбуждении проходных потоков продуктов путем передачи жидкости колебательной энергии с помощью источника механических колебаний, взаимодействующего с жидкостью. Используется этот способ в гидродинамических ультразвуковых излучателях с пластинчатыми и стержневыми резонансными колебательными устройствами, в вихревых и роторно-пульсационных аппаратах. Другим способом тепломассоэнергообмена при акустическом возбуждении может быть взаимодействие струйных потоков между собой путем передачи кинетической энергии одного потока другому. Этот способ используется в струйно-вихревых аппаратах (инжекторах, вихревых трубах), в которых происходит преобразование потенциальной энергии в кинетическую с последующим тепломассоэнергообменом взаимодействующих сред. В результате такого взаимодействия возникает резонанс и кавитационный эффект, в результате чего рвутся связи между молекулами и атомами, при восстановлении которых выделяется энергия в виде тепла. На этой основе работают теплогенераторы.
Известен способ резонансного возбуждения жидкости и устройство для нагревания жидкости [патент РФ 2232630, 7 B01J 19/10, опубликован 20.07.04], который основан на обработке жидкости источником механических колебаний на частоте из ряда основных частот, подчиняющихся определенной эмпирической зависимости. Способ нагревания жидкости основан на акустической обработке жидкости и включает ее подачу в полость вращающегося рабочего колеса и выпуск из полости через ряд выходных отверстий в периферийной кольцевой стенке рабочего колеса в кольцевую камеру, а затем в сборную камеру при соблюдении определенных соотношений между частотой вращения рабочего колеса, радиуса периферийной стенки и резонансной частоты. К недостаткам этого способа следует отнести сложность технической реализации этого способа, избирательность возбуждения, многофакторная зависимость резонансного возбуждения от геометрических, частотных параметров и ограниченная возможность использования этого способа для проведения других тепломассоэнергообменных процессов.
Наиболее близким по технической сущности является способ тепломассоэнергообмена и устройство для его осуществления [патент РФ 2268772, 7 B01J 19/10, 7 B01 F 11/02, опубликован 27.01.2006], при котором возбуждение осуществляется с помощью сообщенных между собой вихревых труб путем частичного соприкосновения встречно направленных поверхностно-наружных слоев двух и более вихревых потоков на глубину, обеспечивающую их акустическое возбуждение за счет деформационного взаимодействия, происходящего в зоне пересечения вихревых труб. Устройство для осуществления этого способа выполнено в виде двух и более вихревых труб, сообщенных между собой с помощью частичного пересечения их по образующим.
Однако этот способ и устройство имеют ряд недостатков. Во-первых, противоструйное взаимодействие на входе снижает эффективность процесса вихреформирования и уменьшает энергию вихревзаимодействия. Во-вторых, размещение пересекающихся вихревых труб вокруг центральной вихревой трубы не обеспечивает одинаковых условий сдвигового взаимодействия вихрей. В случае двухфазового ввода компонентов типа жидкость-газ подобное решение не обеспечивает стабильность процесса из-за неустановившегося режима струйного взаимодействия. Это приводит к деформации вихревых потоков, сопровождающихся низкочастотной вибрацией и гидроударами. Кроме этого, в выходной акустической камере, объединяющей вихревые трубы на выходе, происходит неэффективное разрушение потоков с точки зрения резонансного режима акустического воздействия на продукт.
Техническим результатом, на который направлено предлагаемое изобретение, является усовершенствование способа и устройства тепломассоэнергообмена по патенту РФ 2268772, а именно:
– создание условий для эффективного вихреформирования как однокомпонентного жидкотекучего продукта, так и двух и более компонентных продуктов типа жидкость-жидкость, жидкость-газ;
– увеличение мощности акустического вихревзаимодействия;
– концентрация энергии вихревого разрушения в выходной акустической камере для обеспечения дополнительного резонансного возбуждения.
Технический результат достигается путем частичного соприкосновения встречно направленных поверхностно наружных слоев двух и более вихревых потоков на глубину, обеспечивающую возбуждение за счет деформационно-сдвигового взаимодействия, происходящего в зоне пересечения сообщенных между собой вихревых труб, расположенных по окружности по направлению продуктового потока и имеющих раздельные непересекающиеся входные части. При этом формируют раздельные непересекающиеся вихревые потоки по направлению продуктового потока, возбуждают их в кольцевом пространстве с помощью частичного пересечения вихревзаимодействующих частей вихревых труб и концентрируют энергию акустического возбуждения в выходной акустической камере путем частичного пересечения ее по образующим с вихревзаимодействующими частями вихревых труб. Обработанный звуком продуктовый поток выводят на использование.
Для осуществления настоящего способа предлагается устройство, содержащее напорную продуктовую камеру, вихревые трубы, сообщенные между собой с помощью частичного пересечения их по образующим и объединенные на выходе акустической камерой, вихревые трубы направлены по ходу течения продукта, расположены по окружности и состоят по форме из трех частей. Первая часть – входная, вихреформирующая; средняя часть – переходная и выходная часть – вихревзаимодействующая. Вихреформирующие части выполнены раздельными между собой и сообщены тангенциальными соплами с одной стороны с центральной камерой, расположенной по осевой, а с другой стороны – с кольцевой камерой, расположенной снаружи вихреформирующих частей вихревых труб. Переходные части выполнены коническими с вершинами, обращенными к вихреформирующей части. Вихревзаимодействующие части вихревых труб частично пересечены по образующим друг с другом и с акустической выходной камерой, расположенной по осевой, что создает концентрацию энергии дополнительного резонансного возбуждения в полости акустической камеры.
Предлагаемое техническое решение позволяет:
– осуществить согласованный по направлению вращения ввод одного или двух компонентов, усреднение скоростей вводимых потоков без деформации гидродинамического режима вихреформирования и без отрицательного воздействия струйных потоков друг на друга;
– осуществить одинаковый гидродинамический режим начального взаимодействия вихрей в кольцевом пространстве частичного пересечения вихревзаимодействующих частей вихревых труб;
– произвести эффективное разрушение вихрей в выходной акустической камере путем дополнительного резонансного возбуждения за счет того, что выходная акустическая камера сообщена частичными пересечениями по образующим с вихревзаимодействующими частями вихревых труб.
Возможны два варианта устройства. Первый вариант, когда напорные входные центральная и кольцевая камеры сообщены между собой общим пространством на входе – это обеспечивает вход одного продуктового компонента. Второй вариант, когда эти камеры выполнены раздельными, – это обеспечивает вход двух продуктов и их соединение в вихревом потоке.
Эти и другие особенности настоящего изобретения будут понятны из нижеследующего описания примеров его осуществления со ссылками на прилагаемые чертежи.
Краткое описание чертежей, на которых представлено:
фиг.1 – условное изображение устройства с однопоточным вводом продукта;
фиг.2 – условно изображен вид сверху по фиг.1 со снятой крышкой;
фиг.3 – условное изображение устройства с двухпоточным вводом компонентов;
фиг.4 – условно изображена развертка размещения вихревых труб;
фиг.5 – вид сверху развертки размещения вихревых труб;
фиг.6 – сечение А-А развертки размещения вихревых труб по фиг.4.
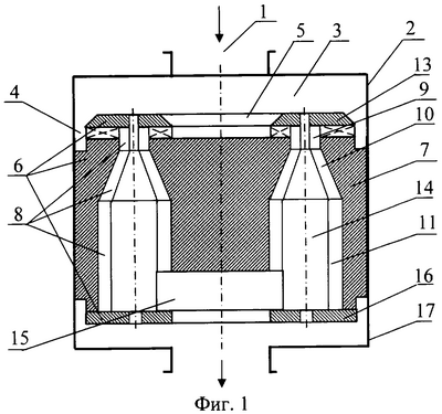
На чертежах фиг.1, 2 условно изображен вариант устройства, состоящего из входного патрубка 1, корпуса 2, которые образуют напорную продуктовую камеру 3, сообщенную с кольцевой камерой 4 и центральной камерой 5. Корпус 2 соединен с вихревым блоком 6, состоящим из вихревой камеры 7, крышки 13 и кольцевого дна 16. В вихревой камере по окружности размещены вихревые трубы 8, каждая из которых состоит из входной вихреформирующей части 9, переходной конусообразной части 10 и выходной вихревзаимодействующей части 11, частично пересекающихся по образующим между собой. На входе вихреформирующие части 9 вихревых труб 8 сообщены с кольцевой камерой 4 и с центральной камерой 5 тангенциальными пазами 12. На верхней плоскости вихревой камеры 7 закреплена крышка 13, оформляющая тангенциальные сопловые вводы. По оси каждой вихревой трубы размещены вытеснители 14. В нижней части вихревая камера 7 содержит акустическую камеру 15, которая частично пересечена по образующим с вихревзаимодействующими частями 11 вихревых труб 8. К нижней части вихревой камеры 7 крепится кольцевое дно 16, которое оформляет акустическую камеру 15 как концентратор. Снизу к вихревому блоку 6 крепится выходной корпус 17 с выходным патрубком.
При варианте двухпоточного ввода компонентов (фиг.3) верхняя часть входного корпуса содержит дополнительный патрубок 18, а входной патрубок 1 разделяет кольцевую камеру 4 и центральную камеру 5, при этом входной патрубок 1 служит для ввода одного компонента, а дополнительный патрубок 18 для ввода другого компонента.
Для описания работы устройства, в качестве примера, рассмотрим вариант исполнения, представленный на фигурах 1, 2, 4, 5, 6. Продукт под давлением подается через входной патрубок 1 в напорную камеру 3, которая распределяет его в кольцевую камеру 4 и центральную камеру 5. По тангенциальным сопловым пазам 12 продукт входит с двух сторон в вихреформирующие части 9 вихревых труб 8, которые обеспечивают вращение вихревых потоков. В этой части вихревых труб 8 происходит выравнивание скоростей потоков после струйных истечений, формирование стабильных и равнозначных по гидродинамическим режимам раздельных вихрей. Раздельные вихри в своем дальнейшем передвижении по спиралеобразной траектории через переходные конусообразные части 10 вихревых труб 8 переходят в вихревзаимодействующие части 11, сообщенные друг с другом с помощью частичных пересечений по образующим в последовательном порядке по окружности, образуя кольцевое пространство вихревзаимодействия. В результате этого происходит акустическое возбуждение продукта – ультразвуковая кавитация, что ведет, в итоге, к деструкции агрегатного состояния продукта и активизации химических связей. На выходе из вихревзаимодействующих частей 11 вихревых труб 8 в результате их частичного пересечения по образующим с полостью акустической камеры 15 происходит дополнительное возбуждение при разрушении вихрей в полости акустической камеры 15, т.е. происходит концентрация энергии в ограниченном пространстве. Это обстоятельство увеличивает эффективность тепломассоэнергообмена, ускоряет процессы физико-химических превращений. Обработанный продукт выводят на использование через выходной патрубок выходного корпуса 17.
Аналогичным образом работает устройство, представленное, как вариант, на фиг.3. Отличием является то, что в разделенные кольцевую 4 и центральную 5 камеры подают разные компоненты. Например, в центральную камеру 5 подают водомучную суспензию, а в кольцевую – пар, в результате чего под воздействием температуры и ультразвукового возбуждения происходит мгновенная варка при низкой температуре, сопровождающаяся мгновенным извлечением крахмала для производства спирта.
Узлы и детали описанного устройства могут быть изготовлены на обычном оборудовании, что соответствует промышленной применимости изобретения.
Таким образом, применение способа тепломассоэнергообмена и устройства для его осуществления позволяет сконцентрировать мощность акустического воздействия на продукт в ограниченном пространстве, увеличить объем и плотность кавитационного пространства.
Формула изобретения
1. Способ тепломассоэнергообмена путем частичного соприкосновения встречно направленных поверхностно наружных слоев двух и более вихревых продуктовых потоков на глубину, обеспечивающую возбуждение за счет деформационно-сдвигового взаимодействия, происходящего в зоне пересечения сообщенных между собой вихревых труб, отличающийся тем, что с помощью вихревых труб, расположенных по окружности по направлению продуктового потока и имеющих раздельные входные части, формируют раздельные непересекающиеся вихревые потоки по направлению продуктового потока, затем возбуждают их в кольцевом пространстве с помощью частичного пересечения вихревзаимодействующих частей вихревых труб и концентрируют энергию акустического возбуждения в выходной акустической камере путем частичного пересечения с акустической камерой по образующим вихревзаимодействующих частей вихревых труб.
2. Устройство тепломассоэнергообмена, содержащее напорную продуктовую камеру, вихревые трубы, сообщенные между собой с помощью частичного пересечения их по образующим и объединенные на выходе акустической камерой, отличающееся тем, что вихревые трубы, направленные по ходу течения продукта, расположены по окружности и каждая состоит из входной вихреформирующей части, переходной части и выходной вихревзаимодействующей части, при этом вихреформирующие части вихревых труб выполнены раздельными между собой и сообщены тангенциальными пазами с центральной камерой, расположенной по осевой, и с кольцевой камерой, расположенной снаружи вихреформирующих частей вихревых труб, переходные части вихревых труб выполнены коническими с вершинами, обращенными к вихреформирующим частям, а вихревзаимодействующие части вихревых труб частично пересечены по образующим друг с другом и с акустической выходной камерой, расположенной по осевой.
3. Устройство по п.2, отличающееся тем, что напорная продуктовая камера выполнена общей или раздельной.
РИСУНКИ
MM4A – Досрочное прекращение действия патента СССР или патента Российской Федерации на изобретение из-за неуплаты в установленный срок пошлины за поддержание патента в силе
Дата прекращения действия патента: 26.10.2008
Извещение опубликовано: 10.04.2010 БИ: 10/2010
NF4A – Восстановление действия патента СССР или патента Российской Федерации на изобретение
Дата, с которой действие патента восстановлено: 20.04.2010
Извещение опубликовано: 20.04.2010 БИ: 11/2010
|
|