|
|
(21), (22) Заявка: 2006112079/15, 11.04.2006
(23) Дата поступления дополнительных материалов к ранее поданной заявке: 2005.12.15 2005101805 (27.01.2005
(24) Дата начала отсчета срока действия патента:
11.04.2006
(46) Опубликовано: 20.11.2007
(56) Список документов, цитированных в отчете о поиске:
SU 1214166 А, 28.02.1986. SU 1165439 А, 07.07.1985. SU 1673172 А1, 30.08.1991. US 5061303 А, 29.10.1991. FR 2625916 A, 21.07.1989.
Адрес для переписки:
394000, г.Воронеж, пр. Революции, 19, ВГТА, отдел СМП
|
(72) Автор(ы):
Шаповалов Юрий Николаевич (RU), Воротягин Андрей Юрьевич (RU), Русанов Александр Александрович (RU), Панов Сергей Юрьевич (RU), Энтин Сергей Владимирович (RU), Анжеуров Николай Михайлович (RU), Красовицкий Юрий Владимирович (RU), Панова Оксана Александровна (RU)
(73) Патентообладатель(и):
Государственное образовательное учреждение высшего профессионального образования Воронежская государственная технологическая академия (RU)
|
(54) ГАЗОВЫЙ ФИЛЬТР
(57) Реферат:
Изобретение относится к технике очистки запыленных газов и может быть использовано в химической, пищевой и металлургической отраслях промышленности, в промышленности строительных материалов. Газовый фильтр содержит корпус с решеткой, разделяющей его на камеры запыленного и очищенного газов, фильтровальные рукава, заглушенные снизу, регенерирующее устройство и каркасы с эжектирующими насадками. Эжектирующая насадка соединена с каркасом посредством разъемного соединения и выполнена из неметаллического материала, в качестве которого использована пластмасса. Разъемное соединение насадки с решеткой выполнено в виде наружного кольцевого паза, глубина которого больше, а ширина меньше толщины решетки. Фильтровальный рукав закреплен во внутреннем кольцевом пазу насадки с помощью каркаса. Предложенный фильтр обеспечивает снижение металлоемкости и эксплуатационных расходов, повышение надежности крепления рукава, простоту замены фильтровальных элементов, простоту в изготовлении и надежность в работе, герметичность соединения насадка – решетка. 2 ил.
Изобретение относится к технике очистки запыленных газов и может быть использовано в химической, пищевой и металлургической отраслях промышленности, а также в промышленности строительных материалов.
Известен газовый фильтр, содержащий корпус с решеткой, разделяющей его на камеры запыленного и очищенного газов, фильтровальные рукава, заглушенные снизу, регенерирующее устройство и каркасы с эжектирующими насадками, причем эжектирующая насадка соединена с каркасом посредством разъемного соединения и выполнена из неметаллического материала, при этом сопрягаемая с решеткой ее посадочная поверхность выполнена в форме обратного усеченного конуса, при том что в качестве неметаллического материала насадки использована пластмасса и на посадочной поверхности насадки выполнены кольцевые или по спирали канавки [SU 1214166 С1, МКИ 7 В01D 46/02. Газовый фильтр / Ю.А.Баннов. Опубл. 28.02.86. Бюл. №8].
Недостатком прототипа является недостаточно прочное соединение рукава с насадкой, а также возможное негерметичное прилегание поверхности насадки к поверхности посадочного места решетки.
Технической задачей изобретения является обеспечение прочного соединения рукава с насадкой и устранение негерметичности соединения насадка – решетка.
Поставленная задача решается тем, что в предлагаемом газовом фильтре, содержащем корпус с решеткой, разделяющей его на камеры запыленного и очищенного газов, фильтровальные рукава, заглушенные снизу, регенерирующее устройство и каркасы с эжектирующими насадками, причем эжектирующая насадка соединена с каркасом посредством разъемного соединения и выполнена из неметаллического материала, при этом в качестве неметаллического материала насадки использована пластмасса, новым является то, что разъемное соединение насадки с решеткой выполнено в виде наружного кольцевого паза, глубина которого больше, а ширина меньше толщины решетки, при этом фильтровальный рукав закреплен во внутреннем кольцевом пазу насадки с помощью каркаса.
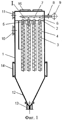
На фиг.1 изображен газовый фильтр, разрез; на фиг.2 – узел I на фиг.1.
Фильтр содержит корпус 1, решетку 2, разделяющую корпус на камеры запыленного и очищенного газов, фильтровальные рукава 3, закрытые снизу, каркасы 4, эжектирующие насадки 5, регенерирующее устройство, включающее продувочные трубы 7 с соплами 6, электромагнитные клапаны 8 и ресивер 9, патрубки 10 для входа запыленных и 11 для выхода очищенных газов, пылесборный бункер 12, затвор 13, люки 14 и 15.
Разъемное соединение насадки с решеткой выполнено в виде наружного кольцевого паза 16, глубина которого больше, а ширина меньше толщины решетки 2, при этом фильтровальный рукав закреплен во внутреннем кольцевом пазу 17 насадки 5 с помощью каркаса 4.
Фильтр работает следующим образом.
Запыленные газы под влиянием разрежения, создаваемого вентилятором, попадают через патрубок 10 в камеру запыленных газов. Газы, пройдя через фильтровальный материал, попадают в камеру очищенных газов и затем через патрубок 11 сбрасываются в атмосферу. По мере осаждения пыли на внешней поверхности рукавов возрастает сопротивление фильтра, поэтому через определенное время автоматически производится удаление слоя пыли – происходит регенерация рукавов. При регенерации срабатывает электромагнитный клапан 8 и открывает доступ импульсу сжатого воздуха из ресивера 9 в продувочную трубу 7 и затем через сопла 6 и соосно расположенные эжектирующие насадки 5 в фильтровальные рукава. Регенерация осуществляется путем обратной продувки эжектируемым газом и деформации рукавов. Последовательно импульсы сжатого воздуха подаются в последующие продувочные трубы. Уловленная пыль ссыпается в бункер 12 и удаляется через затвор 13. Монтаж и техническое обслуживание рукавов осуществляется через люки 14 и 15.
Эжектирующая насадка 5 закрепляется в решетке 2 по средствам кольцевого паза 16, глубина которого h больше, а ширина s меньше толщины решетки 2, что позволяет избежать возможного негерметичного прилегания насадки к посадочному месту решетки.
В насадке 5 имеется внутренний кольцевой паз 17, в котором закреплен фильтровальный рукав 3 с помощью каркаса 4. Надежность такого крепления обеспечивается влиянием массы каркаса 4 на величину установочного зазора, а также дополнительным поджатием в момент установки насадки 5 в решетку 2.
Техническим результатом является прочное соединения рукава с насадкой и устранение негерметичности соединения насадка – решетка вследствие того, что глубина паза больше, а ширина меньше толщины решетки.
Предложенный газовый фильтр обеспечивает:
– снижение металлоемкости и эксплуатационных расходов;
– повышение надежности крепления рукава;
– простоту замены фильтровальных элементов;
– простоту в изготовлении и надежность в работе;
– герметичность соединения насадка – решетка.
Формула изобретения
Газовый фильтр, содержащий корпус с решеткой, разделяющей его на камеры запыленного и очищенного газов, фильтровальные рукава, заглушенные снизу, регенерирующее устройство и каркасы с эжектирующими насадками, причем эжектирующая насадка соединена с каркасом посредством разъемного соединения и выполнена из неметаллического материала, при этом в качестве неметаллического материала насадки использована пластмасса, отличающийся тем, что разъемное соединение насадки с решеткой выполнено в виде наружного кольцевого паза, глубина которого больше, а ширина меньше толщины решетки, при этом фильтровальный рукав закреплен во внутреннем кольцевом пазе насадки с помощью каркаса.
РИСУНКИ
MM4A – Досрочное прекращение действия патента СССР или патента Российской Федерации на изобретение из-за неуплаты в установленный срок пошлины за поддержание патента в силе
Дата прекращения действия патента: 12.04.2008
Извещение опубликовано: 27.12.2009 БИ: 36/2009
|
|